Skip Content
You are currently on the new version of our website. Access the old version .
Applied SciencesApplied Sciences
  • Article
  • Open Access

21 March 2025

Development of FBG Inclination Sensor: A Study on Attitude Monitoring of Hydraulic Supports in Coal Mines

,
,
,
,
,
and
1
School of Mines, China University of Mining and Technology, Xuzhou 221116, China
2
Research Center of Intelligent Mining, China University of Mining and Technology, Xuzhou 221116, China
*
Author to whom correspondence should be addressed.

Abstract

The hydraulic support is one of the most crucial pieces of equipment at the working face. To achieve the intelligentization of the attitude-monitoring system, we have designed and developed a Fiber Bragg Grating (FBG) inclinometer for the hydraulic support. This innovation offers a brand-new monitoring tool and approach for measuring the attitude angle of the hydraulic support. The FBG inclinometer for the hydraulic support integrates passive grating sensing technology with an inclination force element. It not only fulfills the inclination measurement function but also employs passive sensing technology, rendering it safer and more reliable compared to electromagnetic inclinometers. First, we delved into the sensing principle of the grating based on its structure, and investigated its sensing characteristics under uniform axial stress and temperature variations. We analyzed the strain–temperature cross-sensitivity issue and applied a temperature compensation technique. Second, we carried out a novel structural design and proposed two design alternatives: the cantilever beam type was selected after a comprehensive comparison. Subsequently, we deduced the corresponding theoretical formulas and ultimately adopted the temperature compensation method using an unstressed reference grating. Finally, on-site verification was conducted on the hydraulic support in the general mining face of Delong Mine, and the FBG inclinometer successfully passed the test. Finally, an actual test was carried out at the Delong Coal Mine site, and the subsequent use yielded quite satisfactory results. An analysis of the data collected on-site by the FBG inclinometer for the hydraulic support revealed that the newly developed FBG inclinometer for the hydraulic support can be effectively applied in the field of intelligent monitoring in underground coal mines. The monitoring data can serve as a reliable data foundation for assessing the operating attitude of the hydraulic support. This indicates that the FBG inclinometer is highly suitable for wide-scale industrial applications.

1. Introduction

In the course of coal mine production, the working environment is highly variable, and the operating conditions of hydraulic supports are complex. The hydraulic supports are subjected to massive impact loads from coal and rock. Additionally, the presence of coal dust and coal mist pollution exacerbates the challenges of monitoring hydraulic supports. All these factors contribute to the frequent occurrence of failures at the hydraulic support lifting ports. Such failures can lead to the paralysis of the entire coal production system and pose a threat to the life safety of coal miners.
The working condition of hydraulic supports directly impacts the safe production of the working face in the following aspects. On the one hand, it influences the mining progress, the initial bracing force and working resistance of the support, the management efficiency, and the normal movement of the working face [1,2,3]. On the other hand, the working resistance of hydraulic supports and the inclination of roof supports can indirectly reflect the stress field conditions of the working face, which has long been a focal point among mining professionals. Coal mining activities re-distribute the original stresses within the coal seam, and the alterations in the stress field directly trigger the generation of mine pressure in the working face [4,5]. Therefore, comprehensively understanding the changes in the stress field of the working face is of great significance for ensuring the safety of mining personnel.
The national energy technology development outline explicitly stipulates the realization of intelligent coal mining, the complete phasing out of backward production capacity, the integration of large and medium-sized coal mines, and the energetic implementation of comprehensive mechanization at the working face and intelligent mining technologies. Among these, the hydraulic support, as a crucial safety device at the working face, exerts a significant influence on the safety and intelligence of the fully mechanized mining face. Currently, the existing electro-hydraulic control systems for hydraulic supports are mainly limited to monitoring the column pressure and the displacement of hydraulic supports. As a result, they are unable to effectively, comprehensively, and accurately monitor the attitude of hydraulic supports. Consequently, there is a shortage of real-time and precise attitude-monitoring data for the intelligentization of hydraulic supports. Moreover, for the intelligentization of mining, a large number of sensors need to be deployed to monitor relevant information.
Fiber Bragg Grating (FBG), serving as a passive sensitive element, represents an emerging technology in the realm of sensing and monitoring. It exhibits remarkable environmental adaptability, safety, reliability, and cost effectiveness. The working temperature range of FBG can span from−40 °C to 80 °C, endowing it with enhanced adaptability to the harsh conditions underground in coal mines. FBG exploits the grating within to sense external temperature and strain variations. Subsequently, without relying on intermediate variables, it can directly correlate the measured external variables with the optical conductivity of the fiber core. Given that optical fibers possess advantages such as high security and high sensitivity, passive sensors fabricated from optical fibers hold distinct advantages when compared to electromagnetic sensors [6,7]. Since the first implantation of optical fibers into special composites by NASA in 1980, this field has been continuously expanding, and the number of Special Issues on smart sensing materials and structures has gradually increased [8,9,10]. To date, distributed monitoring networks founded on fiber-optic grating sensors have emerged as a novel research domain [11,12,13].
Nevertheless, the currently available Fiber Bragg Grating (FBG) inclinometer products for hydraulic supports typically suffer from substantial size, intricate processing requirements, and high costs. These drawbacks render their extensive application in coal mines and other monitoring domains challenging. Hydraulic supports typically operate in underground coal mine environments characterized by restricted space and intricate structures. They require installation at various critical components of the hydraulic support system to monitor its attitude. Conventional Fiber Bragg Grating (FBG) inclination sensors are challenging to miniaturize due to their internal architecture, which encompasses fiber-optic gratings, encapsulation materials, and signal-processing circuitry. During the actual installation procedure, constraints often exist regarding the installation location. For instance, in some narrow connection parts of the hydraulic support or in areas with compact space adjacent to the hydraulic system, it is arduous to accommodate the relatively large FBG tilt sensors. This situation consequently impedes their comprehensive deployment in the monitoring of coal mine hydraulic supports. Therefore, there is an urgent need to develop a novel, flexible, convenient, environmentally adaptable, and cost-effective Fiber Bragg Grating (FBG) inclinometer for hydraulic supports. Building upon previous research, this paper harnesses FBG sensing technology to offer a new monitoring tool and approach for the attitude monitoring of hydraulic supports—the hydraulic support FBG inclinometer. A newly designed hydraulic support FBG inclinometer is proposed, which is capable of conducting real-time dynamic monitoring of the inclination angles of the roof beam and base of the hydraulic support. This new design not only enables the real-time dynamic monitoring of the tilt angles of the roof beam and base of the hydraulic support but also allows for the comprehension of related roof deformations based on the changes in the tilt angle of the roof beam. This novel design of the hydraulic support FBG inclinometer outperforms the previous counterparts substantially. In dimensions, precision, and stability, it showcases marked improvements compared to existing products. Its enhanced characteristics are of paramount significance for ensuring the safety of coal mines and the well-being of workers. The compact size allows for easier installation in the confined spaces of underground coal mines, while the improved accuracy and stability enable more reliable monitoring of hydraulic support conditions, thereby contributing to a safer mining environment. In addition, through the combination of theory and practice, the design and development of the hydraulic support FBG inclinometer and the field industrial test were carried out [14,15,16].

2. Characterization of FBG

Light that meets the Bragg condition is reflected and its peak wavelength is called the center wavelength λ B [17,18]. The expression relation is as follows:
λ B = 2 n e f f Λ
Fiber-optic gratings can cause Λ and n e f f to change when subjected to temperature or stress, and the reflected light wavelength Δ λ B can be shown as follows:
Δ λ B = 2 Δ n e f f Λ + 2 n e f f Δ Λ
From the equation, it is shown that λ B varies as a result of changes in n e f f and Λ .
Since the change in λ B depends on n e f f and Λ , stress and temperature changes will directly change λ B . Based on this principle, sensors with different functions can be developed.

2.1. Sensing Characteristics of FBGs During Stress Changes

When a section of the grating is subjected to axially applied tension, the grating area of the grating spacing increases, the strain is uniform, the temperature is constant, the fiber diameter is D , its core radius is a , the grating length is L , and the grating spacing is Λ , when the grating area is subjected to axial force, as shown in Figure 1.
Figure 1. Structure of grating axial strain.
The following is known from mechanical analysis:
ε x = ε y = μ ε z
The axial tension causes the grating area to change, and by differentiating Equation (1), Equation (2) can be obtained. Then, (4) is associated with (1):
Δ λ B λ B = Δ Λ Λ + Δ n e f f n e f f
Due to the principle of elasticity:
Δ 1 n e f f 2 = p 11 + p 12 ε x + p 12 ε z
And:
Δ n e f f n e f f = n e f f 2 2 p 11 + p 12 ε x + p 12 ε z
ε x = μ ε z substitute into (6):
Δ n e f f n e f f = n e f f 2 2 p 12 μ p 11 + p 12 ε z
The following is also observed:
Δ Λ Λ = ε z
Substituting Equations (7) and (8) into Equation (4), we have:
Δ λ B λ B = 1 n e f f 2 2 p 12 μ p 11 + p 12 ε z
where p 11 and p 12 represent the elasticity coefficient; μ is Poisson’s ratio; ε z is the axial strain.
The following is also observed: p e = n e f f 2 2 p 12 μ p 11 + p 12
Simplifying gives:
Δ λ B λ B = 1 p e ε z
For a particular grating, the material properties are determined after the production of the grating; so, p e is constant. Therefore, it can be concluded that Δ λ B and ε z are linearly related [19].

2.2. Sensing Characteristics of FBGs During Temperature Changes

Changes in temperature cause changes in λ B , which is due to the combined effects of thermal expansion and contraction, thermo-optic and elasto-optic effects [20,21].
A temperature change from (1) is shown as follows:
Δ λ B = 2 Δ n e f f Λ + 2 n e f f Δ Λ = 2 Δ n e f f Λ + 2 n e f f Λ Δ T α
A change in n e f f at different temperatures is shown as follows:
Δ n e f f = n e f f T Δ T + ( Δ n e f f ) e p + n e f f a Δ a
From the above, we can obtain:
Δ λ B = 2 n e f f T Δ T + ( Δ n e f f ) e p + n e f f a Δ a Λ + 2 n e f f Λ T Δ T
Among them, ( Δ n e f f ) e p are the refractive index variables in the presence of bouncing light effect; n e f f / a is the waveguide effect; n e f f / T is the refractive index variable, denoted by ξ ; Λ / T is the coefficient of thermal expansion, denoted by α .
Temperature sensitivity coefficient formula [22,23]:
Δ λ B λ B Δ T = ζ + 1 n e f f K w g α + α
Among them, K w g is the wavelength variation coefficient of the waveguide effect. For waveguide effects, the impact is negligible.
The relative temperature sensitivity factor is obtained from Equation (14):
K T = ζ + α
Available to: Δ λ B λ B = K T Δ T
The wavelength change versus temperature change equation can be expressed as in the above equation. From this, it can be concluded that Δ λ B and Δ T are linearly related [24,25,26,27,28].

2.3. FBG Temperature Compensation

A fiber grating wavelength change is mainly affected by its strain and temperature; this law of change has been tested and is was found that there is a relationship between the wavelength and the two covariates [29,30,31,32,33]:
Δ λ B λ B = K ε ε + K T Δ T
Due to the strain–temperature cross-sensitivity issue inherent in Fiber Bragg Gratings (FBGs), when investigating the impact of strain on the grating, it is imperative to eliminate the temperature effect. A prevalent approach to accomplish this is by employing temperature compensation techniques. This is crucial as the simultaneous influence of strain and temperature on FBGs can lead to inaccurate measurements. Temperature compensation techniques are designed to decouple these two effects, ensuring that the strain-related changes in the grating are accurately detected and isolated from the confounding temperature-induced variations. By implementing such techniques, the reliability and precision of FBG-based sensing systems, such as those used in the context of hydraulic support attitude monitoring, can be significantly enhanced.
The unstressed grating method is stable, reliable and simple to operate; so, it is suitable for further promotion. However, now, only the influence of the temperature compensation method is said to be the case, which can be obtained from the theory above:
Δ λ B 1 λ B 1 = K ε 1 ε + K T 1 Δ T
where λ B 1 is the wavelength at crossover and K T 1 is the corresponding sensitivity factor.
Δ λ B 2 λ B 2 = K T 2 Δ T
where λ B 2 is the unstressed grating wavelength and K T 2 is the corresponding sensitivity factor.
Make γ = K T 1 / K T 2 ; therefore:
ε = ( Δ λ B 1 / λ B 1 γ Δ λ B 2 / λ B 2 ) / K ε 1
If the specification parameters of the two gratings that make the experiment are the same, pasted on a substrate with γ = 1, the wavelength change Δ λ ε due to strain is only [34]:
Δ λ ε = Δ λ B 1 Δ λ B 2 λ B 1 λ B 2
From the analysis, it is concluded that Δ λ B depends on n e f f and Λ . Stress–strain and temperature can directly and significantly change λ B . The relationship between grating wavelength and stress and temperature is analyzed from FBG sensing characteristics, and it is concluded that the wavelength is linear with both. When using FBG to make functional sensors, researchers must pay attention to the temperature and strain cross-sensitivity problem; if there is only a need to monitor stress–strain, Temperature effects can be isolated by compensation techniques.

3. Design Solution for FBG Inclinometer for Cantilever-Beam-Type Hydraulic Support

The cantilever-beam-type hydraulic support FBG inclinometer primarily operates on the principles of gravity and sensitivity enhancement. By leveraging these principles, it effectively augments the sensitivity of the grating. Additionally, a well-considered design incorporating a calibration-zero device has been implemented. This not only circumvents the inherent drawbacks of the cantilever-beam-type hydraulic support FBG inclinometer but also compensates for its deficiencies. This design approach ensures that the inclinometer can accurately and reliably measure the inclination of the hydraulic support, thereby enhancing the overall safety and efficiency of coal mining operations in underground environments.
The cantilever-beam-type FBG inclinometer on the hydraulic support of seismicity has been greatly improved, and made safer and more reliable.

3.1. Design Solution for FBG Inclinometer for Cantilever Hydraulic Support

The cantilever beam is the core component; the cantilever beam selected is made of Q235 steel, and the wire-cutting process was used; the following figure shows a 72 × 70 × 20 mm cantilever beam one-piece structure, which is divided into the top beam and the pendulum below. In the top beam below, through the machining a channel of a 1 mm deep, 70 mm long channel for the pasting of the FBG using the “three points and one line” way, “three points” for the three bonding fixed points on the fiber, the red grating part is placed in the channel, which cannot be bonded, and thus the red line in the channel below is not bonded. Through the “three points and one line” approach, ‘three points’ for the fiber on the three bonding fixed points, the red grating part of the channel can be placed in the channel, but not bonded to the figure below the channel in the red line for the symmetrical placement of the grating string; the structure is shown in Figure 2.
Figure 2. Structure diagram of a cantilever beam.
The cantilever-beam-type hydraulic support FBG inclinometer is composed of four main components. The first component is a wire-cut metal cantilever beam, fabricated through a precise wire-cutting process to ensure dimensional accuracy and structural integrity. The second component is the grating, which serves as the key element for monitoring deformation. It is designed to detect even minute changes in the cantilever beam’s state. The third component consists of a knob for securely fixing the cantilever beam and functions as a calibration knob, allowing for accurate adjustment and calibration of the inclinometer’s readings. The fourth component is an alloy case, which not only provides mechanical protection to the internal components but also shields against external environmental factors that could potentially affect the inclinometer’s performance.
As depicted in the figure below, the assembly process commences with the use of epoxy resin glue. First, the fiber-optic grating is pre-tensioned using this glue to optimize its sensitivity and response characteristics. Subsequently, it is bonded at three specific points within the fiber-optic groove. This three-point bonding method ensures that the grating is firmly held in place. Notably, a section of the grating is left exposed without any bonding agent. This unbonded section is carefully designed to have no adverse impact on the transmission of fiber-optic stress–strain signals. The model diagram of the cantilever-beam-type hydraulic support FBG tiltmeter is presented in Figure 3, clearly illustrating the spatial arrangement and relationship of these components.
Figure 3. Model diagram of FBG tilt sensor. 1—Cantilever beam for wire cutting, 2—Metal housing, 3—Fiber-optic grating, 4—Limit screws, 5—Bolts for fixing the cantilever beam, 6—Bonding fixing points.

3.2. Working Principle of FBG Inclinometer for Cantilever-Beam-Type Hydraulic Support

The working principle of the hydraulic support FBG inclinometer is as follows: the top beam of (1) and (2) metal shell are fixed together by (5) fixing bolts; when the angle deflection of (2) metal shell occurs, the pendulum under (1) cantilever beam is deflected due to gravity, which makes the connection between the top beam of (1) cantilever beam and the pendulum undergo a local strain, and be symmetrically laid out on the two sides of the cantilever beam (3). The fiber-optic grating can monitor the angular offset of this connection, and then carry out calibration experiments at different angles to derive the wavelength change values at different angles.
The cantilever-beam-type hydraulic support FBG inclinometer, engineered in accordance with the aforementioned principle, is capable of enhancing the sensitivity of the fiber-optic grating. Moreover, it is equipped with a zero-calibration device (limit bolt), which significantly improves its measurement accuracy and repeatability. Structurally, its design primarily encompasses two components: the metal casing and the cantilever beam. The design profile of this inclinometer is presented in Figure 4, clearly demonstrating the overall layout and key structural elements.
Figure 4. Shape diagram of FBG inclinometer for hydraulic support.

3.3. Mechanical Analysis of FBG Inclinometers for Cantilever-Beam-Type Hydraulic Supports

When the upper beam of the cantilever beam undergoes tilting, the pendulum beneath it remains in a vertical state under the influence of gravity. This leads to the occurrence of local strain at the junction between the upper beam of the cantilever beam and the pendulum. As a result, the two gratings symmetrically arranged on one side of the grating undergo stretching, while the grating on the other side experiences compression. The inclination angle change is then calculated based on the variation in the central wavelength of the tandem grating upon reflection [35,36]. The simplified model diagram of the cantilever beam’s force distribution is presented in Figure 5, which clearly depicts the mechanical behavior and the relationship between the components during the inclination process.
Figure 5. Mechanical model of cantilever beam structure.
When the angle of inclination is θ , according to the knowledge of mechanics of materials, there is:
m g l m sin φ = F d
The formula is F = k Δ , where:
k = 3 E I I 3 ; Δ = d sin θ ϕ
where I is the moment of inertia of the cantilever beam; E is the elastic modulus of the cantilever beam; φ is the pendulum angle of the cantilever beam; m is the mass of the pendulum.
After resolving it, the following is obtained:
k d 2 θ φ = m g l m φ
Style:
φ = k d 2 θ k d 2 + m g l m
The strain from the free end of the beam is as follows:
ε = k Δ x E I h 2
To wit:
ε = k h d x 2 E I m g l m k d 2 + m g l m θ
From the FBG sensing principle, there is:
Δ λ = α ε ε + α T Δ T
where α ε and α T are the strain and temperature sensitivity coefficients of the grating, respectively.
As the center wavelength of the two gratings is very close, it can be considered that the α ε and α T of the two gratings are the same for the two gratings symmetrically arranged on both sides of the top beam of the cantilever beam; the two gratings are subjected to the same amount of strain change, with opposite signs; so, the following is observed:
Δ λ 1 Δ λ 2 = α ε ε + α T Δ T α ε ε 2 + α T Δ T = 2 α ε ε 1
The following is assumed:
Δ λ 1 Δ λ 2 = k h d x 2 E I m g l m m g l m + k d 2 θ
The collation gives the following formula for calculating the inclination of the hydraulic support FBG inclinometer:
θ = λ 1 λ 10 λ 2 λ 20 k
where θ is the tilt angle measured by the hydraulic support FBG inclinometer, °;
  • λ 1 is the test wavelength (small wavelength), nm;
  • λ 10 is the wavelength of 1 grating 0 point, nm;
  • λ 2 is the test wavelength (large wavelength), nm;
  • λ 20 is the 2 grating 0 point wavelength, nm;
  • K is the coefficient of inclination, k = k h d x 2 E I m g l m m g l m + k d 2 . The value is a constant, nm/°.
Tilt direction: when θ is positive, the inclinometer tilts to the right; when θ is negative, the inclinometer tilts to the left.
When the inclination angle is of less than 5 degrees, owing to the pre-tensioning force applied to the gratings prior to installation, the two gratings symmetrically fixed on both sides of the beam can be regarded as having the same absolute value of strain but with opposite signs. However, when the inclination angle exceeds 5 degrees, for the two gratings symmetrically fixed on both sides of the beam, one side experiences stretching, while the other side undergoes compression. The stretching side becomes increasingly taut, with the tensile stress showing a linear change continuously; on the other hand, the compression side is also more and more compressed, eventually saturating the pre-tensioning force applied in advance during installation. This causes the structure to reach a bending state, presenting a non-linear change. Consequently, when the inclination angle is greater than 5 degrees, the aforementioned theoretical formula becomes invalid, and a new correction formula is required for replacement.
Due to the series grating string, when the cantilever beam is tilted, one side is in the tensile state with linear change, and the other side is in the compression state with linear and then nonlinear change; thus, the grating with linear change can be used to calculate the tilt angle, and the calibration experiments are carried out to find out the calibration function relationship between the change value of the wavelength of the grating with linear change and the tilt angle:
λ = K 1 θ + λ 0
where θ is the tilt angle measured by the hydraulic support FBG inclinometer, °;
  • λ is the wavelength value of the grating in the stretching state, nm;
  • λ 0 is the initial wavelength value of the grating in the stretching state, nm;
  • K 1 is the tilt angle coefficient; the value is constant, nm/°.
In view of the harsh working environment in underground coal mines, the cantilever-beam-type hydraulic support FBG inclinometer employs a novel design strategy. In this design, the bare grating is not directly subjected to heavy loads. This approach effectively prevents the suspension-type inclinometer from suffering irrecoverable creep deformation caused by the long-term suspension of heavy loads, thereby enhancing the measurement accuracy. Additionally, by arranging series gratings symmetrically on the cantilever beam, the requirements for angle measurement are met, and the sensitivity is effectively improved. The incorporation of a zero-knob (limit knob) design allows for zero-setting when the inclinometer is not in operation or during transportation. This not only simplifies maintenance but also extends the service life of the inclinometer [37,38,39].

4. Overall Package and Mounting Design for Hydraulic Support FBG Inclinometers

The main housing of the hydraulic support FBG inclinometer is constructed using an alloy shell with dimensions of 96 × 90 × 29 mm. A conversion component is affixed to the bottom of the main housing. Symmetrical arc-shaped grooves are present on the left and right sides of the conversion component. During the installation process, these grooves are utilized for fixation by inserting bolts through them.
On the top of the main housing, there are screw holes with a diameter of 6 mm, which serve the purpose of suspending and securely fixing the cantilever beam inside the housing. Above the two sides of the main housing, on the left and right, there are screw holes with a diameter of 5 mm for the fiber-optic cable to exit. Below the two sides of the main housing, on the left and right, there are screw holes with a diameter of 8 mm for installing limiting bolts. These limiting bolts are employed to rectify the initial position of the cantilever beam. Both the base and the lid of the main housing are fastened to the main housing using bolts. The appearance and design dimension drawings of the housing are presented in Figure 6 and Figure 7, respectively.
Figure 6. The appearance of the Fiber Bragg Grating tilt sensor.
Figure 7. The size diagram of the FBG tilt sensor’s shell.
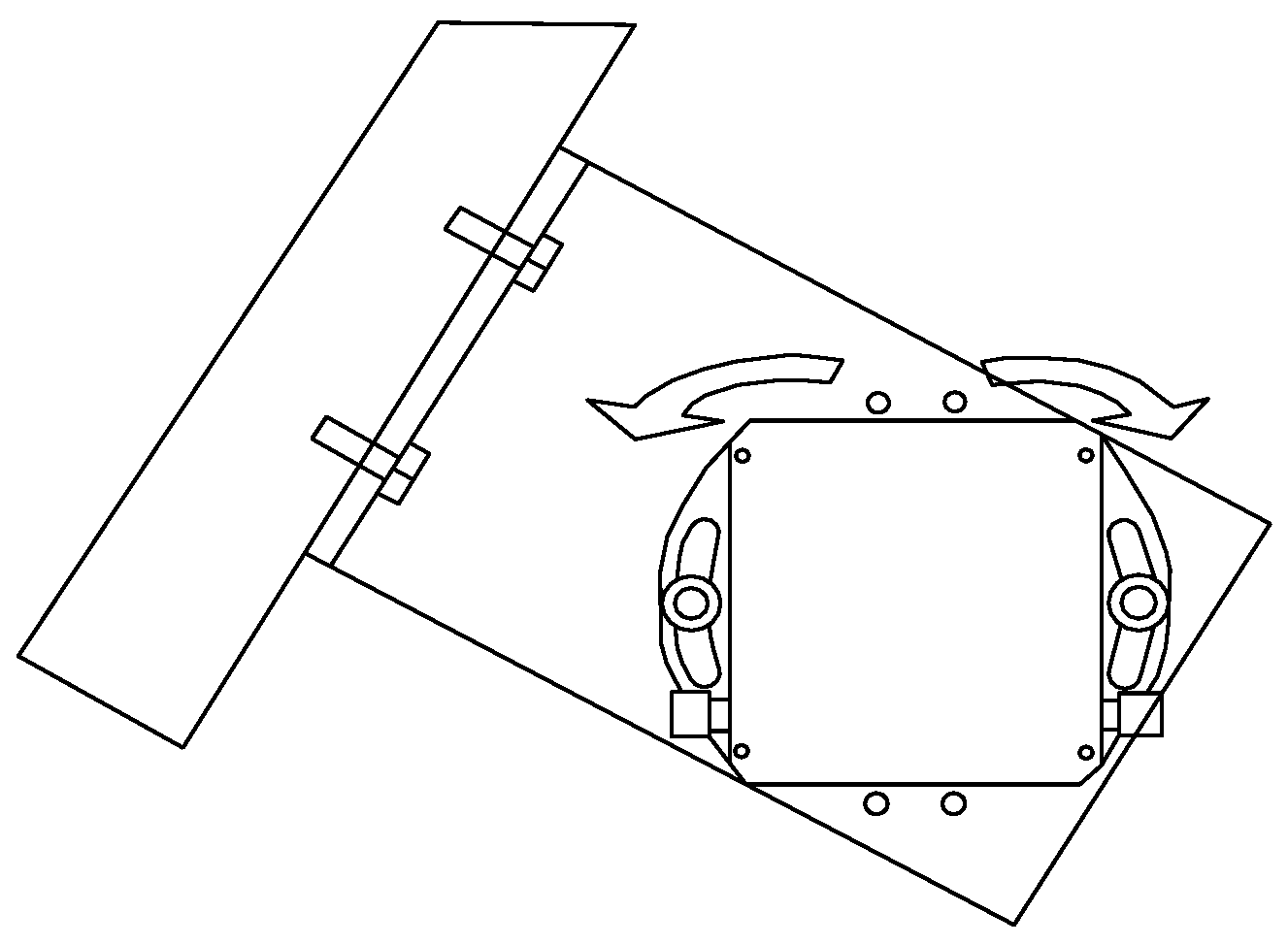
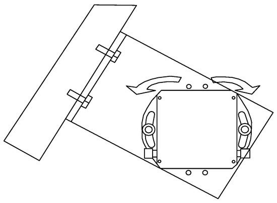
The hydraulic support FBG inclinometer is equipped with a dedicated mounting and fixation design. When the test direction is parallel to the side wall, installation can be straightforwardly achieved by making use of the channels located on both sides of the hydraulic support FBG inclinometer. These channels are specifically designed to enable the adjustment of the hydraulic support FBG inclinometer’s level, ensuring accurate and stable measurements in such installation scenarios.
When the test direction is perpendicular to the wall, the installation necessitates the use of a base. The adapter is engineered in an ‘L’-shape. In this design, the short side of the ‘L’-shaped adapter is utilized for fixation to the wall, while the long side is employed to secure the sensor. The long side features 18 M6 screw holes, evenly spaced at 20° angular intervals. This arrangement enables the adjustment of the FBG inclinometer’s level at any angle on the mounting surface of the hydraulic support. The dimensional drawing of the ‘L’-shaped mounting base is presented in Figure 8, and the schematic diagram of the mounting base is shown in Figure 9.
Figure 8. Diagram of the size of the installation base.
Figure 9. Schematic diagram for the use of the installation base.
To achieve the accurate installation of the inclinometer in a more straightforward and efficient manner, it is a requisite to pre-weld step holes at each monitoring location of the hydraulic support. These pre-welded step holes are designed to be used in conjunction with the ’L’-type converter, the inclinometer shell, and a spirit level to complete the installation process of the hydraulic support FBG inclinometer. The step holes welded on the hydraulic support for installation purposes are illustrated in Figure 10.
Figure 10. Design drawing of step hole of hydraulic support.

5. Performance Testing of Hydraulic Support FBG Inclinometers

This experiment is carried out to test the performance of the hydraulic support FBG inclinometer, and to verify the relationship and law between the tilt angle of the fiber grating hydraulic support FBG inclinometer and the grating. The test system consists of a beam with a hinged shaft at one end, a number of pads, an angle gauge, a level, a hydraulic support FBG inclinometer, a network cable, an analyzer and a computer. The demodulator we use is the SM-125 produced by Micron Optics Inc. from the U.S. It is a demodulator based on the core of MOI’s x25 demodulator module, with a built-in scanning laser light source developed by MOI’s patented tunable Farber filter technology. The FBG fiber grating used in the experiment is produced by Beijing Dacheng Yongsheng Science and Technology Co., Ltd. (Beijing, China), and its upper coating is a polyimide coating material, as shown in Figure 11.
Figure 11. The diagram of performance measurement system.
When carrying out calibration experiments, the following steps need to be strictly followed:
Step 1: Utilize a spirit level to meticulously adjust the experimental platform to a state of perfect horizontality. Subsequently, carefully position the hydraulic support FBG inclinometer on the beam surface of the platform, guaranteeing that the horizontal axis of the hydraulic support FBG inclinometer is precisely parallel to the axis of the beam. Employ a jumper wire to establish a connection between the hydraulic support FBG inclinometer and the analyzer. The analyzer is then interfaced with a computer to configure the IP settings for the acquisition of monitoring data;
Step 2 is to adjust the position and height of the pads, and adjust the inclination of the beam with 3° as one step; meanwhile, measure the corresponding number of inclinations in real time with the angle meter, and record the values of two grating wavelengths in real time so that the hydraulic support FBG inclinometer tilts to the left to reach a 15° stop;
Step 2: Manipulate the position and height of the pads. Gradually adjust the inclination of the beam in increments of 3°. Concurrently, utilize a goniometer to measure the corresponding inclination angle in real time. Continuously record the values of the two grating wavelengths, denoted as λ 1 and λ 2 , in real time. Proceed with this operation until the hydraulic support FBG inclinometer tilts leftward and attains an inclination of 15°. At this juncture, the left-tilting process is terminated;
Step 3: Rotate the hydraulic support FBG inclinometer in both the left-hand and right-hand directions. Subsequently, re-position the hydraulic support FBG inclinometer on the beam, ensuring with precision that the horizontal axis of the hydraulic support FBG inclinometer aligns exactly parallel to the axis of the beam. Then, reiterate the procedures detailed in Step 1 and Step 2. By carrying out these operations, a comprehensive test range spanning from −15° to 15° is established;
Step 4: The entire suite of operations described above was replicated. Based on the recorded wavelength values of the two gratings, the data were processed and analyzed. Subsequently, the corresponding tilt angles θ were determined.

5.1. Analysis of Test Results

Upon the conclusion of the experiment, the recorded data were meticulously sorted and tabulated. The experimental data obtained from the first-cycle test of the cantilever-beam hydraulic support FBG inclinometer are presented in Table 1 below.
Table 1. First-cycle test data.
The experimental data from the second cycle of the hydraulic support FBG inclinometer test are shown in Table 2 below.
Table 2. Second-cycle test data.
Following multiple repetitions of the experiments, the experimental process curve was plotted based on the data results acquired. Given that the wavelength change in the unstressed FBG3 is exceedingly minimal, the temperature effect could not be accounted for. Figure 12 depicts the experimental process curve of the cantilever-beam-type hydraulic support FBG inclinometer during the first cycle. Here, the abscissa represents the tilt angle of the hydraulic support FBG inclinometer, while the ordinate denotes the change in the central wavelength of the hydraulic support FBG inclinometer.
Figure 12. The relationship between the wavelength change in the tilt sensor and the angle of tilt in the first test.
From the cyclic experiment of the hydraulic support FBG inclinometer in the tilt angle between −15° and 15° in Figure 11, it can be concluded that when the hydraulic support FBG inclinometer is tilted to the right (0°~15°), in the series double gratings symmetrically arranged on the cantilever beam, the left grating (Δλ1) will grow linearly due to tension, and the linear equation is y = 65.8x, and the right grating (Δλ2) will change non-linearly due to compression. The right grating (Δλ2) is non-linear due to compression; when the hydraulic support FBG inclinometer is tilted to the left (−15°~0°), the right grating (Δλ2) will grow linearly due to stretching, and the linear equation is y = −67.4x, while the left grating (Δλ1) is non-linear due to compression.
Further, all of the above operations were performed on the hydraulic support FBG inclinometers arranged with FBG1 and FBG2 within a ±15° inclination range, and the results of the repeated tests are shown in Figure 13.
Figure 13. The relationship between the wavelength change in the tilt sensor and the angle of tilt in the second test.
From Figure 13, the second-cycle test of the hydraulic support FBG inclinometer at ±15° shows that when the hydraulic support FBG inclinometer is tilted to the right (0°~15°), among the double gratings symmetrically arranged on the cantilever beam, the left grating (Δλ1) will grow linearly due to stretching, and the linear equation is y = 66.4x, whereas the right grating (Δλ2) will show a non-linear change due to compression. When the FBG inclinometer of the hydraulic support is tilted to the left (−15°~0°), the right grating (Δλ2) will increase linearly due to stretching, and the linear equation is y = −66.5x, while the left grating (Δλ1) will change non-linearly due to compression. And the sensitivities of FBG1 and FBG2 are 66.4 pm/1° and 66.5 pm/1°, respectively.

5.2. Instrument Fit Analysis

Instrument linear fitting pertains to the establishment of a linear relationship between the tilt angle of the instrument and the wavelength drift. To enhance the accuracy of the hydraulic support FBG inclinometer, the fitting curve is derived from the data of the two-cycle tests for fitting analysis, with linearity being fitted only when the grating is under tension.
First, the grating wavelength drift and inclination angle were fitted for gratings FBG1 and FBG2 during their tensile phase in the first-cycle test. The resulting fitted curves are presented in Figure 14 and Figure 15 below.
Figure 14. The fitting curve of the change in the left grating wavelength and the inclination angle of the first positive-loop test inclinometer.
Figure 15. Fitting curve of the right grating wavelength and inclination angle of the first reverse-circulation test inclinometer.
In the fit analysis of the stretched grating in the first-cycle test, when the hydraulic support FBG inclinometer is tilted to the right, the left grating is in the stretched state, the left grating (Δλ1) grows linearly due to stretching, and the linear equation is y = 65.8x, with a fit coefficient of 0.9997; when the hydraulic support FBG inclinometer is tilted to the left, the right grating is in the stretched state, and the right grating (Δλ2) grows linearly due to stretching, and the linear equation is y = −67.4x, with a fit coefficient of 0.9995. The right grating (Δλ2) grows linearly due to stretching, and the linear equation is y = −67.4x, with a fitting coefficient of 0.9995.
Next, during the second-cycle test, when gratings FBG1 and FBG2 are under tension, the grating wavelength drift and tilt angle are subjected to fitting and analysis. The corresponding fitted curves are presented in Figure 16 and Figure 17 below.
Figure 16. The fitting curve of the change in the left grating wavelength and the inclination angle of the second positive-cycle test inclinometer.
Figure 17. Second reverse-circulation test, the fitting curve of the right grating wavelength and inclination angle of the inclinometer.
The fit analysis of the tensile grating in the second-cycle test shows that when the hydraulic support FBG inclinometer is tilted to the right, the left grating is in a tensile state, the left grating (Δλ1) grows linearly due to the tensile force, and the linear equation is y = 66.4x, with a fit coefficient of 0.9996; when the hydraulic support FBG inclinometer is tilted to the left, the right grating is in a tensile state, and the right grating (Δλ2) grows linearly due to the tensile force, with a fit coefficient of y = −66.5x, and a fit coefficient of 0.9994. The right grating (Δλ2) grows linearly due to stretching, and the linear equation is y = −66.5x, with a fitting coefficient of 0.9994.
In summary, with the hydraulic support FBG inclinometer in a ±15° tilt range, and the hydraulic support FBG inclinometer in the stretched state of the FBG1 or FBG2 on the fiber grating wavelength, the value of the fit is greater than 0.9994, indicating that the amount of change in the wavelength of the optical fiber grating and the tilt angle has a good degree of linearity.

5.3. Instrument Sensitivity Analysis

The slope of the fitted line k = Δ λ / Δ θ , which is the sensitivity of the hydraulic support FBG inclinometer. The sensitivities of FBG1 and FBG2 in a tensile state during the first-cycle test are 65.8 pm/1° and 67.4 pm/1°, respectively; the sensitivities of FBG1 and FBG2 in a tensile state during the second-cycle test are 66.4 pm/1° and 66.5 pm/1°, respectively. From the grating wavelength value fitting curve, the angular sensitivity of the hydraulic support FBG inclinometer is 66.4–67.4 pm/1°, which indicates that the hydraulic support FBG inclinometer has good sensitivity.

5.4. Instrument Repeatability Analysis

After the repeatability experiment, according to the two repeated cycles of the test curve, it can be seen that the wavelength value of the fiber grating essentially returns to the original value, indicating that the hydraulic support FBG inclinometer has good reusability.

6. Conclusions

This study is conducted within the context of the state’s intensive promotion of the mechanization level in coal mines, the advocacy for unmanned intelligent mining, and the pursuit of “less-manned” or “unmanned” working faces. As a safety-critical component of the working face, the hydraulic support significantly influences the safety and intelligence quotient of the comprehensive mining operation. The existing electro-hydraulic control systems for hydraulic supports are mainly limited to monitoring column pressure and displacement, lacking the capacity for effective and comprehensive surveillance of the hydraulic support’s attitude.
Building on prior research, this paper harnesses passive FBG sensing technology to introduce an innovative monitoring solution for the hydraulic support’s attitude angle, namely the hydraulic support FBG inclinometer. This novel device enables real-time dynamic monitoring of inclination angles in components like the top beam and base of the hydraulic support. It is characterized by its robust environmental adaptability and high practical utility, thereby presenting a new paradigm for hydraulic support attitude monitoring.
The two novel passive hydraulic support FBG inclinometers presented in this paper are applicable for the monitoring of hydraulic support attitudes. Their designs and engineering applications are elaborated in detail, with a primary focus on two key aspects. First, the material selection and packaging design of the cantilever-beam-type hydraulic support FBG inclinometer are comprehensively described. This involves an in-depth exploration of the materials chosen for their mechanical properties and compatibility with the harsh mining environment, as well as the design considerations for the packaging to ensure proper protection and functionality of the sensor. Second, performance testing of the cantilever-beam-type hydraulic support FBG inclinometer and its on-site industrial application are introduced. The performance testing section details the experimental procedures and metrics used to evaluate the sensor’s accuracy, sensitivity, and reliability. The on-site industrial application part provides real-world examples of how the inclinometer has been implemented in actual mining operations, highlighting its practical effectiveness and contribution to improving the safety and efficiency of hydraulic support systems.
The main conclusions of the paper are as follows:
(1)
Leveraging the sensing characteristics of FBG and capitalizing on its axial strain for program design, two design schemes for the hydraulic support FBG inclinometer in mining applications are proposed. These include the suspension-type and the cantilever-beam-type design options. The proposed designs are tailored to meet the specific requirements of monitoring the hydraulic support’s state in the mining environment, taking into account factors such as installation convenience and measurement accuracy.
(2)
Regarding the cantilever-beam-type hydraulic support FBG inclinometer, it overcomes the drawbacks of the suspension-type design. This design effectively addresses the seismic issues associated with the hydraulic support FBG inclinometer. By ingeniously employing tandem double gratings for monitoring the left and right tilt angles and adding the design of limit bolts, it prevents damage to the gratings due to vibrations during transportation. Moreover, based on the axial strain of the grating, the calculation formula is derived. The limit bolts not only protect the sensor during non-operational periods but also enhance the overall stability of the measurement system.
(3)
During the installation process, the addition of the ‘L’-shaped adapter design enables 360° installation on the structure to be measured. This significantly broadens the installation scope and offers greater flexibility in practical applications. The ‘L’-shaped adapter is designed to be compatible with various installation surfaces and orientations, ensuring that the inclinometer can be accurately installed in different mining scenarios.
(4)
For the cantilever-beam-type hydraulic support FBG inclinometer, meticulous material selection was carried out, followed by comprehensive testing experiments. Through these test experiments, the relationship between the wavelength change in the axially stretched grating and the tilt angle was deduced. Subsequently, simulation experiments were conducted, which further validated this linear functional relationship. The combination of experimental and simulation approaches provided a robust verification of the underlying physical relationship, ensuring the scientific rigor of the research on the inclinometer’s performance. A comparison between the two laboratory-based tests and the field industrial tests demonstrated a remarkable degree of consistency in the resulting data.

Author Contributions

Conceptualization, D.Z.; Investigation, X.L.; Resources, X.F.; Writing—original draft, H.L.; Writing—review & editing, K.L.; Supervision, G.W.; Project administration, M.L. All authors have read and agreed to the published version of the manuscript.

Funding

This workhhe National Natural Science Foundation of China (Nos. 52474186, 52474183).

Institutional Review Board Statement

Not applicable.

Data Availability Statement

All data and code used or analyzed in this study are available from the corresponding author on reasonable request.

Conflicts of Interest

The authors declare no conflict of interest.

References

  1. Gao, Q. Application of fiber optic sensing technology in coal mine electromechanical equipment safety condition monitoring system. Contemp. Chem. Res. 2021, 18, 135–136. [Google Scholar]
  2. Wang, Y. Research on attitude monitoring system program for mining hydraulic support. Mech. Manag. Dev. 2020, 35, 241–243. [Google Scholar]
  3. Lin, X.; Cui, K. Research on attitude monitoring system of hydraulic support in underground coal mine. Analysis of hydraulic support support condition monitoring system based on multi-sensor correction. Mach. Manag. Dev. 2019, 34, 152–153. [Google Scholar]
  4. Ma, X.; Xu, C.; Song, J. Design of hydraulic support attitude monitoring system for comprehensive mining face. Coal Technol. 2019, 38, 174–177. [Google Scholar]
  5. Zhang, Y. Research on Bragg Fiber Grating Sensing Technology. Bachelor’s Thesis, Nankai University, Tianjin, China, 2001. [Google Scholar]
  6. Meltz, G.; Morey, W.W.; Gkenn, W.H. Formation of Bragg gratings in optical fibers by a transverses holographic method. Opt. Lett. 1989, 14, 823–825. [Google Scholar] [CrossRef] [PubMed]
  7. Dewynter, V.; Rougeault, S.; Boussoir, J.; Roussel, N.; Ferdinand, P.; Wileveau, Y. Instrumentation of borehole with fiber Bragg grating thermal probes: Study of the geothermic behaviour of rocks. In Proceedings of the 17th International Conference on Optical Fibre Sensors, 18 December 2005; pp. 1016–1019. [Google Scholar]
  8. Yang, J.; Xiang, Q.; Guo, Q.; Huan, X. A novel fiber optic stress sensor. J. Mech. 1997, 29, 248–251. [Google Scholar]
  9. Mok, S.; Zhang, X.I.; Gao, N. Development and application of fiber optic sensing technology in mechanics testing. J. Nat. Sci. Harbin Norm. Univ. 2000, 16, 51–55. [Google Scholar]
  10. Fang, X.; He, J.; He, J. Research on the reinforcement technology of deep high-stress soft rock dynamic pressure tunnel. Geotech. Mech. 2009, 30, 1693–1698. [Google Scholar]
  11. Lin, C.; Liu, Q.; Gao, W.; Xiao, C.X. Application of fiber optic sensing technology in monitoring axial force of anchor. Geotech. Mech. 2008, 29, 3161–3164. [Google Scholar]
  12. Ou, J.; Zhou, Z.; Wu, Z.J.; Zhao, X.F.; Mo, S.H. Intelligent monitoring technology of fiber grating for Hulan River Bridge in Heilongjiang. J. Civ. Eng. 2004, 37, 45–50. [Google Scholar]
  13. Sun, Z.H.H.; Kong, D.H. Application of monitoring system in mine pressure observation of comprehensive mining face. Coal Min. 2008, 3, 87–90. [Google Scholar]
  14. Jiang, K. Observation of mine pressure in coal mining face and observation software. Energy Technol. Manag. 2006, 2, 6–8. [Google Scholar]
  15. Lu, T.; Ma, P.; Feng, Z.; Yu, J. Design of dynamic monitoring and control system for hydraulic support attitude. Coal Sci. Technol. 2016, 27, 253–258. [Google Scholar]
  16. Cai, D.Z. Research on Fiber Optic Monitoring Technology of Dam Cracks and Stability Analysis of Dam Foundation. Ph.D. Thesis, Harbin Construction University, Harbin, China, 1998. [Google Scholar]
  17. Li, H.W.; Fang, X.Q.; Liang, M.F.; Xue, G.Z. Research on surrounding rock stress monitoring technology based on fiber grating. Ind. Min. Autom. 2015, 41, 17–20. [Google Scholar]
  18. Kiddy, J.S.; Baldwin, C.S.; Salter, T.J. Certification of a submarine design using fiber Bragg grating sensors. In Proceedings of the Smart Structures and Materials: Industrial and Commercial Applications of Smart Structures Technologies, San Diego, CA, USA, 14–18 March 2004; SPIE: Washington, DC, USA, 2004; Volume 5388. [Google Scholar]
  19. Gifford, D.K.; Childers, B.A.; Duncan, R.G.; Jackson, A.C.; Shaw, S.; Schwienberg, W.; Mazza, J. Structural integrity monitoring of aircraft panels using a distributed Bragg grating sensing technique. In Proceedings of the Smart Structures and Materials: Smart Sensor Technology and Measurement Systems, San Diego, CA, USA, 6 March 2003; pp. 5050–5057. [Google Scholar]
  20. Zhang, J.; Liu, S.; Liu, S.; Yu, Y. Research on metal substrate package structure of fiber grating and its temperature sensing characteristics. Sens. World 2005, 11, 19–21. [Google Scholar]
  21. Deng, X.; Wang, C.; Gong, X. Development of a DSP-based fiber grating wavelength analyzer. Semicond. Optoelectron. 2008, 29, 778–781. [Google Scholar]
  22. Lonning, P.E.; Bajetta, E.; Murray, R.; Tubiana-Hulin, M.; Eisenberg, P.D.; Mickiewicz, E.; Celio, L.; Pitt, P.; Mita, M.; Aaronson, N.K.; et al. Activity of exemestane in metastatic breast cancer after failure of nonsteroidal aromatase inhibitors: A phase II trial. J. Clin. Oncol. Off. J. Am. Soc. Clin. Oncol. 2000, 18, 2234. [Google Scholar] [CrossRef]
  23. Iwaki, H.; Yamakawa, H.; Mita, A. Health monitoring system using FBG-based sensors for a 12-story building with column dampers. In Proceedings of the Smart Structures and Materials: Smart Systems for Bridge, Structures and Highways, Newport Beach, CA, USA, 30 July 2001; pp. 4330–4356. [Google Scholar]
  24. Wang, J.; Liu, B.; Zhang, F.; Zhang, D.S. A novel fiber grating pressure sensor based on temperature compensation desensitization. J. Instrum. 2009, 30, 2342–2346. [Google Scholar]
  25. Huang, Z.; Liu, H. Experimental study on strain monitoring of GFRP anchors by BOTDR technique. J. North China Univ. Water Resour. Hydropower (Nat. Sci. Ed.) 2005, 26, 49–51. [Google Scholar]
  26. Wen, L.; Zhang, X. Research on fiber optic FBG grating sensing test technology and its application. J. Shijiazhuang Railw. Inst. 2004, 17, 71–74. [Google Scholar]
  27. Schulz, W.L.; Conte, J.P.; Udd, E. Long gage fiber Bragg grating strain sensors to monitor civil structures. In Proceedings of the Smart Structures and Materials: Smart Systems for Bridge, Structures and Highways, Newport Beach, CA, USA, 4–8 March 2001; SPIE: Washington, DC, USA, 2001; pp. 56–65. [Google Scholar]
  28. Calvert, S. High speed dual-axis strain using a single fiber Bragg grating. In Proceedings of the Smart Structure and Materials: Smart Sensor Technology and Measurement Systems, San Diego, CA, USA, 14–18 March 2004; SPIE: Washington, DC, USA, 2004; pp. 229–240. [Google Scholar]
  29. Dong, X.Y.; Guan, B.O.; Zhang, Y.; Kai, G.Y.; Zhao, Q.D.; Dong, X.Y.; Yao, C.D. Simultaneous measurement of displacement and temperature by a single fiber grating. China Laser 2001, 28, 621–624. [Google Scholar]
  30. Yu, T.; Qiao, X.; Jia, Z.; Fu, H.W.; Wang, H.L. Single fiber grating for simultaneous differential measurement of displacement and temperature. J. Sens. Technol. 2005, 18, 358–362. [Google Scholar]
  31. Tong, Z.; Huang, Y.; Meng, H.; Dong, X.Y.; Kai, G.Y.; Dong, X.Y. Research on a novel fiber grating displacement sensor. J. Sens. Technol. 2002, 1, 10–13. [Google Scholar]
  32. Yu, Y.; Tan, G.; Liao, X.; Zhong, Y.K.; Guan, B.O.; Dong, X.Y. Temperature-independent fiber grating displacement sensors. J. Opt. 2000, 20, 538–542. [Google Scholar]
  33. Tian, K.; Zhang, S.W.; Li, C.; Li, F.; Liu, Y.L. Fiber grating acceleration sensor and high-speed demodulation technology. Fiber grating sensors and their application in the field of health monitoring of large structural engineering. In Proceedings of the International Forum on Development and Industrialization of Fiber Optic Sensors, Pinghu, China, 20–23 June 2005. [Google Scholar]
  34. Wu, X.; Ren, W. Development of a new type of fiber grating hydraulic support FBG inclinometer. J. Huazhong Univ. Sci. Technol. (Urban Sci. Ed.) 2008, 25, 332–334. [Google Scholar]
  35. Zhao, X.; Kong, X.; Li, L. Experimental study of a fiber grating inclinometer for hydraulic support FBG. J. Disaster Prev. Mitig. Eng. 2010, 30, 243–246. [Google Scholar]
  36. Ren, W.-X.; Wu, X.-Z. Pendulum First-Class Cross-Section Beam Fiber Grating Hydraulic Support FBG Inclinometer and Calibration Method. China Patent 102,168,956, 31 August 2011. [Google Scholar]
  37. Chen, N.; Fang, X.; Liang, M.; Xue, X.; Zhang, F.; Wu, G.; Qiao, F. Research on Hydraulic Support Attitude Monitoring Method Merging FBG Sensing Technology and AdaBoost Algorithm. Sustainability 2023, 15, 2239. [Google Scholar] [CrossRef]
  38. Wei, J. Design and application of FBG inclination sensor for hydraulic support. Mech. Manag. Dev. 2024, 39, 135–137. [Google Scholar] [CrossRef]
  39. Li, Y. Research on the design of hydraulic support inclination sensor based on FBG. Coal Min. Mach. 2023, 44, 17–21. [Google Scholar] [CrossRef]
Disclaimer/Publisher’s Note: The statements, opinions and data contained in all publications are solely those of the individual author(s) and contributor(s) and not of MDPI and/or the editor(s). MDPI and/or the editor(s) disclaim responsibility for any injury to people or property resulting from any ideas, methods, instructions or products referred to in the content.

Article Metrics

Citations

Article Access Statistics

Multiple requests from the same IP address are counted as one view.