Next Article in Journal
Research on Energy-Saving and Efficiency-Improving Optimization of a Four-Way Shuttle-Based Dense Three-Dimensional Warehouse System Based on Two-Stage Deep Reinforcement Learning
Next Article in Special Issue
Influence of Well Spacing on Polymer Driving in E Reservoir of Daqing Oilfield
Previous Article in Journal
Vibration Characteristics of a Beam with Elastic Time-Varying Stiffness Boundaries
Previous Article in Special Issue
Study on Surrounding Rock Stability During Solution Mining and Operation of Salt Cavern Gas Storage with Different Height-to-Diameter Ratios and Burial Depths
 
 
Font Type:
Arial Georgia Verdana
Font Size:
Aa Aa Aa
Line Spacing:
Column Width:
Background:
Article

Gas-Powered Negative-Pressure Pump for Liquid Unloading in Underground Gas Storage

1
Liaohe Oilfield of CNPC, Oil Production Technology Research Institute, Panjin 124010, China
2
School of Petroleum and Natural Gas Engineering, Department of Petroleum Engineering, Changzhou University, Changzhou 213000, China
3
CNPC-CZU Innovation Alliance, Changzhou 213000, China
4
Hunan CNNC Exploration Co., Ltd., Changsha 410000, China
*
Author to whom correspondence should be addressed.
Appl. Sci. 2025, 15(21), 11366; https://doi.org/10.3390/app152111366
Submission received: 5 September 2025 / Revised: 16 October 2025 / Accepted: 21 October 2025 / Published: 23 October 2025
(This article belongs to the Special Issue Sustainability and Challenges of Underground Gas Storage Engineering)

Abstract

The efficiency of liquid unloading in dewatering wells directly affects the performance of the Liaohe Ma-19 gas storage facility—the first strongly water-flooded depleted reservoir in China converted for storage use. However, existing hydraulic jet pumps often exhibit low liquid-removal efficiency and capacity mismatches with field operating conditions. To address these limitations, a gas-powered negative-pressure pump system was developed based on gas dynamics principles. Using a custom-built flow loop with injection pressures up to 10 MPa and flow rates of 500–1200 m3/h, the effects of backpressure, nozzle-to-throat area ratio, and formation pressure on pump performance were systematically investigated. The results indicate that an optimal nozzle-to-throat area ratio of 0.19 achieves critical gas velocity at the throat, maximizing the negative pressure effect. Compared with conventional hydraulic jet pumps, the gas-driven system reduces start-up pressure by 87% and increases pressure drawdown by over 50%, while eliminating post-shut-in liquid accumulation through the use of compressed gas as the power fluid. This study demonstrates that the proposed system offers an efficient and reliable artificial lift solution for liquid unloading in gas storage operations.

1. Introduction

Underground gas storage (UGS) serves as a critical strategic resource for peak-shaving and supply security in China. In recent years, with the growing seasonal demand for natural gas, the efficient operation of UGS facilities has become a central focus of national energy security [1]. As a major natural gas reserve base in Northeast China, the Liaohe UGS complex is geologically intricate and utilizes depleted oil and gas reservoirs for storage [2]. The Ma-19 UGS, as the first strongly water-flooded reservoir converted into a storage facility in China, faces multiple challenges including declining pressure, high water saturation, and significant wellbore liquid accumulation [3], including declining reservoir pressure, high water saturation, and significant liquid accumulation in wellbores. Conventional liquid-lifting technologies (e.g., electrical submersible pumps (ESPs), progressing cavity pumps (PCPs), and plunger lift systems) encounter considerable technical difficulties under such conditions.
During dewatering well operations in underground gas storage (UGS), large liquid production is commonly encountered, which readily leads to reduced pump efficiency and a significantly shortened pump maintenance cycle. In addition, the reservoirs are often associated with high-salinity formation water (40,000–110,000 mg/L). The combined effects of high-salinity ions in the liquid phase and possible solid particles greatly increase the risks of corrosion and scaling within the pump barrel [4]. During intensive liquid unloading stages of UGS, it is generally necessary to maintain a low bottom-hole flowing pressure (e.g., below 5.7 MPa) to sustain wellbore productivity. Conventional mechanical lifting technologies, which require a certain liquid column to operate, suffer from severely reduced system efficiency under such low-pressure conditions, and may even fail to start effectively [5]. These challenges highlight the urgent need for further investigation.
Regarding bottom-hole pressure (BHP) control, conventional technologies such as electrical submersible pumps (ESPs), progressing cavity pumps (PCPs), plunger lift, and gas-lift circulation exhibit certain limitations [6]. For instance, in deep wells, ESPs struggle to precisely regulate BHP in response to dynamic reservoir pressure changes due to motor performance constraints and pump design limitations, leading to suboptimal gas well productivity [7,8]. In highly deviated wells, PCP effectiveness in BHP control is compromised by issues like rod-tubing wear, adversely affecting drainage efficiency [9]. During plunger lift operation, the initiation and movement of the plunger are susceptible to gas interference, causing BHP fluctuations and hindering stable pressure control [10]. In complex reservoirs (e.g., high H2S content), gas-lift circulation faces significant challenges in regulating BHP due to the intricate nature of gas–liquid mixing and the lifting process. This complexity not only complicates pressure management but also risks casing corrosion, potentially jeopardizing long-term well integrity and stable production [11].
Furthermore, pump sticking caused by solid particles and scaling severely constrains the effectiveness of conventional liquid-unloading technologies. During dewatering and related operations in underground gas storage (UGS), the occurrence of formation sand production and solid impurities is almost unavoidable. Once these particulates enter the pump, they readily induce sticking, disrupt normal operation, and markedly reduce liquid removal efficiency [12]. Scaling issues are particularly pronounced under specific water quality conditions or when chemical-assisted recovery methods are applied. For example, in the Daqing Oilfield, severe scaling of progressing cavity pumps (PCPs) was reported during the implementation of alkaline–surfactant–polymer (ASP) flooding. Scaling resulted in the failure of interference fit between the stator and rotor, accelerated wear, and substantially shortened pump service life [13,14].
The pneumatic negative-pressure pump, as a motionless artificial lift technology, generates negative pressure through a specially designed nozzle—throat structure to accelerate gas flow [15]. This technology exhibits significant advantages in liquid unloading operations of underground gas storage (UGS) wells. First, it offers flexible energy utilization, as either wellhead associated gas or injection/withdrawal gas from the storage reservoir can serve as the driving fluid, making it particularly suitable for the middle to late stages of liquid unloading [16]. Second, its multi-tubing string design integrates both injection and production functions, thereby achieving production integration and eliminating the inherent bottom-hole backpressure of gas-lift circulation, which is especially favorable for severely liquid-loaded wells [17]. Third, by employing gas as the driving medium, the system fundamentally avoids the discontinuous pressure-killing issues commonly associated with hydraulic driving fluids, thereby improving operational continuity [18].
The pneumatic negative-pressure pump exhibits significant application potential in liquid-unloading operations of underground gas storage (UGS) wells. However, to achieve broader engineering deployment and practical application, several key technical challenges must still be addressed. Despite this potential, several key challenges hinder its broad engineering deployment.
The unique negative-pressure formation mechanism under multiphase flow conditions: Its generation principle fundamentally differs from that of hydraulic jet pumps, requiring systematic study. Conventional fluid-dynamic equations are based on single-phase flow assumptions, making standard multiphase flow models (e.g., Orkiszewski, Beggs, and Brill) difficult to apply to liquid-unloading wells handling gas–water–sand mixtures. Therefore, in-depth research on the negative-pressure formation mechanism under these specific multiphase conditions is necessary [19,20]. Unclear fluid transport behavior under low-pressure environments: Although lower pump inlet pressures favor the formation of effective negative pressure, the compressibility of the gas phase significantly increases under these conditions, complicating fluid transport behavior. Flow rules and operational experience derived from hydraulic jet pumps lack universality in this context. Laboratory experiments are required to verify the feasibility of this technology under low-pressure conditions [21,22]. Incomplete dynamic operational parameter adjustment strategies: During the middle-to-late stages of liquid production in unloading wells, daily liquid output is closely related to reservoir supply capacity, and operating conditions fluctuate dramatically. In addition, sand production from the formation dynamically changes with production pressure differentials [23]. Therefore, comprehensive field parameter adjustment methods and operational procedures for the pneumatic negative-pressure pump must be established to effectively respond to these dynamic conditions and guide on-site implementation.
At present, pneumatic negative-pressure pump technology has not yet achieved large-scale application in domestic underground gas storage (UGS) facilities and gas wells. PetroChina Coalbed Methane (CBM) Company Limited is the sole entity conducting field trials, primarily by substituting the power fluid in existing hydraulic jet pump systems. To identify optimal negative-pressure values and subsequently develop a novel structural design for this technology, the author independently established a laboratory testing flow loop for the gas-powered negative-pressure pump. Comprehensive experiments under various operating conditions were conducted, aiming to provide critical support for the broader implementation of this technology.
The novelty of this work lies in the dedicated development and systematic validation of a gas-powered negative-pressure pump specifically for UGS dewatering applications, distinguishing it from conventional hydraulic lift methods. This study introduces a novel structural optimization focused on the nozzle–throat assembly (achieving an optimal area ratio of 0.19) to maximize negative-pressure generation and liquid-unloading efficiency under high-water-cut and solid-particle conditions. Furthermore, it presents the first integrated experimental and field-based performance benchmark against traditional hydraulic jet pumps, demonstrating breakthrough improvements in start-up pressure reduction and pressure drawdown, thereby advancing artificial lift technology for challenging UGS environments.

2. Laboratory Experimental Equipment and Testing Procedure

2.1. Experimental Setup

The experimental system comprises two main components: a surface test bench and the gas-powered negative-pressure pump tubing string assembly.
This includes a nitrogen pumping unit, a tubing string clamping and support system, gas and liquid delivery pipelines with associated valves, pressure sensors installed at the inlet, a negative-pressure zone and outlet, and a gas-powered negative-pressure pump tubing string.
The nitrogen pumping unit delivers nitrogen gas at a stable flow rate ranging from 500 to 1200 m3/h. The output nitrogen pressure, regulated via a pressure regulator, is adjustable within the range of 0–10 MPa. The simulated wellbore section was filled with a liquid column. The volume of liquid discharged from the test water tank was measured to determine the pumped liquid volume.
The structure of the retrievable gas-powered negative-pressure pump operating in forward circulation mode with coaxial dual tubing is illustrated in Figure 1. Motive gas passing through the nozzle is transformed from a high-pressure, low-velocity fluid into a high-velocity stream. This high-velocity gas then enters the diffuser, where it is converted back to a low-velocity flow state. Within the pump, this gas thoroughly mixes with formation fluids, facilitating momentum exchange. This process generates a stable negative pressure zone. The produced fluids (formation fluids) are subsequently entrained by the motive gas and lifted to the surface via the tubing-casing annulus.
Compared to conventional hydraulic jet pumps, this gas-powered negative-pressure pump configuration offers the following distinct advantages.
High-capacity liquid unloading adaptability: The pump structure is particularly suited to the high liquid removal requirements of underground gas storage (UGS) wells, enabling it to effectively cope with large flow fluctuations and wellbore liquid accumulation caused by cyclic injection–production operations, thereby ensuring production stability during intensive liquid-unloading stages [24]. Reduced injection pressure and enhanced efficiency: Production does not require lifting the entire liquid column across the full wellbore interval. This allows the injection pressure to be reduced from 28 to 33 MPa at a well depth of 3000 m to below 15 MPa. This substantially increases lift efficiency and reduces surface energy consumption. Flexible well shut-in capability: The gas motive medium enables flexible well shut-in. This avoids the accumulation of power fluid downhole after shutdown—a common issue with hydraulic jet pumps that can lead to well flooding and difficult reactivation. Simplified surface facilities and reduced operating costs: The surface equipment is simplified from a plunger-pump–water-tank system to a compressor-gas supply line configuration. Production can be sustained by utilizing compressors from UGS injection–production wells, eliminating the maintenance costs of power fluid required by hydraulic jet pumps and further reducing surface engineering investment.
The structural diagram of the gas-powered negative pressure pump used in the laboratory experiment is shown in Figure 2.

2.2. Testing Procedure

This experiment utilized an integrated surface–wellbore process flow and real-time monitoring techniques to evaluate the performance of the gas-powered negative-pressure pump during liquid unloading in underground gas storage (UGS) operations and measured the magnitude of negative pressure generated by the pump. The core workflow of the overall test is described below.
In-system setup and instrumentation: The pump’s upper tubing string was securely clamped by the universal testing machine. The tubing elevator and its support base functioned as a temporary wellhead structure, providing fixation and wellhead simulation. A liquid level gauge was installed on the outlet water storage tank to continuously measure liquid discharge volume, enabling precise quantification of the pump’s liquid production capacity.
During operation, the nitrogen pumping unit supplied the motive medium. This gas was injected down the production tubing string to the simulated downhole section. Upon passing through the pump core and nozzle, the gas accelerated to form a high-velocity stream. After traversing the throat tube and diffuser, the gas decelerated back to a low-velocity state. The produced fluids were then entrained by this gas stream and lifted to the surface via the tubing-concentric tubing annulus. The injection pressure at the outlet of the nitrogen-pumping unit was measured by the inlet pressure sensor. Real-time pressure variations within the gas-powered negative-pressure pump (specifically at the suction zone) were transmitted to the surface and recorded via the negative-pressure zone pressure sensor. The discharge pressure of the pump assembly was transmitted and recorded by the outlet pressure sensor.
In summary, this test replicated the fundamental flow path of forward-circulation gas lift for liquid unloading and gas production (injection via the concentric tubing string, production via the annulus). It implemented real-time monitoring of key pressure points (injection inlet, pump discharge outlet, and pump suction inlet). This approach directly validated the core functionality of the gas-powered negative-pressure pump, generating significant negative pressure/low pressure at the suction inlet and efficiently lifting the surrounding reservoir fluids. Consequently, the test enabled a comprehensive evaluation of the lift technology’s effectiveness, capabilities, and operational characteristics.

3. Design of the Gas-Powered Negative-Pressure Pump Operating Regime

3.1. Working Calculation Formulae for the Gas-Powered Negative-Pressure Pump

The core working principle of the gas-powered negative-pressure pump is based on the critical velocity effect in gas dynamics and Bernoulli’s principle of energy conversion. The key parameter calculation models, validated through rigorous laboratory testing, are presented below.
(1)
Critical Flow Condition (Optimal Nozzle-to-Throat Ratio)
Achieving critical flow velocity (Mach number Ma = 1) at the throat tube is essential for generating efficient negative pressure. This condition requires the satisfaction of the following equation:
Nozzle-to-throat area ratio (AR):
A R = A h A t = ( d h d t ) 2 = 0.19
In the Equation, AR denotes the nozzle-to-throat area ratio, Ah is the nozzle cross-sectional area, At is the throat cross-sectional area, dh is the nozzle radius, and dt is the throat radius.
Under these conditions, the gas expansion rate reaches its maximum, resulting in optimal kinetic energy conversion efficiency.
(2)
Mathematical Model of Negative Pressure Generation
The negative-pressure-zone pressure and pump suction pressure are determined by the following factors:
Injection pressure (Pin), backpressure, and nozzle–throat geometry:
P suction = k 1 · P back + k 2 ( m g T ) · 1 A R + C
where Psuction represents the pump suction pressure; k1 is backpressure transmission coefficient (experimentally determined as 0.85); Pback denotes the backpressure; k2 is gas-property-dependent constants (calibrated via testing); mg is motive gas mass flow rate, kg/s; T is gas temperature, K; AR is nozzle-to-throat area ratio.
(3)
Minimum Effective Injection Pressure (Pin-min)
The minimum required injection pressure to sustain negative pressure is given by the following:
P in-min = 1.05 ( P suction + P back )
Pin-min refers to the minimum injection pressure.
If AR = 0.19, P back ≤ 0.5 MPa.
(4)
Pressure Drawdown Prediction (ΔP)
The negative pressure zone’s drawdown capability is calculated as follows:
Δ P = P formation P suction
ΔP represents the predicted pressure drawdown. Pformation denotes the formation pressure.
(5)
Rated Operating Parameter Chart
Based on the working principle and experimental data of the gas-powered negative-pressure pump, the rated operating parameter chart is plotted. The relationship between injection pressure and negative-pressure-zone pressure under different trunk-line backpressures is shown in Figure 3. This chart can be used to guide the effectiveness of artificial lift.

3.2. Dual-Parameter Coordinated Control Mechanism

To address the characteristics of large liquid production fluctuations and dynamic reservoir gas variations during liquid unloading in UGS wells, this study proposes a field-operable “dual-parameter coordinated control mechanism”. The theoretical basis is the suction pressure calculation model described by Equation (2).
In this model, accurate definition and calibration of the empirical coefficients k1 (backpressure transmission coefficient) and k2 (gas-property-dependent constant) are crucial. The coefficient k1 quantitatively characterizes the suppressing effect of wellhead backpressure on the negative-pressure zone at the throat. Its value (~0.85) was calibrated under both single-phase gas and gas–liquid two-phase conditions using the present experimental system, indicating that variations in backpressure directly and significantly affect the pump’s suction capacity. The coefficient k2 is introduced to correct the expansion work efficiency of real-process gas (relative to an ideal gas) when flowing through the nozzle–throat section. It was calibrated based on the natural gas composition from the Liaohe UGS facility and the experimentally measured flowrate–pressure differential data.
It should be noted that the current model primarily applies to gas–liquid two-phase flow, where the liquid phase is treated as a continuous medium and the gas phase serves as the driving source. For gas–liquid–solid three-phase flow, the influence of solid particles on k1 and k2 has not yet been fully quantified; this effect is currently compensated in practice by introducing additional safety margins (e.g., higher gas injection rates).
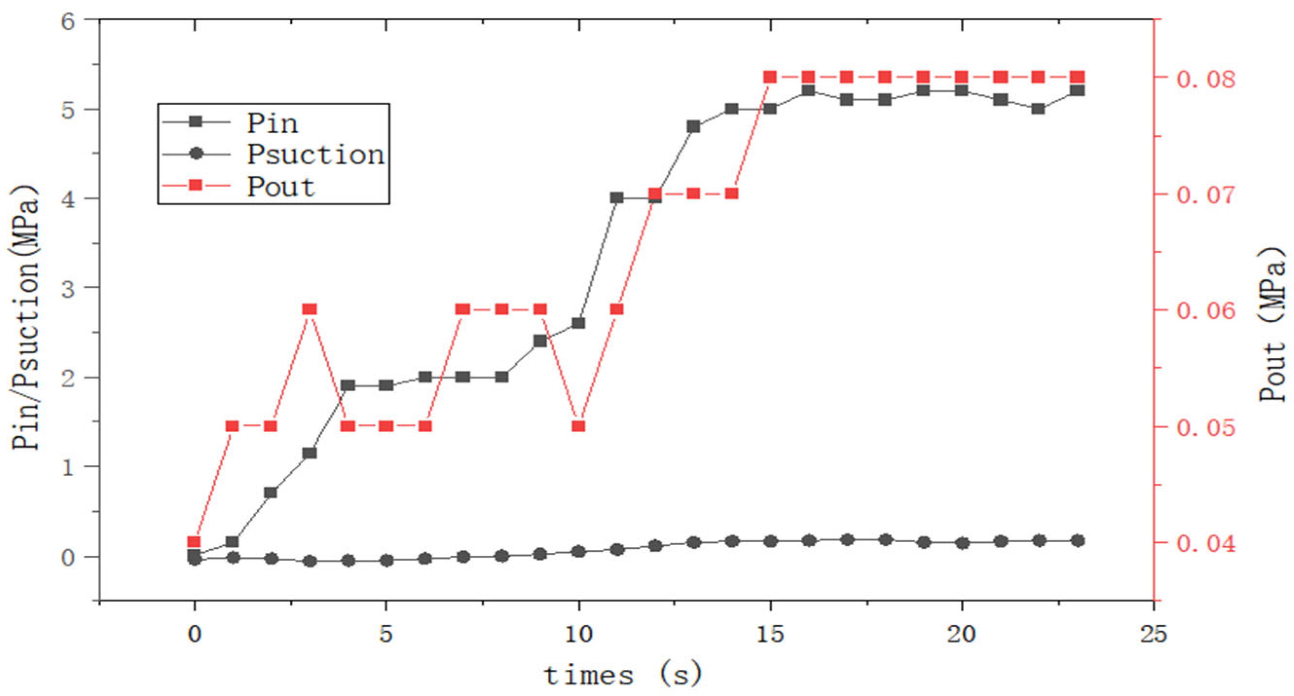
  • Injection pressure as the main control variable: Under the optimal nozzle-to-throat ratio (AR = 0.19), an injection pressure range of 4–6 MPa can maintain a negative-pressure-zone pressure of 1.2–1.8 MPa (Figure 4), covering the flowing pressure target (<5.7 MPa) for most coal-measure gas wells. When liquid production surges, increasing injection pressure can quickly restore an effective production pressure differential (ΔP > 0.1 MPa).
  • Backpressure as the constraint variable: The high sensitivity of negative-pressure-zone pressure to backpressure (slope close to 0.85) imposes new requirements on surface gathering systems. It is necessary to minimize surface backpressure as much as possible to ensure efficient lifting performance of the gas-powered negative-pressure pump. Field implementation should use low-pressure export pipelines and install automatic pressure-regulating valves to maintain low trunk-line backpressure.
  • Sand production concentration early-warning linkage: When sand production is detected, the gas injection rate should be increased by 10–15% to enhance solid transport capacity and prevent nozzle blockage and particle accumulation in the throat. This threshold-based hierarchical control can significantly reduce the rate of unplanned well shutdowns. This operational strategy indirectly addresses the current model’s limited consideration of solid-phase carrying capacity. Its effectiveness was preliminarily verified by observing variations in the solid content of the produced liquid at the surface. Further in situ phase-state observation and particle-transport modeling will be the focus of future research.

4. Test Results Analysis

4.1. Analysis of Gas-Powered Negative-Pressure Pump Test Results

By adjusting different injection pressures, the variation pattern of negative-pressure-zone working pressure with nitrogen injection pressure was simulated. Figure 4 shows that the negative-pressure-zone working pressure increases with increasing injection pressure. When the injection pressure is below 2 MPa, the negative-pressure-zone pressure ranges from −0.05 to −0.01 MPa, indicating negative pressure formation at the pump end. As the injection pressure increases to 5–6 MPa, the pump suction pressure rises to 0.17 MPa. These results demonstrate a positive correlation between injection pressure and pump suction pressure under identical operating conditions, confirming the existence of a stable low-pressure zone at the pump suction inlet.

4.2. Influence of Trunk-Line Backpressure

By adjusting different pressure-regulating valve openings, various pipeline backpressures were simulated during actual production to verify the negative pressure zone performance of the gas-powered negative-pressure pump.
As shown in Figure 5, under a fixed nozzle–throat configuration, with a constant gas injection rate, it is 900 m3/h, and with a stable injection pressure, 9.0 MPa.
The system pressure between wellbore and surface outlet increases with rising trunk-line backpressure, while the negative-pressure-zone pressure of the pump shows an increasing trend. Data fitting reveals an approximately linear positive correlation (slope ≈ 0.85) between stable negative-zone pressure and trunk-line backpressure.
When trunk-line backpressure increases from 0.01 MPa to 2.5 MPa, negative zone pressure rises from 0.3 MPa to 2.5 MPa.
This demonstrates that surface system resistance can be directly transmitted to the downhole negative pressure zone, significantly compromising the negative pressure effect.
Furthermore, comparative tests show that when the negative-pressure pump structure is removed (no nozzle–throat assembly) while keeping other experimental conditions unchanged (injection pressure 9.0 MPa, injection volume 900 m3/h), with the injection pressure stabilized at 9.0 MPa, the tubing shoe pressure calculated using two-phase flow theory is approximately 8.95 MPa. In contrast, the stable negative-pressure-zone pressure in the test remains at 0.1–2.5 MPa, proving that under these operating conditions, the gas-powered negative-pressure pump can achieve effective downhole pressure reduction (pressure reduction range 6–8 MPa). This is crucial for maintaining low bottom-hole flowing pressure of gas storage drainage wells and for achieving efficient drainage and capacity expansion.

4.3. Influence Patterns of Different Nozzle–Throat Configurations

Under a stable trunk-line backpressure of 0.1 MPa, four nozzle-to-throat area ratios (AR = nozzle cross-sectional area/throat cross-sectional area) were compared by optimizing different nozzle/throat size combinations to verify the working pressure effect of the gas-powered negative-pressure pump.
As shown in Figure 6, under the same gas injection volume and when the injection pressure ≥ 4 MPa, the AR = 0.19 combination achieved the lowest and most stable negative-pressure-zone pressure (e.g., at 6 MPa injection pressure, the stable negative zone pressure was 0.18 MPa). At this ratio, the gas reaches critical velocity at the throat, achieving maximum energy conversion efficiency.
When the injection pressure < 2 MPa, all AR combinations showed similar negative zone pressures (0.01–0.04 MPa) with insignificant differences, indicating that AR’s influence on negative-pressure generation diminishes during ultra-low-pressure startup, where gas compressibility becomes the dominant flow factor.
For injection pressures > 2 MPa, the AR = 0.19 configuration demonstrated an increased pressure rise slope in the negative zone, revealing an optimal injection pressure window (4–6 MPa) where gas velocity becomes the core flow determinant. Beyond this range, diminishing returns occur due to increased friction losses, causing the negative zone pressure to stabilize or rise slowly.

4.4. Applicability Evaluation of Gas-Powered Negative-Pressure Pump

This study systematically verified the technical feasibility of the gas-powered negative-pressure pump under low-pressure desorption conditions in coal-measure gas wells through multi-condition simulations. The core advantage of the gas-powered negative-pressure pump lies in utilizing gas dynamics principles to achieve active downhole pressure reduction, demonstrating significantly greater pressure drawdown compared to conventional lift methods such as rod pumps. It provides clear guidance for addressing the dual challenges of large flow fluctuations caused by periodic injection–production and liquid accumulation in the wellbore.
Based on the experimental results compared with conventional hydraulic jet pumps, the gas-powered negative-pressure pump exhibits the following technical advantages. There is an 87% reduction in effective injection pressure, and a >50% improvement in negative-pressure-zone drawdown, as shown in Table 1.
Unlike conventional hydraulic jet pumps that rely on incompressible fluids, the negative pressure in gas-powered negative-pressure pumps originates from the critical expansion effect (Mach number >1) of high-speed gas at the throat and the kinetic-to-pressure energy conversion in the diffuser. The linear backpressure transmission effect and critical pressure difference threshold (ΔP > 0.05 MPa) observed in the low-pressure zone confirm the significant boundary layer effect in energy transfer of compressible gas in multiphase flow. This explains the low calculation accuracy of traditional liquid-dominated multiphase flow models (Orkiszewski, Beggs, and Brill) in this scenario, where these conventional models fail to account for the amplification effect of gas-phase velocity-momentum conversion on energy dissipation. At present, this study has not yet carried out relevant modeling research on gas–liquid–solid multiphase flow with sand under actual production conditions. Therefore, future work should focus on developing new negative-pressure prediction models and coupling with gas–solid equations, with particular emphasis on analyzing the inhibitory effect of sand particles of different sizes on the critical velocity.
The technological breakthrough of the gas-powered negative-pressure pump lies in its simultaneous resolution of two critical bottlenecks—energy consumption and scaling—through medium substitution and structural innovation.
(1)
Energy consumption: Tests measured a significant reduction in effective injection pressure. The essence is that the compressibility of the gas medium reduces the initial energy required to break through the liquid column, lowering the startup pressure from >15 MPa for hydraulic pumps to 2 MPa (Figure 4), which is crucial for sustained drainage in low-pressure wells.
(2)
The design without moving parts eliminates solid-phase blockage. By dynamically adjusting the injection pressure and gas volume (increasing the pressure to 6 MPa during sudden liquid surges and increasing the gas volume by 10–15% when sand content is greater than 5%), it can cope with fluctuating conditions. Preliminary calculations show that after eliminating the initial investment and energy consumption associated with the large-scale surface hydraulic system, directly utilizing process gas from UGS injection–production operations as the power source can significantly reduce surface energy consumption and operating costs by more than 40%.
(3)
Compared with rod pump systems, although its lifting capacity (head) is lower than that of rod pump systems, the characteristic of having no moving parts in the dynamic pump completely eliminates the risk of pump sticking and blockage. Its capability to reduce bottomhole flowing pressure is far superior to that of rod pumps, making it more suitable for the production environment of gas storage reservoir drainage wells.
Based on this study, the application limitations of the gas-powered negative-pressure pump technology have been further clarified. When the injection rate exceeds 1200 m3/h (approximately 4000 m3/d), the gas velocity at the throat approaches the speed of sound (340 m/s under standard temperature and pressure), and friction becomes the dominant factor [25], resulting in a sharp decline of more than 20% in negative pressure efficiency. Therefore, this pump is suitable for medium- and low-gas-injection lift environments (<20,000 m3/d). For single-well applications of this technology, when the wellhead pressure is below 1.5 MPa and the gas volume is less than 200 m3/h, the natural gas of the well itself cannot sustain the circulation of the gas-powered negative-pressure pump process, and external gas compression must be relied upon, which increases marginal costs. Therefore, it is recommended to prioritize the deployment of this technology in platform well groups.

4.5. Field Test Application Situation

To achieve the purpose of liquid production, the gas-powered negative-pressure pump process was applied for the first time in well A-1 in a single-tube reverse-circulation liquid-unloading field test. After the drainage phase, the gas-powered negative-pressure pump’s downhole pressure gauge measured a pressure of 3.29 MPa; the production rate of well A-1 and the pressure in the low-pressure zone are shown in Figure 7 and Figure 8. Compared to mechanical production, this achieved a 3.78 MPa reduction in bottomhole flowing pressure (rod-pump lifting casing pressure: 2.4 MPa, measured fluid level: 1891 m, calculated bottomhole flowing pressure: 7.07 MPa). Compared to the average bottomhole flowing pressure of 5.33 MPa during gas-lift circulation, this represents a 1.31 MPa reduction, with the tubing string maintaining good sealing integrity and not creating backpressure on the reservoir formation.
A comparison of field application results between this technology and gas-lift circulation shows that the gas-powered negative-pressure pump can further reduce bottomhole flowing pressure, creating a stable pressure drawdown funnel to accelerate coal-measure gas desorption and production, as illustrated in Figure 9. Under operating conditions with a wellhead pressure of 2.86 MPa, a gas injection rate of 20,092 m3/d, and a formation liquid production of 8.33 m3/d, the gas-lift circulation process yielded a bottomhole flowing pressure of 5.33 MPa with an injection pressure of 4.78 MPa. Under the same parameters, the gas-powered negative-pressure pump reduced the bottomhole flowing pressure to 3.29 MPa due to its negative-pressure suction effect, representing a 1.31 MPa decrease compared to gas-lift circulation.
By adjusting parameters such as valve opening and injection pressure to monitor changes, it was found that the direct factor affecting the low-pressure zone pressure is backpressure (lifting pressure loss and gathering system backpressure). The factors influencing the low-pressure zone pressure are shown in Figure 10. When the gas velocity downstream of the nozzle reaches its maximum value, the low-pressure zone pressure becomes independent of injection pressure and gas volume. The influencing factors and corresponding mechanisms affecting the low-pressure zone pressure are summarized in Table 2.
Based on the comprehensive laboratory and field test results, the gas-powered negative-pressure pump can create a negative-low pressure zone downstream of the nozzle outlet. High-pressure gas accelerates through the converging nozzle, and expands and diffuses at the throat of the mixing chamber, causing a sudden static pressure drop. The entrained gas is drawn into the low-pressure zone, mixes with the driving gas, and is then transported through the diffuser to the wellbore-surface system. The low-pressure zone pressure is primarily influenced by the nozzle-to-throat ratio, backpressure, injection pressure, and gas injection rate. Based on the laboratory test results, to maintain optimal low-pressure zone performance during production, it is recommended to maintain stable injection pressure (5–8 MPa) and low backpressure operation.

5. Discussions

5.1. Mechanistic Analysis of Laboratory–Field Performance Differences

One of the key findings of this study is the noticeable performance gradient of the gas-powered negative-pressure pump (NPP) between laboratory and field conditions. While the laboratory tests achieved a pressure drawdown exceeding 6 MPa, the field trial showed an enhancement of about 1.31 MPa. This discrepancy mainly results from differences in system boundary conditions and fluid properties.
First, the flow system openness differs. The laboratory loop is a closed and stable system, whereas the field reservoir is a vast porous medium with a dynamically changing background pressure. The relatively lower supply capacity of the formation limits the maximum achievable drawdown.
Second, the driving gas composition affects performance. Pure nitrogen used in the laboratory exhibits stable physical properties, while the field employs multi-component process gas from UGS operations. Variations in gas compressibility, density, and interaction with formation water lead to differences in jet energy conversion efficiency within the nozzle–throat assembly.
Finally, the complexity of multiphase flow in the wellbore amplifies the effect. Laboratory devices cannot fully replicate the complex flow regimes (e.g., slug flow) and the additional frictional losses occurring in thousands of meters of wellbore. These long-distance effects consume part of the negative pressure energy, resulting in lower measured performance under field conditions.

5.2. Model Simplification and Technical Limitations

The compressible single-phase gas model and empirical coefficients (k1 and k2) used in this study represent necessary simplifications of gas–liquid–solid multiphase flow. Although practical for engineering applications, the limitations should be acknowledged. The current model applies mainly to scenarios where gas is the driving phase and liquid is the continuous phase. Under extreme conditions—such as sand content exceeding 3% or salinity significantly higher than the experimental range—the influence of solid particles and fluid properties on k1 and k2 remains insufficiently quantified, potentially reducing predictive accuracy.
Additionally, the field performance evaluation relies on surface-liquid output data, lacking direct observation of downhole flow regimes and phase separation, which introduces uncertainties in verifying multiphase flow mechanisms. Therefore, caution should be exercised when extrapolating these findings to reservoirs with different geological or fluid conditions.

5.3. Applicability Boundaries, Operation Strategy, and Economic Potential

The design without moving parts eliminates solid-phase blockage issues. By dynamically adjusting the injection pressure and gas volume (increasing the pressure to 6 MPa during sudden liquid surges, and increasing the gas volume by 10–15% when sand content exceeds 5%), the system can effectively respond to fluctuating liquid production and sand-carrying conditions.
Preliminary calculations indicate that after eliminating the initial investment and energy consumption associated with large-scale surface hydraulic systems, directly utilizing process gas from UGS injection–production operations as the power source can significantly reduce surface energy consumption and operating costs by more than 40%.
The performance data and sensitivity analysis further define the applicable range of the technology. The optimal deployment scenario is medium- to low-production wells supplied by a stable high-pressure gas source (such as platform-based centralized gas supply). Nevertheless, large-scale and long-term field applications are still required to validate the full-cycle economic benefits and adaptiveness to other geological settings, such as Sichuan or Yan’an gas fields.

6. Conclusions

This study systematically evaluated the performance of a gas-powered negative-pressure pump (NPP) for liquid unloading in underground gas storage (UGS) wells through laboratory experiments and field testing. The main conclusions are as follows.
Structural optimization enables performance breakthroughs: The optimized nozzle–throat structure with an area ratio of AR = 0.19 reduces start-up pressure to 2.0 MPa—87% lower than that of conventional hydraulic jet pumps—and achieves a pressure drawdown exceeding 6 MPa, marking a 50% improvement. This provides an effective means for low-pressure production during UGS dewatering. Compared with conventional processes, the design without moving parts effectively addresses potential solid-particle blockage issues in UGS wells. By dynamically adjusting the injection pressure and gas volume (increasing the pressure to 6 MPa during liquid fluctuations and increasing gas volume by 10–15% when solid impurity content is high), it can flexibly accommodate alternating injection–production operations and large fluctuations in liquid unloading. Directly utilizing process gas from UGS injection–production as the power source significantly reduces surface energy consumption and operating costs by more than 40%.
A dual-parameter coordinated control mechanism is established: Injection pressure and backpressure are identified as key control parameters. Under optimal configuration, an injection pressure of 4–6 MPa maintains efficient performance. However, due to high sensitivity to backpressure (transmission slope = 0.85), it must be controlled below 1.5 MPa, imposing specific requirements on surface gathering systems.
Technical advantages and dynamic regulation strategy are demonstrated: The moving-part-free design inherently prevents solid-phase blockage. Through adaptive control—raising injection pressure during liquid surges and increasing gas flow when sand concentration rises—the NPP flexibly accommodates production fluctuations and sand risks, aligning with alternating injection–production cycles in UGS operations.
Applicable scenarios and economic potential are clarified: The technology is most suitable for medium-to-low-yield gas wells (<20,000 m3/d) and coal-bearing gas wells with sand concentrations above 3%. Platform-based centralized gas supply (pressure ≥ 1.5 MPa, flow > 200 m3/h) is recommended to avoid additional compression costs. The preliminary analysis indicates potential surface energy savings exceeding 40%, highlighting its promising economic feasibility.
In summary, the gas-powered negative-pressure pump offers a novel and efficient artificial lift solution for UGS and similar gas wells facing liquid-loading challenges. Its successful application relies on structural optimization, precise operational control, and suitable gas supply conditions, laying a foundation for advancing gas-driven artificial lift technologies in complex production environments.

Author Contributions

Conceptualization, G.W. (Gang Wang); Methodology, G.W. (Guoyu Wang); Validation, N.N.; Investigation, H.H.; Data curation, P.L. and Y.L.; Writing—original draft, X.M.; Writing—review & editing, X.D.; Supervision, M.L.; Project administration, B.L. and R.H. All authors have read and agreed to the published version of the manuscript.

Funding

This work was supported by CNPC-CZU Innovation Alliance, and Changzhou Science and Technology Project (No. CJ20240041).

Institutional Review Board Statement

Not applicable.

Informed Consent Statement

Not applicable.

Data Availability Statement

The original contributions presented in the study are included in the article, further inquiries can be directed to the corresponding author.

Conflicts of Interest

Author Haiyang He was employed by the company Hunan CNNC Exploration Co., Ltd. The remaining authors declare that the research was conducted in the absence of any commercial or financial relationships that could be construed as a potential conflict of interest.

References

  1. Alzeyoudi, M.; Alsaeedi, A.; Albadi, M.; AL Dhanhani, H.; Alharethi, F.; Alameri, N.; Alameri, N.; Alshamsi, A.; Ahmad, M.; Alhammadi, S.; et al. Fueling the Future: Piloting Gas Storage Project to Secure Self-Sufficiency and Strategic Energy Resilience. In Proceedings of the Abu Dhabi International Petroleum Exhibition and Conference, Abu Dhabi, United Arab Emirates, 4–7 November 2024. [Google Scholar] [CrossRef]
  2. Baird, J.L. Clay Basin Storage Project-Development of a Nearly Depleted Gas Reservoir to Gas Storage. In Proceedings of the SPE Rocky Mountain Regional Meeting, Cody, Wyoming, 17–19 May 1978. [Google Scholar] [CrossRef]
  3. Jiang, H.; Yu, H.; Mao, C.; Tang, Z.; Li, L.; Ofi, A.; Burns, C.; Wang, Y.; Wen, T.; Gui, F.; et al. The Practice and Effect of Underground Gas Storage Expanding the Range of Operation Pressure Beyond the Original Reservoir Pressure to Increase Gas Storage Capacity. In Proceedings of the SPE Europe Energy Conference and Exhibition, Turin, Italy, 26–28 June 2024. [Google Scholar] [CrossRef]
  4. Yuan, G.; Wang, Q.; Shen, R.; Yuan, J.; Lu, L.; Chunmao, W. String Corrosion and String Protection During Constructing and Operating Gas Storage Facility in Bedded Salt Deposit. SPE Prod. Oper. 2008, 23, 63–67. [Google Scholar] [CrossRef]
  5. Bai, L.; Zhou, W.; Li, K.; Xu, H.; Li, Z.; Nie, X.; Lian, L.; Yang, X. Microscopic Simulation Experiment for the High-Efficiency Construction of Underground Gas Storage. In Proceedings of the Abu Dhabi International Petroleum Exhibition and Conference, Abu Dhabi, United Arab Emirates, 4–7 November 2024. [Google Scholar] [CrossRef]
  6. Alwazeer, A.; Shaqsi, K.; Habsi, A.; Busaidi, A.; Salhi, K.; Balushi, M.; Hinai, A.; Husaini, H.; Putra, P.; Hilali, A.; et al. Reassessing Artificial Lift Selection in a Challenging Thermal Field. In Proceedings of the SPE Conference at Oman Petroleum & Energy Show, Muscat, Oman, 9–11 March 2020. [Google Scholar]
  7. Huang, S.; Hao, Z.; Fan, B.; Ming, E. Application of new electrical submersible progressive cavity pump technology in drainage gas recovery of coalbed methane wells. In Proceedings of the International Field Exploration and Development Conference; Springer Nature: Singapore, 2022; pp. 6749–6761. [Google Scholar]
  8. Nuernbergk, D.M.; Lashofer, A. Scaling Rules for Hydropower Screws. Wasserwirtschaft 2016, 106, 25–31. [Google Scholar] [CrossRef]
  9. Yang, P.; Changqing, Y.; Fengjing, S. Drainage gas recovery technology based on canned ESP system of high-sulfur gaswells. Nat. Gas Ind. 2018, 38, 67–73. [Google Scholar]
  10. Liu, B. Exploration on the Development and Countermeasures of Water Pumping and Gas Production Technology in Sulige Gas Field. Manag. Technol. SME 2018, 2, 165–166. [Google Scholar]
  11. Liu, S.G.; Hu, A.M.; Song, B.; Li, H.F. Coal powder concentration warning and control measure during CBM well drainage. J. China Coal Soc. 2012, 37, 86–90. [Google Scholar] [CrossRef]
  12. Ma, L.; Dong, J.; Wang, J.; Zhang, Y.; Li, G.; Li, J. Sand Production Prediction of Depleted-Reservoir Underground Gas Storage—An Experimental Study. In Proceedings of the 56th U.S. Rock Mechanics/Geomechanics Symposium, Santa Fe, NM, USA, 26–29 June 2022. [Google Scholar] [CrossRef]
  13. Zhang, W.; Zhang, J.; Wang, Z.; Sun, R.; Yu, S.; Yang, Z. Flow regulation and bottom hole pressure control under gas influx condition based on RMR system. J. Phys. Conf. Ser. 2022, 2280, 012050. [Google Scholar] [CrossRef]
  14. Yin, Q.; Liu, F.; He, J.; Gao, Q. Study and Application of Plunger Gas Lift for Water Drainage and Gas Recovery Technology. China Pet. Mach. 2018, 46, 6. [Google Scholar] [CrossRef]
  15. Yang, S.; Zhang, L.; Yang, T.; Zhao, S. Study on Mechanical Analysis of Pump Diaphragm. Mech. Engineer 2014, 92–95. [Google Scholar]
  16. Gao, G.; Chang, C.; Wang, C.; Li, Y.; Jin, J. Stress State Change and Fault-Slip Tendency Assessment Associated with Gas Injection and Extraction in the Hutubi (China) Underground Gas Storage. SPE J. 2023, 28, 446–461. [Google Scholar] [CrossRef]
  17. Ramos, M.; Khalifah, M.; Almilad, R.; Mishkhes, A. Optimization of Oil Production Through Advanced Gas Lift Technology. In Proceedings of the SPE Artificial Lift Conference and Exhibition—Americas, The Woodlands, TX, USA, 20–22 August 2024. [Google Scholar] [CrossRef]
  18. Hatzlavramidis, D.T. Modeling and Design of Jet Pumps. SPE Prod. Eng. 1991, 6, 413–419. [Google Scholar] [CrossRef]
  19. Anderson, J.; Freeman, R.; Pugh, T. Hydraulic Jet Pumps Prove Ideally Suited for Remote Canadian Oil Field. In Proceedings of the SPE Production Operations Symposium, Oklahoma City, OK, USA, 16–19 April 2005. [Google Scholar] [CrossRef]
  20. Jiao, B.; Blais, R.N.; Schmidt, Z. Efficiency and Pressure Recovery in Hydraulic Jet Pumping of Two-Phase Gas/Liquid Mixtures. SPE Prod. Eng. 1990, 5, 361–364. [Google Scholar] [CrossRef]
  21. Park, C.; Doh, M.; Ha, Y.; Coutinho, A.; Luong, A.T.; Choi, I.; Choi, H.R.; Koo, J.C.; Rodrigue, H.; Moon, H. Simultaneous positive and negative pressure control using disturbance observer compensating coupled disturbance dynamics. IEEE Robot. Autom. Lett. 2022, 7, 5763–5770. [Google Scholar] [CrossRef]
  22. Yaoguang, Q.I.; Bing, L.; Fenna, Z. Study of coal particles vacuuming cleanout jet pump in coalbed methane wells. Zhongguo Kuangye Daxue Xuebao/J. China Univ. Min. Technol. 2014, 43, 72–78. [Google Scholar]
  23. Ni, X.; Niu, R.; Wang, B.; Lv, R. An experimental study of the optimal drainage working system in the single-phase gas flowing stage of coalbed methane wells. Pet. Sci. Technol. 2022, 40, 1535–1550. [Google Scholar] [CrossRef]
  24. Hutlas, E.J.; Granberry, W.R. A Practical Approach to Removing Gas Well Liquids. J. Pet. Technol. 1972, 24, 916–922. [Google Scholar] [CrossRef]
  25. Jiang, T.; Huang, Z.; Li, J. Large-eddy simulation of flow characteristics near the wall of cone-straight nozzle. Pet. Sci. Bull. 2022, 7, 420–428. [Google Scholar] [CrossRef]
Figure 1. Schematic diagram of the basic structure of the gas-powered negative-pressure pump. 1-Motive Gas Source; 2-Work Barrel (Pump Housing); 3-Casing; 4-Nozzle; 5-Mixing Chamber; 6-Throat Tube; 7-Diffuser; 8-Mixed Fluid (in Tubing); 9-Packer; 10-Formation Fluids.
Figure 1. Schematic diagram of the basic structure of the gas-powered negative-pressure pump. 1-Motive Gas Source; 2-Work Barrel (Pump Housing); 3-Casing; 4-Nozzle; 5-Mixing Chamber; 6-Throat Tube; 7-Diffuser; 8-Mixed Fluid (in Tubing); 9-Packer; 10-Formation Fluids.
Applsci 15 11366 g001
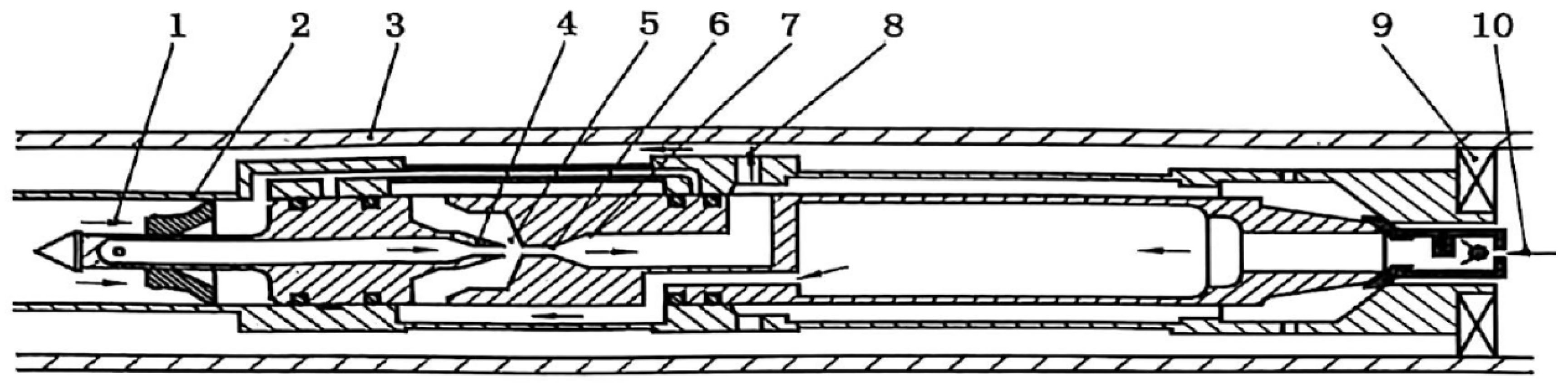
Figure 2. Schematic diagram of the laboratory test flow loop for the gas-powered negative-pressure pump. 1-Nitrogen Pumping Unit; 2-Clamping Position (Universal Testing Machine); 3-Pressure Sensor (Inlet); 4-Pressure Sensor (Negative-Pressure Zone); 5-Pressure Sensor (Outlet); 6-Φ48.3 mm Production Tubing; 7-Tubing Elevator; 8-Elevator Support Base; 9-Φ73.0 mm Production Tubing; 10-Cross-Over Sub; 11-Pump Core Assembly; 12-Pump Housing (Work Barrel); 13-Coupling; 14-Screen Pipe/Screen Section; 15-Pipe Plug (Bottom-Hole Assembly); 16-Water Storage Tank.
Figure 2. Schematic diagram of the laboratory test flow loop for the gas-powered negative-pressure pump. 1-Nitrogen Pumping Unit; 2-Clamping Position (Universal Testing Machine); 3-Pressure Sensor (Inlet); 4-Pressure Sensor (Negative-Pressure Zone); 5-Pressure Sensor (Outlet); 6-Φ48.3 mm Production Tubing; 7-Tubing Elevator; 8-Elevator Support Base; 9-Φ73.0 mm Production Tubing; 10-Cross-Over Sub; 11-Pump Core Assembly; 12-Pump Housing (Work Barrel); 13-Coupling; 14-Screen Pipe/Screen Section; 15-Pipe Plug (Bottom-Hole Assembly); 16-Water Storage Tank.
Applsci 15 11366 g002
Figure 3. Operating performance chart of injection pressure versus negative-pressure-zone pressure for the gas-powered negative-pressure pump.
Figure 3. Operating performance chart of injection pressure versus negative-pressure-zone pressure for the gas-powered negative-pressure pump.
Applsci 15 11366 g003
Figure 4. Variation of negative-pressure-zone pressure under different injection pressure conditions.
Figure 4. Variation of negative-pressure-zone pressure under different injection pressure conditions.
Applsci 15 11366 g004
Figure 5. Influence of different backpressures.
Figure 5. Influence of different backpressures.
Applsci 15 11366 g005
Figure 6. Effects of different nozzle-to-throat ratios.
Figure 6. Effects of different nozzle-to-throat ratios.
Applsci 15 11366 g006
Figure 7. Production curve of the gas-powered negative-pressure pump for well A-1.
Figure 7. Production curve of the gas-powered negative-pressure pump for well A-1.
Applsci 15 11366 g007
Figure 8. The pressure-monitoring situation of the pneumatic negative-pressure pump underground.
Figure 8. The pressure-monitoring situation of the pneumatic negative-pressure pump underground.
Applsci 15 11366 g008
Figure 9. Comparison between negative-pressure pump process and circulating air-lift process.
Figure 9. Comparison between negative-pressure pump process and circulating air-lift process.
Applsci 15 11366 g009
Figure 10. Shows the bottomhole pressure influence curve of the aerodynamic negative-pressure pump.
Figure 10. Shows the bottomhole pressure influence curve of the aerodynamic negative-pressure pump.
Applsci 15 11366 g010
Table 1. Performance comparison between gas-powered negative-pressure pump and conventional hydraulic jet pump.
Table 1. Performance comparison between gas-powered negative-pressure pump and conventional hydraulic jet pump.
Performance IndicatorsGas-Powered Negative-Pressure PumpConventional Hydraulic Jet PumpAdvantages
Minimum Effective Injection Pressure (MPa)2.0 MPa>15 MPa87% reduction
Pressure Drawdown in Negative-Pressure Zone (MPa)>6 MPa3–4 MPa50–100% improvement
Table 2. Influencing factors of pressure in low-pressure areas.
Table 2. Influencing factors of pressure in low-pressure areas.
No.Influencing FactorEffect on Low-Pressure Zone PressureReason
1Nozzle-to-throat ratioDecreases as the ratio decreasesA lower ratio increases nozzle velocity, enhancing negative pressure effect but reducing drainage efficiency
2Backpressure (pressure loss, gathering pressure, etc.)Increases as backpressure risesHigher backpressure transmits reversely to the low-pressure zone, increasing its pressure and limiting lifting effectiveness
3Injection pressureIncreases with rising pressure, stabilizes after reaching critical valueHigher pressure increases velocity, strengthening negative pressure but also raising mixed fluid density in the chamber; with post-critical velocity, pressure stabilizes
4Injection gas volumeDecreases with higher volume, stabilizes post-critical valueVolume directly reflects nozzle velocity—more gas lowers pressure; with post-critical velocity, pressure stabilizes
Disclaimer/Publisher’s Note: The statements, opinions and data contained in all publications are solely those of the individual author(s) and contributor(s) and not of MDPI and/or the editor(s). MDPI and/or the editor(s) disclaim responsibility for any injury to people or property resulting from any ideas, methods, instructions or products referred to in the content.

Share and Cite

MDPI and ACS Style

Leng, B.; Meng, X.; Liu, M.; Hao, R.; Wang, G.; Wang, G.; Luo, P.; Dou, X.; He, H.; Li, Y.; et al. Gas-Powered Negative-Pressure Pump for Liquid Unloading in Underground Gas Storage. Appl. Sci. 2025, 15, 11366. https://doi.org/10.3390/app152111366

AMA Style

Leng B, Meng X, Liu M, Hao R, Wang G, Wang G, Luo P, Dou X, He H, Li Y, et al. Gas-Powered Negative-Pressure Pump for Liquid Unloading in Underground Gas Storage. Applied Sciences. 2025; 15(21):11366. https://doi.org/10.3390/app152111366

Chicago/Turabian Style

Leng, Bing, Xiangyu Meng, Mingtao Liu, Ruihui Hao, Guoyu Wang, Gang Wang, Pengfei Luo, Xiangji Dou, Haiyang He, Yiming Li, and et al. 2025. "Gas-Powered Negative-Pressure Pump for Liquid Unloading in Underground Gas Storage" Applied Sciences 15, no. 21: 11366. https://doi.org/10.3390/app152111366

APA Style

Leng, B., Meng, X., Liu, M., Hao, R., Wang, G., Wang, G., Luo, P., Dou, X., He, H., Li, Y., & Ni, N. (2025). Gas-Powered Negative-Pressure Pump for Liquid Unloading in Underground Gas Storage. Applied Sciences, 15(21), 11366. https://doi.org/10.3390/app152111366

Note that from the first issue of 2016, this journal uses article numbers instead of page numbers. See further details here.

Article Metrics

Back to TopTop