Next Article in Journal
Unconventional Material from In Vitro Plant Cell Cultures: Vitis labrusca var. Isabella Case Study
Next Article in Special Issue
Machine Tools, Advanced Manufacturing, and Precision Manufacturing
Previous Article in Journal
Big Data Capabilities as Strategic Assets: Enterprise Value Creation Mechanisms in 33 Studies
Previous Article in Special Issue
Simulation-Based Optimization of Material Supply in Automotive Production Using RTLS Data
 
 
Font Type:
Arial Georgia Verdana
Font Size:
Aa Aa Aa
Line Spacing:
Column Width:
Background:
Communication

A Machine Tool for Boring of the Diesel Engine Block Counterbore

by
Jaroslaw Galkiewicz
* and
Urszula Janus-Galkiewicz
Faculty of Mechatronics and Mechanical Engineering, Kielce University of Technology, Aleja Tysiaclecia Panstwa Polskiego 7, 25-314 Kielce, Poland
*
Author to whom correspondence should be addressed.
Appl. Sci. 2025, 15(16), 9143; https://doi.org/10.3390/app15169143
Submission received: 18 July 2025 / Revised: 17 August 2025 / Accepted: 18 August 2025 / Published: 19 August 2025
(This article belongs to the Special Issue Machine Tools, Advanced Manufacturing and Precision Manufacturing)

Abstract

Featured Application

The article presents a new device for in situ boring a worn or damaged counterbore in the diesel engine block to mount the cylinder liner flange.

Abstract

This paper presents the design and operating principle of a mechanical device for machining a cylinder liner flange seat in a diesel engine damaged due to cavitation or wear. Mounted on the engine block, the device allows the removal of damaged material and the formation of an undercut for the installation of repair rings. The gear ratios used allow for manual driving of the device. The device allows engine repair without the need for disassembly, which provides significant economic benefits by shortening repair time, reducing repair costs, and extending engine life, which is also important for environmental protection.

1. Introduction

The cylinder liners of diesel engines are subject to wear by many mechanisms. The most obvious is the abrasive wear resulting from the relative movement of the piston to the cylinder [1,2]. Fuel combustion produces high temperatures that have a wide-ranging impact on the cylinder liner and engine block. The increase in temperature causes changes in the properties of the lubricating oil. Firstly, it affects the viscosity of the oil. It also causes carbonization of the lubricating oil. As a result, temperature has a very negative effect on the friction coefficient, indirectly causing increased wear on the surface of the cylinder liner due to changes in the tribological properties of the surface [3] and its shape through deformation of the cylinder liner [4]. An increase in temperature also generates thermal stresses [5], which become particularly significant when combined with mechanical deformations. The heated gases generated as a result of combustion also cause accelerated erosion of the cylinder surface. Pressure changes cause vibrations, a jump in circumferential stresses, and changes in the cylinder dimensions [6,7]. The analyses show that the greatest effect of combined thermal and mechanical stresses is observed in the upper part of the cylinder liner.
In the case of wet cylinder liners, the outer wall is in direct contact with the coolant. Geometric changes due to the rapid increase in pressure and temperature cause vibrations in the surrounding coolant. Vapor-filled spaces appear. This phenomenon is called cavitation. The returning fluid damages the metal surface it hits. This process, repeated during engine operation, ultimately leads to pitting, which involves the ejection of small lens-shaped metal fragments from the surface of the cylinder. This phenomenon is most noticeable in the central cylinder [8].
The described extreme conditions can cause an engine-block crack. The high price of the new block causes the replacement of such an element to be the last resort. Usually, when the crack is detected early enough, the first choice is welding; however, if the crack grows too much, the only remedy is replacement of the part.
In the upper cylinder section, repeated pressure spiking to very high values and cyclical thermal stresses lead to cyclical cylinder deformation and significant loading of the cylinder seat surface in the engine block [9,10,11]. Importantly, the cylinder deformation is non-uniform, generating an oval shape. This causes areas in the upper part of the engine block to be characterized by accelerated wear of the cylinder seat. Contaminants and coolant entering this space cause coolant leaks, accelerated erosion of the engine block, and movement of the cylinder liner, which in turn leads to engine overheating and a drop in efficiency. An engine block damaged in this way is not suitable for further operation. In the case of damaged cylindrical liners damaged by the described mechanisms, the best solution is usually to replace them, although in the case of minor damage it is even possible to repair the damage. Unfortunately, if the engine block is damaged, alternatives include replacing them with new ones, which is very expensive, or machining the damaged surfaces and using repair rings, which is a much cheaper operation and, given environmental concerns, highly desirable (Figure 1).
Unfortunately, the operation of machining a seat in an engine block is very complicated due to the tools used. The most expensive solution is to use a CNC machine, such as the Rottler Cylinder Boring CNC machining center. In this case, the machining costs include the cost of operating the machine and disassembling the engine. The block is large, heavy, difficult to disassemble and, therefore, expensive to disassemble for machining or replacement. That is why the seat-boring operation should be performed without disassembling the engine using a dedicated tool. There are portable machines available in the industry that allow you to machine holes in the engine block, but they are usually expensive (for example, Monaco Tool 52050, Kent-Moore PT-2050-D Porta-Matic Counterbore Basic Kit).
This article presents a device that allows the creation of a counterbore for the installation of the repair bush, allowing the reinstallation of the cylinder liners so that the engine operates properly. The device is universal, relatively cheap, and can be easily adapted to any engine type. Most importantly, it does not require complete engine disassembly, reducing costs and repair time.

2. Materials and Methods

All non-standardized threaded components of the device are made of hardened and tempered 40HM/1.7225/42CRMO4 steel (CELSA Huta Ostrowiec, Ostrowiec Świętokrzyski, Poland). Selected steel has, first of all, high hardness, which guarantees an acceptable life span of threads. Other non-standardized elements are made of C45 steel (ArcelorMittal Poland S.A., Dąbrowa Górnicza, Poland) to reduce the cost of the device. Figure 2 shows the device’s construction. It consists of a gear enabling the synchronization of the rotation of the cutting tool with the feed, a telescopic body generating the tool feed, and a base attached to the engine by means of screws screwed into the head bolt holes. Figure 2 presents both sides of the device. The overall dimensions of the device are, approximately, diameter 215 mm, and height 337 mm.
Figure 3 shows an exploded view of the device, revealing its internal structure and all components. Part numbers referenced in subsequent descriptions are based on Figure 3.
The main element of the device is shaft 9. The length of the shaft is 337 mm, while the largest diameter is 30 mm. On one end, it is terminated with a hexagon, allowing the drive to be applied. The hexagon’s across-corners size is 20 mm. On the opposite end of the shaft, head 14 with the cutting tool is mounted. Figure 4 shows the assembly of the shaft and a cutting head within the bearing housing. The shaft is rigidly connected to the gear, whose body, when rotated, forces the feed of the cutting tool.
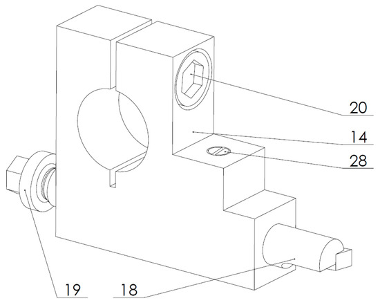
The head 14 is clamped to shaft 9 by means of a screw M8 20. The thickness of the cutting head in the presented model is 20 mm; however, it can be adjusted to the size of the cutting tool. Its design allows one to determine the diameter of the hole that is being machined. The cutting tool 18 is pulled out of the socket to the appropriate size by means of an adjustment screw 19. After the position of the cutting tool is determined, it is fixed by means of a screw 28 (Figure 5).
The shaft 9 is mounted inside body 11 via two bearings 35. Figure 6 presents the shaft placed inside the body of the device with the bearings drawn in red.
The bearing on the cutting side is a sliding bearing, while the bearing on the hexagon side is locked from axial movement while maintaining the appropriate clearances (Figure 7). Both bearings are deep-groove ball bearings of the 6005 type. This bearing, together with the shaft and the upper part of the telescopic body, moves in the axial direction. The outer ring of the bearing is locked with a nut 15 screwed into the body 11, while the inner ring of the bearing is locked with a hexagonal head nut 34 screwed onto the threaded part of the shaft 9.
Gear transmission body 1 is attached to the front of the device body 11 by means of a gear wheel 8 (z = 50) attached to the body 11 with screws M5x23 23 (Figure 8). Above the gear wheel 8 there is a gear wheel 7 (z = 28). Together with the gear wheel 5 (z = 32) and the gear wheel (z = 10) cut in shaft lever 3, they constitute a drive chain that connects the rotational movement of the shaft with its feed. All gears are made with a 1.5 mm module.
The gear can be disconnected to set the knife position by moving the shaft lever 3 terminated with a ball handle 4. The position of shaft 3 is controlled by a ball 31 placed in the appropriate lever channel by means of a spring 32. Pulling the ball handle up disengages the gears, allowing the shaft with the cutting head to rotate freely. The ball 31 of diameter 3 mm and the spring 32 are closed in the channel of body 1. The shaft 3 is mounted in the body with the brass bushings 26 and 6 and fits with an H7 tolerance (Figure 9).
The body is telescopic. Sleeve 17 is screwed to element 11. The length of the sleeve is 105 mm and the overall diameter is 95 mm. The length of element 11 is 185 mm and the diameter is 68 mm. The two parts can be moved relative to each other using a thread M60x1, thus adjusting the depth of the material being removed, and then locked in place using rings 12 and 13 (Figure 10).
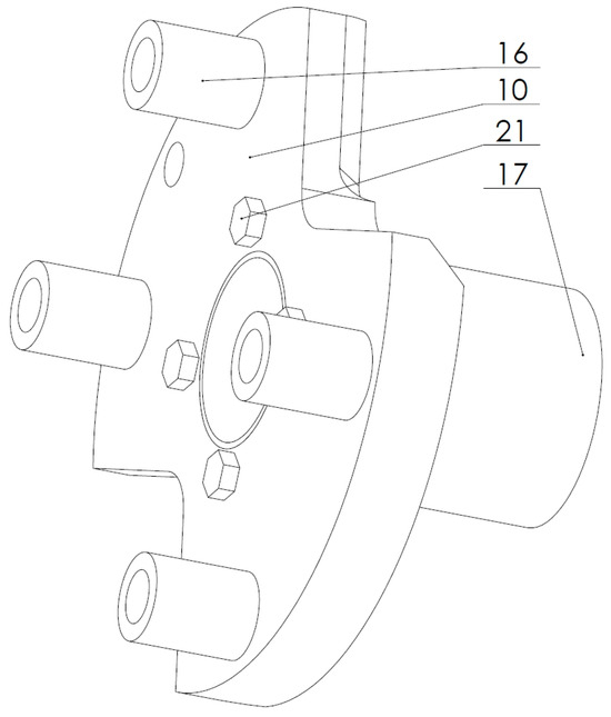
A plate 10 is attached to the inner sleeve of body 17. The unusual shape of the plate is due to the need to provide access for the measuring tool to the surface being machined. The thickness of the plate is 25 mm, and the external diameter is 215 mm. Figure 11 shows the optional spacer sleeves 16. The bolts pass through the holes in the base and spacer sleeves, securing the entire device to the engine block using the head bolt holes.
The relative movement of both body parts (11 and 17) is locked by a rod 25 (Figure 12) screwed into the base 10. A fork 24 is screwed into gear body 1. Its position is locked by a 27 nut. The shape of the fork locks rod 25, preventing rotation of inner body 11 relative to outer body 17 at any setting of their relative axial position.
The device can be applied to engines made by MAN, SCANIA, or DAF. Only the part 10 plate (base) requires modification to accommodate the position of the head bolt holes.
To mount the device coaxially with the hole axis, one of two methods can be used. The locating dowels or pins for the head that are present in the engine block deck can be utilized, or an additional, extra-designed cylinder that is mounted on an undamaged surface of the block. Neither method depends on type of engine.

3. Results

In the case of manual drive, it is proposed to use a crank with a length of l = 0.25 m. Assuming the operator force F = 250 N, the torque at the input (1) [12] is obtained:
T i n = F l = 250   N 0.25   m   = 62.5   N m
Assuming a low rotational speed of the manual attack equal to nin = 10 rpm, the input power is equal to (2):
P i n = T i n n i n 9550 = 62.5   N m 10   r p m 9550 = 0.065   k W
Assuming the efficiency of the gear transmission ηg = 0.99 [13], the rolling bearings ηb = 0.995 [12] and the efficiency of the metric thread ηt = 0.1 [14], the general efficiency of the system is obtained using Formula (3). Low thread efficiency (ηt = 0.1) reflects a conservative estimate for unlubricated sliding contact in high-load applications [14]:
η = η g 2 η b 3 η t = 0.99 2 0.995 3 0.1 = 0.097
The overall efficiency allows the power at the output shaft of the device (4) to be determined:
P o u t = P i n η = 0.065 k W 0.097 = 0.006   k W
The drive system of the device consists of a gear train. The first pair consists of gears 7 and 5, and the second pair consists of shaft 3 and gear 8. All gears are made with a 1.5 mm module. The intermediate gear ratios are (5) and (6):
i 1 = z 5 z 7 = 32 28 = 1.14
i 2 = z 8 z 3 = 50 10 = 5
This gives a total gear ratio of i = 5.71 and an output speed of nout = 1.75 rpm.
The rotating shaft with the tool causes the body in which it is mounted to rotate at a speed 5.71 times slower. The body’s rotation, in turn, causes it to move axially according to the thread pitch, relative to the second part of the body, which is fixed (Figure 13). The thread pitch cut in the body is 1 mm, resulting in one rotation of the shaft producing a feed of f = 0.175 mm.
The specific cutting resistance [15] for cast iron was assumed to be kc = 1400 MPa. The cutting force [16], assuming that the width of the cutting layer (cut depth) is ap = 2 mm, is (7):
F c = k c a p f = 1400   M P a 2   m m 0.175   m m = 490   N
The calculated cutting force of 490 N assumes a uniform feed and material hardness. In practice, tool wear, misalignment, or material inhomogeneity can cause deviations of up to ±15%. If the cutting force is too high, the simplest solution is to decrease the cutting layer or change the total gear ratio, which decreases the feed but is harder to obtain because the new gears have to be applied.
The output torque is (8):
T o u t = 9550 P o u t n o u t = 9550 0.006   k W 1.75   r p m = 34.5   N m
With a cylinder diameter of dc = 130 mm, this allows for a maximum cutting force of (9):
F m a x = 2 T o u t d c = 2 34.5   N m 0.130   m = 530.5   N
This value is significantly higher than the required cutting force.

4. Discussion

The presented device is capable of machining a damaged cylinder head socket in an engine block, and mounts directly on the engine block, eliminating the need for disassembly. Mounting uses screws, spacer sleeves, and head mounting holes, which offers an advantage over electromagnetic mounting in that it does not require additional procedures to maintain the alignment of the device and the machined bore. The device is relatively simple in design and does not require additional drive. The rotational movement of the cutting tool is coupled with its axial movement. This is an important advantage as one drive realizes both the main motion of the cutting tool and the feed. The presented calculations prove that a manual drive is completely sufficient for the socket machining operation. However, the calculations used the properties of Meehanite cast iron. For materials with higher specific cutting resistance, reducing the feed rate is necessary to maintain the cutting force at a level that allows manual operation. This can be easily achieved by changing the overall gear ratio. The sum of the teeth in the first gear stage is 60. This means that by shifting the profile, we can change the gear ratio from 1.14 to 5. As a result, the maximum cutting force almost doubles to 2320 N. The total cost of the device does not exceed $2500, which is competitive compared to other solutions whose prices are $10,000 or more. The cost of the device is based on a prototype. It can be reduced by using cheaper materials and an optimized design, but this will require an in-depth analysis of its performance, strength, and durability. The device extends the life of high-pressure diesel engines, resulting in an improved economic performance during their use. The potential impact on the environmental aspects of engine operation is also important. Instead of using a new engine block, which requires a lot of energy and cast iron to produce, a simple, quick operation is performed that does not require disassembling the entire engine and replacing components that do not fit the new engine block, such as bolts, gaskets, etc., which reduces costs. Replacing an engine block can range from $2000 to $15,000, and can take several weeks, while machining the holes in the block costs around $600 to $700 and takes 1–1.5 h for one hole.
The idea of designing the device emerged at the beginning of the 2020s, as the number of problems with the holes in the cylinder blocks increased noticeably.
During the COVID pandemic, difficult access to service centers prevented timely inspections and potential repairs. Undetected or detected, but unrepaired, damage to the holes in the cylinder blocks progresses slowly. Although they do not immediately disable the engine, they gradually reduce its operating parameters until a critical point occurs, beyond which continued operation threatens complete destruction of the engine. According to [17], engine block damage is the most common cause of engine failure. Furthermore, block damage is classified as very serious, disabling the engine (level 8/10) with a moderate possibility of detection (level 5/10). This situation has led to a significant increase in reported damage of this type, which was already very common, and necessitated the development of a device capable of repairing such defects.

Author Contributions

Conceptualization, J.G. and U.J.-G.; formal analysis, J.G.; investigation, U.J.-G.; resources, J.G.; writing—original draft preparation, J.G.; writing—review and editing, J.G. and U.J.-G.; visualization, J.G. and U.J.-G.; supervision, J.G.; project administration, U.J.-G.; funding acquisition, U.J.-G. All authors have read and agreed to the published version of the manuscript.

Funding

This research did not receive external funding.

Data Availability Statement

Device blueprints are available on demand, and details of patent protection are available at the Patent Office of the Republic of Poland under claim number P.451549.

Acknowledgments

The project expenses were covered only by the authors. No AI tools have been used at any stage of the project and preparation of the article.

Conflicts of Interest

The authors declare no conflicts of interest.

Abbreviations

The following abbreviations are used in this manuscript:
ηEfficiency (index: g—transmission, b—bearings, t—thread)
apCutting depth
CNCComputer Numerical Control
dcCylinder diameter
fFeed
FForce
FcCutting force
iSpeed ratio
kcSpecific cutting resistance
lCrank length
nRotational speed (index: in—input, out—output)
PPower (index: in—input, out—output)
TTorque (index: in—input, out—output)
zNumber of teeth

References

  1. Musmar, S.A.; Alrousan, A.; Tlili, I. Effect of cylinder-liner rotation on wear rate: An experimental study. Heliyon 2019, 5, e02065. [Google Scholar] [CrossRef] [PubMed]
  2. Zabala, B.; Igartua, A.; Fernández, X.; Priestner, C.; Ofner, H.; Knaus, O.; Abramczuk, M.; Tribotte, P.; Girot, F.; Roman, E.; et al. Friction and wear of a piston ring/cylinder liner at the top dead centre: Experimental study and modelling. Tribol. Int. 2017, 106, 23–33. [Google Scholar] [CrossRef]
  3. Du, C.; Sheng, C.; Liang, X.; Rao, X.; Guo, Z. Effects of Temperature on the Tribological Properties of Cylinder-Liner Piston Ring Lubricated with Different Oils. Lubricants 2023, 11, 115. [Google Scholar] [CrossRef]
  4. Serdecki, W.; Krzymień, P. The effect of changes in cylinder liner geometry on the operation of piston compression ring. Tech. Trans. 2012, 8, 285–294. [Google Scholar]
  5. Velugula, R.; Ioganathan, B.T.; Varadhaiyengar, L.; Asvathanarayanan, R.; Mittal, M. An Analysis of Mechanical and Thermal Stresses, Temperature and Displacement within the Transparent Cylinder and Piston Top of a Small Direct-Injection Spark-Ignition Optical Engine. Energies 2023, 16, 7400. [Google Scholar] [CrossRef]
  6. Korczewski, Z. Identyfikacja uszkodzeń tulei cylindrowych okrętowego tłokowego silnika spalinowego w eksploatacji. Zesz. Nauk. Akad. Mar. Wojennej 2007, 2, 59–72. [Google Scholar]
  7. Li, G.; Gu, F.; Wang, T.; You, J.; Ball, A. Investigation into the Vibrational Responses of Cylinder Liners in an IC Engine Fueled with Biodiesel. Appl. Sci. 2017, 7, 717. [Google Scholar] [CrossRef]
  8. Bako, S.; Nasir, A.; Ige, B.; Musa, N. Cavitational deterioration of Diesel power plant cylinder liner. J. Mech. Energy Eng. 2020, 4, 239–246. [Google Scholar] [CrossRef]
  9. Bao, Y.; Lei, J.; Li, W.; Deng, W.; Deng, X.; Xu, Y.; Song, G.; Dai, G. Research on thermal deformation of cylinder bore with orthogonal experiment method of aluminum alloy cylinder block in diesel engine. Appl. Therm. Eng. 2024, 245, 122772. [Google Scholar] [CrossRef]
  10. Fujimoto, H.; Yoshihara, Y. Measurement of cylinder bore deformation during actual operating engines. SAE Tech. Pap. Ser. 1991, 100, 16–24. [Google Scholar]
  11. Selmani, E.; Delprete, C.; Bisha, A. Simulation of the Cylinder Bore Distortion and Effect on the Sealing; Springer Nature Applied Sciences: Berlin/Heidelberg, Germany, 2019; Volume 1, p. 314. [Google Scholar]
  12. Kurmaz, L.; Kurmaz, O. Podstawy Konstruowania Węzłów i Części Maszyn Podręcznik Konstruowania, 5th ed.; Stanisław Adamczak, K., Ed.; Wydawnictwo Politechniki Swietokrzyskiej: Kielce, Poland, 2011. [Google Scholar]
  13. Jiang, W. Analysis and Design of Machine Elements; John Wiley & Sons Singapore Pte. Ltd.: Singapore, 2019. [Google Scholar]
  14. Ristivojevic, M.; Dimic, A.; Kolarevic, N. The influence of thread screw parameters on the efficiency of threaded joints. Tribol. Mater. 2023, 2, 20–31. [Google Scholar] [CrossRef]
  15. Karpuschewski, B.; Kundrák, J.; Varga, G.; Deszpoth, I.; Borysenko, D. Determination of specific cutting force components and exponents when applying high feed rates. Procedia CIRP 2018, 77, 30–33. [Google Scholar] [CrossRef]
  16. Stachurski, W. Cutting forces during longitudinal turning process of ti-6al-4v eli alloy. Theoretical and experimental values. J. Mech. Energy Eng. 2018, 2, 201–206. [Google Scholar] [CrossRef]
  17. Deulgaonkar, V.R.; Ingolikar, N.; Borkar, A. Failure analysis of diesel engine piston in transport utility vehicles. Eng. Fail. Anal. 2021, 120, 105008. [Google Scholar] [CrossRef]
Figure 1. Schematic diagram of the processing of a worn socket.
Figure 1. Schematic diagram of the processing of a worn socket.
Applsci 15 09143 g001
Figure 2. Main components of the device.
Figure 2. Main components of the device.
Applsci 15 09143 g002
Figure 3. Exploded view.
Figure 3. Exploded view.
Applsci 15 09143 g003
Figure 4. Shaft with bearings and cutting head.
Figure 4. Shaft with bearings and cutting head.
Applsci 15 09143 g004
Figure 5. Cutting head.
Figure 5. Cutting head.
Applsci 15 09143 g005
Figure 6. Location of the bearings (red elements) in the body.
Figure 6. Location of the bearings (red elements) in the body.
Applsci 15 09143 g006
Figure 7. Bearing lock.
Figure 7. Bearing lock.
Applsci 15 09143 g007
Figure 8. The interior of the gear train.
Figure 8. The interior of the gear train.
Applsci 15 09143 g008
Figure 9. Drive of the cutting tool.
Figure 9. Drive of the cutting tool.
Applsci 15 09143 g009
Figure 10. The body of the device.
Figure 10. The body of the device.
Applsci 15 09143 g010
Figure 11. Base of the device.
Figure 11. Base of the device.
Applsci 15 09143 g011
Figure 12. Body position lock.
Figure 12. Body position lock.
Applsci 15 09143 g012
Figure 13. Principle of operation of the device.
Figure 13. Principle of operation of the device.
Applsci 15 09143 g013
Disclaimer/Publisher’s Note: The statements, opinions and data contained in all publications are solely those of the individual author(s) and contributor(s) and not of MDPI and/or the editor(s). MDPI and/or the editor(s) disclaim responsibility for any injury to people or property resulting from any ideas, methods, instructions or products referred to in the content.

Share and Cite

MDPI and ACS Style

Galkiewicz, J.; Janus-Galkiewicz, U. A Machine Tool for Boring of the Diesel Engine Block Counterbore. Appl. Sci. 2025, 15, 9143. https://doi.org/10.3390/app15169143

AMA Style

Galkiewicz J, Janus-Galkiewicz U. A Machine Tool for Boring of the Diesel Engine Block Counterbore. Applied Sciences. 2025; 15(16):9143. https://doi.org/10.3390/app15169143

Chicago/Turabian Style

Galkiewicz, Jaroslaw, and Urszula Janus-Galkiewicz. 2025. "A Machine Tool for Boring of the Diesel Engine Block Counterbore" Applied Sciences 15, no. 16: 9143. https://doi.org/10.3390/app15169143

APA Style

Galkiewicz, J., & Janus-Galkiewicz, U. (2025). A Machine Tool for Boring of the Diesel Engine Block Counterbore. Applied Sciences, 15(16), 9143. https://doi.org/10.3390/app15169143

Note that from the first issue of 2016, this journal uses article numbers instead of page numbers. See further details here.

Article Metrics

Back to TopTop