Steel Arch and Rock Bolt Support in Terms of the Gateroad Stability Maintaining behind the Longwall Face
Abstract
1. Introduction
2. The Project of Roadways Maintained behind the Longwall Face
2.1. Identification of Mining and Geological Conditions
2.2. Numerical Models
3. Indices of Roadways Stability
4. Test Area in the Bw-4 and PW-1 Roadways
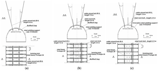
- Test section I—two rows of hoisting joists V32-type (32 kg/m) fixed to the roof (every 1 m) by IR-6 cable strand bolts with a total length of 9 m; 3 Bullflex bags with a length of 1.5 m filled with cementitious material (Figure 8a);
- Test section II—two rows of hoisting joists V32-type with a length of 1.4 m fixed to the roof (every 2 m) by IR-5 injection cable strand bolts with a total length of 7 m; three steel rock bolts with a length of 2.5 m in each span between the arches; and a total of 3 Bullflex bags (Figure 8b);
- Test section III—two rows of hoisting joists V32-type with a length of 1.4 m fixed to the roof (every 2 m) by IR-5 injection cable strand bolts with a total length of 7 m; a total of three steel rock bolts with a length of 2.5 m in each span between the arches, with the outermost ones built every second span, depending on the presence of a cable strand bolt in the row; additional hoisting joist from the longwall side; rock lining (Figure 8c).
- Test section I—two rows of V29-type (29 kg/m) hoisting joists fixed to the roof every second meter by IR-6 cable strand bolts with a total length of 6 m that were installed with the help of two resin cartridges; rock lining was used (Figure 9a);
- Test section II—V29-type hoisting joist from the goaf side directly fixed to the steel arch support; two rows of Titan cable bolts with a length of 6.2 m installed every second frame—additionally, the roof was bolted with three steel rock bolts with a length of 2.5 m, with the outermost bolts alternately used with Titan cable bolts with a length of 6.2 m; Bullflex bags were used on roof arches (Figure 9b);
- Test section III—two rows of V29-type hoisting joists fixed to the roof every second meter by IR-6 cable strand bolts with a total length of 6 m; 6.2 m Titan cable bolts were installed from the coal sidewall; rock lining was used (Figure 9c).
5. Monitoring Station
- load cell sensor installed on the roof arch on specially profiled washers;
- MPBX-type extensometer with a length of 6 m and four measuring levels;
- rock bolt stressmeter with a length of 6 m and six measuring levels;
- load cell sensor installed on the wooden crib;
- two biaxial stressmeters installed in a coal sidewall (only in PW-1).
6. Results and Discussion
6.1. Monitoring of Bw-4 Roadway
6.2. Monitoring of PW-1 Roadway
7. Conclusions
- A four-stage design of roadways support is essential if the gateroad has to be maintained behind the longwall face. This involves (1) evaluating rock mass quality, (2) assessing the effectiveness of design and roadway maintenance, (3) verifying designed support after its drivage by endoscopic research (ERMF index), and (4) carrying out rock-mass and support monitoring. Only monitoring can give feedback for the designed support scheme.
- Using pre-tensioned and Gifford-clamped fully grouted cable bolts enables the maintenance of roadway dimensions, even in very challenging roof conditions, as encountered in PW-1. The bolts compressing the roof rocks create a load-bearing roof rock beam, resulting in less roof sagging and ensuring higher roadway height, compared to areas without this bolting. Additionally, grouting both binds and strengthens fractured rock around the bolts.
- Implementing a steel yielding arch support with an innovative yoke solution improves the problem of arch sliding. Better arch adjacency and better guidance during their shear movements will improve the yield reaction. The sliding is more symmetrical, and the frame maintains an arched profile, even under abutment pressures. Using this solution prevents significant flattening of roof arches and disruption or blocking at the contact points between roof and sidewall arches.
- Evaluating the stability of roadways in the light of the applied support schemes indicates that the key to maintaining roadway dimensions at great depth is using short steel rock bolts and long cable strand bolts. This reinforcement creates a bolted load-bearing beam in the roof, transferring stresses to the sidewalls and then to the floor. The deeper the redistribution of the stress in the rock mass, the less deformation of the roadway contour is to be expected. If the stress is redistributed just on both sidewalls to a shallow depth, the deformations can be considerable (including floor heaving). The use of Bullflex bags on the roof arches can even cause plastic steel frame deformations, if its yield strength is too low when carrying a remarkable load.
- Using strand bolts, which are only installed at their end with the help of two resin cartridges, allows for separation of roof beds. Then the load on steel frames is significant and its yielding can be visible. The yield depends strictly on the load direction, which is usually not vertical. The roadway contour undergoes a less pronounced dimension reduction as a result.
- The research project demonstrated the effectiveness of using steel arch and rock bolt support. Bolting the roof creates a roof beam, which delays rock bed deflection and decreases the load on a roof arch of standing support. The way the roof layers lean on the support frame causes the rock bolts to reduce their load. The combination of two different types of support can effectively ensure the stability of roadways maintained behind the longwall face for a specified period.
- The presented research revealed the scientific and practical aspects of phenomena occurring near the advancing longwall face, both in the support and rock mass. Subsequent studies should also include measurements of rock mass stresses in the roadway’s roof and floor. These measurements should be taken at various distances from its contour. The results of such analyses can allow for the verification of numerical solutions, thereby optimizing the structural design of support in the gateroads, as the gateroads’ support design is one of the most challenging tasks of mine operations.
Author Contributions
Funding
Institutional Review Board Statement
Informed Consent Statement
Data Availability Statement
Conflicts of Interest
References
- Jiang, L.; Zhang, P.; Chen, L.; Hao, Z.; Sainoki, A.; Mitri, H.S.; Wang, Q. Numerical Approach for Goaf-Side Entry Layout and Yield Pillar Design in Fractured Ground Conditions. Rock Mech. Rock Eng. 2017, 50, 3049–3071. [Google Scholar] [CrossRef]
- Qian, D.; Zhang, N.; Shimada, H.; Wang, C.; Sasaoka, T.; Zhang, N. Stability of goaf-side entry driving in 800-m-deep island longwall coal face in underground coal mine. Arab. J. Geosci. 2016, 9, 82. [Google Scholar] [CrossRef]
- Prusek, S. Changes in cross-sectional area of gateroads in longwalls with roof caving, ventilated with “U” and “Y” systems. Arch. Min. Sci. 2015, 60, 549–564. [Google Scholar] [CrossRef]
- Qian, D.; Shimada, H.; Zhang, Z.; Sasaoka, T.; Matsui, K. Application of goaf-side roadway retained and new type ventilation system in deep longwall face. Mem. Fac. Eng. Kyushu Univ. 2015, 74, 99–116. [Google Scholar]
- Zhang, Z.; Zhang, N.; Shimada, H.; Sasaoka, T.; Wahyudi, S. Optimization of hard roof structure over retained goaf-side gateroad by pre-split blasting technology. Int. J. Rock Mech. Min. Sci. 2017, 100, 330–337. [Google Scholar] [CrossRef]
- Shao, L.; Huang, B.; Zhao, X. Secondary Gob-side Entry Retaining Technology with Double Side Roof Cutting and Pressure Relief in Thin Coal Seam. Int. J. Oil Gas Coal Eng. 2020, 8, 91. [Google Scholar] [CrossRef]
- Rak, Z. Good practices in maintaining the roadways in one-sided surroundings of caving goaf. Gospod. Surowcami Miner.—Miner. Resour. Manag. 2017, 101, 117–132. [Google Scholar]
- Chen, S.; Lv, Q.; Yuan, Y. Key Technologies and its Application of Gob-Side Entry Retaining by Roof Cutting in a Deep Mine. Arch. Min. Sci. 2022, 67, 55–77. [Google Scholar] [CrossRef]
- Masny, W.; Rajwa, S.; Prusek, S.; Łukawski, S.; Kocel, M. Utrzymanie chodnika przyścianowego za frontem ściany na dużych głębokościach—Analiza przypadku. Przegląd Górniczy 2016, 72, 1–11. (In Polish) [Google Scholar]
- Duży, S.; Gluch, P.; Michalik, G.; Ratajczak, A. Effectiveness of bolting for wall and heading crossings in light of the Knurów–Szczygłowice Coal Mine experience. Gospod. Surowcami Miner.—Miner. Resour. Manag. 2018, 103, 103–116. [Google Scholar] [CrossRef]
- Xie, S.R.; Pan, H.; Chen, D.D.; Zeng, J.C.; Song, H.Z.; Cheng, Q.; Xiao, H.B.; Yan, Z.Q.; Li, Y.H. Stability analysis of integral load-bearing structure of surrounding rock of gob-side entry retention with flexible concrete formwork. Tunn. Undergr. Space Technol. 2020, 103, 103492. [Google Scholar] [CrossRef]
- Liu, J.; He, M.; Wang, Y.; Huang, R.; Yang, J.; Tian, X.; Ming, C.; Guo, S. Stability Analysis and Monitoring Method for the Key Block Structure of the Basic Roof of Noncoal Pillar Mining with Automatically Formed Gob-Side Entry. Adv. Civ. Eng. 2019, 2019, 5347683. [Google Scholar] [CrossRef]
- Tian, X.; Wang, J.; Yu, G.; Wang, H.; Liu, P.; Pan, Z.; Wang, Y. Research and application of Gob-Side entry retaining with roof presplitting under residual coal pillar of upper coal seam. Energy Explor. Exploit. 2022, 40, 1494–1521. [Google Scholar] [CrossRef]
- Xie, S.; Wang, E.; Chen, D.; Li, H.; Jiang, Z.; Yang, H. Stability analysis and control technology of gob-side entry retaining with double roadways by filling with high-water material in gently inclined coal seam. Int. J. Coal Sci. Technol. 2022, 9, 52. [Google Scholar] [CrossRef]
- Zhang, Z.; Guan, W.; Chen, H. Numerical Study on the Effectiveness of the Grouting Cable Bolt in Deep Retained Goaf Side Gateroad. Geotech. Geol. Eng. 2020, 38, 4529–4543. [Google Scholar] [CrossRef]
- Fu, W. Study on Surrounding Rock Control of Gob-Side Entry Retaining in Inclined and Thick Longwall Face. Geotech. Geol. Eng. 2022, 40, 3477–3491. [Google Scholar] [CrossRef]
- Wu, R.; Zhang, P.; Kulatilake, P.H.S.W.; Luo, H.; He, Q. Stress and deformation analysis of gob-side pre-backfill driving procedure of longwall mining: A case study. Int. J. Coal Sci. Technol. 2021, 8, 1351–1370. [Google Scholar] [CrossRef]
- Guo, P.; Zhang, X.; Peng, Y.; He, M.; Ma, C.; Sun, D. Research on Deformation Characteristic and Stability Control of Surrounding Rock During Gob-Side Entry Retaining. Geotech. Geol. Eng. 2020, 38, 2887–2902. [Google Scholar] [CrossRef]
- Yang, G.; Yang, X.; Zhang, J.; He, M.; Hao, Z.; Yang, F.; Shao, J. Effect of Roof Cutting Technology on Broken Roof Rock Bulking and Abutment Stress Distribution: A Physical Model Test. Rock Mech. Rock Eng. 2024. [Google Scholar] [CrossRef]
- Waclawik, P.; Kukutsch, R.; Konicek, P.; Ptacek, J.; Kajzar, V.; Nemcik, J.; Stas, L.; Soucek, K.; Vavro, M. Stress State Monitoring in the Surroundings of the Roadway Ahead of Longwall Mining. Procedia Eng. 2017, 191, 560–567. [Google Scholar] [CrossRef]
- Guangchao, Z.; Chuanwei, Z.; Miao, C.; Guangzhe, T.; You, L.; Weihua, H.; Hongzhou, W.; Deshuai, Z. Ground response of entries driven adjacent to a retreating longwall panel. Int. J. Rock Mech. Min. Sci. 2021, 138, 104630. [Google Scholar] [CrossRef]
- Yu, Y.; Bai, J.; Wang, X.; Zhang, L. Control of the surrounding rock of a goaf-side entry driving heading mining face. Sustainability 2020, 12, 2623. [Google Scholar] [CrossRef]
- Iannacchione, A.; Prosser, L.; Esterhuizen, G.; Bajpayee, T. Methods for determining roof fall risk in underground mines. Min. Eng. 2007, 59, 47–53. [Google Scholar]
- Laubscher, H. A geomechanics classification system for the rating of rock mass in mine design. J. South Afr. Inst. Min. Metall. 1991, 28, A228. [Google Scholar] [CrossRef]
- Mark, C.; Molinda, G.M. Development and application of the coal mine roof rating (CMRR). In Proceedings of the International Workshop on Rock Mass Classification in Underground Mining; U.S. Department of Health and Human Services, Public Health Service, Centers for Disease Control and Prevention, National Institute for Occupational Safety and Health: Washington, DC, USA, 2007; pp. 95–110. [Google Scholar]
- Bednarek, Ł.; Majcherczyk, T. An analysis of rock mass characteristics which influence the choice of support. Geomech. Eng. 2020, 21, 31–377. [Google Scholar] [CrossRef]
- Małkowski, P.; Niedbalski, Z.; Majcherczyk, T. Roadway design efficiency indices for hard coal mines. Acta Geodyn. Geomater. 2016, 13, 201–211. [Google Scholar] [CrossRef]
- Niedbalski, Z.; Majcherczyk, T. Indicative assessment of design efficiency of mining roadways. J. Sustain. Min. 2018, 17, 131–138. [Google Scholar] [CrossRef]
- Majcherczyk, T.; Małkowski, P.; Niedbalski, Z. Describing Quality of Rocks around Underground Headings: Endoscopic Observations of Fractures. In Proceedings of the ISRM International Symposium—EUROCK, Brno, Czech Republic, 18–20 May 2005; p. ISRM-EUROCK-2005-058. [Google Scholar]
- Małkowski, P.; Niedbalski, Z.; Majcherczyk, T. Endoscopic method of rock mass quality evaluation—New experiences. In Proceedings of the 42nd U.S. Rock Mechanics—2nd U.S.-Canada Rock Mechanics Symposium 2008, San Francisco, CA, USA, 29 June–2 July 2008. [Google Scholar]
- Liu, H.; Zhang, B.; Li, X.; Liu, C.; Wang, C.; Wang, F.; Chen, D. Research on roof damage mechanism and control technology of gob-side entry retaining under close distance gob. Eng. Fail. Anal. 2022, 138, 106331. [Google Scholar] [CrossRef]
- Sun, X.-m.; Li, G.; Song, P.; Miao, C.; Zhao, C.; Li, Q.; Xia, X. Application Research on Gob-Side Entry Retaining Methods in No. 1200 Working Face in Zhongxing Mine. Geotech. Geol. Eng. 2019, 37, 185–200. [Google Scholar] [CrossRef]























| Roadway | Rock Bed | Unit Weight γ [kN/m3] | Young Modulus E [GPa] | Poisson Ratio ν [-] | UCS [MPa] | Tensile Strength [MPa] |
|---|---|---|---|---|---|---|
| Bw-4 | shale | 26.42–26.61 | 7.88–9.52 | 0.21–0.22 | 25–35 | 1.6–2.58 |
| sandstone | 24.71 | 9.12 | 0.22 | 37.3 | 2.49 | |
| coal | 12.62 | 1.77 | 0.30 | 20.9 | 0.33 | |
| PW-1 | shale | 25.1–26.1 | 4.81–6.27 | 0.26 | 25.7–32.7 | 1.93–2.42 |
| mudstone | 26.3 | 6.73 | 0.22 | 36.3 | 2.83 | |
| sandstone | 26.1 | 9.99 | 0.20 | 42.6 | 2.84 | |
| coal | 12.2 | 2.10 | 0.30 | 7.2 | 0.46 |
| Parameter | Reinforcement Scenario for Steel Arch Support | |||
|---|---|---|---|---|
| I | II | III | IV | |
| <1 | ≥1 | <1 | ≥1 | |
| >0 | >0 | ≤0 | ≤0 | |
| Additional reinforcement for the support scheme | No reinforcement | Rock bolts or cable strand bolts | Yielding arch support of high steel grade, rock bolts or cables and hoisting joists (steel beams) | Yielding arch support of high steel grade, hoisting joists fixed to the roof with the help of high-bearing capacity strand cable bolts |
| Roadway | Chainage [m] | H [m] | UCS [MPa] | Number of Cracks ls [-] | Number of Layers lw [-] | n | WL | Hkr [m] | Forecast Scenario | ||
|---|---|---|---|---|---|---|---|---|---|---|---|
| Bw-4 | 250 | 1050 | 37.30 | 22 | 2 | 11.00 | 1.00 | 690 | YES | NO | IV |
| 354 | 1050 | 34.10 | 24 | 9 | 2.66 | 0.67 | 631 | YES | NO | IV | |
| 469 | 1050 | 32.90 | 3 | 3 | 1.00 | 0.72 | 609 | YES | NO | IV | |
| 580 | 1050 | 39.90 | 11 | 2 | 5.50 | 0.66 | 738 | YES | NO | IV | |
| 658 | 1050 | 27.50 | 21 | 2 | 10.50 | 0.66 | 509 | YES | NO | IV | |
| 754 | 1050 | 31.50 | 3 | 1 | 3.00 | 0.66 | 583 | YES | NO | IV | |
| PW-1 | 275 | 950 | 29.23 | 95 | 6 | 15.83 | 0.72 | 541 | YES | NO | IV |
| 358 | 950 | 34.67 | 89 | 6 | 14.83 | 0.76 | 642 | YES | NO | IV | |
| 570 | 950 | 22.06 | 34 | 8 | 4.25 | 0.74 | 408 | YES | NO | IV |
| Class | Description | RFM [Points] |
|---|---|---|
| I | Easy possibility of maintaining the roadway for a specified period | 86–100 |
| II | Maintenance of the roadway for a specified period without significant difficulties | 71–85 |
| III | Maintenance of the roadway for a specified period with some difficulties | 56–70 |
| IV | Difficulties in maintaining the roadway for a specified period | 41–55 |
| V | Significant difficulties in maintaining the roadway for a specified period | 26–40 |
| VI | No possibility of maintaining the roadway | 5–25 |
| Roadway | Tested Section [m] | Geological Factors | Geomechanical Rock Properties | Mining Factors | RDE | RDE Class | Technical Conditions | RFM | RFM Class |
|---|---|---|---|---|---|---|---|---|---|
| [Points] | [Points] | ||||||||
| Bw-4 | 200–400 | 77.68 | 62.48 | 62.96 | 203.1 | III | 81.98 | 56 | III |
| 400–600 | 81.76 | 53.98 | 62.96 | 198.7 | III | 90.24 | 60 | III | |
| 600–800 | 87.34 | 53.98 | 62.96 | 204.3 | III | 86.28 | 59 | III | |
| PW-1 | 100–329 | 84.00 | 62.48 | 35.80 | 182.3 | III | 81.00 | 49 | IV |
| 350–451 | 84.00 | 55.26 | 35.80 | 175.1 | IV | 90.24 | 53 | IV | |
| 451–808 | 84.00 | 59.76 | 35.80 | 179.6 | IV | 81.00 | 48 | IV | |
| Rock Mass Class | Rock Mass Quality | Rock Mass Description | Numer of Cracks ls [-] | Total Delaminationrr [mm] | Range of Intense Crackszis [m] | Recommended Method of Reinforcing the Steel Yielding Arch Support |
|---|---|---|---|---|---|---|
| I | Perfect | Intact | ≤5 | ≤15 | ≤0.5 | Increase the number of arches |
| II | Very good | Block | 6–15 | 16–40 | 0.5–1.5 | Bolting the roof arches + increase the number of arches |
| III | Good | Weakly cracked | 16–25 | 41–60 | 1.5–2.5 | Increase the number of arches; bolting the roof arches; or bolting between steel arches |
| IV | Average | Cracked | 26–40 | 61–80 | 1.5–4.0 | Hoisting joist fixed to the roof by long cable strand bolts + rock bolts; Bullflex bags recommended |
| V | Weak | Strongly cracked | 41–60 | 81–100 | 4.0–6.0 | Two hoisting joists fixed to the roof by long cable strand bolts, pre-tension and fully grouted bolts recommended; rock bolts; Bullflex bags recommended |
| VI | Very weak | Damaged | >60 | >100 | >6.0 | Bolting between steel arches using injection; cable bolts with pre-tension; Bullflex bags recommended; reinforcement may be ineffective to maintain the roadway |
| Roadway | Chainage [m] | Number of Cracks ls [-] | Total Separationrr [mm] | Range of Intensive Crack Zone zis [m] | Range of a Crack Zone fz [m] | ERMF Class | |||
|---|---|---|---|---|---|---|---|---|---|
| Value | Class | Value | Class | Value | Class | ||||
| Bw-4 | 250 | 22 | III | 50 | III | 0.90 | II | 1.65 | III |
| 354 | 24 | III | 27 | II | 0.90 | II | 3.30 | II | |
| 469 | 3 | I | 2 | I | 0 | I | 1.00 | I | |
| 580 | 11 | II | 18 | II | 0.80 | II | 3.80 | II | |
| 658 | 21 | III | 45 | III | 1.10 | II | 2.00 | III | |
| 754 | 3 | I | 8 | I | 0.90 | II | 1.50 | I | |
| PW-1 | 275 | 95 | VI | 976 | VI | 2.95 | IV | 10.30 | V |
| 358 | 89 | VI | 970 | VI | 1.90 | III | 10.35 | V | |
| 570 | 34 | IV | 159 | VI | 2.50 | III | 10.25 | V | |
Disclaimer/Publisher’s Note: The statements, opinions and data contained in all publications are solely those of the individual author(s) and contributor(s) and not of MDPI and/or the editor(s). MDPI and/or the editor(s) disclaim responsibility for any injury to people or property resulting from any ideas, methods, instructions or products referred to in the content. |
© 2024 by the authors. Licensee MDPI, Basel, Switzerland. This article is an open access article distributed under the terms and conditions of the Creative Commons Attribution (CC BY) license (https://creativecommons.org/licenses/by/4.0/).
Share and Cite
Bednarek, Ł.; Małkowski, P.; Niedbalski, Z.; Mucha, K. Steel Arch and Rock Bolt Support in Terms of the Gateroad Stability Maintaining behind the Longwall Face. Appl. Sci. 2024, 14, 3594. https://doi.org/10.3390/app14093594
Bednarek Ł, Małkowski P, Niedbalski Z, Mucha K. Steel Arch and Rock Bolt Support in Terms of the Gateroad Stability Maintaining behind the Longwall Face. Applied Sciences. 2024; 14(9):3594. https://doi.org/10.3390/app14093594
Chicago/Turabian StyleBednarek, Łukasz, Piotr Małkowski, Zbigniew Niedbalski, and Kamil Mucha. 2024. "Steel Arch and Rock Bolt Support in Terms of the Gateroad Stability Maintaining behind the Longwall Face" Applied Sciences 14, no. 9: 3594. https://doi.org/10.3390/app14093594
APA StyleBednarek, Ł., Małkowski, P., Niedbalski, Z., & Mucha, K. (2024). Steel Arch and Rock Bolt Support in Terms of the Gateroad Stability Maintaining behind the Longwall Face. Applied Sciences, 14(9), 3594. https://doi.org/10.3390/app14093594

