Analysis of the End-Bearing Capacity of Piles in Sand Under Limited Region Failure by a Mixed Zero-Extension Line Method
Abstract
1. Introduction
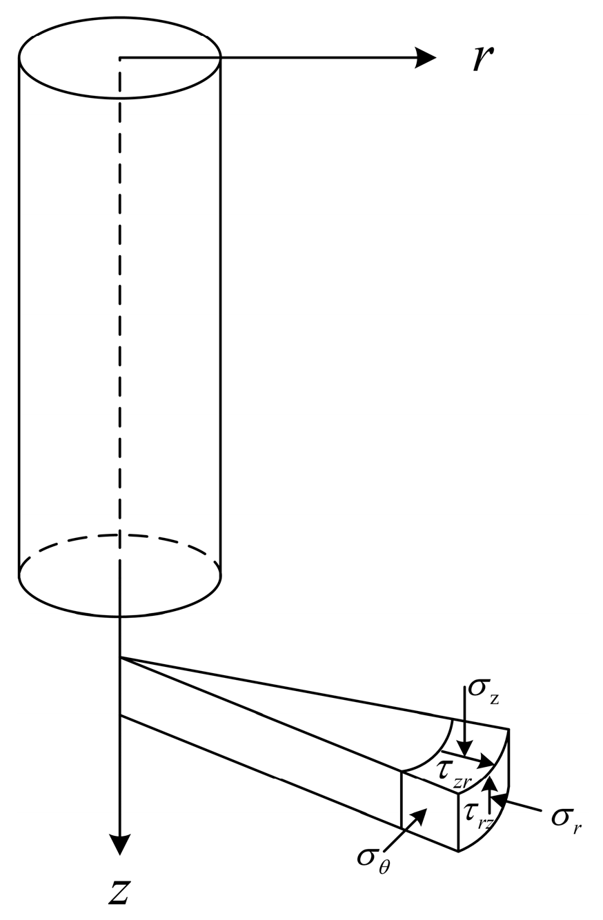
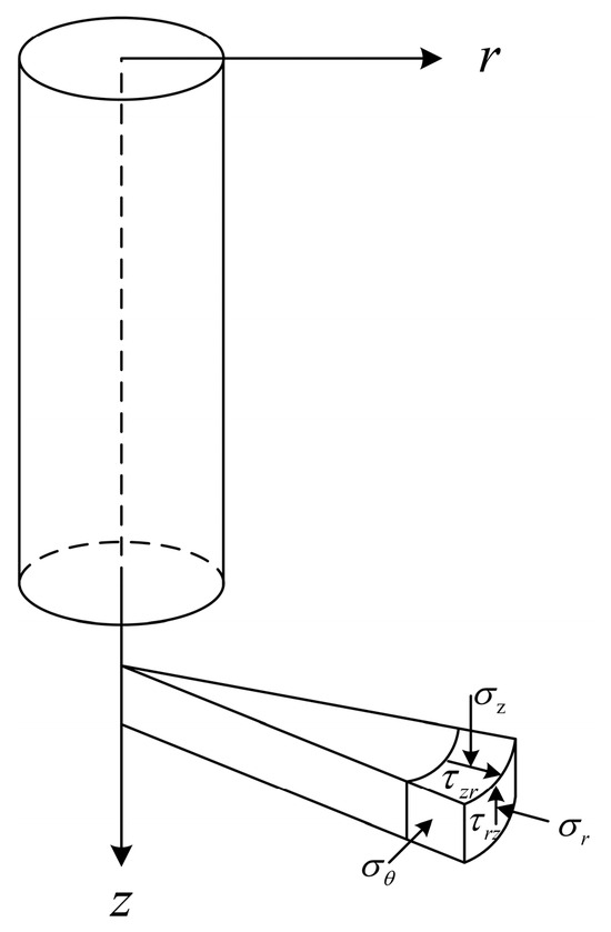
2. Failure Pattern and Basic Hypotheses
- The end-bearing capacity of piles is independent of the pile shaft resistance; that is, the pile shaft resistance does not affect the stress state at the boundary of the failure zone;
- When the pile tip resistance reaches the ultimate state, the failure zone around the pile tip is limited below the pile end plane;
- When the pile tip resistance reaches the ultimate state, the boundary between zone I and zone II is in the passive state;
- Soil obeys a non-associated flow rule that takes into account the difference between the dilation angle and the soil friction angle.
3. Numerical Solution Procedure
3.1. The Governing Equation of the Soil Around the Pile Tip
3.2. Contact Boundary Condition
3.3. Stress Boundary Condition
4. Numerical Analysis and Parameter Determination
4.1. Determination of Soil Strength Parameter
4.2. Parameter Analysis
4.3. Numerical Analysis
5. Case Verification
- Meyerhof’s method [26]: Using CPT data or standard penetration test (SPT) data, the ultimate toe capacity is estimated considering scale effects;
- Veiskarami’s method [11]: Based on the characteristics method, the ultimate toe capacity is estimated considering the failure pattern with the failure surface reverting to the pile shaft.
6. Summary and Conclusions
- The failure pattern with a failure zone limited below the pile end plane is more in line with reality. The range of the failure zone is roughly within the range of 37.5° from the vertical direction and influenced by the friction angle. The increase in friction angle leads to an increase in the range of the failure zone.
- The ultimate toe capacity is influenced by the dilation angle and friction angle of soil. The increase in dilation angle leads to an increase in ultimate toe capacity due to its effect on enlarging the size of the failure zone. The increase in friction angle leads to an increase in ultimate toe capacity primarily due to the high boundary stress and high stress state in the failure zone.
- Comparing the proposed method with a method directly using the CPT data and a method based on the characteristics method, it has been shown that the method directly using the CPT data always gives relatively underestimated values and the method based on characteristics generally overestimates the ultimate toe capacity. The proposed method provides good predictions in all ultimate toe capacity cases.
Author Contributions
Funding
Institutional Review Board Statement
Informed Consent Statement
Data Availability Statement
Conflicts of Interest
References
- Yasufuku, N.; Hyde, A.F.L. Pile end-bearing capacity in crushable sands. Geotechnique 1995, 45, 663–676. [Google Scholar] [CrossRef]
- Yasufuku, N.; Ochiai, H.; Ohno, S. Pile end-bearing capacity of sand related to soil compressibility. Soils Found. 2001, 41, 59–71. [Google Scholar] [CrossRef] [PubMed]
- Randolph, M.F.; Dolwin, J.; Beck, R. Design of driven piles in sand. Geotechnique 1994, 44, 427–448. [Google Scholar] [CrossRef]
- Manandhar, S.; Yasufuku, N. Vertical bearing capacity of tapered piles in sands using cavity expansion theory. Soils Found. 2013, 53, 853–867. [Google Scholar] [CrossRef]
- Gharsallaoui, H.; Jafari, M.; Holeyman, A. Pile end bearing capacity in rock mass using cavity expansion theory. J. Rock Mech. Geotech. Eng. 2020, 12, 1103–1111. [Google Scholar] [CrossRef]
- Meyerhof, G.G. The ultimate bearing capacity of foundations. Geotechnique 1951, 2, 301–332. [Google Scholar] [CrossRef]
- Hanna, A.M.; Nguyen, T.Q. An axisymmetric model for ultimate capacity of a single pile in sand. Soils Found. 2002, 42, 47–58. [Google Scholar] [CrossRef][Green Version]
- Zhang, Q.; Liu, J.; Dai, G.; Gong, W. Calculation methods for ultimate end bearing capacity of large diameter rock-socketed piles. J. Southeast Univ. (Nat. Sci. Ed.) 2018, 48, 118–124. [Google Scholar]
- Jiang, G.; Sun, J.; Wang, X. Finite element lower bound limit solutions for ultimate bearing capacity of subsoil under raft of composite piled foundations. Chin. J. Geotech. Eng. 2011, 33, 128–134. [Google Scholar]
- Zhang, S.; Meng, S.; Wu, T.; Wu, B.; Zhou, Z. Limit analysis for pile tip bearing capacity of grouting pile. J. PLA Univ. Sci. Technol. 2003, 4, 45–47. [Google Scholar]
- Veiskarami, M.; Eslami, A.; Kumar, J. End-bearing capacity of driven piles in sand using the stress characteristics method: Analysis and implementation. Can. Geotech. J. 2011, 48, 1570–1586. [Google Scholar] [CrossRef]
- Valikhah, F.; Eslami, A.; Veiskarami, M. Load–displacement behavior of driven piles in sand using CPT-based stress and strain fields. Int. J. Civ. Eng. 2019, 17, 1879–1893. [Google Scholar] [CrossRef]
- Serrano, A.; Olalla, C. Ultimate bearing capacity at the tip of a pile in rock—Part 1: Theory. Int. J. Rock Mech. Min. Sci. 2002, 39, 833–846. [Google Scholar] [CrossRef]
- Cai, Y.; Xu, B.; Cao, Z.; Geng, X.; Yuan, Z. Solution of the ultimate bearing capacity at the tip of a pile in inclined rocks based on the Hoek-Brown criterion. Int. J. Rock Mech. Min. Sci. 2020, 125, 104140. [Google Scholar] [CrossRef]
- Cao, Z.; Xu, B.; Cai, Y.; Galindo, R.A. Application of the modified Hoek-Brown criterion in the analysis of the ultimate bearing capacity at the tip of a pile in inclined rocks. Int. J. Rock Mech. Min. Sci. 2022, 160, 105276. [Google Scholar] [CrossRef]
- Roscoe, K.H. The influence of strain in soil mechanics. Geotechnique 1970, 20, 129–170. [Google Scholar] [CrossRef]
- Jahanandish, M. Development of a zero extension line method for axially symmetric problems in soil mechanics. Sci. Iran. 2003, 10, 203–210. [Google Scholar]
- Jahanandish, M.; Habibagahi, G.; Veiskarami, M. Bearing capacity factor, Nγ, for unsaturated soils by ZEL method. Acta Geotech. 2010, 5, 177–188. [Google Scholar] [CrossRef]
- Jahanandish, M.; Veiskarami, M.; Ghahramani, A. Effect of stress level on the bearing capacity factor, Nγ, by the ZEL Method. KSCE J. Civ. Eng. 2010, 14, 709–723. [Google Scholar] [CrossRef]
- Jahanandish, M.; Veiskarami, M.; Ghahramani, A. Prediction of the bearing capacity and load-displacement behavior of shallow foundations by the stress-level-based ZEL method. Sci. Iran. 2011, 18, 16–27. [Google Scholar]
- Jahanandish, M.; Veiskarami, M.; Ghahramani, A. Investigation of foundations behavior by implementation of a developed constitutive soil model in the ZEL method. Int. J. Civ. Eng. 2011, 9, 293–306. [Google Scholar]
- Jahanandish, M.; Ansaripour, M. Application of Particle Image Velocimetry in Establishing the Field of Zero Extension Lines in Soils. Iran. J. Sci. Technol. Trans. Civ. Eng. 2016, 40, 337–348. [Google Scholar] [CrossRef]
- Robinsky, E.I.; Morrison, C.F. Sand Displacement and Compaction around Model Friction Piles. Can. Geotech. J. 1964, 1, 81–93. [Google Scholar] [CrossRef]
- Cox, A.D.; Eason, G.; Hopkins, H.G. Axially symmetric plastic deformations in soils. Philos. Trans. R. Soc. A Math. Phys. Eng. Sci. 1961, 254, 1–45. [Google Scholar] [CrossRef]
- Robertson, P.K.; Campanella, R.G. Interpretation of cone penetration tests. Part I: Sand. Can. Geotech. J. 1983, 20, 718–733. [Google Scholar] [CrossRef]
- Meyerhof, G.G. Scale effect of ultimate pile capacity. J. Geotech. Eng. 1983, 109, 797–806. [Google Scholar] [CrossRef]


















| Case No. | Soil Type (Around the Pile Tip) | Diameter /mm | Length /m | Measured Toe Capacity/kN | /MPa | /° | Predicted Toe Capacity/kN | Predicted to Measured Ratio |
|---|---|---|---|---|---|---|---|---|
| 1 | Medium-dense sand | 324 | 16.8 | 315 | 3 | 27 | 310.6 | 0.986 |
| 2 | Medium-dense sand | 324 | 31.1 | 180 | 2 | 19 | 192.1 | 1.067 |
| 3 | Sand | 273 | 9.2 | 355 | 4 | 32 | 348.6 | 0.982 |
| 4 | Sand | 609 | 34.25 | 1650 | 5 | 26 | 1814.5 | 1.100 |
| 5 | Silty sand | 500 | 8.7 | 2000 | 8 | 33 | 2351.1 | 1.176 |
| 6 | Silty sand | 350 | 9.4 | 240 | 2 | 23 | 217.8 | 0.908 |
| 7 | Silty sand | 400 | 9.4 | 310 | 2 | 23 | 284.6 | 0.918 |
| 8 | Medium-dense sand | 508 | 35.85 | 3000 | 15 | 33 | 4710.9 | 1.570 |
| 9 | Medium-dense sand | 508 | 43 | 2600 | 16 | 31 | 3492.8 | 1.343 |
| 10 | Sandy clay | 273 | 13 | 245 | 3 | 28 | 208.0 | 0.849 |
Disclaimer/Publisher’s Note: The statements, opinions and data contained in all publications are solely those of the individual author(s) and contributor(s) and not of MDPI and/or the editor(s). MDPI and/or the editor(s) disclaim responsibility for any injury to people or property resulting from any ideas, methods, instructions or products referred to in the content. |
© 2024 by the authors. Licensee MDPI, Basel, Switzerland. This article is an open access article distributed under the terms and conditions of the Creative Commons Attribution (CC BY) license (https://creativecommons.org/licenses/by/4.0/).
Share and Cite
Xie, X.; Gong, T.; Wang, Z.; Liu, K.; Zheng, X. Analysis of the End-Bearing Capacity of Piles in Sand Under Limited Region Failure by a Mixed Zero-Extension Line Method. Appl. Sci. 2024, 14, 9713. https://doi.org/10.3390/app14219713
Xie X, Gong T, Wang Z, Liu K, Zheng X. Analysis of the End-Bearing Capacity of Piles in Sand Under Limited Region Failure by a Mixed Zero-Extension Line Method. Applied Sciences. 2024; 14(21):9713. https://doi.org/10.3390/app14219713
Chicago/Turabian StyleXie, Xinyu, Tao Gong, Zhongjin Wang, Kaifu Liu, and Xudong Zheng. 2024. "Analysis of the End-Bearing Capacity of Piles in Sand Under Limited Region Failure by a Mixed Zero-Extension Line Method" Applied Sciences 14, no. 21: 9713. https://doi.org/10.3390/app14219713
APA StyleXie, X., Gong, T., Wang, Z., Liu, K., & Zheng, X. (2024). Analysis of the End-Bearing Capacity of Piles in Sand Under Limited Region Failure by a Mixed Zero-Extension Line Method. Applied Sciences, 14(21), 9713. https://doi.org/10.3390/app14219713

