Designing and Implementing a Public Urban Transport Scheduling System Based on Artificial Intelligence for Smart Cities
Abstract
1. Introduction
1.1. Public Urban Transport
1.2. Traffic Management Systems
- Designing a Public Urban Transport Scheduling System (PUTSS) algorithm that has dynamic decision-making capabilities in real-time urban transportation management by adjusting bus schedules, optimizing service for passengers while minimizing operational costs for the transport provider;
- Integrating Google Maps Service data that identify congestion levels with AI techniques that estimate the number of people at transit stations;
- Implementing Microsoft Azure Computer Vision services to monitor and count passengers at each station in real time and address sudden changes in passenger numbers.
2. Materials and Methods
- The Statistical Data Component (SDC) uses historical and real-time statistical data to predict passenger numbers at various stations. The SDC prevents scenarios where passengers arrive at a station just before the bus, which would not allow the algorithm to adjust the fleet frequency in real time. It identifies patterns and trends in passenger flow based on time of day, day of the week, and special events. The advantages are as follows:
- ○
- Helps in planning and deploying resources efficiently based on historical data;
- ○
- Allows for preemptive adjustments in fleet frequency to manage expected congestion.
- The Real-Time Computer Vision Component (RTCVC) employs intelligent computer vision services to monitor and count passengers at each station in real time. The RTCVC allows for real-time adjustments to fleet frequency, addressing sudden changes in passenger numbers. It handles unexpected situations such as heavy rain, concerts, or other events that cause deviations from the usual statistical patterns. The RTCVC’s advantages are as follows:
- ○
- Provides immediate insights into the current number of passengers waiting at each station;
- ○
- Enables the system to adjust the fleet dynamically, ensuring optimal service even during unpredicted spikes in demand.
2.1. SDC Module
- Station identification with Google Maps Service. Each public urban transport station was identified using Google Maps Service for the analyzed route;
- Data retrieval using Selenium WebDriver to scrape data related to congestion levels in each hour of the day from Google Maps Service. Selenium WebDriver’s automated browsing capabilities allowed for systematic data collection;
- Real-time congestion levels were computed to compare current level congestion against the estimated daily averages. The estimated daily average congestion levels are known to the public urban transport provider and serve as a baseline for comparison;
- Algorithm adjustment based on real-time data. By comparing real-time congestion data with historical daily averages, the algorithm can make informed decisions about adjusting the frequency and deployment of public urban transport vehicles.
2.2. RTCVC Module
2.3. Person Identification Accuracy with Azure Computer Vision
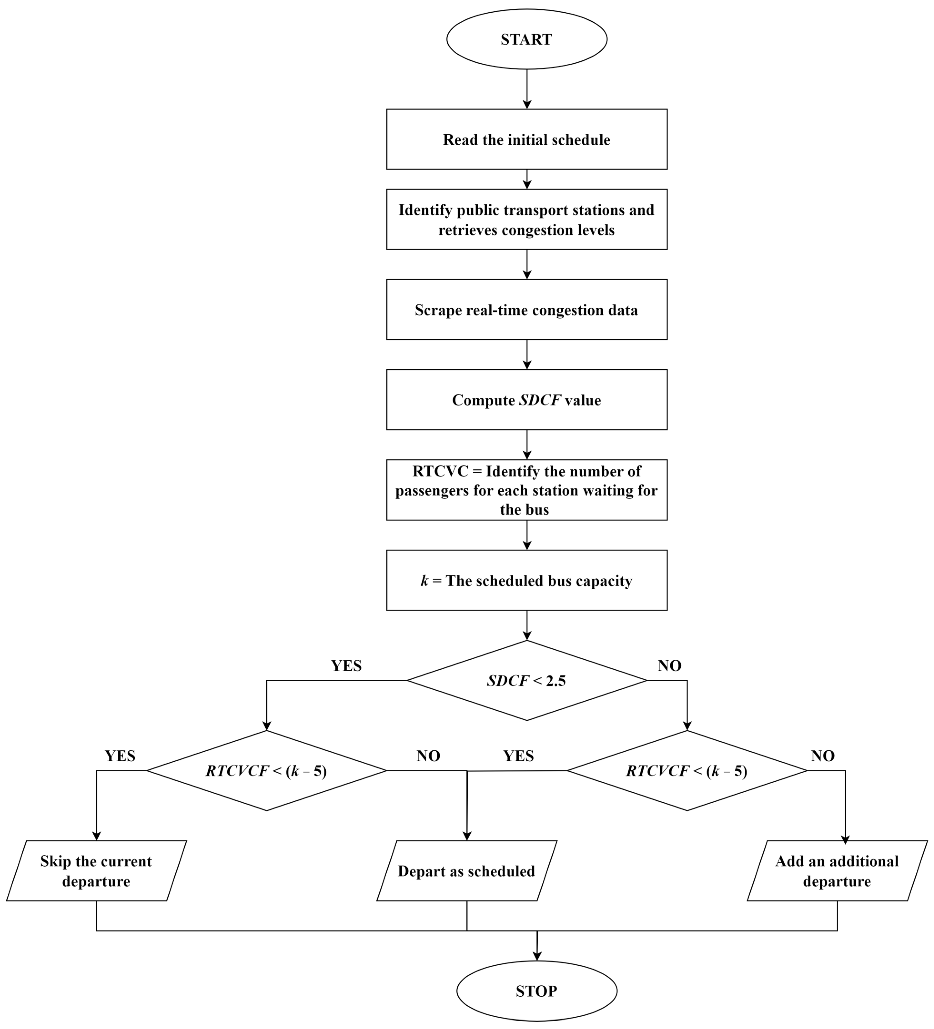
2.4. Proposed PUTSS Algorithm
- Public urban transport vehicles do not run empty;
- Passengers do not wait excessively long at stations.
- A value of −1 if a scheduled run can be skipped;
- A value of 0 if the bus should depart on its scheduled run;
- A value of 1 if an additional run should be added because of high identified congestion levels.
- The algorithm receives two primary inputs including historical congestion data (from the Statistical Data Component, SDC) and real-time visual information about passengers at bus stops (from the Real-Time Computer Vision Component, RTCVC). Google Maps provides real-time traffic data, while Microsoft Azure’s Computer Vision service identifies the number of passengers at bus stops in real time. These two components feed data into the system continuously;
- The SDC component relies on historical data to predict future congestion levels. For a given station i at time t, the congestion level is classified into one of six categories as follows: light, moderate, heavier-than-usual, heavy, peak hours, or standstill;
- The RTCVC component processes the visual data to count passengers at a given station i. The RTCVCF is calculated based on the number of passengers detected and the bus capacity k. If the number of detected passengers exceeds the capacity, the system triggers an alert for additional resources;
- The decision to add, cancel, or modify a bus departure is based on the combined factors from the SDCF and RTCVCF. The dynamic nature of this decision-making process allows the system to respond flexibly to fluctuations in real-time demand;
- The algorithm’s core optimization goal is to prove the possibility of minimizing passenger waiting time and transportation service operational costs;
- The final schedule adjustments are made based on a pre-defined maximum waiting time of 15 min. If the calculated decision output indicates that passenger demand exceeds the bus capacity at any station, the system adjusts the schedule dynamically, adding or canceling trips accordingly. In the Result Section, these adjustments showcase the algorithm’s decision-making for a sample route.
3. Results
- Integrating real-time GPS data from buses and traffic monitoring systems into the PUTSS algorithm may involve dealing with inconsistent data formats, communication delays, and network outages;
- In real-world scenarios, the precision of data collected through camera sensors for detecting passenger counts might vary because of environmental factors such as poor lighting, weather conditions, or obstructions;
- The system’s performance needs to be tested under varying traffic conditions and with different fleet sizes to ensure that the PUTSS algorithm can handle peak urban traffic efficiently without increasing operational costs.
- Data Collection: The system collects historical data about crowd levels at each station. This includes the following:
- Time of day and day of the week.
- Special events (e.g., sports games, concerts).
- Weather conditions, traffic disruptions, etc.
- Classification: The algorithm classifies each station’s congestion status based on historical patterns. Congestion statuses include the following six stages: light, moderate, heavier-than-usual, heavy, peak hours, and standstill.
- Average Congestion Factor Calculation: The algorithm calculates an average congestion factor for the entire route or a section using relation (1).
4. Discussion
4.1. The PUTSS Algorithm Scenarios
- Fewer empty buses on the road. One of the leading environmental issues with traditional bus systems is the inefficiency of buses running on fixed schedules, even when there is little or no demand. This results in buses traveling with few or no passengers, wasting fuel and resources. The PUTSS algorithm adapts to real-time demand, ensuring that buses run only when and where needed. This reduces the number of empty or underutilized buses on the road, directly cutting down fuel consumption.
- Lower CO2 emissions. By optimizing the schedule, the PUTSS algorithm reduces the time buses spend idling in traffic or running off schedule. Efficient routes mean less fuel is burned per trip, which translates to lower CO2 emissions, an essential requirement in smart cities. Given that, nowadays, in most cities, buses are often diesel-powered (and their electrification is just beginning), which produces higher levels of pollution than gasoline, even small reductions in bus trips or fuel usage can have a significant impact on overall emissions.
- Less traffic congestion: When buses run more efficiently, with fewer vehicles on the road at unnecessary times, there is a reduction in overall traffic congestion. This, in turn, means that other vehicles (cars, trucks, etc.) can move more smoothly, leading to less stop-and-go traffic. Vehicles burn more fuel when constantly stopping and starting, so reducing congestion by the PUTSS algorithm helps improve fuel efficiency and lowers emissions across the entire transportation network in a smart city.
- Encouraging public transportation use: A more reliable and optimized bus schedule by the PUTSS algorithm improves the overall experience for passengers, making public transportation a more attractive option. As more people choose buses over personal cars, the number of individual vehicles on the road decreases. This shift from private vehicles to public transport can significantly reduce the total emissions of a city, as fewer cars are needed to move the same number of people.
- Supporting sustainable urban growth. Smart cities need to optimize public transportation systems to grow sustainably. Reduced emissions and better resource use contribute to cleaner air quality and lower noise pollution, enhancing the overall environmental health of urban areas.
4.2. Handling Uncertainty in the PUTSS Algorithm
4.3. Future Work
5. Conclusions
Author Contributions
Funding
Institutional Review Board Statement
Informed Consent Statement
Data Availability Statement
Conflicts of Interest
References
- Kita, H.; Komoda, S.; Ozaki, R. A Quantified Planning Method of Local Public Transport Services for Expanding Residents’ Activity Opportunities. Transp. Policy 2024, in press. [Google Scholar] [CrossRef]
- Khademi-Vidra, A.; Nemecz, G.; Mária Bakos, I. Satisfaction measurement in the sustainable public transport of Budapest. Transp. Res. Interdiscip. Perspect. 2024, 23, 100989. [Google Scholar] [CrossRef]
- Nichols, A.; Ryan, J.; Palmqvist, C.-W. The importance of recurring public transport delays for accessibility and mode choice. J. Transp. Geogr. 2024, 115, 103796. [Google Scholar] [CrossRef]
- Wong, H.; Yap, M. A data driven approach to update public transport service elasticities. J. Public Transp. 2023, 25, 100066. [Google Scholar] [CrossRef]
- Luan, X.; Eikenbroek, O.A.L.; Corman, F.; Van Berkum, E.C. Passenger social rerouting strategies in capacitated public transport systems. Transp. Res. Part E Logist. Transp. Rev. 2024, 188, 103598. [Google Scholar] [CrossRef]
- Sharma, P.; Herminghaus, S.; Heuer, H.; Heidemann, K.M. Impact of the density of line service stations on overall performance in Bi-modal public transport settings. Multimodal Transp. 2024, 3, 100118. [Google Scholar] [CrossRef]
- García-Mauriño, C.; Zufiria, P.J.; Jarabo-Peñas, A. Improving bus arrival time predictors using only public transport API data. Transp. Lett. 2023, 16, 804–813. [Google Scholar] [CrossRef]
- Wang, Z.; Huang, K.; Massobrio, R.; Bombelli, A.; Cats, O. Quantification and comparison of hierarchy in Public Transport Networks. Phys. A Stat. Mech. Its Appl. 2024, 634, 129479. [Google Scholar] [CrossRef]
- Bajcetic, S.A.; Zivanovic, P.V.; Tica, S.M.; Petrovic, M.M.; Dorojevic, A.M.; Milovanovic, B.M. Implementation of the new public transport management system in Belgrade. In Proceedings of the 11th International Conference on Telecommunications in Modern Satellite, Cable and Broadcasting Services (TELSIKS), Nis, Serbia, 16–19 October 2013; pp. 643–646. [Google Scholar] [CrossRef]
- Yakimov, M.R. The Use of Various Input Data in the Design of Public Transport Route Networks. In Proceedings of the Systems of Signals Generating and Processing in the Field of on Board Communications, Moscow, Russia, 19–20 March 2020; pp. 1–5. [Google Scholar] [CrossRef]
- Horazdovsky, P.; Svitek, M. Implementation of Smart Dynamic Public Transport into a Real Operation. In Proceedings of the Smart City Symposium Prague (SCSP), Prague, Czech Republic, 27–28 May 2021; pp. 1–6. [Google Scholar] [CrossRef]
- Gheorghiu, R.A.; Iordache, V.; Stan, V.A. Computer vision application to determine crowdedness in public transport stations. In Proceedings of the 13th International Conference on Electronics, Computers and Artificial Intelligence (ECAI), Pitesti, Romania, 1–3 July 2021; pp. 1–4. [Google Scholar] [CrossRef]
- Kasatkina, E.; Vavilova, D.; Ketova, K. Optimization of the Public Transport System Using Data Analysis Methods. In Proceedings of the 4th International Conference on Control Systems, Mathematical Modeling, Automation and Energy Efficiency (SUMMA), Lipetsk, Russian, 9–11 November 2022; pp. 174–177. [Google Scholar] [CrossRef]
- Saddal, M.; Rasheed, A.; Qureshi, I.-U.-H.; Irfan, M.; Rehman, A.; Abbasi, R.A.; Sabir, I.; Irfan, H.; Zaman, M. Public Transport Network Data; A Case-Study of Islamabad. In Proceedings of the 18th International Conference on Emerging Technologies (ICET), Peshawar, Pakistan, 6–7 November 2023; pp. 269–274. [Google Scholar] [CrossRef]
- Douskova, N.; Novotny, V.; Richter, P.; Jirmanova, M. Pilot Study of Using Google Traffic Data to Assess Conditions for Public Transport Operation on Urban Roads. In Proceedings of the Smart City Symposium Prague (SCSP), Prague, Czech Republic, 26–27 May 2022; pp. 1–5. [Google Scholar] [CrossRef]
- Guo, Y.; Li, H.; Li, X.; Gu, L.; Zhang, J. System Observability Analysis Based on Multiple Source Mixed Traffic Sensors. In Proceedings of the 2020 Chinese Automation Congress (CAC), Shanghai, China, 6–8 November 2020; pp. 7516–7520. [Google Scholar] [CrossRef]
- Elmrini, A.; Amrani, A.G. Wireless Sensors Network for Traffic Surveillance and Management in Smart Cities. In Proceedings of the 2018 IEEE 5th International Congress on Information Science and Technology (CiSt), Marrakech, Morocco, 21–27 October 2018; pp. 562–566. [Google Scholar] [CrossRef]
- Jha, A.; Agrawal, P.; Kaur, R.; Agrawal, A.; Bhattacharya, M. IoT Based Smart Traffic Controller System. In Proceedings of the 2023 Second International Conference on Informatics (ICI), Noida, India, 23–25 November 2023; pp. 1–5. [Google Scholar] [CrossRef]
- Syum Gebre, T.; Beni, L.; Tsehaye Wasehun, E.; Elikem Dorbu, F. AI-Integrated Traffic Information System: A Synergistic Approach of Physics Informed Neural Network and GPT-4 for Traffic Estimation and Real-Time Assistance. IEEE Access 2024, 12, 65869–65882. [Google Scholar] [CrossRef]
- Klein, L.A. Roadside Sensors for Traffic Management. IEEE Intell. Transp. Syst. Mag. 2024, 16, 21–44. [Google Scholar] [CrossRef]
- Saldivar-Carranza, E.D.; Bullock, D.M. Deriving Verified Vehicle Trajectories from LiDAR Sensor Data to Evaluate Traffic Signal Performance. Future Transp. 2024, 4, 765–779. [Google Scholar] [CrossRef]
- Beti, I.-A.; Herghelegiu, P.-C.; Caruntu, C.-F. Architectural Framework to Enhance Image-Based Vehicle Positioning for Advanced Functionalities. Information 2024, 15, 323. [Google Scholar] [CrossRef]
- Olugbade, S.; Ojo, S.; Imoize, A.L.; Isabona, J.; Alaba, M.O. A Review of Artificial Intelligence and Machine Learning for Incident Detectors in Road Transport Systems. Math. Comput. Appl. 2022, 27, 77. [Google Scholar] [CrossRef]
- Kirwan, B. The Impact of Artificial Intelligence on Future Aviation Safety Culture. Future Transp. 2024, 4, 349–379. [Google Scholar] [CrossRef]
- Basheer Ahmed, M.I.; Zaghdoud, R.; Ahmed, M.S.; Sendi, R.; Alsharif, S.; Alabdulkarim, J.; Albin Saad, B.A.; Alsabt, R.; Rahman, A.; Krishnasamy, G. A Real-Time Computer Vision Based Approach to Detection and Classification of Traffic Incidents. Big Data Cogn. Comput. 2023, 7, 22. [Google Scholar] [CrossRef]
- Shepelev, V.; Glushkov, A.; Bedych, T.; Gluchshenko, T.; Almetova, Z. Predicting the Traffic Capacity of an Intersection Using Fuzzy Logic and Computer Vision. Mathematics 2021, 9, 2631. [Google Scholar] [CrossRef]
- Jaiswal, M.; Gupta, N.; Rana, A. Real-time Traffic Management in Emergency using Artificial Intelligence. In Proceedings of the 2020 8th International Conference on Reliability, Infocom Technologies and Optimization (Trends and Future Directions) (ICRITO), Noida, India, 4–5 June 2020; pp. 699–702. [Google Scholar] [CrossRef]
- Wu, B. Research on a Traffic Signal Control Method Based on Deep Reinforcement Learning. In Proceedings of the 24 IEEE 4th International Conference on Power, Electronics and Computer Applications (ICPECA), Shenyang, China, 26–28 January 2024; pp. 53–57. [Google Scholar] [CrossRef]
- Nechoska, D.K.; Nechkoska, R.P.; Duma, R. Application of Artificial Intelligence for Traffic Data Analysis, Simulations and Adaptation. In Proceedings of the 2022 57th International Scientific Conference on Information, Communication and Energy Systems and Technologies (ICEST), Ohrid, North Macedonia, 16–18 June 2022; pp. 1–4. [Google Scholar] [CrossRef]
- Sony, A.K.; Bhushan, B.; Astya, R. Revolutionizing Transportation System Using Artificial Intelligence Technique. In Proceedings of the 2023 International Conference on Computing, Communication, and Intelligent Systems (ICCCIS), Greater Noida, India, 3–4 November 2023; pp. 1171–1176. [Google Scholar] [CrossRef]
- Makahleh, H.Y.; Ferranti, E.J.S.; Dissanayake, D. Assessing the Role of Autonomous Vehicles in Urban Areas: A Systematic Review of Literature. Future Transp. 2024, 4, 321–348. [Google Scholar] [CrossRef]
- Hou, K.; Giannopoulos, G. Modeling the Deployment and Management of Large-Scale Autonomous Vehicle Circulation in Mixed Road Traffic Conditions Considering Virtual Track Theory. Future Transp. 2024, 4, 215–235. [Google Scholar] [CrossRef]
- Aguilar-Ibanez, C.; Suarez-Castanon, M.S.; García-Canseco, E.; Rubio, J.D.J.; Barron-Fernandez, R.; Martinez, J.C. Trajectory Tracking Control of an Autonomous Vessel in the Presence of Unknown Dynamics and Disturbances. Mathematics 2024, 12, 2239. [Google Scholar] [CrossRef]
- Guo, X.-Y.; Jia, A.-F. Study on traffic flow mixed with autonomous vehicles and human-driven vehicles. In Proceedings of the 2022 3rd International Conference on Intelligent Design (ICID), Xi’an, China, 21–23 October 2022; pp. 166–171. [Google Scholar] [CrossRef]
- Zhou, W.; Liu, M.; Liu, T.; Wang, Y. Influence of Bus Bay on Heterogeneous Traffic Flow Consisting of Human Driving and Autonomous Vehicles. IEEE Access 2023, 11, 89455–89468. [Google Scholar] [CrossRef]
- Sarath, P. Deep NN-Based Autonomous Vehicle Framework for Route Selection and Traffic Control Using Golden Levy Optimization. In Proceedings of the 2023 7th International Conference on Electronics, Communication and Aerospace Technology (ICECA), Coimbatore, India, 22–24 November 2023; pp. 517–522. [Google Scholar] [CrossRef]
- Andreotti, E.; Selpi; Boyraz, P. Potential impact of autonomous vehicles in mixed traffic from simulation using real traffic flow. J. Intell. Connect. Veh. 2023, 6, 1–15. [Google Scholar] [CrossRef]
- Gupta, N.; Saawan, S.; Kumar, S.; Khan, M.U. Enhancing Traffic Flow Efficiency and Mitigating Congestion through ML-Based Traffic Management Strategies. In Proceedings of the 2023 International Conference on Advances in Computation, Communication and Information Technology (ICAICCIT), Faridabad, India, 23–24 November 2023; pp. 737–743. [Google Scholar] [CrossRef]
- Mao, X. The Mixed Impact of Autonomous Vehicles on Urban Traffic. In Proceedings of the 2021 3rd International Academic Exchange Conference on Science and Technology Innovation (IAECST), Guangzhou, China, 10–12 December 2021; pp. 1471–1476. [Google Scholar] [CrossRef]
- Mondal, M.A.; Rehena, Z. Identifying Traffic Congestion Pattern using K-means Clustering Technique. In Proceedings of the 2019 4th International Conference on Internet of Things: Smart Innovation and Usages (IoT-SIU), Ghaziabad, India, 18–19 April 2019; pp. 1–5. [Google Scholar] [CrossRef]
- Singh, S.; Singh, B.; Ramandeep; Singh, B.; Das, A. Automatic Vehicle Counting for IoT based Smart Traffic Management System for Indian urban Settings. In Proceedings of the 2019 4th International Conference on Internet of Things: Smart Innovation and Usages (IoT-SIU), Ghaziabad, India, 18–19 April 2019; pp. 1–6. [Google Scholar] [CrossRef]
- Akhtar, M.; Raffeh, M.; Ul Zaman, F.; Ramzan, A.; Aslam, S.; Usman, F. Development of congestion level based dynamic traffic management system using IoT. In Proceedings of the 2020 International Conference on Electrical, Communication, and Computer Engineering (ICECCE), Istanbul, Turkey, 12–13 June 2020; pp. 1–6. [Google Scholar] [CrossRef]
- Gupta, A.K.; Johari, R. IOT based Electrical Device Surveillance and Control System. In Proceedings of the 2019 4th International Conference on Internet of Things: Smart Innovation and Usages (IoT-SIU), Ghaziabad, India, 18–19 April 2019; pp. 1–5. [Google Scholar] [CrossRef]
- Amer, M.; Maher, R. PV/IoT based Smart Traffic Management System. In Proceedings of the 2022 International Conference on Electrical, Computer, Communications and Mechatronics Engineering (ICECCME), Maldives, Maldives, 16–18 November 2022; pp. 1–6. [Google Scholar] [CrossRef]
- Shobana, S.; Shakunthala, M.; Vimala, J.C.; Kingslin, M.T.; Sivarajan, S.; Lakshmi, K.R.C. IoT based on Smart Traffic Lights and Streetlight System. In Proceedings of the 2023 2nd International Conference on Edge Computing and Applications (ICECAA), Namakkal, India, 19–21 July 2023; pp. 1311–1316. [Google Scholar] [CrossRef]
- Usmonov, S.; Pradeep, A.; Fakhriddinov, Z.; Sanjar, T.; Abdurakhim, A.; Khusniddinova, M. Intelligent Traffic Management System: AI-Enabled IoT Traffic Lights to Mitigate Accidents and Minimize Environmental Pollution. In Proceedings of the 2023 3rd International Conference on Intelligent Technologies (CONIT), Hubli, India, 23–25 June 2023; pp. 1–6. [Google Scholar] [CrossRef]
- Talukder, M.Z.; Towqir, S.S.; Remon, A.R.; Zaman, H.U. An IoT based automated traffic control system with real-time update capability. In Proceedings of the 2017 8th International Conference on Computing, Communication and Networking Technologies (ICCCNT), Delhi, India, 3–5 July 2017; pp. 1–6. [Google Scholar] [CrossRef]
- Zhu, Y. Collaborative Intelligent Traffic Planning in the Internet of Vehicles. Sensors 2024, 24, 1303. [Google Scholar] [CrossRef]
- Ullah, I.; Ali, F.; Khan, H.; Khan, F.; Bai, X. Ubiquitous computation in internet of vehicles for human-centric transport systems. Comput. Hum. Behav. 2024, 161, 108394. [Google Scholar] [CrossRef]




| Google Maps Service Status | Congestion Factor |
|---|---|
| Light | 1 |
| Moderate | 2 |
| Heavier-than-usual | 3 |
| Heavy | 4 |
| Peak hours | 5 |
| Standstill | 6 |
| Station No | Congestion Status | Congestion Factor |
|---|---|---|
| Station 1 | Light | 1 |
| Station 2 | Moderate | 2 |
| Station 3 | Heavier-than-usual | 3 |
| Station 4 | Moderate | 2 |
| Station 5 | Heavy | 4 |
| Station 6 | Light | 1 |
| Test No. | Result | LAR | Test No. | Result | LAR | Test No. | Result | LAR | Test No. | Result | LAR |
|---|---|---|---|---|---|---|---|---|---|---|---|
| 1. | 3/5 | 60% | 26. | 4/4 | 100% | 51. | 4/5 | 80% | 76. | 1/1 | 100% |
| 2. | 2/4 | 50% | 27. | 4/4 | 100% | 52. | 1/1 | 100% | 77. | 7/10 | 70% |
| 3. | 5/5 | 100% | 28. | 4/4 | 100% | 53. | 1/1 | 100% | 78. | 10/10 | 100% |
| 4. | 6/7 | 85% | 29. | 4/4 | 100% | 54. | 2/2 | 100% | 79. | 3/5 | 60% |
| 5. | 6/7 | 85% | 30. | 5/5 | 100% | 55. | 1/1 | 100% | 80. | 4/5 | 80% |
| 6. | 6/7 | 85% | 31. | 4/4 | 100% | 56. | 1/1 | 100% | 81. | 1/1 | 100% |
| 7. | 4/5 | 80% | 32. | 2/4 | 50% | 57. | 1/1 | 100% | 82. | 2/2 | 100% |
| 8. | 3/3 | 100% | 33. | 5/5 | 100% | 58. | 3/3 | 100% | 83. | 1/1 | 100% |
| 9. | 3/3 | 100% | 34. | 5/5 | 100% | 59. | 3/3 | 100% | 84. | 1/1 | 100% |
| 10. | 2/2 | 100% | 35. | 4/5 | 80% | 60. | 5/5 | 100% | 85. | 6/6 | 100% |
| 11. | 2/2 | 100% | 36. | 2/5 | 40% | 61. | 5/5 | 100% | 86. | 3/3 | 100% |
| 12. | 2/2 | 100% | 37. | 7/7 | 100% | 62. | 4/5 | 80% | 87. | 4/4 | 100% |
| 13 | 7/7 | 100% | 38. | 5/7 | 71% | 63. | 5/5 | 100% | 88. | 5/5 | 100% |
| 14. | 5/5 | 100% | 39. | 6/6 | 100% | 64. | 4/5 | 100% | 89. | 5/5 | 100% |
| 15. | 7/7 | 100% | 40. | 3/3 | 100% | 65. | 4/5 | 100% | 90. | 5/5 | 100% |
| 16. | 8/8 | 100% | 41. | 2/3 | 66% | 66. | 2/5 | 40% | 91. | 4/4 | 100% |
| 17. | 7/7 | 100% | 42. | 1/3 | 33% | 67. | 6/6 | 100% | 92. | 5/5 | 100% |
| 18. | 4/4 | 100% | 43. | 2/2 | 100% | 68. | 3/3 | 100% | 93. | 5/6 | 83% |
| 19. | 5/5 | 100% | 44. | 3/3 | 100% | 69. | 2/6 | 33% | 94. | 4/4 | 100% |
| 20. | 77 | 100% | 45. | 2/2 | 100% | 70. | 2/5 | 40% | 95. | 2/2 | 100% |
| 21. | 2/2 | 100% | 46. | 8/8 | 100% | 71. | 2/5 | 40% | 96. | 5/5 | 100% |
| 22. | 4/4 | 100% | 47. | 3/3 | 100% | 72. | 3/3 | 100% | 97. | 4/5 | 80% |
| 23. | 4/4 | 100% | 48. | 3/3 | 100% | 73. | 1/1 | 100% | 98. | 9/10 | 90% |
| 24. | 3/3 | 100% | 49. | 1/5 | 20% | 74. | 2/2 | 100% | 99. | 4/4 | 100% |
| 25. | 4/4 | 100% | 50. | 1/5 | 20% | 75. | 2/2 | 100% | 100. | 2/2 | 100% |
| Scheduled Departure | k | SDCF | RTCVCF | Decision | Action Taken |
|---|---|---|---|---|---|
| 08:00 | 40 | 3 | 15 | 0 | No changes; the bus departs as scheduled |
| 08:15 | 40 | 5 | 36 | −1 | The programmed and the next scheduled bus go |
| 08:30 | 40 | 2 | 10 | 0 | The next bus is canceled |
| 08:45 | 40 | 6 | 36 | 1 | The programmed and the next scheduled bus go |
| 09:00 | 40 | 2 | 20 | 0 | The next bus is canceled |
| 09:15 | 40 | 3 | 10 | 0 | No changes; the bus departs as scheduled |
| 09:30 | 40 | 5 | 30 | −1 | No changes; the bus departs as scheduled |
Disclaimer/Publisher’s Note: The statements, opinions and data contained in all publications are solely those of the individual author(s) and contributor(s) and not of MDPI and/or the editor(s). MDPI and/or the editor(s) disclaim responsibility for any injury to people or property resulting from any ideas, methods, instructions or products referred to in the content. |
© 2024 by the authors. Licensee MDPI, Basel, Switzerland. This article is an open access article distributed under the terms and conditions of the Creative Commons Attribution (CC BY) license (https://creativecommons.org/licenses/by/4.0/).
Share and Cite
Rosca, C.-M.; Stancu, A.; Neculaiu, C.-F.; Gortoescu, I.-A. Designing and Implementing a Public Urban Transport Scheduling System Based on Artificial Intelligence for Smart Cities. Appl. Sci. 2024, 14, 8861. https://doi.org/10.3390/app14198861
Rosca C-M, Stancu A, Neculaiu C-F, Gortoescu I-A. Designing and Implementing a Public Urban Transport Scheduling System Based on Artificial Intelligence for Smart Cities. Applied Sciences. 2024; 14(19):8861. https://doi.org/10.3390/app14198861
Chicago/Turabian StyleRosca, Cosmina-Mihaela, Adrian Stancu, Cosmin-Florinel Neculaiu, and Ionuț-Adrian Gortoescu. 2024. "Designing and Implementing a Public Urban Transport Scheduling System Based on Artificial Intelligence for Smart Cities" Applied Sciences 14, no. 19: 8861. https://doi.org/10.3390/app14198861
APA StyleRosca, C.-M., Stancu, A., Neculaiu, C.-F., & Gortoescu, I.-A. (2024). Designing and Implementing a Public Urban Transport Scheduling System Based on Artificial Intelligence for Smart Cities. Applied Sciences, 14(19), 8861. https://doi.org/10.3390/app14198861

