Next Article in Journal
Currents’-Physical-Component-Based Reactive Power Compensation Optimization in Three-Phase, Four-Wire Systems
Next Article in Special Issue
Influence of Nonstationary Processes in Drill Rigs on the Durability of Structural Elements
Previous Article in Journal
Effect of Subsequent Subgrade on Seismic Response of the High-Speed Railway Track–Bridge System
Previous Article in Special Issue
Upgrade of the Universal Testing Machine for the Possibilities of Fatigue Tests in a Limited Mode
 
 
Font Type:
Arial Georgia Verdana
Font Size:
Aa Aa Aa
Line Spacing:
Column Width:
Background:
Article

Evaluation of the Technical Condition of Pipes during the Transportation of Hydrogen Mixtures According to the Energy Approach

1
Karpenko Physico-Mechanical Institute of the NAS of Ukraine, 79601 Lviv, Ukraine
2
Institute of Civil Engineering and Building Systems, Lviv Polytechnic National University, 79000 Lviv, Ukraine
3
Faculty of Mechanical Engineering and Aeronautics, Ignacy Łukasiewicz Rzeszow University of Technology, 35-959 Rzeszow, Poland
4
Faculty of Civil Engineering, Czestochowa University of Technology, 42-201 Czestochowa, Poland
*
Author to whom correspondence should be addressed.
Appl. Sci. 2024, 14(12), 5040; https://doi.org/10.3390/app14125040
Submission received: 25 April 2024 / Revised: 5 June 2024 / Accepted: 6 June 2024 / Published: 10 June 2024
(This article belongs to the Special Issue Fatigue Strength of Machines and Systems)

Abstract

In this study, a theoretical–experimental methodology for determining the stress–strain state in pipeline systems, taking into account the hydrogen environment, was developed. A complex of theoretical and experimental studies was conducted to determine the specific energy of destruction as an invariant characteristic of the material’s resistance to strain at different hydrogen concentrations. The technique is based on the construction of complete diagrams of the destruction of the material based on the determination of true strains and stresses in the local volume using the method involving the optical–digital correlation of speckle images. A complex of research was carried out, and true diagrams of material destruction were constructed, depending on the previous elastic–plastic strain and the action of the hydrogen environment. The change in the concentration of hydrogen absorbed by the material was estimated, depending on the value of the specific energy of destruction. A study was conducted on tubular samples, and the degree of damage to the material of the inner wall under the action of hydrogen and stress from the internal pressure was evaluated according to the change in specific energy, depending on the value of the true strain established with the help of an optical–digital correlator on the outer surface, and the degree of damage was determined. It has been established that the specific fracture energy of 17G1S steel decreases by 70–90% under the influence of hydrogen. The effect of the change in the amount of strain energy on the thickness of the pipe wall is illustrated.

1. Introduction

The assessment and establishment of a safe period of operation for industrial pipeline systems in the transportation of oil and gas is an urgent problem for the petrochemical and thermal energy industry [1,2,3,4,5]. The assessment of the stress–strain state by classical approaches does not consider the interaction of the metal with an aggressive working environment, particularly hydrogen, which significantly affects the bearing capacity of the pipeline. As a result of the embrittlement of the metal of the pipe with hydrogen, there is a change in the characteristics of resistance to strain and destruction.
Given that hydrogen interacting with metal on the one hand facilitates the nucleation and development of defects in local volumes [6,7,8,9], and on the other hand accelerates its degradation due to the flooding ability of the media, which is caused by their electrochemical interaction with the metal and the release of hydrogen [10,11,12,13,14,15,16], this process is enhanced by a change in the stress–strain state in local volumes due to its change along the length of the pipe (bends, bends). All changes are most fully manifested on the inner surface of the pipe in contact with the environment, which affects the operational degradation that occurs under the combined action of stresses under the working pressure and corrosive–wetting environments, which reduces the material’s resistance to strain and destruction.
Mechanical and structural–fractographic methods [17,18] are known to assess the operational degradation of pipe steels; these are based on establishing a change in the basic mechanical characteristics, particularly a decrease in the characteristics of plasticity and resistance to brittle fracture, which are determined for samples made from operational steels via a comparison with the material’s initial state.
Corrosion and hydrogen–mechanical methods are based on the assessment of hydrogen embrittlement, which is established by comparing the mechanical properties of pre-flooded steels in the initial and operational states [10]. Electrochemical methods are based on establishing the changes that occur in sensitive indicators, particularly the polarization resistance and corrosion current density before operational changes in the state of steels [10].
It should be noted that the metal flooding process occurs under operating conditions where the stress–strain state in the pipeline can change from elastic to elastic–plastic, which affects the concentration of hydrogen in local volumes and reduces the bearing capacity [19].
This paper developed a theoretical and experimental approach to evaluating the safe service life of the pipeline system during the transportation of hydrogen mixtures. The basis of the proposed approach is the energy approach, according to which the main characteristic of the resistance of the material is the specific energy of strain and destruction, which is invariant to the load conditions and the influence of the hydrogen environment.

2. Materials and Methods

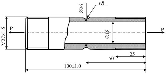
According to the proposed method, tubular samples of 17G1C steel (low-alloy steel used to manufacture welded and non-welded metal structures for construction and machine building purposes) were made to construct complete equilibrium strain diagrams (Figure 1).
The construction of complete equilibrium diagrams to determine the specific energy of strain and failure with a stress concentrator was carried out under the axial tension of the tubular sample. During the stretching process, the amount of force P and the change in elongation Δl along the bottom of the concentrator were recorded on a 0.5 mm base, using the method involving the optical-digital correlation of speckle images, which corresponds to the condition of invariance of strain for this steel [19].
The value of the true stresses Si was determined in the zone of maximum strains along the bottom of the concentrator. For this, the results of reducing the cross-section of the sample are taken into account. According to the results of the research in laboratory conditions, true diagrams of the strain and destruction, which are invariant characteristics for a given material, were constructed. Analogous diagrams were created and the determination of the specific energy of the strain and destruction was carried out, allowing for the possible influence of hydrogen at different degrees of the preliminary strain of the sample.
In the course of the tests, the tensile force P was recorded using the standard dynamometer of the FP-100 machine at a strain rate of 2.0 × 10 s−1. At the same time, during the stretching of the sample, movement along the bottom of the stress concentrator and also on a cylindrical surface was recorded using optical–digital image correlation (DIC). The image for processing by the DIC method was obtained by an optical system based on a Toupcan USMOS (Shanghai, China) 10,000 kPa industrial camera with a Xenoplan lens (Schneider Optics, Nuremberg, Germany), which was fixed on a special platform to the moving traverse of the machine. The resolution of the camera was 8 MP (3264 × 2448 pixels). During the experiment, a video was recorded with a shooting frequency of 24 fps; this was converted into separate frames. Simultaneously, with the loading of the sample caused by the force from the machine, the surfaces in the area of the concentrator were serially photographed. Simultaneously with the load of the sample, a series of photographs was taken with a force registration frequency equal to 0.02 s. The amount of strains were determined by equestion:
ε x x = 𝜕 u 𝜕 x + 1 2 𝜕 u 𝜕 x 2 + 𝜕 υ 𝜕 x 2 ,
ε y y = 𝜕 u 𝜕 y + 1 2 𝜕 u 𝜕 y 2 + 𝜕 υ 𝜕 y 2 ,
where εxx is the local strain along the x axis, εyy is the local strain along the y axis, ∂u is the linear displacement along the x axis, ∂υ is the linear displacement along the y axis, and ∂x and ∂y are the axis coordinates.
During the loading of the sample, 5.000 frames were recorded, and curves were constructed based on the measurement results. As a result of testing tubular samples with a concentrator, a diagram of tensile force P—local elongation Δi was constructed based on the data.
The true stresses Si were determined for each stage of loading Pi, taking into account the change in the real cross-sectional area (Si = Pi/Fi). According to the data on the elongation Δi, the true strain was determined according to Equations (1)–(2).
On the basis of the data obtained as a result of the stretching of the tubular sample, a true fracture diagram was constructed in “Si-ei” coordinates for 17G1C steel.
The specific energy of the elastic strain of steel Wn was determined by the following equation:
W n = 1 2 S n × ε n ,
where Sn is the number of elastic stresses;
εn is the amount of elastic strain.
The value of the total energy of the elastic–plastic strain of 17G1C steel was determined by the size of the area under the “Si-ei” diagram, according to the following equation:
W x , y , z = 0 e S e d e .
The value of the specific fracture energy Wc, as an invariant characteristic of the resistance of 17G1C steel to strain, was determined by the following equation:
W c = 0 e c S e d e 1 2 S n × ε n .
Because the pipe material is exposed to hydrogen under increased mechanical loads that affect the stress–strain state and characteristics of the material’s resistance to destruction during the transportation of hydrogen media, a complex of studies was conducted.
According to the developed methodology, experimental studies were carried out to calculate the effect of hydrogen gas upon changes in the stress–strain state. The magnitude of the true stresses during the loading of the tubular sample was determined, taking into account the change in the cross-section Fi along the bottom of the concentrator according to the change in the diameter di:
F i = π d i 2 d i n 2 4 ,
where di is the outer diameter of the sample along the bottom of the concentrator;
din is the inner diameter.
The corresponding values of the true stresses in the “neck” plane were determined by the following equation:
S i = P i F i ,
where Pi is the effort determined using a machine dynamometer;
Fi is the area of the cross-section along the bottom of the concentrator.
In order to assess the influence of the change in the stress–strain state and establish the safe life of the pipeline, the change in the specific energy of material destruction was studied, considering the action of the hydrogen medium and the previous elastic–plastic strain.
For this, from the fracture diagrams of 17G1C steel under laboratory conditions, the value of the fracture energy was determined as the sum of the elastic We and plastic Wc components:
W c = W e + W p .
The batch of samples in the initial state was loaded to the value of elastic–plastic strain ed = 0.6 ec, where ec is the value of the fracture strain of 17G1C steel. The sample was unloaded and destroyed by the next load, and the degree of elastic–plastic damage caused to 17G1C steel was determined.
Tests of pre-plastically deformed and water-damaged samples were carried out according to the following scheme. The sample was loaded to the amount of strain: ed = 0.6 ec. (where ec is the critical strain). After that, the sample was watered in a chamber at a temperature of 400 °C and a hydrogen gas pressure of 25 atm for 12 h. The flooded sample was loaded, and a complete failure diagram was constructed.
Experimental studies were carried out on tubular samples made of 17G1C steel in the initial state at different times of flooding.
The value of the hydrogen concentration was determined after testing the samples using a LEKO DH-603 (Leco Corporation, St. Joseph, MI, USA) gas analyzer.
The method of determining the concentration of diffusible and residual hydrogen in the metal was based on the use of an optional incandescent module or the analysis of residual hydrogen, which is carried out by placing a pre-weighed sample in the furnace, where its diffusion occurs during hot extraction in the gas stream. The concentration of hydrogen absorbed by the metal was determined for areas of the sample deformed to various degrees after its testing.
To achieve this, two fragments weighing 5 ÷ 10 g were cut out of the destroyed sample in the zone of destruction, where one fragment of the material is elastically deformed, and the other is in the zone of destruction. The concentration of absorbed hydrogen, which is measured by the thermal conductivity section, was established.

3. Results and Discussion

According to the proposed energy approach, complete equilibrium fracture diagrams of the material were constructed in the coordinates “true stress” (Si)—“true strain” (e), which determine the stress–strain state in the local volume, taking into account the change in the cross-sectional area of the region of elastic and plastic deformations. The area enclosed by the diagram corresponds to the specific fracture energy of the material, which is invariant to loading conditions and most fully evaluates the behavior of the material under the influence of a hydrogen environment. In [19], it is shown that when the material fractures in hydrogen, the fracture stresses change little in the hydrogen environment, meaning that evaluating the load-bearing capacity of the structure under the influence of hydrogen using the force-based approach is incorrect. However, the specific fracture energy decreases by 70–90%. Therefore, it is advisable to assess the load-bearing capacity of structural elements under the influence of mechanical loading and a hydrogen environment using the energy approach. The use of the energy approach involves recording the stress–strain field during sample testing in laboratory conditions in the local volume where the maximum stresses occur, as well as similarly measuring and determining the flow distribution in deformations directly on the structural element under operational conditions using the ODCM method, which enhances the reliability of the obtained results.
For pipeline systems transporting hydrogen-containing media, low-alloy ART class steels such as X52, X70, X100, as well as ferritic–pearlitic steels such as 20, 6GS, and others, are used. In this study, tests were conducted on samples made of 17G1C steel. Using the developed methodology, the load-bearing capacity of structural elements can be similarly assessed for other grades of steel.
The specific energy of the destruction of 17G1C steel for two cases was calculated as the area under the true diagrams for “S-e” in air (1) and destroyed in water (2) (Figure 2), as well as pre-deformed and flooded (Figure 3).
The area under the true diagram was calculated using the following equation:
S = 1 2 i = 0 i × 1 x i + 1 x i y i + 1 y i ,
where i* is the value corresponding to destruction.
As a result of the tensile studies of tubular samples in their initial (undeformed) state and flooded at a temperature of 400 °C for different times, the specific fracture energy Wc was determined based on the constructed true fracture diagrams of 17G1C steel (Figure 2).
Figure 3 shows the test results for 17G1C steel samples pre-deformed by 60% of the true fracture strain in air (ο) and in gaseous hydrogen (•).
It was established that the specific energy of destruction in water 17G1C steel without preliminary strain is 20% lower than that in air. At the same time, the fracture strain is reduced by 35%, and the true stresses in hydrogen are 5% higher than in air, which indicates the embrittlement of 17G1C steel in hydrogen (Figure 2). Preliminary plastic deformation of the samples affects the specific energy of destruction by 60%, namely, it reduces it by 5 times (Figure 3). The ultimate strain after the previous elastic–plastic strain in the hydrogen environment decreases by 5.5 times compared to air. This is explained by the fact that in the process of elastic–plastic strain, atomic hydrogen is diffused into the formed cavities, where its molalization occurs. As a result, the movement of dislocations is blocked, and the metal embrittles. This indicates a decrease in the volume of metal that deforms elastically–plastically. At the same time, the value of the true fracture stress Si increases by 5.5%. After the samples with previous elastic–plastic strain aged for 6 months, the hydrogen concentration did not change.
According to the results of the research, the dependence of the change in the specific energy of the destruction of samples made of 17G1C steel on the concentration of absorbed hydrogen was determined. It was established that with a decrease in the specific fracture energy of samples made of 17G1C steel, the concentration of hydrogen in the fracture zone increases.
In particular, when samples are destroyed in hydrogen without prior strain, the concentration of hydrogen CH increases to 8 ppm (Figure 4). For previously deformed samples, the concentration of absorbed hydrogen increases to 45 ppm (Figure 5).

Assessment of the Technical Condition of the Pipeline under Operational Conditions

In order to determine the areas of damage to the inner surface of the pipeline walls during operational loads, a methodology that takes into account the effect of the hydrogen environment has been developed. To implement this approach, a special test chamber made of 17G1C steel with different wall thicknesses and loaded with internal pressure was developed from 17G1C steel (Figure 6).
When loaded with internal pressure from hydraulic unit 4, the walls of the sample of sections I and II are deformed. The method involving the optical–digital speckle correlation of images is used to register the number of movements and determine the strain of the walls [20]. When the sample is loaded with internal pressure, the amount of local strain is determined on the basis of 0.5 mm by using a video camera in sections I and II with different wall thicknesses, and by using a computer. The amount of specific strain energy is determined by the amount of strain in the two sections with wall thicknesses t1 and t2, using the true fracture diagram of a tubular sample made of 17G1C steel in air (Figure 2). A similar procedure for determining strains is carried out after reducing the wall thickness by boring the inner surface.
Table 1 presents the results of the experimental studies conducted on tubular samples with varying wall thicknesses. For each wall thickness ratio, five samples were tested, with a result error margin of up to 5%.
When determining the magnitude of local plastic deformations in the material of the pipeline through which a hydrogen mixture is transported using an optical–digital correlator, hydrogen saturation occurs in the wall.
To establish the stress–strain state, it is necessary to use the true fracture diagram of 17G1C steel, taking into account the previous elastic–plastic strain (Figure 3).

4. Conclusions

An energy-efficient approach has been developed for assessing the technical condition of pipes and 17T1C steel during the transportation of hydrogen-containing mixtures.
  • It was established that the specific energy of destruction for 17G1C steel under the action of hydrogen decreases by 70 ÷ 90%.
  • The concentration of hydrogen absorbed by the metal depends on the degree of elastic–plastic deformation and increases for 17G1C steel by 5 ÷ 6 times compared to the initial state.
  • It was established that the value of the specific energy of destruction depends on the degree of previous elastic–plastic deformation.
  • A theoretical–experimental approach is proposed for assessing the degree of damage caused to the pipe wall from the combined action of mechanical load and a water-containing medium.
  • The developed methodology involves monitoring the degree of wear on the inner wall of the shaft based on the value of the local deformation, which was established with the help of an optical–digital correlator on the outer wall and the calculated energy of the elastic–plastic deformation.

Author Contributions

Conceptualization, Y.I. and Y.B.; methodology, O.H., J.S. (Jacek Selejdak) and J.S. (Jarosław Sęp); validation, Y.I., Y.B. and J.S. (Jacek Selejdak); formal analysis, Z.B., J.S. (Jarosław Sęp) and J.S. (Jacek Selejdak); investigation, Y.I., Y.B., O.H., J.S. (Jacek Selejdak), J.S. (Jarosław Sęp) and Z.B.; writing—original draft preparation, Y.I., Y.B., O.H., J.S. (Jacek Selejdak), J.S. (Jarosław Sęp) and Z.B.; writing—review and editing, Y.I., Y.B., O.H. and J.S. (Jacek Selejdak); visualization, O.H., Y.B., Z.B. and Y.I.; supervision, Y.I., Y.B., J.S. (Jacek Selejdak) and O.H. All authors have read and agreed to the published version of the manuscript.

Funding

This research received no external funding.

Institutional Review Board Statement

Not applicable.

Informed Consent Statement

Not applicable.

Data Availability Statement

The data presented in this study are available upon request from the corresponding author.

Conflicts of Interest

The authors declare no conflicts of interest.

References

  1. Priyanka, E.B.; Maheswari, C.; Thangavel, S. Online monitoring and control of flow rate in oil pipelines transportation system by using PLC based Fuzzy-PID Controller. Flow Meas. Instrum. 2018, 62, 144–151. [Google Scholar] [CrossRef]
  2. Ríos-Mercado, R.Z.; Borraz-Sánchez, C. Optimization problems in natural gas transportation systems: A state-of-the-art review. Appl. Energy 2015, 147, 536–555. [Google Scholar] [CrossRef]
  3. Tamalmani, K.; Husin, H. Review on corrosion inhibitors for oil and gas corrosion issues. Appl. Sci. 2020, 10, 3389. [Google Scholar] [CrossRef]
  4. Zurkanain, M.A.; Subramaniam, S.K. Investigation and Implementation of IoT Based Oil & Gas Pipeline Monitoring System. Int. J. Recent Technol. Appl. Sci. (IJORTAS) 2023, 5, 1–11. [Google Scholar] [CrossRef]
  5. Świt, G.; Dzioba, I.; Ulewicz, M.; Lipiec, S.; Adamczak-Bugno, A.; Krampikowska, A. Experimental-numerical analysis of the fracture process in smooth and notched V specimens. Prod. Eng. Arch. 2023, 29, 444–451. [Google Scholar] [CrossRef]
  6. Zahuranec, M.; Koteš, P.; Kraľovanec, J. The Influence of the Prestressing Level of the Fully Threaded Anchor Bar on the Corrosion Rate. Buildings 2023, 13, 1592. [Google Scholar] [CrossRef]
  7. Koteš, P.; Vičan, J. Influence of fatigue crack formation and propagation on reliability of steel members. Appl. Sci. 2021, 11, 11562. [Google Scholar] [CrossRef]
  8. Macek, W.; Branco, R.; Szala, M.; Marciniak, Z.; Ulewicz, R.; Sczygiol, N.; Kardasz, P. Profile and Areal Surface Parameters for Fatigue Fracture Characterisation. Materials 2020, 13, 3691. [Google Scholar] [CrossRef] [PubMed]
  9. Blikharskyy, Z.; Selejdak, J.; Blikharskyy, Y.; Khmil, R. Corrosion of reinforce bars in RC constructions. Syst. Saf. Hum. Tech. Facil. Environ. 2019, 1, 277–283. [Google Scholar] [CrossRef]
  10. Dzioba, I.R.; Pala, T. Influence of the local stresses and strain at the crack tip on the mechanism of fracture of Hardox-400 steel. Mater. Sci. 2019, 55, 345–351. [Google Scholar] [CrossRef]
  11. Lipiński, T. Effect of Non-Metallic Inclusions on the Fatigue Strength Coefficient of High-Purity Constructional Steel Heated in Industrial Conditions. Appl. Sci. 2022, 12, 9292. [Google Scholar] [CrossRef]
  12. Lipiński, T. Investigation of corrosion rate of X55CrMo14 stainless steel at 65% nitrate acid at 348 K. Prod. Eng. Arch. 2021, 27, 108–111. [Google Scholar] [CrossRef]
  13. Koteš, P.; Zahuranec, M.; Prokop, J.; Strauss, A.; Matos, J. Measurement of corrosion rates on reinforcement using the field test. Ce/Pap. 2023, 6, 1053–1058. [Google Scholar] [CrossRef]
  14. Kotes, P.; Strieska, M.; Brodnan, M. Sensitive analysis of calculation of corrosion rate according to standard approach. IOP Conf. Ser. Mater. Sci. Eng. 2018, 385, 012031. [Google Scholar] [CrossRef]
  15. Ge, S.W.; Hu, P.; Deng, J.; Li, S.L.; Xing, H.R.; Han, J.Y.; Hua, X.-J.; Wang, L.; Yang, J.-Z.; Jin, B.; et al. The effect of secondary phase on corrosion behaviors of the titanium-zirconium-molybdenum alloy. Tungsten 2024, 6, 342–354. [Google Scholar] [CrossRef]
  16. Malíková, L.; Miarka, P.; Šimonová, H.; Kucharczyková, B. Deflection of an eccentric crack under mixed-mode conditions in an SCB specimen. Constr. Optim. Energy Potential (CoOEP) 2020, 9, 79–87. [Google Scholar] [CrossRef]
  17. Hredil, M.; Krechkovska, H.; Student, O.; Kurnat, I. Fractographic features of long term operated gas pipeline steels fracture under impact loading. Procedia Struct. Integr. 2019, 21, 166–172. [Google Scholar] [CrossRef]
  18. Krechkovska, H. Structural-fractographic features of structural steels after long-term operation. Mater. Sci. 2021, 52, 228–233. [Google Scholar] [CrossRef]
  19. Ivanytskyi, Y.L.; Hvozdiuk, M.M.; Klymenko, D.V.; Hrynenko, M.V.; Maksymenko, O.P. Modeling the effect of hydrogen charging at elevated temperatures on the strength of NPP steam generator pipes steel. Mater. Sci. 2023, 58, 453–459. [Google Scholar] [CrossRef]
  20. Blikharskyy, Y.; Kopiika, N.; Khmil, R.; Selejdak, J.; Blikharskyy, Z. Review of Development and Application of Digital Image Correlation Method for Study of Stress–Strain State of RC Structures. Appl. Sci. 2022, 12, 10157. [Google Scholar] [CrossRef]
Figure 1. Scheme of the experimental tubular sample.
Figure 1. Scheme of the experimental tubular sample.
Applsci 14 05040 g001
Figure 2. True failure diagram of tubular samples made of 17G1C steel in air (ο) and in hydrogen (•).
Figure 2. True failure diagram of tubular samples made of 17G1C steel in air (ο) and in hydrogen (•).
Applsci 14 05040 g002
Figure 3. True diagram of pre-deformed samples of 17G1C steel in air (ο) and in hydrogen (•).
Figure 3. True diagram of pre-deformed samples of 17G1C steel in air (ο) and in hydrogen (•).
Applsci 14 05040 g003
Figure 4. Change in the specific fracture energy of 17G1C steel samples without prior strain at different concentrations of hydrogen CH.
Figure 4. Change in the specific fracture energy of 17G1C steel samples without prior strain at different concentrations of hydrogen CH.
Applsci 14 05040 g004
Figure 5. Change in the specific fracture energy of 17KhH1C steel samples pre-deformed to 60% of the limi strains at different concentrations of hydrogen CH.
Figure 5. Change in the specific fracture energy of 17KhH1C steel samples pre-deformed to 60% of the limi strains at different concentrations of hydrogen CH.
Applsci 14 05040 g005
Figure 6. Test chamber for internal pressure loading P: 1—camera, 2—nut, 3—gasket, 4—hydrostation UNGR-2000, 5—manometer, 6—video camera, 7—computer.
Figure 6. Test chamber for internal pressure loading P: 1—camera, 2—nut, 3—gasket, 4—hydrostation UNGR-2000, 5—manometer, 6—video camera, 7—computer.
Applsci 14 05040 g006
Table 1. Variation in strain energy with wall thickness.
Table 1. Variation in strain energy with wall thickness.
Pressure,
MPa
D,
mm
D1,
mm
d2,
mm
t,
mm
We,
%
W,
MJ/m3
10.040303055380
40303244450
40303433630
Disclaimer/Publisher’s Note: The statements, opinions and data contained in all publications are solely those of the individual author(s) and contributor(s) and not of MDPI and/or the editor(s). MDPI and/or the editor(s) disclaim responsibility for any injury to people or property resulting from any ideas, methods, instructions or products referred to in the content.

Share and Cite

MDPI and ACS Style

Ivanytskyi, Y.; Blikharskyy, Y.; Sęp, J.; Blikharskyy, Z.; Selejdak, J.; Holiian, O. Evaluation of the Technical Condition of Pipes during the Transportation of Hydrogen Mixtures According to the Energy Approach. Appl. Sci. 2024, 14, 5040. https://doi.org/10.3390/app14125040

AMA Style

Ivanytskyi Y, Blikharskyy Y, Sęp J, Blikharskyy Z, Selejdak J, Holiian O. Evaluation of the Technical Condition of Pipes during the Transportation of Hydrogen Mixtures According to the Energy Approach. Applied Sciences. 2024; 14(12):5040. https://doi.org/10.3390/app14125040

Chicago/Turabian Style

Ivanytskyi, Yaroslav, Yaroslav Blikharskyy, Jarosław Sęp, Zinoviy Blikharskyy, Jacek Selejdak, and Oleh Holiian. 2024. "Evaluation of the Technical Condition of Pipes during the Transportation of Hydrogen Mixtures According to the Energy Approach" Applied Sciences 14, no. 12: 5040. https://doi.org/10.3390/app14125040

APA Style

Ivanytskyi, Y., Blikharskyy, Y., Sęp, J., Blikharskyy, Z., Selejdak, J., & Holiian, O. (2024). Evaluation of the Technical Condition of Pipes during the Transportation of Hydrogen Mixtures According to the Energy Approach. Applied Sciences, 14(12), 5040. https://doi.org/10.3390/app14125040

Note that from the first issue of 2016, this journal uses article numbers instead of page numbers. See further details here.

Article Metrics

Back to TopTop