Effect of Spruce Wood Density on Selected Fire-Technical Parameters during Thermal Loading
Abstract
1. Introduction
2. Materials and Methods
2.1. Materials
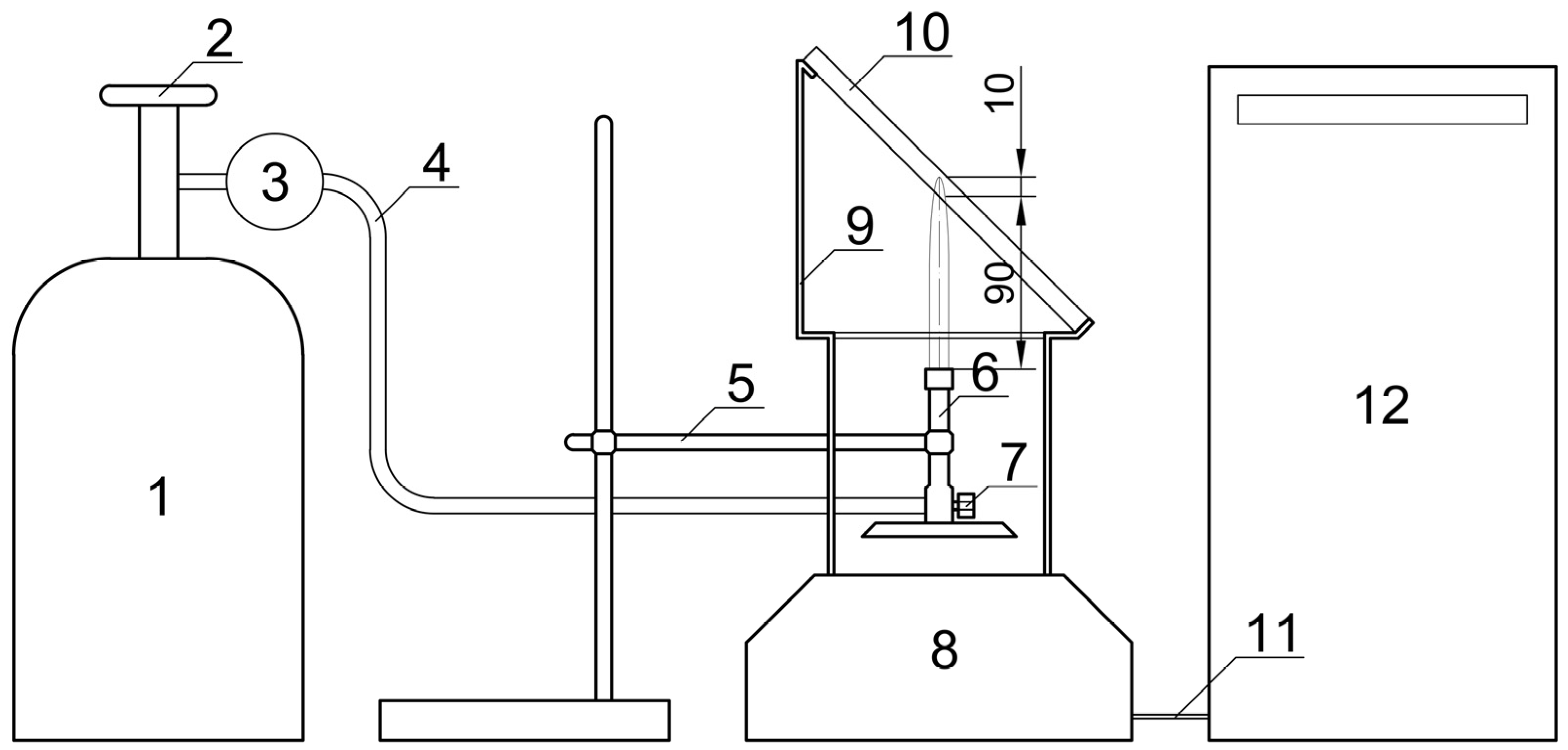
2.2. Test Equipment and the Procedure
2.3. Evaluation and Calculation
3. Results and Discussion
4. Conclusions
- Untreated samples exhibited significant variability in the measured data (mass loss variability of untreated samples with low density was 55%, with higher-density samples at 18%), unlike samples treated with retardants, which showed a lower variability of mass loss, approximately 5%. This significant variability in mass loss for untreated samples is mainly attributed to their ignition after a specific time, resulting in a subsequent rapid increase in the mass loss rate. The results confirm, among other findings, that flame retardants significantly prolong the ignition time.
- Untreated samples with a density difference of about 100 kg·m−3 displayed a clear density dependence on the mass loss. Samples with a lower density have a significantly higher average mass loss rate over the entire duration of the experiment.
- For samples treated with retardant 1 with a density difference of approximately 244 kg·m−3, a dependence of the mass loss rate on the sample density was observed. The most significant difference was in achieving the maximum mass loss rate, which was twice as high for the lower-density samples compared to the higher-density samples. Also, the mass loss dependence on the sample density was statistically confirmed by the ANOVA test (p-value = 8.46 × 10−5 at a testing time of 600 s).
- Lower-density samples exhibited higher mass loss and mass loss rate. The study results further indicated that the sample density also affected the fire spread rate parameter (Rfs). As the sample density decreased, the value of Rfs increased, showing a linear relationship between the difference in Rfs values and sample densities with a reliability coefficient of R2 = 0.99.
- For samples treated with retardants with a density difference of up to 50 kg·m−3, no dependence of the mass loss rate on sample density was observed. The ANOVA statistical analysis did not confirm the mass loss dependence on the sample density. Therefore, the difference in densities of up to 50 kg·m−3 no longer significantly affected experimental results, particularly parameters such as the mass loss rate and mass loss. Consequently, selecting the test samples with such a variation range of densities can be considered optimal without impacting the test results.
Author Contributions
Funding
Institutional Review Board Statement
Informed Consent Statement
Data Availability Statement
Acknowledgments
Conflicts of Interest
References
- Barbu, M.C.; Tudor, E.M. State of the art of the Chinese forestry, wood industry and its markets. Wood Mater. Sci. Eng. 2021, 16, 1030–1039. [Google Scholar] [CrossRef]
- Eurostat. Wood Products—Production and Trade. [Online]. Available online: https://ec.europa.eu/eurostat/statistics-explained/index.php?title=Wood_products_-_production_and_trade#Wood-based_industries (accessed on 12 June 2023).
- Mitu, M.; Razus, D.; Boldor, D.; Marculescu, C. Flammability Properties of the Pyrolysis Gas Generated from Willow Wood. Processes 2023, 11, 2103. [Google Scholar] [CrossRef]
- Tureková, I.; Ivanovičová, M.; Harangózo, J.; Gašpercová, S.; Marková, I. Experimental Study of the Influence of Selected Factors on the Particle Board Ignition by Radiant Heat Flux. Polymers 2022, 14, 1648. [Google Scholar] [CrossRef] [PubMed]
- Östman, B. Chapter 3—Flammability of wood products. In Flammability Testing of Materials Used in Construction, Transport and Mining, 2nd ed.; Vivek Apte: New Delhi, India, 2021; pp. 61–87. [Google Scholar]
- Vandličkova, M.; Markova, I.; Holla, K.; Gašpercová, S. Evaluation of Marblewood Dust’s (Marmaroxylon racemosum) Effect on Ignition Risk. Appl. Sci. 2021, 11, 6874. [Google Scholar] [CrossRef]
- Vandlickova, M.; Markova, I.; Makovicka-Osvaldova, L.; Gaspercova, S.; Svetlik, J. Evaluation of African Padauk (Pterocarpus soyauxii) Explosion Dust. BioResources 2020, 15, 401–414. [Google Scholar] [CrossRef]
- Kadlicová, P.; Gašpercová, S.; Makovicka Osvaldova, L. Monitoring of Weight Loss of Fibreboard during Influence of Flame. Procedia Eng. 2017, 192, 393–398. [Google Scholar] [CrossRef]
- Gašpercová, S.; Makovická Osvaldová, L. Fire Protection in Various Types of Wooden Structures. Civ. Environ. Eng. 2015, 11, 51–57. [Google Scholar] [CrossRef]
- Tureková, I.; Turnova, Z.; Balog, K.; Pastier, M. Study of thermal degradation of polymers. Adv. Mater. Res. 2013, 652–654, 1664–1667. [Google Scholar] [CrossRef]
- Gao, B.; Wei, S.; Du, W.; Yang, H.; Chu, Y. Experimental Study on the Fire Resistance Performance of Partition Board under the Condition of Small Fire Source. Processes 2021, 9, 1818. [Google Scholar] [CrossRef]
- Rusinová, M.; Kalousek, M.; Šlanhof, J. Assessment of the dynamic temperature profile in fire loaded sandwich structures based on wood in comparison with conventional structural systems. Appl. Mech. Mater. 2019, 887, 98–105. [Google Scholar] [CrossRef]
- Kučera, P.; Lokaj, A.; Vlček, V. Behavior of the spruce and birch wood from the fire safety point of view. Adv. Mater. Res. 2013, 842, 725–728. [Google Scholar] [CrossRef]
- Troitzsch, J.; Antonatus, E. Chapter 3. Flame retardants and flame-retarded plastics. In Plastics Flammability Handbook, 4th ed.; Carl Handes Verlag: München, Germany, 2021; pp. 53–128. [Google Scholar]
- EN 13823; Reaction to Fire Tests for Building Products—Building Products Excluding Floorings Exposed to the Thermal Attack by a Single Burning Item. CEN: Brussels, Belgium, 2002.
- ISO 1182:2020; Reaction to Fire Tests for Building Products—Non-Combustibility Test. International Standards Organization: Geneva, Switzerland, 2020.
- ISO 1716; Reaction to Fire Tests for Building Products—Determination of the Gross Heat of Combustion (Calorific Value). International Standards Organization: Geneva, Switzerland, 2002.
- ISO 9239-1; Reaction to Fire Tests for Floorings—Part 1: Determination of the Burning Behavior Using a Radiant Heat Source. International Standards Organization: Geneva, Switzerland,, 2010.
- ISO 11925-2:2020; Reaction to Fire Tests—Ignitability of Building Products Subjected to Direct Impingement of Flame—Part 2: Single-Flame Source Test. International Standards Organization: Geneva, Switzerland, 2020.
- EN 13501-1; Fire Classification of Construction Products and Building Elements—Part 1: Classification Using Data from Reaction to Fire Tests. CEN: Brussels, Belgium, 2002.
- Akash, M.S.H.; Rehman, K. Introduction to Thermal Analysis. In Essentials of Pharmaceutical Analysis; Springer: Singapore, 2020. [Google Scholar] [CrossRef]
- Gabbott, P. The Principles and Applications of Thermal Analysis; Wiley-Blackwell: London, UK, 2007. [Google Scholar]
- ASTM E1131-20; Standard Test Method for Compositional Analysis by Thermogravimetry. ASTM International: West Conshohocken, PA, USA, 2020.
- ISO 5660; Reaction-to-Fire Tests. Heat Release, Smoke Production and Mass Loss Rate. International Standards Organization: Geneva, Switzerland, 2002.
- Gašpercová, S.; Marková, I.; Vandlíčková, M.; Osvaldová, L.M.; Svetlík, J. Effect of Protective Coatings on Wooden Elements Exposed to a Small Ignition Initiator. Appl. Sci. 2023, 13, 3371. [Google Scholar] [CrossRef]
- Mao, N.; Jiang, L.; Li, X.; Gao, Y.; Zang, Z.; Peng, S.; Ji, L.; Lv, C.; Guo, J.; Wang, H.; et al. Core-shell ammonium polyphosphate@nanoscopicaluminum hydroxide microcapsules: Preparation, characterization, and its flame retardancy performance on wood pulp paper. Chem. Eng. J. Adv. 2021, 6, 100096. [Google Scholar] [CrossRef]
- Zhang, L.; Xu, J.; Shen, H.; Xu, J.; Cao, J. Montmorillonite-catalyzed furfurylated wood for flame retardancy. Fire Saf. J. 2021, 121, 103297. [Google Scholar] [CrossRef]
- Lu, J.; Jiang, P.; Chen, Z.; Li, L.; Huang, Y. Flame retardancy, thermal stability, and hygroscopicity of wood materials modified with melamine and amino trimethylene phosphonic acid. Constr. Build. Mater. 2021, 267, 121042. [Google Scholar] [CrossRef]
- Ma, T.; Li, L.; Liu, Z.; Zhang, J.; Guo, C.; Wang, Q. A facile strategy to construct vegetable oil-based, fire-retardant, transparent and musel adhesive intumescent coating for wood substrates. Ind. Crops Prod. 2020, 154, 112628. [Google Scholar] [CrossRef]
- Brahmia, F.; Zsolt, K.; Horváth, P.; Alpár, T. Comparative study on fire retardancy of various wood species treated with PEG 400, phosphorus, and boron compounds for use in cement-bonded wood-based products. Surf. Interfaces 2020, 21, 100736. [Google Scholar] [CrossRef]
- Gaff, M.; Kačík, F.; Gašparík, M.; Todaro, L.; Jones, D.; Corleto, R.; Makovická Osvaldová, L.; Čekovská, H. The effect of synthetic and naturalfire-retardants on burning and chemical characteristics of thermally modified teak (Tectonagrandis L. f.) wood. Constr. Build. Mater. 2019, 200, 551–558. [Google Scholar] [CrossRef]
- Lee, S.H.; Ashaari, Z.; Lum, W.C.; Abdul Halip, J.; Ang, A.F.; Tan, P.L.; Ling Chin, K.; MdTahir, P. Thermal treatment of wood using vegetable oils: A review. Constr. Build. Mater. 2018, 181, 408–419. [Google Scholar] [CrossRef]
- Makovická Osvaldová, L.; Gašpercová, G. The evaluation of flammability properties regarding testing methods. Civ. Environ. Eng. Sci. Tech. J. 2015, 11, 142–146. (In Slovak) [Google Scholar][Green Version]
- Čekovská, H.; Gaff, M.; Osvald, A.; Kačík, F.; Kubš, J.; Kaplan, L. Fire resistance of thermally modified spruce wood. BioResources 2017, 12, 947–959. [Google Scholar] [CrossRef]
- Turekova, I.; Markova, I. Ignition of Deposited Wood Dust Layer by Selected Sources. Appl. Sci. 2020, 10, 5779. [Google Scholar] [CrossRef]
- MCKenzie, D.; Hessl, A.E.; Kellog, L.K. Using neutral models to identify constraints on low-severity fire regions. Landsc. Ecol. 1996, 21, 139–152. [Google Scholar] [CrossRef]
- Janssens, M.L. Modeling of the thermal degradation of structural wood members exposed to fire. Fire Mater. 1998, 28, 199–207. [Google Scholar] [CrossRef]
- Martinka, J.; Rantuch, P.; Martinka, F.; Wachter, I.; Štefko, T. Improvement of Heat Release Rate Measurement from Woods Based on Their Combustion Products Temperature Rise. Processes 2023, 11, 1206. [Google Scholar] [CrossRef]
- Blažej, A. Chémia dreva; Alfa: Bratislava, Slovakia, 1975; p. 63. ISBN 80-228-0656-0. [Google Scholar]
- Dubovský, J.; Berešová, K. Zmena hustoty smrekového dreva vplyvom niektorých fyzikálnych charakteristík. In Proceedings of the 1. Symposium Interakcia Dreva s rôznymi Formami Energie; TU Zvolen: Zvolen, Slovakia, 1996; pp. 23–28. ISBN 80-228-0549-1. [Google Scholar]
- Kačíková, D. Dynamika horenia dreva, materiálov a výrobkov na báze dreva. In Selected Processes in the Wood Processing; Technická Univerzita vo Zvolene: Zvolen, Slovakia, 2005; pp. 252–261. ISBN 80-228-1484-9. [Google Scholar]
- Karlsson, B.; Quintiere, J.G. Enclosure Fire Dynamics; CRC Press: London, UK, 2000; ISBN 0-8493-1300-7. [Google Scholar]
- Danihelová, A. Physics 2; Nikara: Krupina, Slovakia, 2010; 206p, ISBN 978-80-970363-6-2. (In Slovak) [Google Scholar]
- Trebula, P.; Klement, I. Drying and Hydrothermal Treatment of Wood; Technical University in Zvolen: Zvolen, Slovakia, 2005; 449p, ISBN 80-228-1421-0. (In Slovak) [Google Scholar]
- Požgaj, A.; Chovanec, D.; Kurjatko, S.; Babiak, M. Wood Structure and Properties; Príroda a.s: Bratislava, Slovakia, 1997; 488p, ISBN 80-0700600-1. (In Slovak) [Google Scholar]
- Babrauskas, V. Charring rate of wood as a tool for fire investigations. Fire Saf. J. 2005, 40, 528–554. [Google Scholar] [CrossRef]
- Hostikka, S.; McGrattan, K.B. Large Eddy Simmulation of Wood Combustion. In Interflam 2001; Interscience Communications Ltd.: London, UK, 2001; Volume 1, pp. 755–762. [Google Scholar]
- Kačíková, D.; Netopilová, M.; Osvald, A. Drevo a jeho Termická Degradácia. SPBI Spektrum 45; VŠB—TU Ostrava: Ostrava, Slovakia, 2006; p. 79. ISBN 80-86634-78-7. [Google Scholar]
- Osvald, A. Požiarnotechnické vlastnosti dreva a materiálov na báze dreva. In Vedecké štúdie 8/1997/A; ES TU: Zvolen, Slovakia, 1997; p. 51. ISBN 80-228-0656-0. [Google Scholar]
- Song, J.; Chen, C.; Zhu, S.; Zhu, M.; Dai, J.; Ray, U.; Li, Y.; Kuang, Y.; Li, Y.; Quispe, N.; et al. Processing bulk natural wood into a high-performance structural material. Nature 2018, 554, 224–228. [Google Scholar] [CrossRef]
- Chen, C.; Kuang, Y.; Zhu, S.; Burgert, I.; Keplinger, T.; Gong, A.; Li, T.; Berglund, L.; Eichhorn, S.J.; Hu, L. Structure–property–function relationships of natural and engineered wood. Nat. Rev. Mater. 2020, 5, 642–666. [Google Scholar] [CrossRef]
- Xu, Z.; Zhao, W.; Feng, Y.; Tang, X.; Yan, L. Flame-retardant, heat-insulating and char formation properties of densified Pinus sylvestris treated with different compression pressures. Eur. J. Wood Prod. 2022, 80, 1321–1331. [Google Scholar] [CrossRef]
- Gan, W.; Chen, C.; Wang, Z.; Pei, Y.; Ping, W.; Xiao, S.; Dai, J.; Yao, Y.; He, S.; Zhao, B.; et al. Fire-Resistant structural material enabled by an anisotropic thermally conductive hexagonal boron nitride coating. Adv. Funct. Mater. 2020, 30, 1909196. [Google Scholar] [CrossRef]
- Chen, G.; Chen, C.; Pei, Y.; He, S.; Liu, Y.; Jiang, B.; Jiao, M.; Gan, W.; Liu, D.; Yang, B.; et al. A strong, flame-retardant, and thermally insulating wood laminate. Chem. Eng. J. 2020, 383, 9. [Google Scholar] [CrossRef]
- Fan, C.; Gao, Y.; Li, Y.; Yan, L.; Zhu, D.; Guo, S.; Ou, C.; Wang, Z. A flame-retardant densified wood as robust and fire-safe structural material. Wood Sci. Technol. 2023, 57, 111–134. [Google Scholar] [CrossRef]
- Xu, Z.; Zhao, W.; Yan, L.; Tang, X.; Feng, Y.; Wang, Z. Processing of Pinus sylvestris L. into a heat-insulating, thermally stable, and flame-retarded material by combining the flame-retardant impregnation and densification treatment. Holzforschung 2023, 77, 762–775. [Google Scholar] [CrossRef]
- Chu, D.; Mu, J.; Avramidis, S.; Rahimi, S.; Liu, S.; Lai, Z. Functionalized Surface Layer on Poplar Wood Fabricated by Fire Retardant and Thermal Densification. Part 1: Compression Recovery and Flammability. Forests 2019, 10, 955. [Google Scholar] [CrossRef]
- Spruce. Betterwood. Available online: https://betterwood.co/lexikon/fichte/ (accessed on 13 July 2023).
- Spruce Wood. lignoma.com Magazine. Available online: https://www.lignoma.com/en/magazine/spruce-wood/ (accessed on 13 July 2023).
- Marková, I.; Tureková, I. Teória Horenia a Analýza Spalín; University of Žilina: Žilina, Slovakia, 2023; 219p, ISBN 978-80-554-1930-5. [Google Scholar]
- Kačíková, D.; Makovická-Osvaldová, L. Wood burning rate of various tree parts from selected softwoods. Acta Fac. Xylologiae 2009, 51, 27–32. [Google Scholar]
- Draxlerová, M.; Harangózo, J.; Balog, K. Effects of retardants on the ignition of Woodmaterials. Environmental and Safety Aspects of Renewable Materials and Energy Sources. Adv. Mater. Res. 2014, 1001, 288–291. [Google Scholar] [CrossRef]
- Martinka, J.; Chrebet, T.; Hrušovský, I.; Balog, K.; Hirle, S. Fire risk assessment of spruce pellets. In Applied Mechanics and Materials; Trans Tech Publications: Baech, Switzerland, 2014; Volume 501–504, pp. 2451–2454. [Google Scholar] [CrossRef]
- Xu, Q.; Que, X.; Cao, L.; Jiang, Y.; Jin, C.A. Total heat flux on the wall: Bench scale wood crib fires tests. Therm. Sci. 2010, 14, 283–290. [Google Scholar] [CrossRef]
- Kačíková, D.; Balog, K.; Tureková, I.; Mitterová, I. Materials in Fire Protection—University Textbook; Technical University in Zvolen: Zvolen, Slovakia, 2011; 367p, ISBN 978-80-228-2317-3. (In Slovak) [Google Scholar]








| Samples | High-Density Wood Samples (ρ > 450 kg∙m−3) | Low-Density Wood Samples (ρ < 450 kg∙m−3) |
|---|---|---|
| Samples treated with Retardant 1 | R1-HD | R1-LD |
| Samples treated with Retardant 2 | R2-HD | R2-LD |
| Samples treated with Retardant 3 | R3-HD | R3-LD |
| Untreated samples | U-HD | U-LD |
| Samples | Average Density (ρ) [kg·m−3] | Variation Range [kg·m−3] | Difference in Density (HD-LD) (Δρ) [kg·m−3] |
|---|---|---|---|
| R1-HD | 560.69 | 47.86 | 560.69 − 317.00 = 243.69 * (218.92–281.51) |
| R1-LD | 317.00 | 14.72 | |
| R2-HD | 462.12 | 5.79 | 462.12 − 411.47 = 50.65 * (44.87–57.32) |
| R2-LD | 411.47 | 6.66 | |
| R3-HD | 455.58 | 4.62 | 455.58 − 447.14 = 8.44 * (4.62–12.48) |
| R3-LD | 447.14 | 12.48 | |
| U-HD | 480.20 | 8.75 | 480.20 − 378.54 = 101.66 * (84.79–115.02) |
| U-LD | 378.54 | 21.47 |
| Specimens | Total Mass Loss (δ) [%] | Standard Deviation of Total Mass Loss (σδ) [%] | Max Mass Loss Rate (vr max) [%·s−1] | Standard Deviation of Max Mass Loss Rate (σvr max) [%·s−1] |
|---|---|---|---|---|
| R1-HD | 19.47 | ±1.16 | 0.0816 | ±0.0072 |
| R1-LD | 23.88 | ±2.06 | 0.1650 | ±0.0196 |
| R2-HD | 19.05 | ±1.50 | 0.0953 | ±0.0081 |
| R2-LD | 19.09 | ±1.10 | 0.1016 | ±0.0148 |
| R3-HD | 20.62 | ±1.63 | 0.1173 | ±0.0182 |
| R3-LD | 20.10 | ±0.53 | 0.1262 | ±0.0088 |
| U-HD | 28.32 | ±6.40 | 0.1699 | ±0.3986 |
| U-LD | 44.12 | ±24.80 | 0.4036 | ±0.2933 |
| Samples Treated with Retardant 1, Difference in Density 243.69 kg·m−3 | ||||||
| Df | Sum Sq | Mean Sq | F value | Pr (>F) | Influence | |
| Density (ρ) | 1 | 107.64 | 107.64 | 39.05 | 1.56 × 10−5 | Strong influence |
| Residuals | 15 | 41.34 | 2.76 | |||
| Samples Treated with Retardant 2, Difference in Density 50.65 kg·m−3 | ||||||
| Df | Sum Sq | Mean Sq | F value | Pr (>F) | Influence | |
| Density (ρ) | 1 | 0.424 | 0.4245 | 0.453 | 0.51 | No influence |
| Residuals | 16 | 14.982 | 0.9364 | |||
| Samples Treated with Retardant 3, Difference in Density 8.44 kg·m−3 | ||||||
| Df | Sum Sq | Mean Sq | F value | Pr (>F) | Influence | |
| Density (ρ) | 1 | 0.012 | 0.0124 | 0.011 | 0.919 | No influence |
| Residuals | 13 | 15.175 | 1.1673 | |||
| Samples Treated with Retardant 1, Difference in Density 243.69 kg·m−3 | ||||||
| Df | Sum Sq | Mean Sq | F value | Pr (>F) | Influence | |
| Density (ρ) | 1 | 82.23 | 82.23 | 28.38 | 8.46 × 10−5 | Strong influence |
| Residuals | 15 | 43.46 | 2.90 | |||
| Samples Treated with Retardant 2, Difference in Density 50.65 kg·m−3 | ||||||
| Df | Sum Sq | Mean Sq | F value | Pr (>F) | Influence | |
| Density (ρ) | 1 | 0.011 | 0.0105 | 0.006 | 0.939 | No influence |
| Residuals | 16 | 27.743 | 1.7340 | |||
| Samples Treated with Retardant 3, Difference in Density 8.44 kg·m−3 | ||||||
| Df | Sum Sq | Mean Sq | F value | Pr (>F) | Influence | |
| Density (ρ) | 1 | 1.011 | 1.011 | 0.645 | 0.436 | No influence |
| Residuals | 13 | 20.372 | 1.567 | |||
| Samples | R1-HD | R1-LD | R2-HD | R2-LD | R3-HD | R3-LD |
|---|---|---|---|---|---|---|
| Rfs [%·s−2] | 0.00109 | 0.00316 | 0.00153 | 0.00189 | 0.00160 | 0.00174 |
| Difference in Rfs [%·s−2] | 0.00206 | 0.00036 | 0.00014 | |||
Disclaimer/Publisher’s Note: The statements, opinions and data contained in all publications are solely those of the individual author(s) and contributor(s) and not of MDPI and/or the editor(s). MDPI and/or the editor(s) disclaim responsibility for any injury to people or property resulting from any ideas, methods, instructions or products referred to in the content. |
© 2023 by the authors. Licensee MDPI, Basel, Switzerland. This article is an open access article distributed under the terms and conditions of the Creative Commons Attribution (CC BY) license (https://creativecommons.org/licenses/by/4.0/).
Share and Cite
Mitrenga, P.; Osvaldová, L.M.; Konárik, M. Effect of Spruce Wood Density on Selected Fire-Technical Parameters during Thermal Loading. Appl. Sci. 2024, 14, 170. https://doi.org/10.3390/app14010170
Mitrenga P, Osvaldová LM, Konárik M. Effect of Spruce Wood Density on Selected Fire-Technical Parameters during Thermal Loading. Applied Sciences. 2024; 14(1):170. https://doi.org/10.3390/app14010170
Chicago/Turabian StyleMitrenga, Patrik, Linda Makovická Osvaldová, and Milan Konárik. 2024. "Effect of Spruce Wood Density on Selected Fire-Technical Parameters during Thermal Loading" Applied Sciences 14, no. 1: 170. https://doi.org/10.3390/app14010170
APA StyleMitrenga, P., Osvaldová, L. M., & Konárik, M. (2024). Effect of Spruce Wood Density on Selected Fire-Technical Parameters during Thermal Loading. Applied Sciences, 14(1), 170. https://doi.org/10.3390/app14010170
