Mathematical Modeling of Screw Press Configuration for Processing Safflower Oil
Abstract
1. Introduction
2. Materials and Methods
2.1. Samples
2.2. Description of the Press Equipment
- -
- Study of the effect of changing speeds (ω = 5.2 rad/s; ω = 6.2 rad/s; ω = 6.8 rad/s; and ω = 7.3 rad/s) on the duration of pressing;
- -
- Study of the effect of changing the initial and final diaphragm gap between the screw and the pressing cage ( m; m; m; and ) on the pressing pressure.
2.2.1. Determination of the Density of Safflower Cake
2.2.2. Determination of Yield Stress
2.2.3. Statistics
3. Results and Discussion
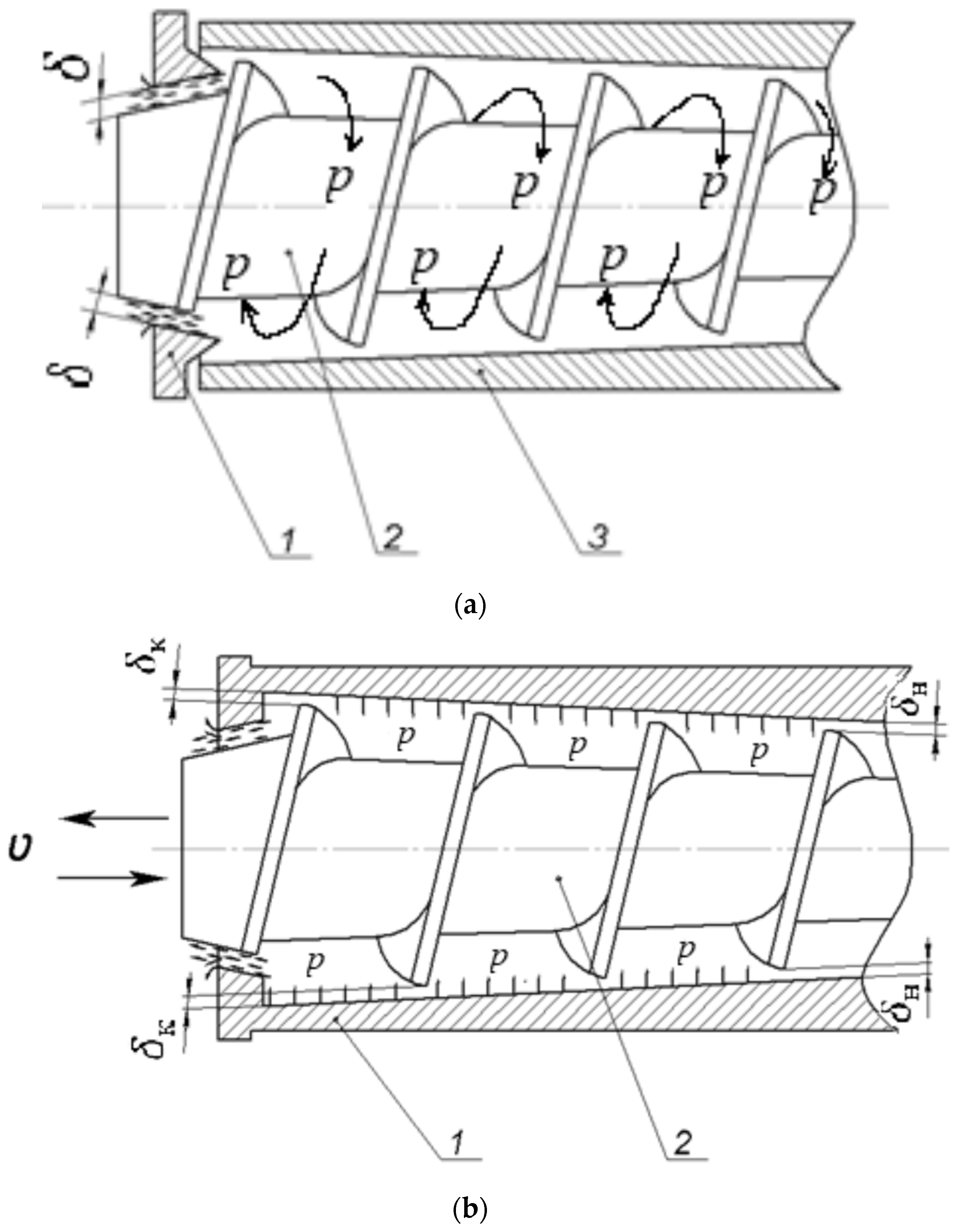
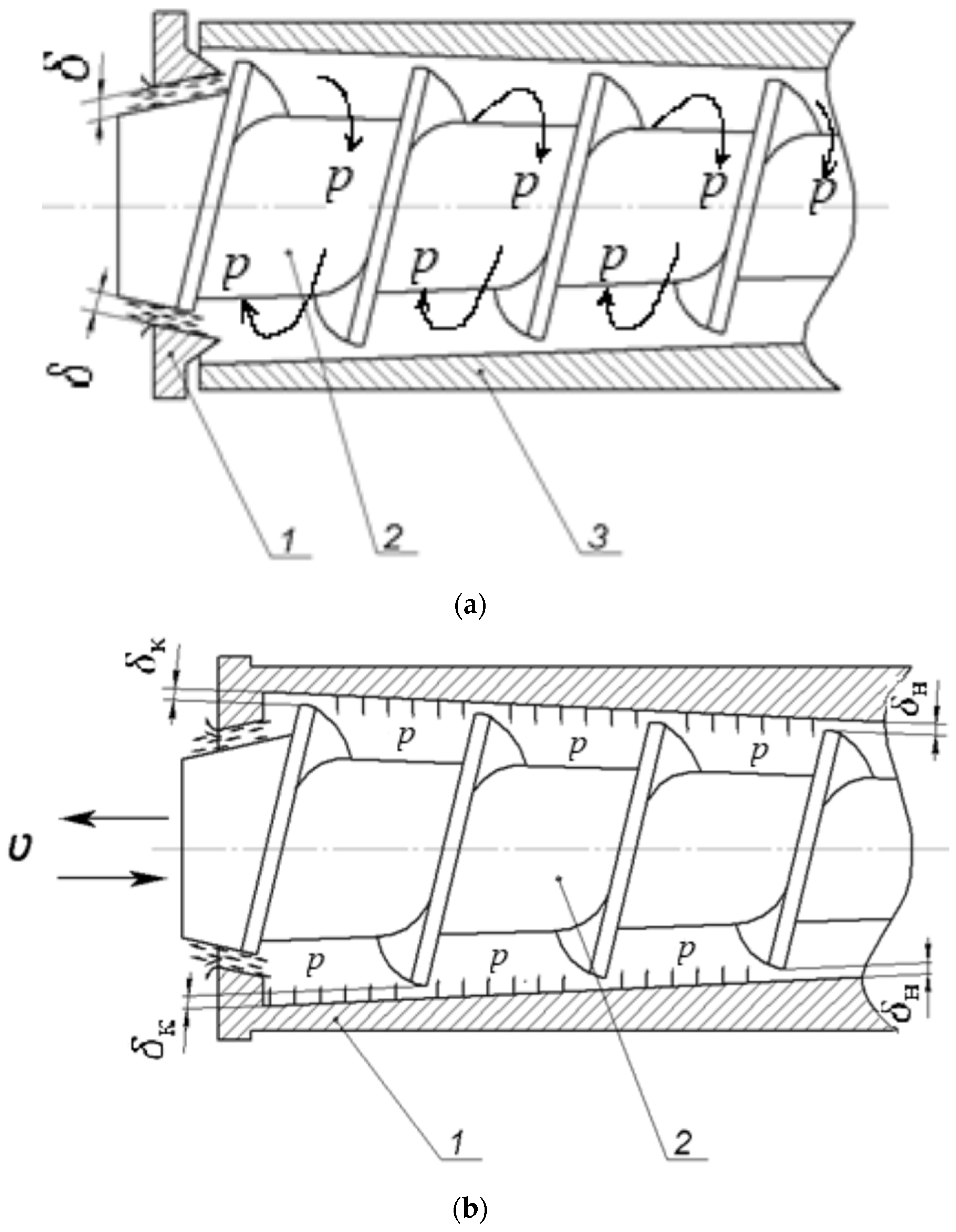
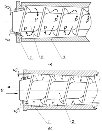
3.1. Construction Features of the Screw Press
3.2. Mathematical Modeling of the Separation and Output Dependence during the Pressing Process
3.3. Study on the Dependence of the Oil Content of Safflower on Various Parameters in the Pressing Process
3.4. Determination of Safflower Cake Density
Change of Rheological Properties Depending on Oil Content and Temperature of Safflower Cake
3.5. Dependence of Oil Content of Safflower on Screw Rotation Speed and Diaphragm Gap
4. Conclusions
Author Contributions
Funding
Institutional Review Board Statement
Informed Consent Statement
Data Availability Statement
Conflicts of Interest
References
- Baltabayeva, A. Development of oil and fat industry in Kazakhstan. Probl. AgriMarket 2019, 1, 193–200. [Google Scholar]
- SGS. Quality of oil products of Kazakhstan. Quality requirements of major importers. In Proceedings of the Materials of 1st International Oil and Fat Conference of Kazakhstan “KazOil-2017”, Astana, Kazakhstan, 29 November 2017. 12p. [Google Scholar]
- Nde, D.B.; Foncha, A.C. Optimization methods for the extraction of vegetable oils: A review. Processes 2020, 8, 209. [Google Scholar] [CrossRef]
- Matskevich, I.V.; Nevzorov, V.N.; Kolomeitsev, A.V.; Kapsargina, S.A. Resource-saving technology of two-stage pressing in the production of rapeseed oil. IOP Conf. Ser. Earth Environ. Sci. 2021, 640, 042001. [Google Scholar] [CrossRef]
- Yau, S.K. Winter versus spring sowing of rain-fed safflower in a semi-arid, high-elevation Mediterranean environment. Eur. J. Agron. 2007, 26, 249–256. [Google Scholar] [CrossRef]
- Shahid, M.; Jaradat, A.; Rao, N.K. Safflower: A Multipurpose Crop for the Marginal Lands. In Emerging Research in Alternative Crops; Springer: Cham, Switzerland, 2020; pp. 279–294. [Google Scholar]
- Zemour, K.; Labdelli, A.; Adda, A.; Dellal, A.; Talou, T.; Merah, O. Phenol content and antioxidant and antiaging activity of safflower seed oil (Carthamus tinctorius L.). Cosmetics 2019, 6, 55. [Google Scholar] [CrossRef]
- Dakhil, I.A.; Abbas, I.S.; Marie, N.K. Preparation, evaluation, and clinical application of safflower cream as topical nutritive agent. Asian J. Pharm. Clin. Res. 2018, 11, 495–497. [Google Scholar] [CrossRef]
- Khalid, N.; Khan, R.S.; Hussain, M.I.; Farooq, M.; Ahmad, A.; Ahmed, I. A comprehensive characterisation of safflower oil for its potential applications as a bioactive food ingredient—A review. Trends Food Sci. Technol. 2017, 66, 176–186. [Google Scholar] [CrossRef]
- Roncero, J.M.; Álvarez-Ortí, M.; Pardo-Giménez, A.; Rabadán, A.; Pardo, J.E. Influence of Pressure Extraction Systems on the Performance, Quality and Composition of Virgin Almond Oil and Defatted Flours. Foods 2021, 10, 1049. [Google Scholar] [CrossRef]
- Kovalyshyn, S.; Tomyuk, V. Research on power consumption of screw press for pressing of oil from rape seed. BIO Web Conf. 2018, 10, 02011. [Google Scholar] [CrossRef]
- Vavpot, V.J.; Williams, R.J.; Williams, M.A. Extrusion/Expeller pressing as a means of processing green oils and meals. In Green Vegetable Oil Processing; AOCS Press: Champaign, IL, USA, 2014; pp. 1–17. [Google Scholar]
- Bhuiya, M.M.K.; Rasul, M.G.; Khan, M.M.K.; Ashwath, N.; Azad, A.K.; Mofijur, M. Optimisation of oil extraction process from Australian native beauty leaf seed (Calophyllum inophyllum). Energy Procedia 2015, 75, 56–61. [Google Scholar] [CrossRef]
- Isobe, S.; Zuber, F.; Uemura, K.; Noguchi, A. A new twin-screw press design for oil extraction of dehulled sunflower seeds. J. Am. Oil Chem. Soc. 1992, 69, 884–889. [Google Scholar] [CrossRef]
- Pietsch, A.; Eggers, R. Gas-assisted oilseed pressing-Design of and tests with a novel high-pressure screw press. Procedia Food Sci. 2011, 1, 1381–1387. [Google Scholar] [CrossRef]
- Siregar, A.N.; Ghani, J.A.; Haron, C.H.C.; Rizal, M.; Yaakob, Z.; Kamarudin, S.K. Comparison of oil press for jatropha oil—A review. Res. Agric. Eng. 2015, 61, 1–13. [Google Scholar] [CrossRef]
- Aung, K.; Win, T.N.; Win, A.K.; Khaing, C. Design and Stress Analysis of Screw Press Oil Expeller. IRE J. 2019, 3, 276–279. [Google Scholar]
- Kabutey, A.; Herak, D.; Ambarita, H.; Sigalingging, R. Modeling of linear and non-linear compression processes of sunflower bulk oilseeds. Energies 2019, 12, 2999. [Google Scholar] [CrossRef]
- Kakimov, A.; Yessimbekov, Z.; Bepeyeva, A.; Kabulov, B.; Kakimova, Z. Consistency cone penetrometry for food products. Pak. J. Nutr. 2015, 14, 837–840. [Google Scholar] [CrossRef]
- Liu, W.; Wang, J.B.; Liu, Z.C. A method of fluid dynamic analysis based on Navier-Stokes equation and conservation equation on fluid mechanical energy. Int. J. Heat Mass Transf. 2017, 109, 393–396. [Google Scholar] [CrossRef]
- Shao, M.; Song, L.; Li, P.W. A generalized finite difference method for solving Stokes interface problems. Eng. Anal. Bound. Elem. 2021, 132, 50–64. [Google Scholar] [CrossRef]
- Kairbayeva, A.; Vasilenko, V.; Dzhinguilbayev, S.; Baibolova, L.; Frolova, L. Development of the mathematical model for the process of oil raw materials pressing. Int. J. Eng. Technol. (UAE) 2018, 7, 145–149. [Google Scholar] [CrossRef]
- Uitterhaegen, E.; Evon, P. Twin-screw extrusion technology for vegetable oil extraction: A review. J. Food Eng. 2017, 212, 190–200. [Google Scholar] [CrossRef]
- Ezeoha, S.L.; Akubuo, C.O. Influence of palm kernel variables on the yield and quality of oil expressed using an expeller. Res. Agric. Eng. 2021, 67, 92–99. [Google Scholar] [CrossRef]
- Kiss, T.; Mašán, V.; Híc, P. Antioxidant capacity, total phenolic compounds and fatty acids composition in walnut oil and bagasse pellets produced at different parameters of the screw press. Acta Univ. Agric. Silvic. Mendel. Brun. 2020, 68, 519–527. [Google Scholar] [CrossRef]
- Antipov, S.T.; Shakhov, S.V.; Martekha, A.N.; Yurova, I.S.; Berestovoy, A.A.; Litvinova, M.I. Influence of basic parameters on the process of pressing of safflower seeds in an ultrasonic field. Proc. Voronezh State Univ. Eng. Technol. 2019, 81, 22–27. (In Russian) [Google Scholar] [CrossRef]
- Yu, N.H.; Fan, J.J. Stress Analysis of the Press Cage in Screw Press by Finite Element Method. Appl. Mech. Mater. 2014, 543, 164–167. [Google Scholar] [CrossRef]
- Ball, R.S. A Treatise on the Theory of Screws; Cambridge University Press: Cambridge, UK, 1998. [Google Scholar]
- Ionescu, M.; Voicu, G.; Sorin-Stefan, B.; Covaliu, C.; Dincă, M.; Ungureanu, N. Parameters influencing the screw pressing process of oilseed materials. In Proceedings of the 3rd International Conference on Thermal Equipment, Renewable Energy and Rural Development, TE-RE-RD, Mamaia, Romania, 12–14 June 2014; pp. 243–248. [Google Scholar]
- Chapuis, A.; Blin, J.; Carré, P.; Lecomte, D. Separation efficiency and energy consumption of oil expression using a screw-press: The case of Jatropha curcas L. seeds. Ind. Crops Prod. 2014, 52, 752–761. [Google Scholar] [CrossRef]
- Savoire, R.; Lanoisellé, J.L.; Vorobiev, E. Mechanical continuous oil expression from oilseeds: A review. Food Bioprocess Technol. 2013, 6, 1–16. [Google Scholar] [CrossRef]
- Gukasyan, A.V.; Soshnikov, V.K.; Mikhaylov, E.A.; Yavorskaya, A.V. Model of the kinetics of extraction during the extrusion of oilseed materials. Izv. Vuzov Food Technol. 2019, 1, 65–69. [Google Scholar] [CrossRef]
- Muratzhankyzy, N.; Kassenov, A.; Kakimov, M.; Orynbekov, D.; Moldabayeva, Z.; Tokhtarova, S.; Tokhtarov, Z. Design and engineering calculation of a screw press for extracting juice from sea buckthorn. ARPN J. Eng. Appl. Sci. 2022, 17, 2943–2949. [Google Scholar]
- Salgado, P.R.; Molina Ortiz, S.E.; Petruccelli, S.; Mauri, A.N. Sunflower protein concentrates and isolates prepared from oil cakes have high water solubility and antioxidant capacity. J. Am. Oil Chem. Soc. 2011, 88, 351–360. [Google Scholar] [CrossRef]
- Omobuwajo, T.O.; Ige, M.T.; Ajayi, O.A. Heat transfer between the pressing chamber and the oil and oilcake streams during screw expeller processing of palm kernel seeds. J. Food Eng. 1997, 31, 1–7. [Google Scholar] [CrossRef]
- Fantino, V.M.; Bodoira, R.M.; Penci, M.C.; Ribotta, P.D.; Martínez, M.L. Effect of screw-press extraction process parameters on the recovery and quality of pistachio oil. Grasas Aceites 2020, 71, e360. [Google Scholar] [CrossRef]
- Sobolev, S.N. Development of a Method for Obtaining Amaranth Oil by Pressing on a Single Screw Press. Ph.D. Thesis, Voronezh State University, Voronezh, Russia, 2007. [Google Scholar]
- Aktas, T.; Celen, I.; Durgut, R. Some physical and mechanical properties of safflower seed (Carthamus tinctorius L.). J. Agron. 2006, 5, 613–616. [Google Scholar]
- Mursalykova, M.T.; Kakimov, M.; Kassenov, A.; Iskakov, B. Improvement of pressing equipment for the production of safflow oil under the conditions of mini-production shops. J. Almaty Technol. Univ. 2022, 1, 58–65. [Google Scholar] [CrossRef]
- Buffi, M.; Prussi, M.; Lotti, G.; Martelli, F.; Pari, L.; Chiaramonti, D. Oilseed pressing and vegetable oil properties and upgrading in decentralised small scale plants for biofuel production. Int. J. Oil Gas Coal Technol. 2017, 14, 91–109. [Google Scholar] [CrossRef]
- Huang, S.; Hu, Y.; Li, F.; Jin, W.; Godara, V.; Wu, B. Optimization of mechanical oil extraction process from Camellia oleifera seeds regarding oil yield and energy consumption. J. Food Process Eng. 2019, 42, e13157. [Google Scholar] [CrossRef]
- Indartono, Y.S.; Heriawan, H.; Kartika, I.A. Innovative and flexible single screw press for the oil extraction of Calophyllum seeds. Res. Agric. Eng. 2019, 65, 91–97. [Google Scholar] [CrossRef]
- Bhattiprolu, G.R. Processing and Utilization of Safflower Products. Progress. Agric. 2010, 10, 198–199. [Google Scholar]
- Kim, E.O.; Lee, J.Y.; Choi, S.W. Quantitative changes in phenolic compounds of safflower (Carthamus tinctorius L.) seeds during growth and processing. Prev. Nutr. Food Sci. 2006, 11, 311–317. [Google Scholar] [CrossRef]
- Panasiewicz, M.; Mazur, J.; Nadulski, R.; Zawiślak, K.; Kobus, Z. Assessment of selected technical parameters of soya seeds oil pressing process. Agric. Eng. 2017, 21, 61–68. [Google Scholar] [CrossRef]
- Cakaloglu, B.; Ozyurt, V.H.; Otles, S. Cold press in oil extraction. A review. Ukr. Food J. 2018, 7, 640–654. [Google Scholar] [CrossRef]
- Wu, W.X.; Ma, R.C.; Liao, N.H. Process optimization of cake oriented screw-pressing of Jatropha curcas. Appl. Mech. Mater. 2012, 130, 3898–3903. [Google Scholar] [CrossRef]
- Deshmukh, P.S.; Patil, P.G.; Shahare, P.U.; Bhanage, G.B.; Dhekale, J.S.; Dhande, K.G.; Aware, V.V. Effect of mechanical and chemical treatments of arecanut (Areca catechu L.) fruit husk on husk and its fibre. Waste Manag. 2019, 95, 458–465. [Google Scholar] [CrossRef] [PubMed]













Disclaimer/Publisher’s Note: The statements, opinions and data contained in all publications are solely those of the individual author(s) and contributor(s) and not of MDPI and/or the editor(s). MDPI and/or the editor(s) disclaim responsibility for any injury to people or property resulting from any ideas, methods, instructions or products referred to in the content. |
© 2023 by the authors. Licensee MDPI, Basel, Switzerland. This article is an open access article distributed under the terms and conditions of the Creative Commons Attribution (CC BY) license (https://creativecommons.org/licenses/by/4.0/).
Share and Cite
Mursalykova, M.; Kakimov, M.; Kassenov, A.; Iskakov, B.; Sergibayeva, Z.; Kaspakov, E.; Zhumadilova, G.; Shulenova, A.; Kokayeva, G.; Suychinov, A. Mathematical Modeling of Screw Press Configuration for Processing Safflower Oil. Appl. Sci. 2023, 13, 3057. https://doi.org/10.3390/app13053057
Mursalykova M, Kakimov M, Kassenov A, Iskakov B, Sergibayeva Z, Kaspakov E, Zhumadilova G, Shulenova A, Kokayeva G, Suychinov A. Mathematical Modeling of Screw Press Configuration for Processing Safflower Oil. Applied Sciences. 2023; 13(5):3057. https://doi.org/10.3390/app13053057
Chicago/Turabian StyleMursalykova, Maigul, Mukhtarbek Kakimov, Amirzhan Kassenov, Bauyrzhan Iskakov, Zhadra Sergibayeva, Esen Kaspakov, Gulmira Zhumadilova, Assem Shulenova, Gulnara Kokayeva, and Anuarbek Suychinov. 2023. "Mathematical Modeling of Screw Press Configuration for Processing Safflower Oil" Applied Sciences 13, no. 5: 3057. https://doi.org/10.3390/app13053057
APA StyleMursalykova, M., Kakimov, M., Kassenov, A., Iskakov, B., Sergibayeva, Z., Kaspakov, E., Zhumadilova, G., Shulenova, A., Kokayeva, G., & Suychinov, A. (2023). Mathematical Modeling of Screw Press Configuration for Processing Safflower Oil. Applied Sciences, 13(5), 3057. https://doi.org/10.3390/app13053057

