The Influence of Supply Channel Design on the Gas-Dynamic Structure of Air Flow in a Vertical Conical Diffuser
Abstract
1. Introduction
- -
- It remains an urgent task to study gas-dynamic behaviour in a CD for boundary conditions;
- -
- It is also a critical task for improving technical devices to develop methods for forecasting and controlling the flow structure in a CD;
- -
- CDs are widely exploited in almost all branches of science and technology.
- -
- To create a test bench and establish a methodology for conducting experiments to study flow structure in a vertical CD with different air supply methods;
- -
- To evaluate the influence of conventional air supply through one channel and nozzle supply through four tubes into a vertical diffuser on the flow structure at different flow characteristics;
- -
- To identify the influence of a cross-sectional shape of a supply channel and nozzle tubes on the gas-dynamic structure of the flow in a vertical diffuser.
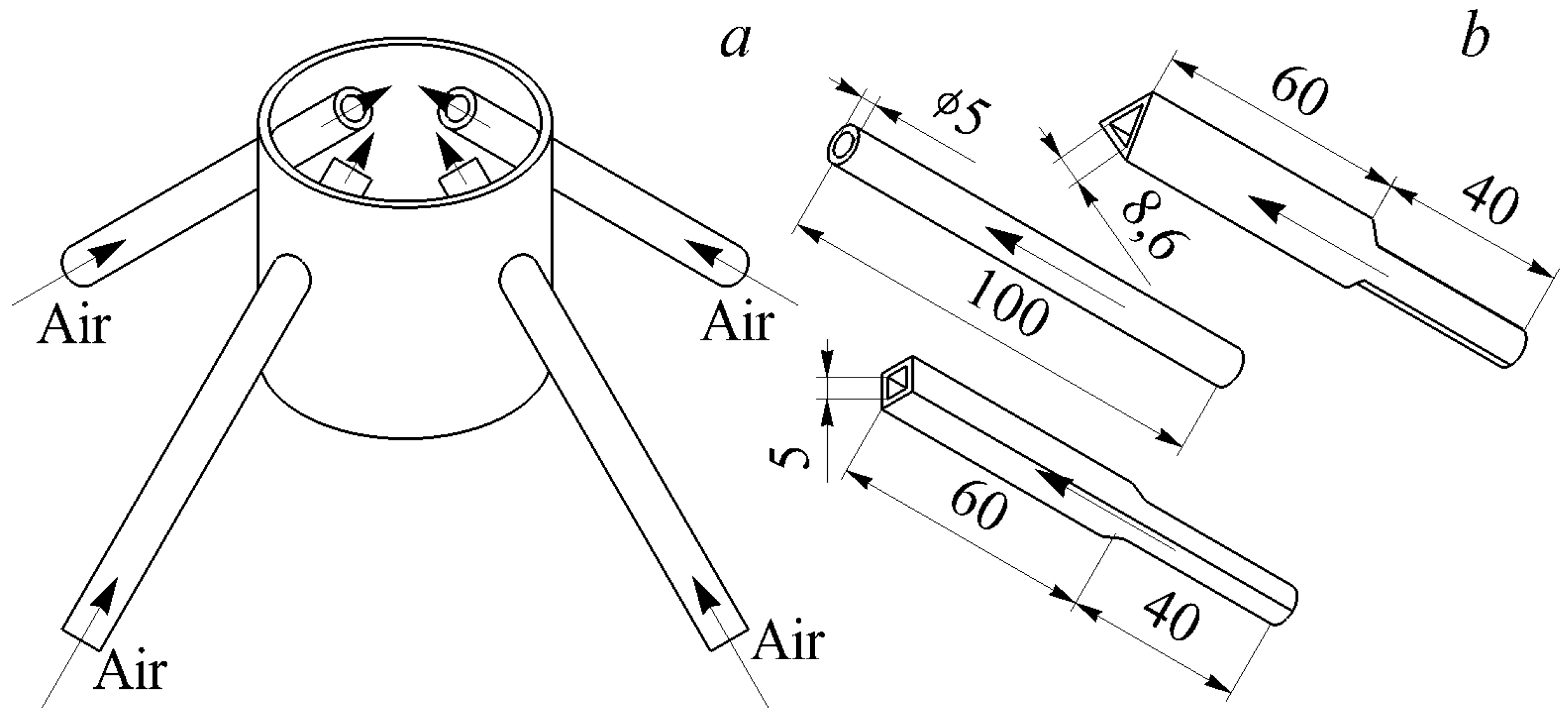
2. Description of the Test Bench, Experimental Methods, and Studied Designs for Supplying Air to a Vertical Diffuser
- -
- A thermal imager (model Testo 890-2, Titisee-Neustadt, Germany), with which thermograms of the flow distribution inside the vertical diffuser (measurement error ± 0.2 °C) were obtained (calibration of the device was carried out in a specialised measuring centre);
- -
- A constant-temperature hot-wire anemometer (model Irvis TA-5.1, Kazan, Russia) through which air flow through the system was determined (the relative standard measurement uncertainty q was 5.1%);
- -
- Thermocouples for current temperature control in different parts of the system (relative standard measurement uncertainty was 1.5%).
3. Analysis of the Gas-Dynamic Structure of Flow in a Vertical Diffuser with Different Air Supply Methods
4. Conclusions
- An experimental setup was created to study various design methods for supplying air to a vertical diffuser under different initial conditions (flow characteristics).
- Features of the flow structure in a vertical diffuser with a conventional air supply from below through one channel are as follows:
- -
- A pronounced central air flow is created in the diffuser along the vertical axis of the diffuser when using all channel configurations;
- -
- The shape of the cross-section of the supply channel has a significant impact on flow structure in a CD (round channel—stagnant zones in the corners; square channel—absence of stagnant zones; triangular channel—stagnant zones with a more uniform flow);
- -
- The main patterns of changes in the flow structure are preserved with an increase in air flow through the system from 0.02 to 0.067 m3/s.
- Features of the flow structure in a vertical diffuser with nozzle air supply through four tubes at an angle of 45° include the following:
- -
- There are no stagnant zones or central flow in the diffuser;
- -
- The use of square and triangular nozzle tubes leads to a more uniform distribution of air flow throughout the entire volume of the vertical CD;
- -
- An increase in flow characteristics through the system contributes to a more uniform distribution of air flow throughout the entire volume of the diffuser (while the main patterns in the flow structure are preserved).
- In terms of application, the following recommendations can be formulated:
- -
- The use of conventional air supply through one channel can lead to the creation of stagnant zones in the corners of the diffuser, which is typical of round and triangular cross-sections, and the use of a square supply channel causes a more uniform distribution of air throughout the entire volume of the diffuser;
- -
- Nozzle supply ensures the uniform distribution of air throughout the entire volume of the vertical diffuser with the creation of intense movement in the centre, which is most typical of round and triangular nozzle tubes, and the use of square nozzle tubes causes intense flow movement in the lower part of the diffuser, which quickly collapses upstream, thereby uniformly filling the entire volume of the cylindrical part of the diffuser;
- -
- Conventional air supply through one channel leads to a central flow along the axis of the vertical diffuser with the presence or absence of stagnant zones in the corners of the diffuser, and the nozzle air supply causes uniform distribution of air throughout the entire volume of the diffuser with the creation of an area of intense movement along the vertical axis.
- According to the authors, the most suitable configurations of air supply to the vertical diffuser are profiled nozzle tubes for the installation for synthesis gas production. In these cases, stagnant zones are not formed in the diffuser, and the main flow has a shape close to the “carrot” (this is the optimal structure for the sawdust floating in the diffuser).
- Areas for further research are related to obtaining detailed data on the gas dynamics of flow in a vertical diffuser with a hot-wire anemometer and/or PIV system, as well as studying the structure of flow in a two-stage conical diffuser. An additional line of research could be to study the effect of the inclination of the nozzle tubes on the gas dynamics and flow structure in a vertical CD.
Author Contributions
Funding
Institutional Review Board Statement
Informed Consent Statement
Data Availability Statement
Acknowledgments
Conflicts of Interest
References
- Japikse, D.; Baines, N.C. Diffuser Design Technology; Concepts ETI: Norwich, VT, USA, 1998; 524p. [Google Scholar]
- Azad, R.S. Turbulent flow in a conical diffuser: A review. Exp. Therm. Fluid Sci. 1996, 13, 318–337. [Google Scholar] [CrossRef]
- Yue, Y.; Shen, Y. CFD-DEM study of spout incoherence phenomena in a conical spouted bed. Powder Technol. 2022, 406, 117529. [Google Scholar] [CrossRef]
- Sahu, N.K.; Kumar, M.; Dewan, A. Sophisticated interplay of operating conditions governs flow field transition and optimal conversion inside tangentially fired gasifiers. Energy 2022, 252, 123975. [Google Scholar] [CrossRef]
- Wang, K.; Liu, L.; Xu, D.; Gu, H. Simulation and optimization of a conical type swirl-vane separator in nuclear SG. Nucl. Eng. Des. 2023, 408, 112325. [Google Scholar] [CrossRef]
- Nazzal, I.T.; Ertunç, Ö. Influence of turbulent flow characteristics on flame behaviour in diffuser combustors. Energy 2019, 170, 652–667. [Google Scholar] [CrossRef]
- Masukume, P.-M.; Makaka, G.; Mukumba, P. Optimization of the power output of a bare wind turbine by the use of a plain conical diffuser. Sustainability 2018, 10, 2647. [Google Scholar] [CrossRef]
- Mohanan, J.N.; Sundaramoorthy, K.; Sankaran, A. Performance improvement of a low-power wind turbine using conical sections. Energies 2021, 14, 5233. [Google Scholar] [CrossRef]
- Zou, A.; Chassaing, J.-C.; Li, W.; Gu, Y.; Sauret, E. Quantified dense gas conical diffuser performance under uncertainties by flow characteristic analysis. Appl. Therm. Eng. 2019, 161, 114158. [Google Scholar] [CrossRef]
- Tanasa, C.; Bosioc, A.; Stuparu, A.; Muntean, S.; Susan-Resiga, R. A Perspective Review of Passive Techniques Applied to Control the Swirling Flow Instabilities from the Conical Diffuser of Hydraulic Turbines. Appl. Mech. Rev. 2023, 75, 060801. [Google Scholar] [CrossRef]
- Ramesh, B.; Ellappan, S.K.; Nagaraj, S.; Srinivas, G.; Chinthala, S. Modeling and analysis of conical exhaust diffuser. AIP Conf. Proc. 2023, 2492, 040031. [Google Scholar]
- Herrera, N.; Galván, S.; Camacho, J.; Solorio, G.; Aguilar, A. Automatic shape optimization of a conical-duct diffuser using a distributed computing algorithm. J. Braz. Soc. Mech. Sci. Eng. 2017, 39, 4367–4378. [Google Scholar] [CrossRef]
- Buron, J.-D.; Houde, S.; Deschênes, C. Statistical and spectral analysis of the bulbt conical diffuser flow. Int. J. Fluid Mach. Syst. 2020, 13, 79–89. [Google Scholar] [CrossRef]
- Ning, C.; Cao, P.; Gong, X.; Zhu, R. Optimization of Sweep and Blade Lean for Diffuser to Suppress Hub Corner Vortex in Multistage Pump. Machines 2021, 9, 316. [Google Scholar] [CrossRef]
- Vaz, J.R.P.; de Lima, A.K.F.; Lins, E.F. Assessment of a Diffuser-Augmented Hydrokinetic Turbine Designed for Harnessing the Flow Energy Downstream of Dams. Sustainability 2023, 15, 7671. [Google Scholar] [CrossRef]
- Ferrari, A. Exact solutions for quasi-one-dimensional compressible viscous flows in conical nozzles. J. Fluid Mech. 2021, 915, A1. [Google Scholar] [CrossRef]
- Novković, D.M.; Burazer, J.M.; Ćoćić, A.S. Comparison of different CFD software performances in the case of an incompressible air flow through a straight conical diffuser. Therm. Sci. 2017, 21, 863–874. [Google Scholar] [CrossRef]
- Teshnizi, E.S.; Momeni, F. Analytical Solutions and Analyses of the Displacement Separating Point in Diffusers. J. Appl. Comput. Mech. 2022, 8, 891–903. [Google Scholar]
- Véras, P.; Balarac, G.; Métais, O.; Georges, D.; Bombenger, A.; Ségoufin, C. Reconstruction of numerical inlet boundary conditions using machine learning: Application to the swirling flow inside a conical diffuser. Phys. Fluids 2021, 33, 085132. [Google Scholar] [CrossRef]
- Sarukhanyan, A.; Vardanyan, Y.; Vermishyan, G. A study of hydrodynamic viscous fluid flow parameters change regularities in case of a conical diffuser. East.-Eur. J. Enterp. Technol. 2022, 4, 61–71. [Google Scholar] [CrossRef]
- Tanasa, C.; Bosioc, A.; Muntean, S.; Susan-Resiga, R. A novel passive method to control the Swirling Flow with Vortex Rope from the conical diffuser of hydraulic turbines with fixed blades. Appl. Sci. 2019, 9, 4910. [Google Scholar] [CrossRef]
- Yang, J.; Zhang, Y.; Chen, H.; Fu, S. Flow separation control in a conical diffuser with a Karman-vortex generator. Aerosp. Sci. Technol. 2020, 106, 106076. [Google Scholar] [CrossRef]
- Zhou, X.; Wu, H.; Cheng, L.; Huang, Q.; Shi, C. A new draft tube shape optimisation methodology of introducing inclined conical diffuser in hydraulic turbine. Energy 2023, 265, 126374. [Google Scholar] [CrossRef]
- Shukri, E.S. Analytical velocity study in a conical diffuser with screw tape inserts. MATEC Web Conf. 2018, 153, 06003. [Google Scholar] [CrossRef][Green Version]
- Shukri Askari, E.S.; Hussein, A.A.; Khudhier, A. Evaluation of velocity distribution utilizing the helically coiled tape in a conical diffuser. IOP Conf. Ser. Mater. Sci. Eng. 2019, 518, 032018. [Google Scholar] [CrossRef]
- Mfon, S.A.; Alabi, S.B.; Udoetok, E.S.; Offor, U.; Nsek, E.; Tomas, Z.; Miklík, T. A semi-empirical model for estimation of pressure drop coefficient of a conical diffuser. Chem. Eng. Trans. 2019, 74, 1003–1008. [Google Scholar]
- Gosteev, Y.A.; Obukhovskiy, A.D.; Salenko, S.D. On head losses in conical diffusers. AIP Conf. Proc. 2018, 2027, 030048. [Google Scholar]
- Tsoy, M.; Skripkin, S.; Litvinov, I. Two spiral vortex breakdowns in confined swirling flow. Phys. Fluids 2023, 35, 061704. [Google Scholar] [CrossRef]
- Zhou, X.; Shi, C.; Miyagawa, K.; Wu, H. Effect of modified draft tube with inclined conical diffuser on flow instabilities in Francis turbine. Renew. Energy 2021, 172, 606–617. [Google Scholar] [CrossRef]
- Liu, Z.; Favrel, A.; Miyagawa, K. Effect of the conical diffuser angle on the confined swirling flow induced Precessing Vortex Core. Int. J. Heat Fluid Flow 2022, 95, 108968. [Google Scholar] [CrossRef]
- Ilić, D.B.; Benišek, M.H.; Čantrak, D.S. Experimental investigations of the turbulent swirl flow in straight conical diffusers with various angles. Therm. Sci. 2017, 21, 725–736. [Google Scholar] [CrossRef]
- Hemalatha, A.; Mahalakshmi, N.V. Experimental investigations of flow through wide angle conical diffusers with uniform flow and swirl type velocity distortions at inlet. Therm. Sci. 2018, 22, 2571–2581. [Google Scholar] [CrossRef]
- Buron, J.D.; Houde, S.; Deschânes, C. Investigation of the BulbT conical diffuser flow dynamics with TR-PIV and pressure measurements. IOP Conf. Ser. Earth Environ. Sci. 2019, 240, 022037. [Google Scholar] [CrossRef]
- Zhilkin, B.P.; Larionov, I.D.; Shuba, A.N. Applications of an infrared imager for determining temperature fields in gas flows. Instrum. Exp. Tech. 2004, 4, 545–546. [Google Scholar] [CrossRef]
- Kutateladze, S.S. Fundamentals of the Theory of Heat Transfer; Atomizdat: Moscow, Russia, 1979; 416p. (In Russian) [Google Scholar]
- Plotnikov, L.V. Unsteady gas dynamics and local heat transfer of pulsating flows in profiled channels mainly to the intake system of a reciprocating engine. Int. J. Heat Mass Transf. 2022, 195, 123144. [Google Scholar] [CrossRef]
- Idelchik, I.E. Aerohydrodynamics of Technological Apparatuses (Supply, Discharge and Flow Distribution along the Section of Apparatuses); Mashinostroenie: Moscow, Russia, 1983; 351p. (In Russian) [Google Scholar]
- Plotnikov, L.V.; Zhilkin, B.P.; Brodov, Y.M. The Influence of Piston Internal Combustion Engines Intake and Exhaust Systems Configuration on Local Heat Transfer. Procedia Eng. 2017, 206, 80–85. [Google Scholar] [CrossRef]
- Plotnikov, L.V.; Zhilkin, B.P.; Brodov, Y.M. Physical and Numerical Modeling of Thermomechanical Processes in Gas–Air Systems of Piston Engines Under Gasdynamic-Nonstationarity Conditions. J. Eng. Phys. Thermophys. 2020, 93, 594–604. [Google Scholar] [CrossRef]
- Plotnikov, L. Mathematical Description of the Aerodynamic Characteristics of Stationary Flows in a Vertical Conical Diffuser When Air Is Supplied through Various Tube Configurations. Axioms 2023, 12, 244. [Google Scholar] [CrossRef]
- Terekhov, V.I. Heat Transfer in Highly Turbulent Separated Flows: A Review. Energies 2021, 14, 1005. [Google Scholar] [CrossRef]













Disclaimer/Publisher’s Note: The statements, opinions and data contained in all publications are solely those of the individual author(s) and contributor(s) and not of MDPI and/or the editor(s). MDPI and/or the editor(s) disclaim responsibility for any injury to people or property resulting from any ideas, methods, instructions or products referred to in the content. |
© 2023 by the authors. Licensee MDPI, Basel, Switzerland. This article is an open access article distributed under the terms and conditions of the Creative Commons Attribution (CC BY) license (https://creativecommons.org/licenses/by/4.0/).
Share and Cite
Plotnikov, L.; Ryzhkov, A. The Influence of Supply Channel Design on the Gas-Dynamic Structure of Air Flow in a Vertical Conical Diffuser. Appl. Sci. 2023, 13, 12141. https://doi.org/10.3390/app132212141
Plotnikov L, Ryzhkov A. The Influence of Supply Channel Design on the Gas-Dynamic Structure of Air Flow in a Vertical Conical Diffuser. Applied Sciences. 2023; 13(22):12141. https://doi.org/10.3390/app132212141
Chicago/Turabian StylePlotnikov, Leonid, and Alexander Ryzhkov. 2023. "The Influence of Supply Channel Design on the Gas-Dynamic Structure of Air Flow in a Vertical Conical Diffuser" Applied Sciences 13, no. 22: 12141. https://doi.org/10.3390/app132212141
APA StylePlotnikov, L., & Ryzhkov, A. (2023). The Influence of Supply Channel Design on the Gas-Dynamic Structure of Air Flow in a Vertical Conical Diffuser. Applied Sciences, 13(22), 12141. https://doi.org/10.3390/app132212141

