Next Article in Journal
Numerical Analysis via Mixed Inverse Hydrodynamic Lubrication Theory of Reciprocating Rubber Seal Considering the Friction Thermal Effect
Previous Article in Journal
Determination of Coniferous Wood’s Compressive Strength by SE-DenseNet Model Combined with Near-Infrared Spectroscopy
 
 
Font Type:
Arial Georgia Verdana
Font Size:
Aa Aa Aa
Line Spacing:
Column Width:
Background:
Article

Energy Management Strategy of Hydrogen Fuel Cell/Battery/Ultracapacitor Hybrid Tractor Based on Efficiency Optimization

1
College of Vehicle and Traffic Engineering, Henan University of Science and Technology, Luoyang 471003, China
2
Luoyang Tractor Research Institute Co., Ltd., Luoyang 471003, China
*
Author to whom correspondence should be addressed.
Appl. Sci. 2023, 13(1), 151; https://doi.org/10.3390/app13010151
Submission received: 1 November 2022 / Revised: 12 December 2022 / Accepted: 15 December 2022 / Published: 22 December 2022
(This article belongs to the Section Energy Science and Technology)

Abstract

With the application of new energy technology, hybrid agricultural machinery has been developed. This article designs a hybrid tractor energy management method to solve the problem of high energy consumption caused by significant load fluctuation of the tractor in field operation. This article first analyzes the characteristics of the hydrogen fuel cell, power battery, and ultracapacitor and designs a hybrid energy system for the tractor. Second, the energy management strategy (EMS) of multi-layer decoupling control based on the Haar wavelet and logic rule is designed to realize the multi-layer decoupling of high-frequency, low-frequency, and steady-state signals of load demand power. Then, the EMS redistributes the decoupled power signals to each energy source. Finally, a hardware-in-loop simulation experiment was carried out through the model. The results show that, compared with single-layer control strategies such as fuzzy control and power-following control, the multi-layer control strategy can allocate the demand power more reasonably, and the efficiency of the hydrogen fuel cell is the highest. The average efficiency of the hydrogen fuel cell was increased by 2.87% and 1.2%, respectively. Furthermore, the equivalent hydrogen consumption of the tractor was reduced by 17.06% and 5.41%, respectively, within the experimental cycle. It is shown that the multi-layer control strategy considering power fluctuation can improve the vehicle economy based on meeting the power demanded by the whole vehicle load.

1. Introduction

Environmental protection is becoming more and more critical. With the rapid development of new energy vehicle technology, developing new energy agricultural machinery has become possible [1,2,3]. With the development of fuel cell technology, fuel cells are on the stage as one of the power sources for tractors [4,5,6]. In addition, compared with traditional internal combustion engine vehicles and pure electric vehicles, fuel cell hybrid electric vehicles have better performance, such as energy consumption and emissions [7]. Fuel cell/battery/ultracapacitor hybrid tractors are created in this context [8,9].
The fuel cell has the characteristics of high efficiency and high specific energy, easy to retrofit, but it has the disadvantage of hysteresis in response [10,11,12]. The battery has the advantages of high power density and low cost, but it has the problems of low energy density, easy to overcharge and discharge in case of sudden load change, and shortened life [13,14]. The ultracapacitor has the advantages of fast dynamic response and good cold start performance. However, it has the disadvantages of low power density and short discharge time and can only be used as auxiliary energy for the power supply [15,16]. Nguyen et al. pointed out that tractors work with large resistance fluctuations compared to road vehicles, and their field operations have complex random load characteristics and large load fluctuations [17,18]. However, the fluctuation of system output power has an important effect on the life of fuel cells. The change of the output power affects the flow rate of hydrogen and oxygen input and thus changes the degradation rate of the system. Due to the hysteresis of the PEMFC system, the greater the fluctuation of its output power, the faster the system aging, that is, the lower its life, and the higher the energy consumption [19,20,21,22].
The appropriate EMS can directly affect the operating point of the energy source, extend the service life of the fuel cell, improve the system efficiency, reduce fuel consumption, and allocate energy according to the change of the demand power. Proper EMS is crucial for hydrogen hybrid machinery [23,24,25].
For fuel cell hybrid power system vehicle energy man-agement issues, Farhadi et al. introduce an online multi-level EMS based on pro-posed rule-based and optimization-based approaches for fuel hybrid electric vehicles, including fuel cell, battery, and ultracapacitor systems, which verifies the feasibility of its composite structure and the power compensation effect of the ultracapacitor [26].Ahmadi et al. adopted a fuzzy logic control energy management method for a vehicle, and optimized the control strategy by using multi-objective function optimization and genetic algorithm. The results show that it reduces the output power fluctuation of the battery and prolongs the battery life [27]. Hyun et al. developed a rule-based simulation tool for hybrid tractors. They introduced a simple logic control for a rule-based strategy as an example to show the flexibility of the tool in allowing the adaptation of any logic algorithm by the user. This dramatically increases the speed of development for designers [28]. Tian et al. proposed a real-time BP neural network EMS for hybrid vehicles, which can achieve a globally optimal solution based on the optimal control given by dynamic planning [29]. M Li et al. used a random forest approach for multi-objective optimization to improve the utilization of ultracapacitors and system efficiency for hybrid electric vehicles [30].
In the article [31,32,33], energy management strategies for a composite power system containing a hydrogen fuel cell were investigated to verify the composite power source’s benefits and improve the vehicle range and service life. Hmidi et al. developed a rule-based energy management control strategy for hybrid vehicles and performed simulations to verify it, improving the whole vehicle’s economic performance. However, this design only applies to oil-electric hybrid vehicles and has not been studied for fuel-cell vehicles [34]. Schaltz provides recommendations on the design of the battery and the ultracapacitor energy-storage systems for fuel cell hybrid electric vehicles, which can optimize the size and life of the energy storage device [35]. Li et al. designed an EMS for hybrid vehicles using fuzzy logic control and built a hybrid vehi-cle model to realize the power distribution among various power sources. The selection of its fuzzy rules relies on empirical values, so the parameters must be adjusted during the fuzzy control [36]. Şefkat, G balances the energy consumption of battery and fuel cell through gradient descent optimization method, and adopts fuzzy logic rules for control, and makes efficient operation by controlling the temperature of battery and fuel cell, the results show that, energy efficiency is increased around 7% and 11% at −10 °C and 35 °C ambient temperatures [37].
To improve the vehicle economy based on meeting the power demanded by the vehicle load and to make the fuel cell output power efficient and working smoothly, this article uses the hydrogen fuel cell/LiFePO4 battery/ultracapacitor tractor as the research object. First, the energy characteristics are studied, and it is verified that a single energy system cannot satisfy the complex working conditions of the tractor, and a parallel composite power structure is selected. Second, a multi-layer decoupled energy management control strategy based on wavelet and logic rules is designed to improve the efficiency of the hydrogen fuel cell. Finally, two single-layer control strategies are selected for comparison and validated by a model-in-the-loop experiment.

2. Hybrid Tractor Energy System of Fuel Cell/Power Battery/Ultracapacitor

This chapter examines the characteristics of hydrogen fuel cells, power cells, and ultracapacitors to analyze power supply options and designs rational energy layout for the hybrid tractor.

2.1. Research on the Hydrogen Fuel Cell System

Several articles have introduced mathematical modeling methods for hydrogen fuel cell systems, and this section will refer to building a simple PEMFC model [38,39,40].
In this article, the fuel cell simulation model is built based on the parameters of FC_ANL50H2 proton exchange membrane fuel cell provided in the automotive simulation software Advisor. Figure 1 shows the actual voltage variation curve of the PEMFC.
Open-circuit voltage is calculated as follows [38]:
E OC = K C E n
E n = 1.229 + ( T 298 ) 44.43 2 F + R T 2 F ln P H 2 P O 2 0.5
where E O C is the open circuit voltage, K C is the voltage constant, E n is the energy thermodynamic voltage, F is the Faraday constant, P H 2 and P O 2 are the partial pressures of hydrogen and oxygen into the reactor, respectively, T is the reaction temperature.
As can be seen from Figure 1, there are voltage losses in the PEMFC reaction process, respectively, as follows:
V a = ξ 1 + ξ 2 T + ξ 3 T ln ( C O 2 ) + ξ 4 T ln ( I )
C O 2 = P O 2 5.08 × 10 6 exp ( 498 / T )
where V a is the activation voltage loss, ξ is the empirical factor, I is the fuel cell current, and C O 2 is the oxygen concentration.
V 0 = I R
R = r m l A
r m = 181.6 [ 1 + 0.03 i + 0.0062 ( T / 303 ) 2 i 2.5 ] [ λ 0.634 3 i exp ( 4.18 ( T 303 ) / T ) ]
i = I A
where V 0 is the ohmic voltage loss, R is the fuel cell internal resistance, A is the Tafel slope, i is the exchange current, and l is the thickness of the proton exchange membrane.
V C = B ln ( 1 i i max )
In summary, the hydrogen fuel cell output voltage E F C , power P F C , and efficiency η F C are as follows:
E F C = E O C V a V 0 V C
P F C = E F C I
η F C = E F C E O C
The fuel cell system selected for the tractor in this article has a rated power of 16.8 kW and a peak power of 25 kW. The relationship between the efficiency and power of the PEMFC is shown in Figure 2. It can be seen that hydrogen fuel cells are efficient in specific power regions.

2.2. Research on the Power Battery System

In order to determine the structure of the composite energy source, the output characteristics of the selected power cell need to be studied. The output characteristics of the experimental LiFePO4 battery pack were studied by using 0.5C, 2.0C, 3.0C, and 5.0C discharge rates.
Where C is the experimental discharge rate.
Figure 3 shows the experiment of battery discharge characteristics. Before discharging each group of experiments, the LiFePO4 battery pack should be fully charged to make its SOC close to 1. The DC battery simulator produced by Xi’an Xunpai Technology Co., Ltd. (30 Chuanghui Road, High-tech Zone, Xi’an City, Shaanxi Province, China). is used in this experiment. The discharge resistor matching its discharge rate is set to simulate the static discharge test by using the battery test system until the battery pack is discharged and the SOC approaches 0. The discharge characteristics of the LiFePO4 battery pack during the discharge process are shown in Figure 4.
As seen in Figure 4, the output characteristics of the LiFePO4 battery are related to its charge-discharge rates. Under the same initial SOC condition, the higher the discharge ratio (that is, the higher the discharge current), the lower the battery terminal voltage after the discharge, and the shorter the working time.
Output current fluctuations significantly impact the use of the battery [41]. Therefore, when using LiFePO4 batteries to supply energy to tractors, they face problems such as the decrease in battery terminal voltage and output capacity due to high load fluctuations or high discharge multiplier.

2.3. Research on the Composite Power Supply Structure

The hydrogen fuel cell has the characteristics of high efficiency in specific power areas and is easy to retrofit, but it has the disadvantage of hysteresis in response.
The power battery has high sensitivity in the face of power fluctuations. However, due to its unique double-layer capacitance effect, its high-frequency current cannot flow through the charge transfer reaction. It cannot meet the high-frequency power demand of electric tractor operation, making it challenging to achieve power compensation when the power changes suddenly.
The specific power of ultracapacitors can reach tens of times that of LiFePO4 batteries, up to 3 kW/kg, with good transient performance, capable of power compensation during high-frequency discharge of power batteries, balancing part of the peak power and transient power, reducing the impact of high-frequency current on the efficiency and life of power supply systems.
In summary, the energy system scheme of the hybrid tractor is shown in Figure 5. The energy part includes a hydrogen fuel cell, LiFePO4 battery, and a ultracapacitor module. The three form a composite power supply through DC/DC converter, and the distribution of load demand power is realized through an energy management control module.

3. Energy Management Strategies for Hybrid Tractors

The advantages of hybrid tractors cannot be separated from advanced EMS [15]. To make full use of the advantages of hydrogen fuel cells, LiFePO4 batteries, and ultracapacitors, an energy management control strategy with multi-layer control is proposed in this chapter.

3.1. Principles for the Design of Energy Management Strategies

The EMS designed in this article aims to improve the hybrid tractor’s economy as much as possible.
Multi-layer decoupling of the power signal is achieved by filtering the high-frequency power signal from the electric tractor operation and filtering the higher-order power from the remaining power signal again. The decoupled power is allocated to different energy sources, thus enabling the coupling of the load demand power.
The following design principles are developed:
(1)
Maintain optimal PEMFC efficiency. Through the analysis of PEMFC output efficiency, the maximum efficiency of the PEMFC system is known to be about 60% in this article, and the output power at maximum efficiency is 16.8 kW. 90% of its peak efficiency area is selected as the high-efficiency zone [14 kW, 18 kW]. In order to maintain high economic performance, the EMS needs to control the fuel cell to operate in the high-efficiency zone for as long as possible.
(2)
The power distribution between the LiFePO4 battery and the ultracapacitor should be reasonable. As can be seen from Figure 4, at the end of battery charging (SOC ≥ 0.8) and at the end of discharging (SOC ≤ 0.2), the terminal voltage of a single cell will show a steep increase and decrease, which will quickly cause its overcharge and over discharge and affect its service life. Combined with Figure 4, it can be seen that different discharge multipliers (output current level) also significantly impact the end voltage of the single-cell battery, which affects its service time and battery life. Therefore, when designing the EMS, the PEMFC system and ultracapacitor should be used to maintain the SOC of the battery at [0.2, 0.8] to avoid the overcharge or over-discharge of the battery. The soc range is selected by combining some empirical values from the literature and experiments. Too high or too low battery SOC will affect its performance, which is mentioned in the study of battery performance in Section 2 [13,14,36,37,38].

3.2. First Layer Power Decoupling Based on Haar Wavelets

3.2.1. Selection of Wavelet Type

The wavelet transform can extract signal information in the non-periodic and non-stationary time and frequency domains [42]. The filtering effect of wavelet transform is mainly determined by its function. Compared with other wavelet functions, the Haar wavelet transform has the characteristics of a short filtering span simple form, and its wavelet positive inverse transform is the same. The selection of Haar wavelet transform can effectively reduce the operational complexity of the EMS and thus improve system efficiency.
Based on the Haar wavelet transform, this article uses a two-channel filter bank to decompose the original signal into the basic signal and the detail signal to realize the fast decoupling of the load demand power signal by the EMS.

3.2.2. Design of a Two-Channel Orthogonal Filter Bank

Tractors work with large load fluctuations. According to a 28.5 kW tractor, the frequency of the filtering process is set as the fundamental frequency of fluctuating load of operation mode is +1 Hz.
Some articles introduce the mathematical modeling methods of wavelet filter, this section will make reference to build a simple model [42,43,44,45].
The filter mathematical model is derived using the Haar wavelet function. Its scale functions as follows [42]:
ϕ ( t ) = 1 0 t < 1 0 o t h e r
The Haar wavelet function is derived as
φ t = φ 2 t φ 2 t 1 = 1 0 t 0.5 1 0.5 t 1 0 o t h e r
The Haar scale function and wavelet function are orthogonal. With the scale function ϕ(n) and φ(n) as the parent function, the orthogonal spaces W j and V j are constructed. The parent load demand power discrete signal function is P bj ( n ) V j 1 . It is proved that W j 1 is the complementary orthogonal space of V j 1 for V j . Therefore, by defining the compensation function as w j 1 ( n ) W j 1 , we can get:
P b j ( n ) = w j 1 ( n ) + P b j 1 ( n ) w j 1 ( n ) = b l j 1 φ ( 2 j 1 n l ) P b j 1 ( n ) = a l j 1 ϕ ( 2 j 1 n l ) a l j 1 = ( a 2 l j + a 2 l + 1 j ) / 2 b l j 1 = ( a 2 l j a 2 l + 1 j ) / 2
If P bj ( n ) = P b 0 ( n ) + w j ( n ) , the fluctuating load signal is decomposed into the basic signal and the detail signal, and the detail signal is
w j ( n ) = b l j φ ( 2 j 1 n l )
The load demand power P b is decomposed according to the setting of the control frequency. Reconstruct the tractor load demand power decomposition to layer 4, keeping the detail signal of part j 4 .
Figure 6 shows the flow chart of load power decomposition. First, the P b is similarly discretized by the step function, and the discrete signal P b j ( n ) is decomposed into basic and detail signals by high-pass filter H 0 ( Z ) and low-pass filter H 1 ( Z ) . Then the signal is down-sampled, and the signal is filtered by adjusting the Haar wavelet transform coefficients. Finally, the signal is reconstructed by the filter G n ( Z ) . The steady-state low-frequency power P a ( n ) and high-frequency power are output to complete the load demand power decoupling of power.
Among them, the decoupled high-frequency power characteristics approximate the white noise with a mean value of 0. This part of power can be allocated to the ultracapacitor, and the high power ratio of the ultracapacitor can be used to effectively suppress the high-frequency power signal, protect the hydrogen fuel cell and power battery, and improve the bus voltage quality.
According to Equations (13)–(16), the design filter is set as
H 0 ( z ) H 1 ( z ) G 0 ( z ) G 1 ( z ) T = b 1 b 2 b 3 b 4 b 5 b 6 b 7 b 8 1 z 1 T
According to the previous study [43], the state parameters of the filter bank were set, as shown in Table 1.

3.3. Second Layer Power Decoupling Based on Logic Rules

After the Haar wavelet transform, the filtered signal removes the high-frequency part of the original signal, but the sub-high-frequency power signal still exists in P a ( n ) . In order to keep the PEMFC working in the high-efficiency zone as much as possible, the second layer of filtering decoupling is applied to the P a ( n ) based on the logic rules.
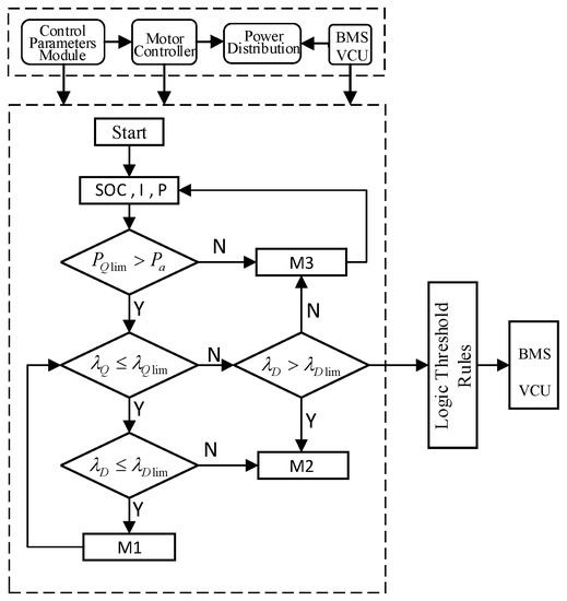
An energy distribution model based on a deterministic rule-based logic threshold control is used to decouple P a ( n ) . The tractor operation characteristics are combined to classify P a ( n ) into different supply modes: hydrogen fuel cell powered mode (M1), multi-energy synergy model (M2), and maximum output mode (M3).
Among them, in M1 mode, the hydrogen fuel cell alone undertakes low-frequency power; in M2 mode, the LiFePO4 battery can compensate for power outside the high-efficiency zone of the PEMFC system; in M3 mode, the hydrogen fuel cell outputs peak power within the logic rule, and the LiFePO4 battery compensates for the excess power.
Considering that the hydrogen fuel cell has response hysteresis, the power fluctuation ratio is defined as λ t u r , and the logic threshold rule limits the output power of the hydrogen fuel cell.
λ t u r = P a P t u r P t u r
Set the threshold control parameters as follows: current hydrogen fuel cell power is P Q ; low-frequency power is P a ( n ) ; optimal hydrogen fuel cell power upper limit threshold is P Q lim ; power fluctuation ratio of the hydrogen fuel cell is λ Q ; power fluctuation ratio threshold of the hydrogen fuel cell is λ lim ; power fluctuation ratio of the LiFePO4 battery is λ D ; power fluctuation ratio threshold of the LiFePO4 battery is λ D lim .
Judgment conditions are set: “ P Q lim > P a ” is N1, “ P Q lim P a ” is N2, “ λ Q λ Q lim ” is N3, “ λ Q > λ Q lim ” is N4, “ λ D λ D lim ” is N5, “ λ D > λ D lim ” is N6. Then the electric tractor’s energy management logic rules are as follows:
R = T ( N 1 N 3 N 5 ) M 1 T ( N 1 N 4 N 5 ) M 2 T ( N 2 N 6 ) M 3
where R is the judgment rule.
The logic threshold rule is shown in Figure 7. It can be seen that using the logic rule, the sub-high-frequency power in the low-frequency power is allocated to the LiFePO4 battery, while the steady-state power is allocated to the PEMFC. When a power surge occurs, if the demand power and its fluctuation ratio are within the allowed threshold, the hydrogen fuel cell will carry out all the power output; when the demand power or its fluctuation ratio exceeds the allowed threshold, the hydrogen fuel cell will only carry out the power output within the threshold of the rule fluctuation ratio. The part beyond the threshold will be provided by the LiFePO4 battery, thus realizing the second layer of decoupling of the low-frequency power.

3.4. Strategy Design for Multi-Layer Energy Management

A multi-layer energy management control strategy is established by combining the first layer of power decoupling with the front Haar wavelet transform and the second layer of power decoupling control with the back logic rule. Its logical structure is shown in Figure 8.
Consider that the tractor has the characteristics of large random load power spectral density when operating. First, based on enhancing the service life and safety, the complex load power signal of the tractor is decoupled into high-frequency and low-frequency power signals in the first layer, where the high-frequency power is directly provided by the ultracapacitor independently. Second, based on enhancing the efficiency and safety of the hydrogen fuel cell, the low-frequency power is decoupled into sub-high frequency power and steady-state power in the second layer, where the steady-state power is provided by the hydrogen fuel cell. The LiFePO4 battery provides the sub-high frequency power, and the power decoupling state in the second layer is continuously adjusted through real-time optimization.

4. In-Loop Testing of the Control Model

Hardware in the Loop (HIL) is a method to test and calibrate the controller through the virtual environment of the whole machine operation. By building a simulation model of the hybrid tractor unit and designing the whole vehicle controller, we develop a hardware-in-the-loop test platform for the whole vehicle controller of the hybrid tractor and conduct HIL testing to verify the effectiveness of the energy management control strategy.
The dSPACE host of the DS1005 series is used to build the hardware-in-the-loop platform of the hybrid tractor, as shown in Figure 9. In the figure, a closed-loop communication is formed between the host computer, the DS1005 HIL device, and the whole vehicle controller. The host computer configures the hardware-in-the-loop test software environment according to the simulation model and uses ControlDesk software to monitor the data changes in the test process. The DS1005 host computer is a standard component system, with the DS1005 as the core processing board and the Power PC processor. The expansion boards mainly include the DS4002 board to send and receive digital signals, the DS2003 board to receive. The DS4002 board sends and receives digital signals, the DS2003 board receives analog signals, the DS2103 board outputs switching signals, and the DS4302 board is used to realize the CAN communication function of the HIL platform. The host computer is equipped with a PowerPC Board communication card for entering the simulation model. After entry, the simulation model is automatically converted into the file form recognized by ControlDesk software. The complete controller and dSPACE communicate via the CAN bus. The controller and dSPACE supply provide external DC power for the complete controller and DS1005, respectively.
In order to verify the superiority of the multi-layer decoupling control strategy established in this article, a single-layer control strategy with power-following, fuzzy control is selected for experiments and compared.
The method of building the random load module in the article [13] was used to obtain a load demand power signal that fits the power spectrum of the tractor load fluctuations. The load demand power is shown in Figure 10.

4.1. Results and Analysis of Power-Following Control Strategy

According to the chemical characteristics of the hydrogen fuel cell, the power-following-based EMS is optimized and designed. The maximum output power of the hydrogen fuel cell is set to 20 kW, and its output power is basically consistent with the load demand power. Through the control model in-loop test, some of its results are shown in Figure 11 and Figure 12.
Figure 11a shows the power output of each energy source in the power-following control strategy experiment, and it can be seen that the hydrogen fuel cell takes up the main load power. Figure 11b shows that the hydrogen fuel cell power under the power-following control strategy fluctuates widely and spans an extensive range.
As shown in Figure 12, the red points in the diagram represent the actual operating points of the PEMFC system, since the power-following control strategy only considers the variation of the load power and does not have the function of optimizing the working points of the PEMFC system, the working points of the PEMFC are more scattered during operation, and most of them deviate from their working efficiency intervals.

4.2. Results and Analysis of Fuzzy Control Type Control Strategy

Using the development process in the article [41], the load demand power, the hydrogen fuel cell’s output power, the hydrogen fuel cell, and the power fluctuation ratio of the hydrogen fuel cell are input variables of the fuzzy controller, and each energy output situation is used as the output of the fuzzy controller. Through the control model in-loop test, some of its results are shown in Figure 13 and Figure 14.
Figure 13 shows the power output of each energy source in the fuzzy control strategy experiment. It can be seen that the hydrogen fuel cell takes up the main load power, and the power fluctuation of the hydrogen fuel cell under the fuzzy control strategy is small and large across. The highest output power of the hydrogen fuel cell based on fuzzy control rules is 18 kW. This control strategy can meet the demand of the load power.
As can be seen from Figure 14, because the fuzzy control type control strategy only considers the change of load power fluctuation and suppresses the fluctuation, it does not consider the optimization of the working point of the PEMFC system, so the working point of PEMFC is more scattered during the working process, and some working points deviate from its efficient working interval.

4.3. Results and Analysis of Multi-Layer Decoupling Control Strategy Based on Wavelet Rules

The wavelet rule-based multi-layer decoupled control strategy proposed in this article is used. Model-in-the-loop simulation experiments are conducted for the tractor load demand power.
First, the load demand power is input into the Haar wavelet-based two-channel orthogonal filter set. The first decoupling layer is performed for the high-frequency and low-frequency power. The results are shown in Figure 15. It can be seen that the high-frequency and low-frequency signals in the load demand power are effectively decoupled after the first filtering layer of the Haar wavelet transform, in which the mean value of high-frequency power is 0.003 kW, and the variance is 0.054 kW2, which approximately conforms to the standard normal distribution. The Haar wavelet-based two-channel filter has both time and frequency resolution to meet the control requirements.
Second, logic rules are used to decouple the low-frequency power signals, which are decoupled by wavelet transform for the second time, and the results are shown in Figure 16. It can be seen that the sub-high frequency signal and steady-state signal in the low-frequency power are effectively decoupled after the second layer decoupling of the logic rule, in which the mean value of the sub-high frequency power is 2.44 kW. The mean value of the steady-state power is 16.57 kW, and the variation of the steady-state power signal is smoother compared to the sub-high frequency signal.
The decoupled power signals are distributed according to the multi-layer EMS designed in Figure 8. Some of the results are shown in Figure 17.
As can be seen from Figure 17, the load demand power is reasonably distributed to each energy source after the multi-layer energy management strategy. The output power of hydrogen fuel cell, power cell, and ultracapacitor shows stable, sub-frequency, and high-frequency characteristics. The output power of the hydrogen fuel cell has a slight fluctuation and a slight span.
As shown in Figure 18, since it has the function of optimizing the working points of the PEMFC system, the working points of the hydrogen fuel cell are more concentrated during the operation, and most of them are concentrated in its high-efficiency zone.

4.4. Comparative Analysis of Energy Management Strategies

All the above three control strategies can meet the supply of demand power. On this premise, to compare the control effects of different energy management strategies, three items of output power fluctuation of the hydrogen fuel cell, hydrogen fuel cell efficiency, and hydrogen consumption are selected as evaluation indexes.
From the comparison of Figure 11, Figure 13 and Figure 17, it can be seen that the output power of the hydrogen fuel cell under the multi-layer decoupled control strategy based on the wavelet rule has the smoothest variation, which can effectively improve the service life of the hydrogen fuel cell and is easier to control.
From Figure 19, it can be seen that the hydrogen fuel cell operating points under the wavelet rule-based multi-layer decoupling control strategy are more intensive and close to the optimal power point of the efficiency curve compared to the power-following and fuzzy control strategies.
Table 2 compares the hydrogen fuel cell’s average power points and efficiency with different control strategies. In the experimental cycle, compared with the power-following and fuzzy control strategies, the average efficiency of the PEMFC under the wavelet rule-based multi-layer decoupling control strategy is the highest, with an increase of 2.87% and 1.2%, respectively.
Some studies have proved that excessive power fluctuation will affect the life of the PEMFC system and accelerate its degradation of the PEMFC system. The larger the output power fluctuation, the faster the system aging when the output power is in the same order of magnitude [10,11,12,13,14]. The study of the life of the PEMFC system is a complicated work, nowadays more complex and multi-objective objectives are being worked on [46,47,48,49,50,51,52,53], but only the output power fluctuation is analyzed in this paper.
To observe the output power fluctuation of the PEMFC system under different control strategies more directly, the method mentioned in Formula (18) was adopted. The sampling interval was 1 s, taking the absolute value of the result, and the fluctuation rate of the output power of the PEMFC system under different control strategies is shown in Figure 20.
It can be seen that the maximum fluctuation ratio of output power per second of the power-following control, fuzzy control, and haar-wavelet control strategy is 14.3%, 10.7%, and 6.8%, respectively. The output power fluctuation rate of the PEMFC system under the haar-wavelet control strategy is the lowest, that is, its output is the smoothest which reflects from the side that it can prolong the service life of the PEMFC.
Table 3 compares the average fluctuation ratio of output power per second and the maximum power fluctuation per second under different control strategies. Obviously, the multi-layer decoupling control strategy based on the haar-wavelet rules effectively suppresses the power output fluctuation of the PEMFC system.
Figure 21 shows the variation curve of hydrogen consumption with time for each control strategy. It can be seen that in the experiment, the equivalent hydrogen consumption of the whole vehicle with the wavelet rule-based multi-layer decoupling control strategy is the lowest. That means it is the most energy efficient under the same operating conditions.
The hydrogen consumption of the PEMFC under the multi-layer decoupling strategy in Figure 21a is lower than that of the power-following control strategy but higher than that of the fuzzy control energy management strategy. This is because the latter two do not consider the optimization of the hydrogen fuel cell operating point, and the LiFePO4 battery or ultracapacitor takes up too little or too much load demand power, so the PEMFC hydrogen consumption is increased or decreased. The equivalent hydrogen consumption of the whole vehicle based on the multi-layer decoupling control strategy with wavelet rule is the lowest throughout the experimental cycle, as shown in Figure 21b.
Table 4 compares the PEMFC and the equivalent hydrogen consumption of the whole vehicle under the three control strategies at the end of the cycle. It can be seen that the equivalent hydrogen consumption of the whole vehicle is reduced by 17.06% and 5.41% for the multi-layer decoupling control strategy based on wavelet rules compared with the power following and fuzzy control strategies in the experimental cycle, respectively.

5. Conclusions

In this article, the characteristics of the hydrogen fuel cell, power cell, and ultracapacitor are analyzed and studied, and a simple model is established to verify that a single energy source cannot meet the characteristics of high and fast-changing power demand during tractor operation. Thus, a hybrid tractor energy system with a hydrogen fuel cell, power cell, and ultracapacitor is designed to provide a theoretical basis for the design of the composite energy tractor.
A multi-layer control-based energy management strategy based on haar wavelet transform and logic rules is designed using the integrated design characteristics of the composite energy sources. The output power of each energy source is optimized with the goal of efficiency optimization and smoothing the output power of the PEMFC system with the tractor power performance as the constraint. The optimization realizes the multilayer decoupling of high-frequency signal, low-frequency signal, sub-high frequency signal, and steady-state signal of tractor load demand power signal, and the decoupled power signal is reasonably allocated to each energy source.
Using model-in-the-loop experiments for verification, the average output power fluctuation per second of the PEMFC system with multilayer control-based EMS based on the haar-wavelet rules decreased by 11.01%, 3.56%, and the maximum output power fluctuation per second decreased by 3.29 kW, 2.15 kW, respectively, during the experimental cycle compared with the single-layer control strategies such as fuzzy control and power-following control. In addition, the operating point of Pemfc is closer to its operating point at maximum efficiency, and the PEMFC system efficiency is effectively improved the operating point of the PEMFC is closer to its operating point at maximum efficiency, and the efficiency of the PEMFC system is effectively improved, so the equivalent hydrogen consumption of the whole tractor is reduced by 16.1% and 6.8%, respectively. The results show that the multilayer controlled energy management strategy designed in this article can make full use of the advantages of the composite energy source on the basis of meeting the load power demand of the whole vehicle, so that the fuel cell can output power in an efficient and smooth working condition, thus improving the economy of the whole vehicle and extending its service life, which is more in line with the green energy-saving policy.
This article focuses on an optimal design approach for the EMS of hybrid tractors considering efficiency optimization and output power smoothing. Nowadays, more complex and multi-objective objectives are being developed; however, the operation of a PEMFC system is a complex process and more variable factors need to be considered in practical engineering, such as temperature, humidity, emissions, and overload operation. In addition, this paper simply uses some existing findings to show that smooth power output can extend the life of the PEMFC, without quantifying how it affects system degradation in detail. However, due to space limitations, these studies will be presented in subsequent research articles.

Author Contributions

Conceptualization, W.X., L.X. and M.L.; methodology, W.X. and L.X.; software, W.X. and M.L.; validation, W.X., L.X. and M.L.; formal analysis, L.X. and M.L.; investigation, S.Z.; resources, W.X. and S.Z.; writing—original draft preparation, W.X., L.X. and M.L.; writing—review and editing, W.X., L.X., M.L. and S.Z.; visualization, W.X.; supervision, L.X., M.L. and S.Z.; project administration, W.X., L.X., M.L. and S.Z.; funding acquisition, L.X. and M.L. All authors have read and agreed to the published version of the manuscript.

Funding

This research was funded by the Major Science and Technology Project of Henan Province (221100240400), Key Scientific Research Project of Colleges and Universities in Henan Province (no. 20A460013), and the National Key Research and Development Program of China (no. 2017YFD070020402).

Data Availability Statement

Not applicable.

Conflicts of Interest

The authors declare no conflict of interest.

Nomenclature

Abbreviation
EMSEnergy management strategy
HILHardware in the Loop
PEMFCProton Exchange Membrane Fuel Cell
SOCState of Charge
Other symbols
E O C Open circuit voltage
K C Voltage constant
E n Energy thermodynamic voltage
F Faraday constant
P H 2 Partial pressures of Hydrogen
P O 2 Partial pressures of Oxygen
T Reaction temperature
V a Activation voltage loss
ξ Empirical factor
I Fuel cell current
C O 2 Oxygen concentration
V 0 Ohmic voltage loss
R Fuel cell internal resistance
A Tafel slope
i Exchange current
l Thickness of the proton exchange membrane
ϕ(n),φ(n)Scale function
W j , V j Orthogonal spaces function
P bj ( n ) Parent load demand power discrete signal
j Level of the reconstruct
H 0 ( Z ) High-pass filter
H 1 ( Z ) Low-pass filter
G n ( Z ) Filter
P a ( n ) Steady-state low-frequency power
P Q Current hydrogen fuel cell power
P Q lim Optimal hydrogen fuel cell power upper limit threshold
λ Q Power fluctuation ratio of the hydrogen fuel cell
λ lim Power fluctuation ratio threshold of the hydrogen fuel cell
λ D Power fluctuation ratio of the LiFePO4 battery
λ D lim Power fluctuation ratio threshold of the LiFePO4 battery
RJudgment rule

References

  1. Ueka, Y.; Yamashita, J.; Sato, K.; Doi, Y. Study on the Development of the Electric Tractor. Eng. Agric. Environ. Food 2013, 6, 160–164. [Google Scholar] [CrossRef]
  2. Gonzalez-de-Soto, M.; Emmi, L.; Benavides, C.; Garcia, I.; Gonzalez-de-Santos, P. Reducing air pollution with hybrid-powered robotic tractors for precision agriculture. Biosyst. Eng. 2016, 143, 79–94. [Google Scholar] [CrossRef]
  3. Praveenkumar, S.; Agyekum, E.B.; Ampah, J.D.; Afrane, S.; Velkin, V.I.; Mehmood, U.; Awosusi, A.A. Techno-economic optimization of PV system for hydrogen production and electric vehicle charging stations under five different climatic conditions in India. Int. J. Hydrogen Energy 2022, 47, 38087–38105. [Google Scholar] [CrossRef]
  4. Justesen, K.K.; Andreasen, S.J.; Shaker, H.R. Dynamic Modeling of a Reformed Methanol Fuel Cell System Using Empirical Data and Adaptive Neuro-Fuzzy Inference System Models. J. Fuel Cell Sci. Technol. 2013, 11, 021004. [Google Scholar] [CrossRef]
  5. Emadi, A.; Lee, Y.J.; Rajashekara, K. Power Electronics and Motor Drives in Electric, Hybrid Electric, and Plug-In Hybrid Electric Vehicles. IEEE Trans. Ind. Electron. 2008, 55, 2237–2245. [Google Scholar] [CrossRef]
  6. Jin, K.; Ruan, X.; Yang, M.; Xu, M. A Hybrid Fuel Cell Power System. IEEE Trans. Ind. Electron. 2009, 56, 1212–1222. [Google Scholar] [CrossRef]
  7. Joshi, A.; Sharma, R.; Baral, B. Comparative life cycle assessment of conventional combustion engine vehicle, battery electric vehicle and fuel cell electric vehicle in Nepal. J. Clean. Prod. 2022, 379, 134407. [Google Scholar] [CrossRef]
  8. Davidson, D.; Fairlie, M.; Stuart, A. Development of a hydrogen-fuelled farm tractor. Int. J. Hydrogen Energy 1986, 11, 39–42. [Google Scholar] [CrossRef]
  9. Kast, J.; Morrison, G.; Gangloff, J.J.; Vijayagopal, R.; Marcinkoski, J. Designing hydrogen fuel cell electric trucks in a diverse medium and heavy duty market. Res. Transp. Econ. 2018, 70, 139–147. [Google Scholar] [CrossRef]
  10. Raeesi, M.; Changizian, S.; Ahmadi, P. Performance analysis of a degraded PEM fuel cell stack for hydrogen passenger vehicles based on machine learning algorithms in real driving conditions. Energy Convers. Manag. 2021, 248, 114793. [Google Scholar] [CrossRef]
  11. Zhang, C.; Liu, Z.; Zhou, W.; Chan, S.H.; Wang, Y. Dynamic performance of a high-temperature PEM fuel cell—An experimental study. Energy 2015, 90, 1949–1955. [Google Scholar] [CrossRef]
  12. Chen, W.; Chen, B.; Meng, K.; Zhou, H.; Tu, Z. Experimental study on dynamic response characteristics and performance degradation mechanism of hydrogen-oxygen PEMFC during loading. Int. J. Hydrogen Energy 2022. [Google Scholar] [CrossRef]
  13. Panchal, S.; Mathew, M.; Dincer, I.; Agelin-Chaab, M.; Fraser, R.; Fowler, M. Thermal and electrical performance assessments of lithium-ion battery modules for an electric vehicle under actual drive cycles. Electr. Power Syst. Res. 2018, 163, 18–27. [Google Scholar] [CrossRef]
  14. Hen, J.; Zhou, Z.; Zhou, Z.; Wang, X.; Liaw, B. Impact of battery cell imbalance on electric vehicle range. Green Energy Intell. Transp. 2022, 1, 100025. [Google Scholar] [CrossRef]
  15. Yalcinoz, T.; Alam, M.S. Improved dynamic performance of hybrid PEM fuel cells and ultracapacitors for portable applications. Int. J. Hydrogen Energy 2008, 33, 1932–1940. [Google Scholar] [CrossRef]
  16. Morales-Morales, J.; Rivera-Cruz, M.A.; Cruz-Alcantar, P.; Bautista Santos, H.; Cervantes-Camacho, I.; Reyes Herrera, V.A. Performance Analysis of a Hybrid Electric Vehicle with Multiple Converter Configuration. Appl. Sci. 2020, 10, 1074. [Google Scholar] [CrossRef]
  17. Nguyen, T.; Kriesten, R.; Chrenko, D. Concept for Generating Energy Demand in Electric Vehicles with a Model Based Approach. Appl. Sci. 2022, 12, 3968. [Google Scholar] [CrossRef]
  18. Mattetti, M.; Michielan, E.; Mantovani, G.; Varani, M. Objective evaluation of gearshift process of agricultural tractors. Biosyst. Eng. 2022, 224, 324–335. [Google Scholar] [CrossRef]
  19. Chen, X.; Long, S.; He, L.; Wang, C.; Chai, F.; Kong, X.; Tu, Z. Performance evaluation on thermodynamics-economy-environment of PEMFC vehicle power system under dynamic condition. Energy Convers. Manag. 2022, 269, 116082. [Google Scholar] [CrossRef]
  20. Chang, C.-C.; Huang, P.-C.; Tu, J.-S. Life cycle assessment of yard tractors using hydrogen fuel at the Port of Kaohsiung, Taiwan. Energy 2019, 189, 116222. [Google Scholar] [CrossRef]
  21. Hegazy, O.; Van Mierlo, J.; Lataire, P.; Coosemans, T.; Smenkens, J.; Monem, M.A.; Omar, N.; Van den Bossche, P. An Evaluation Study of Current and Future Fuel Cell Hybrid Electric Vehicles Powertrains. World Electr. Veh. J. 2013, 6, 476–483. [Google Scholar] [CrossRef]
  22. Ahmadi, P.; Khoshnevisan, A. Dynamic simulation and lifecycle assessment of hydrogen fuel cell electric vehicles considering various hydrogen production methods. Int. J. Hydrogen Energy 2022, 47, 26758–26769. [Google Scholar] [CrossRef]
  23. Sulaiman, N.; Hannan, M.A.; Mohamed, A.; Majlan, E.H.; Wan Daud, W.R. A review on energy management system for fuel cell hybrid electric vehicle: Issues and challenges. Renew. Sustain. Energy Rev. 2015, 52, 802–814. [Google Scholar] [CrossRef]
  24. Sulaiman, N.; Hannan, M.A.; Mohamed, A.; Ker, P.J.; Majlan, E.H.; Wan Daud, W.R. Optimization of energy management system for fuel-cell hybrid electric vehicles: Issues and recommendations. Appl. Energy 2018, 228, 2061–2079. [Google Scholar] [CrossRef]
  25. Zhao, X.; Wang, L.; Zhou, Y.; Pan, B.; Wang, R.; Wang, L.; Yan, X. Energy management strategies for fuel cell hybrid electric vehicles: Classification, comparison, and outlook. Energy Convers. Manag. 2022, 270, 116179. [Google Scholar] [CrossRef]
  26. Ahmadi, S.; Bathaee, S.M.T.; Hosseinpour, A.H. Improving fuel economy and performance of a fuel-cell hybrid electric vehicle (fuel-cell, battery, and ulta-capacitor) using optimized energy management strategy. Energy Convers Manag. 2018, 160, 74–84. [Google Scholar] [CrossRef]
  27. Farhadi Gharibeh, H.; Farrokhifar, M. Online Multi-Level Energy Management Strategy Based on Rule-Based and Optimization-Based Approaches for Fuel Cell Hybrid Electric Vehicles. Appl. Sci. 2021, 11, 3849. [Google Scholar] [CrossRef]
  28. Won, H.W. Development of a Hybrid Electric Vehicle Simulation Tool with a Rule-Based Topology. Appl. Sci. 2021, 11, 11319. [Google Scholar] [CrossRef]
  29. Tian, H.; Lu, Z.; Wang, X.; Zhang, X.; Huang, Y.; Tian, G. A length ratio based neural network energy management strategy for online control of plug-in hybrid electric city bus. Appl. Energy 2016, 177, 71–80. [Google Scholar] [CrossRef]
  30. Li, M.; Wang, L.; Wang, Y.; Chen, Z. Sizing Optimization and Energy Management Strategy for Hybrid Energy Storage System Using Multi-objective Optimization and Random Forests. IEEE Trans. Power Electron. 2021, 36, 11421–11430. [Google Scholar] [CrossRef]
  31. Li, S.; He, H.; Zhao, P. Energy management for hybrid energy storage system in electric vehicle: A cyber-physical system perspective. Energy 2021, 230, 120890. [Google Scholar] [CrossRef]
  32. Han, Y.; Li, Q.; Wang, T.; Chen, W.; Ma, L. Multisource Coordination Energy Management Strategy Based on SOC Consensus for a PEMFC–Battery–Supercapacitor Hybrid Tramway. IEEE Trans. Veh. Technol. 2018, 67, 296–305. [Google Scholar] [CrossRef]
  33. Wu, J.; He, H.; Peng, J.; Li, Y.; Li, Z. Continuous reinforcement learning of energy management with deep Q network for a power split hybrid electric bus. Appl. Energy 2018, 222, 799–811. [Google Scholar] [CrossRef]
  34. Hmidi, M.E.; Ben Salem, I.; El Amraoui, L. Analysis of rule-based parameterized control strategy for a HEV Hybrid Electric Vehicle. In Proceedings of the 19th International Conference on Sciences and Techniques of Automatic Control and Computer Engineering (STA), Sousse, Tunisia, 24–26 March 2019. [Google Scholar] [CrossRef]
  35. Schaltz, E.; Khaligh, A.; Rasmussen, P.O. Influence of Battery/Ultracapacitor Energy-Storage Sizing on Battery Lifetime in a Fuel Cell Hybrid Electric Vehicle. IEEE Trans. Veh. Technol. 2009, 58, 3882–3891. [Google Scholar] [CrossRef]
  36. Li, Q.; Chen, W.; Li, Y.; Liu, S.; Huang, J. Energy management strategy for fuel cell/battery/ultracapacitor hybrid vehicle based on fuzzy logic. Int. J. Electr. Power Energy Syst. 2012, 43, 514–525. [Google Scholar] [CrossRef]
  37. Şefkat, G.; Özel, M.A. Experimental and numerical study of energy and thermal management system for a hydrogen fuel cell-battery hybrid electric vehicle. Energy 2021, 238, 121794. [Google Scholar] [CrossRef]
  38. Jia, J.; Wang, Y.; Li, Q.; Cham, Y.T.; Han, M. Modeling and Dynamic Characteristic Simulation of a Proton Exchange Membrane Fuel Cell. IEEE Trans. Energy Convers. 2009, 24, 283–291. [Google Scholar] [CrossRef]
  39. Dai, C.; Chen, W.; Cheng, Z.; Li, Q.; Jiang, Z.; Jia, J. Seeker optimization algorithm for global optimization: A case study on optimal modelling of proton exchange membrane fuel cell (PEMFC). Int. J. Electr. Power Energy Syst. 2011, 33, 369–376. [Google Scholar] [CrossRef]
  40. Karimi, M.; Rezazadeh, A. Dynamic modelling of PEMFC by adaptive neuro-fuzzy inference system. Int. J. Electr. Hybrid Veh. 2016, 8, 289. [Google Scholar] [CrossRef]
  41. Xu, W.; Liu, M.; Xu, L. Simulation of multi-power composite electric tractor based on power fluctuation ratio. In Proceedings of the 2021 4th International Conference on Mechanical, Electrical and Material Application (MEMA 2021), Chongqing, China, 29–31 October 2021; Volume 2125. [Google Scholar] [CrossRef]
  42. Falkowski, B.J. Forward and inverse transformations between Haar wavelet and arithmetic functions. Electron. Lett. 1998, 34, 1084–1085. [Google Scholar] [CrossRef]
  43. Liu, M.N. Electric Tractor Energy System and Management Strategy Research Based on Load Power Spectral Density. Trans. Chin. Soc. Agric. Mach. 2018, 49, 358–366. [Google Scholar] [CrossRef]
  44. Singh, I.; Kumar, S. Haar wavelet method for some nonlinear Volterra integral equations of the first kind. J. Comput. Appl. Math. 2015, 292, 541–552. [Google Scholar] [CrossRef]
  45. Sathar, M.H.A.; Rasedee, A.F.N.; Ahmedov, A.A.; Bachok, N. Numerical Solution of Nonlinear Fredholm and Volterra Integrals by Newton–Kantorovich and Haar Wavelets Methods. Symmetry 2020, 12, 2034. [Google Scholar] [CrossRef]
  46. Castaings, A.; Lhomme, W.; Trigui, R.; Bouscayrol, A. Energy Management of a Multi-Source Vehicle by λ-Control. Appl. Sci. 2020, 10, 6541. [Google Scholar] [CrossRef]
  47. Zanabria, C.; Andrén, F.P.; Kathan, J.; Strasser, T.I. Rapid Prototyping of Multi-Functional Battery Energy Storage System Applications. Appl. Sci. 2018, 8, 1326. [Google Scholar] [CrossRef]
  48. Sayed, K.; Kassem, A.; Saleeb, H.; Alghamdi, A.S.; Abo-Khalil, A.G. Energy-Saving of Battery Electric Vehicle Powertrain and Efficiency Improvement during Different Standard Driving Cycles. Sustainability 2020, 12, 10466. [Google Scholar] [CrossRef]
  49. Li, H.; Xu, Y.; Yang, Y.; Si, C. Simulation and Optimization of FEV Limit Discharge’s Heat Dissipation Based on Orthogonal Experiments. Materials 2020, 13, 5563. [Google Scholar] [CrossRef]
  50. Lin, K.-C.; Lin, C.-N.; Ying, J.J.-C. Construction of Analytical Models for Driving Energy Consumption of Electric Buses through Machine Learning. Appl. Sci. 2020, 10, 6088. [Google Scholar] [CrossRef]
  51. Xu, W.; Xu, L.; Liu, M.; Zhang, Y.; Song, L. Research on energy management strategy of hybrid tractor based on layered decoupling. In Proceedings of the 2nd International Conference on Advanced Materials and Mechatronics, Dali, China, 24–26 June 2022; Volume 2343, p. 012018. [Google Scholar] [CrossRef]
  52. Kersic, M.; Bocklisch, T.; Böttiger, M.; Gerlach, L. Coordination Mechanism for PV Battery Systems with Local Optimizing Energy Management. Energies 2020, 13, 611. [Google Scholar] [CrossRef]
  53. Patil, S.S.; Bewoor, A.K.; Patil, R.B.; Kumar, R.; Ongar, B.; Sarsenbayev, Y.; PraveenKumar, S.; Ibrahim, A.M.M.; Alsoufi, M.S.; Elsheikh, A. A New Approach for Failure Modes, Effects, and Criticality Analysis Using ExJ-PSI Model—A Case Study on Boiler System. Appl. Sci. 2022, 12, 11419. [Google Scholar] [CrossRef]
Figure 1. The actual voltage variation curve of the PEMFC.
Figure 1. The actual voltage variation curve of the PEMFC.
Applsci 13 00151 g001
Figure 2. The relationship between output power and efficiency of PEMFC systems.
Figure 2. The relationship between output power and efficiency of PEMFC systems.
Applsci 13 00151 g002
Figure 3. Experiment on the discharge characteristics of LiFePO4 battery.
Figure 3. Experiment on the discharge characteristics of LiFePO4 battery.
Applsci 13 00151 g003
Figure 4. (a) The relationship between SOC and the terminal voltage of LiFePO4 battery single cells at different discharge rates. (b) The relationship between time and the terminal voltage of LiFePO4 battery single cells at different discharge rates.
Figure 4. (a) The relationship between SOC and the terminal voltage of LiFePO4 battery single cells at different discharge rates. (b) The relationship between time and the terminal voltage of LiFePO4 battery single cells at different discharge rates.
Applsci 13 00151 g004
Figure 5. The energy system of the hybrid tractor.
Figure 5. The energy system of the hybrid tractor.
Applsci 13 00151 g005
Figure 6. Block diagram of the power allocation.
Figure 6. Block diagram of the power allocation.
Applsci 13 00151 g006
Figure 7. Logic rule-based power allocation process.
Figure 7. Logic rule-based power allocation process.
Applsci 13 00151 g007
Figure 8. Multi-layer energy management strategy.
Figure 8. Multi-layer energy management strategy.
Applsci 13 00151 g008
Figure 9. The HIL platform of the Hybrid tractor.
Figure 9. The HIL platform of the Hybrid tractor.
Applsci 13 00151 g009
Figure 10. The load demand power of the hybrid tractor.
Figure 10. The load demand power of the hybrid tractor.
Applsci 13 00151 g010
Figure 11. (a) The power output of each energy part; (b) the power output of the hydrogen fuel cell.
Figure 11. (a) The power output of each energy part; (b) the power output of the hydrogen fuel cell.
Applsci 13 00151 g011
Figure 12. The actual working point of the hydrogen fuel cell.
Figure 12. The actual working point of the hydrogen fuel cell.
Applsci 13 00151 g012
Figure 13. The power output of each energy part.
Figure 13. The power output of each energy part.
Applsci 13 00151 g013
Figure 14. The actual working point of the hydrogen fuel cell.
Figure 14. The actual working point of the hydrogen fuel cell.
Applsci 13 00151 g014
Figure 15. First−layer decoupling results based on the Haar wavelet.
Figure 15. First−layer decoupling results based on the Haar wavelet.
Applsci 13 00151 g015
Figure 16. Second−layer decoupling results based on the logic rules.
Figure 16. Second−layer decoupling results based on the logic rules.
Applsci 13 00151 g016
Figure 17. (a) The power output of each energy part; (b) The power output of the hydrogen fuel cell; (c) The power output of the LiFePO4 battery; (d) The power output of the ultracapacitor.
Figure 17. (a) The power output of each energy part; (b) The power output of the hydrogen fuel cell; (c) The power output of the LiFePO4 battery; (d) The power output of the ultracapacitor.
Applsci 13 00151 g017aApplsci 13 00151 g017b
Figure 18. The actual working point of the hydrogen fuel cell.
Figure 18. The actual working point of the hydrogen fuel cell.
Applsci 13 00151 g018
Figure 19. Comparison of actual operating points of hydrogen fuel cells with different control strategies.
Figure 19. Comparison of actual operating points of hydrogen fuel cells with different control strategies.
Applsci 13 00151 g019
Figure 20. Comparison of the output power fluctuation rate of the PEMFC with different control strategies.
Figure 20. Comparison of the output power fluctuation rate of the PEMFC with different control strategies.
Applsci 13 00151 g020
Figure 21. (a) Comparison of the PEMFC; (b) comparison of the equivalent hydrogen consumption of the whole vehicle.
Figure 21. (a) Comparison of the PEMFC; (b) comparison of the equivalent hydrogen consumption of the whole vehicle.
Applsci 13 00151 g021
Table 1. State parameters of the two-channel quadrature filter bank.
Table 1. State parameters of the two-channel quadrature filter bank.
FiltersParametersValue
H0(Z)b1−0.7071
b20.7071
H1(Z)b30.7071
b40.7071
G0(Z)b50.7071
b6−0.7071
G1(Z)b70.7071
b80.7071
Table 2. Comparison of the efficiency of hydrogen fuel cells with different control strategies.
Table 2. Comparison of the efficiency of hydrogen fuel cells with different control strategies.
Types of Control StrategiesAverage Power Point of the Hydrogen Fuel Cell/kWThe Average Efficiency of the Hydrogen Fuel Cell/%
power-following18.557.52
fuzzy control16.1258.45
multi-layer decoupling control16.5759.16
Table 3. Comparison of the fluctuation of the PEMFC of different control strategies.
Table 3. Comparison of the fluctuation of the PEMFC of different control strategies.
Types of Control StrategiesAverage Fluctuation Ratio of Output Power per Second/%Maximum Power Fluctuation per Second/kW
power-following13.264.98
fuzzy control5.813.84
multi-layer decoupling control2.251.69
Table 4. Hydrogen consumption results for the three control strategies.
Table 4. Hydrogen consumption results for the three control strategies.
Types of Control StrategiesThe Comparison of the PEMFC/kgThe Equivalent Hydrogen Consumption of the Whole Vehicle/kg
power-following0.01940.0242
fuzzy control0.01060.0218
multi-layer decoupling control0.01530.0203
Disclaimer/Publisher’s Note: The statements, opinions and data contained in all publications are solely those of the individual author(s) and contributor(s) and not of MDPI and/or the editor(s). MDPI and/or the editor(s) disclaim responsibility for any injury to people or property resulting from any ideas, methods, instructions or products referred to in the content.

Share and Cite

MDPI and ACS Style

Xu, W.; Liu, M.; Xu, L.; Zhang, S. Energy Management Strategy of Hydrogen Fuel Cell/Battery/Ultracapacitor Hybrid Tractor Based on Efficiency Optimization. Appl. Sci. 2023, 13, 151. https://doi.org/10.3390/app13010151

AMA Style

Xu W, Liu M, Xu L, Zhang S. Energy Management Strategy of Hydrogen Fuel Cell/Battery/Ultracapacitor Hybrid Tractor Based on Efficiency Optimization. Applied Sciences. 2023; 13(1):151. https://doi.org/10.3390/app13010151

Chicago/Turabian Style

Xu, Wenxiang, Mengnan Liu, Liyou Xu, and Shuai Zhang. 2023. "Energy Management Strategy of Hydrogen Fuel Cell/Battery/Ultracapacitor Hybrid Tractor Based on Efficiency Optimization" Applied Sciences 13, no. 1: 151. https://doi.org/10.3390/app13010151

APA Style

Xu, W., Liu, M., Xu, L., & Zhang, S. (2023). Energy Management Strategy of Hydrogen Fuel Cell/Battery/Ultracapacitor Hybrid Tractor Based on Efficiency Optimization. Applied Sciences, 13(1), 151. https://doi.org/10.3390/app13010151

Note that from the first issue of 2016, this journal uses article numbers instead of page numbers. See further details here.

Article Metrics

Back to TopTop