Dynamic Responses of a Pile with a Cap under the Freezing and Thawing Processes of a Saturated Porous Media Considering Slippage between Pile and Soil
Abstract
:1. Introduction
2. Model Establishing
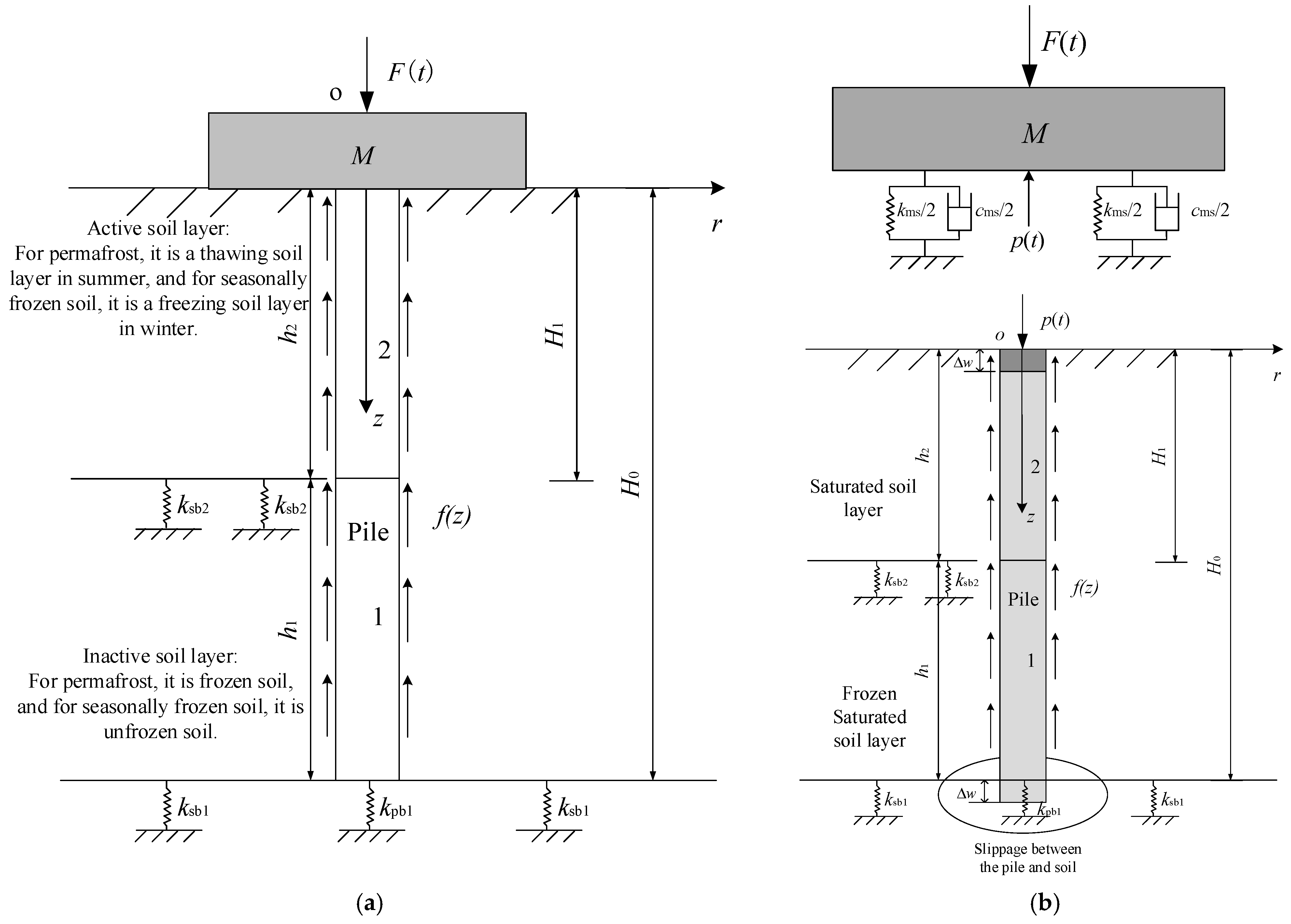
2.1. Schematic Diagram
2.2. Governing Equations
2.2.1. Dynamic Equations of the Soil Layer
2.2.2. Governing Equations of Pile Vibration
2.2.3. Governing Equations of Pile Cap Vibration
2.3. Boundary and Initial Conditions of the Pile–Soil–Cap System
2.3.1. Boundary Conditions of the Soil Layer in Four Cases

- (1)
- The boundary conditions of the inactive layer
- (2)
- The boundary conditions of the active layer
- (1)
- The upper surface is a free boundary, the normal stress is zero, and the pore pressure is zero;
- (2)
- There is no lateral displacement on the pile shaft, and it meets the impervious condition;
- (3)
- The shear stresses at the interface between the pile and soil remain equal, and the slippage contact is kept between the pile and soil.
2.3.2. The Boundary Conditions of the Single Pile
2.3.3. The Initial Conditions of the Pile–Soil–Cap Vibration System
3. Solutions of the Pile Foundation
3.1. Solution to Dynamic Response of the Single Pile with Slippage
3.1.1. Inactive Layer Solution
3.1.2. Active Layer Solution
3.2. Solution to Dynamic Response of the Single Pile with Slippage
4. Model Validation
4.1. Degradation of the Vertical Vibration of a Single-Pile Foundation in a Freezing–Thawing Stratum
4.2. Comparison of the Pile Foundation of the Slippage Model with the Model Tests
4.2.1. Model Materials
4.2.2. Comparison of the Results from the Model Tests
5. Parameter Study and Discussion
5.1. Influence of the Parameters of the Freezing/Thawing Stratum on the Dynamic Responses
5.1.1. Comparison of the Vertical Vibrations of a Rigid Cap with/without the Mass
5.1.2. Effect of the Freezing and Thawing Depth
5.1.3. Effects of Temperature on the Dynamic Response of the Single-Pile Foundation
5.1.4. Effect of the Dynamic Shear Modulus of Unfrozen Soil
5.2. Influence of the Single-Pile Foundation Parameters
5.2.1. Influence of the Pile–Soil Interface Parameters
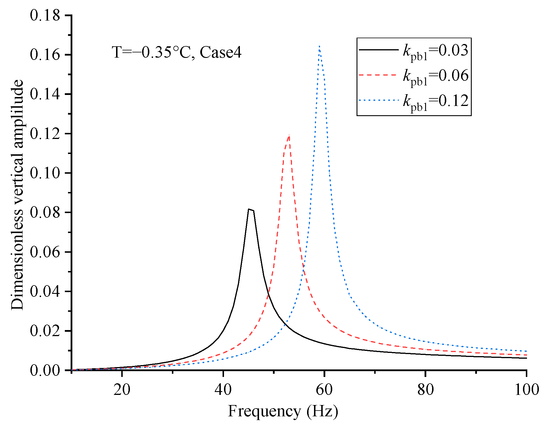
5.2.2. Influence of Pile Bottom-Support Stiffness
5.2.3. Influence of the Pile Cap Mass
5.2.4. Influence of the Support Parameters at the Pile Cap Bottom
6. Conclusions
- Based on the theory of composite porous media, a simplified axisymmetric model of the vertical vibration of a single-pile foundation in a frozen/thawed stratum is established, and the analytical solution of the dynamic response of the pile cap is obtained. The present solution taking into account the slippage between the pile and soil is more reasonable than the perfect contact model, which overestimates the resonant frequency and underestimates the amplitude of the single-pile foundation;
- Both the comparisons of the present solution with the existing experimental results of a vertical vibration model test for a pile cap foundation in unfrozen soil, and the present experiment in an artificially freezing/thawing ground show that the slippage model for pile foundation can agree well with the experimental results;
- The mass of the pile cap has an obvious influence on the vertical vibration of the pile foundation, which should not be ignored. The thickness of the active layer, the freezing temperature, the shear modulus of the unfrozen soil and the contact parameters of the pile and soil also have a significant influence on the vibration of vertical the pile foundation;
- The slippage parameters in the proposed method can be calibrated according to different pile and soil types, which needs to be further studied through a large number of experiments.
Author Contributions
Funding
Institutional Review Board Statement
Informed Consent Statement
Data Availability Statement
Conflicts of Interest
Appendix A
Appendix A.1. Inactive Layer Solution of Seasonally Frozen Soil
Appendix A.2. Inactive Layer Solution of Permafrost
Appendix A.3. Active Layer Solution of Seasonally Frozen Soil
Appendix A.4. Active Layer Solution of Permafrost
Appendix B
| Experimental Parameter | H0 | a | ρb | Eb | Static Load (Ws) | W·e | μ |
| Value | 22 m | 0.45 m | 2500 kg/m3 | 30 GPa | 10 kN | 0.278 N⋅m | 4–15 MPa |
| Analytical parameters | kpb | kst1 | ksb1 | μsm0 | υ | ks | ki |
| value | 0.1 | 0.1 | 1 | 20 MPa | 0.35 | 0.001 | 0.001 |
| Experimental Parameter | H0 | a | ρb | Eb | Static Load (Ws) | W·e | μ |
| Value | 2.75 m | 0.0953 m | 7850 kg/m3 | 210 GPa | 9.2 kN | 0.0245 N⋅m | 12–62 MPa |
| Analytical parameters | kpb | kst1 | ksb1 | μsm0 | υ | ks | ki |
| Value | 0.018 | 0.1 | 1 | 42 MPa | 0.3 | 0.15 | 0.01 |
References
- Deb Roy, S.; Pandey, A.; Saha, R. Shake table study on seismic soil-pile foundation-structure interaction in soft clay. Structures 2021, 29, 1229–1241. [Google Scholar] [CrossRef]
- Zhang, Y.; Jiang, G.; Wu, W.; El Naggar, M.H.; Liu, H.; Wen, M.; Wang, K. Analytical solution for distributed torsional low strain integrity test for pipe pile. Int. J. Numer. Anal. Methods Geomech. 2022, 46, 47–67. [Google Scholar] [CrossRef]
- Liu, X.; El Naggar, M.H.; Wang, K.; Wu, W. Dynamic soil resistance to vertical vibration of pipe pile. Ocean Eng. 2021, 220, 108381. [Google Scholar] [CrossRef]
- Zheng, C.; Liu, H.; Kouretzis, G.P.; Sloan, S.W.; Ding, X. Vertical response of a thin-walled pipe pile embedded in viscoelastic soil to a transient point load with application to low-strain integrity testing. Comput. Geotech. 2015, 70, 50–59. [Google Scholar] [CrossRef]
- Loseva, E.; Lozovsky, I.; Zhostkov, R. Identifying Small Defects in Cast-in-Place Piles Using Low Strain Integrity Testing. Indian Geotech. J. 2022, 52, 270–279. [Google Scholar] [CrossRef]
- Tu, Y.; Wang, K.; Liu, X.; Rizvi, S.M.F.; Qiu, X. Wave reflection characteristics at the pile tip-soil interface under low strain dynamic condition. Comput. Geotech. 2021, 130, 103916. [Google Scholar] [CrossRef]
- Wu, J.; El Naggar, M.H.; Wang, K.; Liu, X. Analytical Study of Employing Low-Strain Lateral Pile Integrity Test on a Defective Extended Pile Shaft. J. Eng. Mech. 2020, 146, 4020103. [Google Scholar] [CrossRef]
- Liu, H.; Wu, W.; Yang, X.; Jiang, G.; El Naggar, M.H.; Mei, G.; Liang, R. Detection sensitivity analysis of pipe pile defects during low-strain integrity testing. Ocean Eng. 2019, 194, 106627. [Google Scholar] [CrossRef]
- Wu, J.; El Naggar, M.H.; Wang, K.; Wu, W. Lateral vibration characteristics of an extended pile shaft under low-strain integrity test. Soil Dyn. Earthq. Eng. 2019, 126, 105812. [Google Scholar] [CrossRef]
- Gao, L.; Wang, K.; Wu, J.; Xiao, S.; Wang, N. Analytical solution for the dynamic response of a pile with a variable-section interface in low-strain integrity testing. J. Sound Vib. 2017, 395, 328–340. [Google Scholar] [CrossRef]
- Lu, Z.; Wang, Z.; Liu, D. Study on low-strain integrity testing of pipe-pile using the elastodynamic finite integration technique. Int. J. Numer. Anal. Methods Geomech. 2013, 37, 536–550. [Google Scholar] [CrossRef]
- Chai, H.-Y.; Phoon, K.-K.; Zhang, D.-J. Effects of the Source on Wave Propagation in Pile Integrity Testing. J. Geotech. Geoenviron. Eng. 2010, 136, 1200–1208. [Google Scholar] [CrossRef]
- Ding, X.; Liu, H.; Liu, J.; Chen, Y. Wave Propagation in a Pipe Pile for Low-Strain Integrity Testing. J. Eng. Mech. 2011, 137, 598–609. [Google Scholar] [CrossRef]
- Varghese, R.; Boominathan, A.; Banerjee, S. Stiffness and load sharing characteristics of piled raft foundations subjected to dynamic loads. Soil Dyn. Earthq. Eng. 2020, 133, 106117. [Google Scholar] [CrossRef]
- Bhowmik, D.; Baidya, D.K.; Dasgupta, S.P. A numerical and experimental study of hollow steel pile in layered soil subjected to vertical dynamic loading. Soil Dyn. Earthq. Eng. 2016, 85, 161–165. [Google Scholar] [CrossRef]
- Liming, Q.; Xuanming, D.; Changjie, Z.; Chongrong, W.; Guangwei, C. Numerical and test study on vertical vibration characteristics of pile group in slope soil topography. Earthq. Eng. Eng. Vib. 2021, 20, 377–390. [Google Scholar] [CrossRef]
- Bhowmik, D.; Baidya, D.K.; Dasgupta, S.P. A numerical and experimental study of hollow steel pile in layered soil subjected to lateral dynamic loading. Soil Dyn. Earthq. Eng. 2013, 53, 119–129. [Google Scholar] [CrossRef]
- Biswas, S.; Manna, B. Three dimensional finite element nonlinear dynamic analysis of full-scale piles under vertical excitations. In Proceedings of the Proceedings of the 18th International Conference on Soil Mechanics and Geotechnical Engineering, Paris, France, 2–6 September 2013. [Google Scholar]
- Yang, X.; Wang, L.; Wu, W.; Liu, H.; Jiang, G.; Wang, K.; Mei, G. Vertical Dynamic Impedance of a Viscoelastic Pile in Arbitrarily Layered Soil Based on the Fictitious Soil Pile Model. Energies 2022, 15, 2087. [Google Scholar] [CrossRef]
- Zheng, C.; Kouretzis, G.; Ding, X.; Luan, L. Vertical vibration of end-bearing single piles in poroelastic soil considering three-dimensional soil and pile wave effects. Comput. Geotech. 2022, 146, 104740. [Google Scholar] [CrossRef]
- Kwon, S.Y.; Yoo, M. Evaluation of Dynamic Soil-Pile-Structure Interactive Behavior in Dry Sand by 3D Numerical Simulation. Appl. Sci. 2019, 9, 2612. [Google Scholar] [CrossRef] [Green Version]
- Song, S.-H.; Lee, S.S. Finite Element Steady-State Vibration Analysis Considering Frequency-Dependent Soil-Pile Interaction. Appl. Sci. 2019, 9, 5371. [Google Scholar] [CrossRef] [Green Version]
- Srivastava, D.; Choudhary, S.S.; Biswas, S.; Manna, B. Dynamic Response Characteristics of Hollow Steel Single Pile under Vertical Excitations. In Geotechnical Applications; Anirudhan, I.V., Maji, V.B., Eds.; Springer: Singapore, 2019; pp. 33–40. [Google Scholar]
- Bryden, C.; Arjomandi, K.; Valsangkar, A. Modified Elastic Parameters for the Dynamic Axial Impedance of Driven Piles. Pract. Period. Struct. Des. Constr. 2018, 23, 04018018. [Google Scholar] [CrossRef]
- Choudhary, S.; Biswas, S.; Manna, B. Effect of Pile Arrangements on the Dynamic Coupled Response of Pile Groups. Geotech. Geol. Eng. 2021, 39, 1963–1978. [Google Scholar] [CrossRef]
- Halder, P.; Manna, B. Large scale model testing to investigate the influence of granular cushion layer on the performance of disconnected piled raft system. Acta Geotech. 2021, 16, 1597–1614. [Google Scholar] [CrossRef]
- Choudhary, S.S.; Biswas, S.; Manna, B. Dynamic Response Characteristics of Pile Group Under Axial Harmonic Loading. In Earthquakes and Structures; Sitharam, T.G., Kolathayar, S., Jakka, R., Eds.; Springer Singapore: Singapore, 2022; pp. 359–366. [Google Scholar]
- Sinha, S.K.; Biswas, S.; Manna, B. Nonlinear Characteristics of Floating Piles Under Rotating Machine Induced Vertical Vibration. Geotech. Geol. Eng. 2015, 33, 1031–1046. [Google Scholar] [CrossRef]
- Rashidifar, M.A.; Rashidifar, A.A.; Abertavi, A. Nonlinear characteristics of the pile soil system under vertical vibration. Univers. J. Eng. Sci. 2016, 4, 59–65. [Google Scholar] [CrossRef]
- Choudhary, S.S.; Biswas, S.; Manna, B. Vertical Response of 2 × 2 Pile Group Under Rotating Machine Induced Vibrations. In Proceedings of the China–Europe Conference on Geotechnical Engineering, Vienna, Austria, 13–16 August 2018; Wu, W., Yu, H.-S., Eds.; Springer International Publishing: Cham, Switzerland, 2018; pp. 915–918. [Google Scholar]
- Mann, B.; Baidya, D. Vertical Vibration of Full-Scale Single Pile-Testing and Analysis. In Proceedings of the 12th International Conference on Computer Methods and Advances in Geomechanics, Goa, India, 1–6 October 2008; Volume 2008, p. 4. [Google Scholar]
- Fattah, M.Y.; Zabar, B.S.; Mustafa, F.S. Effect of saturation on response of a single pile embedded in saturated sandy soil to vertical vibration. Eur. J. Environ. Civ. Eng. 2020, 24, 381–400. [Google Scholar] [CrossRef]
- Biswas, S.; Manna, B. Experimental and Theoretical Studies on the Nonlinear Characteristics of Soil-Pile Systems under Coupled Vibrations. J. Geotech. Geoenviron. Eng. 2018, 144, 04018007. [Google Scholar] [CrossRef]
- Kostiuk, T.; Kolesnikov, A.; Popov, V. Group Effect of Piles at the Foundation Vibrations. IOP Conf. Ser. Mater. Sci. Eng. 2020, 953, 12007. [Google Scholar] [CrossRef]
- Li, Y.; Zhang, J.; Chen, H.; Qiang, D.; Wang, Y. Study on the Dynamic Response Characteristics and p–y Curve of Straight and Inclined Pile Groups in Saturated Sands. Appl. Sci. 2022, 12, 2363. [Google Scholar] [CrossRef]
- Gui, M.-W.; Alebachew, A.A. Responses of Laterally Loaded Single Piles Subjected to Various Loading Rates in a Poroelastic Soil. Appl. Sci. 2022, 12, 617. [Google Scholar] [CrossRef]
- Ma, J.; Han, S.; Gao, X.; Li, D.; Guo, Y.; Liu, Q. Dynamic Lateral Response of the Partially-Embedded Single Piles in Layered Soil. Appl. Sci. 2022, 12, 1504. [Google Scholar] [CrossRef]
- Zheng, C.; Ding, X.; Kouretzis, G.; Liu, H.; Sun, Y. Three-dimensional propagation of waves in piles during low-strain integrity tests. Géotechnique 2018, 68, 358–363. [Google Scholar] [CrossRef]
- Zheng, C.; Kouretzis, G.P.; Ding, X.; Liu, H.; Poulos, H.G. Three-dimensional effects in low-strain integrity testing of piles: Analytical solution. Can. Geotech. J. 2016, 53, 225–235. [Google Scholar] [CrossRef] [Green Version]
- Liu, X.; El Naggar, M.H.; Wang, K.; Wu, J. Three-dimensional axisymmetric analysis of pile vertical vibration. J. Sound Vib. 2021, 494, 115881. [Google Scholar] [CrossRef]
- Meng, K.; Cui, C.; Liang, Z.; Li, H.; Pei, H. An Analytical Solution for Longitudinal Impedance of a Large-Diameter Floating Pile in Soil with Radial Heterogeneity and Viscous-Type Damping. Appl. Sci. 2020, 10, 4906. [Google Scholar] [CrossRef]
- Dai, D.; Hesham El Naggar, M.; Zhang, N.; Wang, Z. Rigorous solution for kinematic response of floating piles subjected to vertical P-wave. Appl. Math. Model. 2022, 106, 114–125. [Google Scholar] [CrossRef]
- Dai, D.; Zhang, Y.; Zhang, Y.; Wang, Z.; Li, Z. Kinematic Response of End-Bearing Piles under the Excitation of Vertical P-Waves Considering the Construction Effect. Appl. Sci. 2022, 12, 3468. [Google Scholar] [CrossRef]
- Yang, X.; Pan, Y. Axisymmetrical analytical solution for vertical vibration of end-bearing pile in saturated viscoelastic soil layer. Appl. Math. Mech. 2010, 31, 193–204. [Google Scholar] [CrossRef]
- Hu, W.-T.; Xia, T.-D.; Zhang, Z.-Q. Dynamic torsional response of pre-strained end bearing pile embedded in pre-strained isotropic saturated soil medium. Appl. Math. Mech. 2013, 34, 1521–1534. [Google Scholar] [CrossRef]
- Zi, Y.; Zhi, Y.A. Vertical Dynamic Response of a Pile Embedded in Layered Transversely Isotropic Unsaturated Soils. J. Geotech. Geoenviron. Eng. 2022, 148, 4021169. [Google Scholar] [CrossRef]
- Cui, C.; Meng, K.; Xu, C.; Liang, Z.; Li, H.; Pei, H. Analytical solution for longitudinal vibration of a floating pile in saturated porous media based on a fictitious saturated soil pile model. Comput. Geotech. 2021, 131, 103942. [Google Scholar] [CrossRef]
- Zhang, S.; Zhang, J.; Ma, Y.; Pak, R.Y.S. Vertical dynamic interactions of poroelastic soils and embedded piles considering the effects of pile-soil radial deformations. Soils Found. 2021, 61, 16–34. [Google Scholar] [CrossRef]
- Wang, L. Vertical response of a pile embedded in highly-saturated soil with compressible pore fluid and anisotropic permeability. Comput. Geotech. 2021, 140, 104462. [Google Scholar] [CrossRef]
- Guan, W.; Wu, W.; Jiang, G.; Liang, R.; Liu, H. Study on vertical vibration characteristics of incompletely bonded pipe pile in saturated soil. J. Hunan Univ. (Nat. Sci.) 2021, 48, 46–58. [Google Scholar] [CrossRef]
- Li, T.; Su, Q.; Kaewunruen, S. Saturated Ground Vibration Analysis B Modifiedased on a Three-Dimensional Coupled Train-Track-Soil Interaction Model. Appl. Sci. 2019, 9, 4991. [Google Scholar] [CrossRef] [Green Version]
- Xiao, S.; Wang, K.; Gao, L.; Wu, J. Dynamic characteristics of a large-diameter pile in saturated soil and its application. Int. J. Numer. Anal. Methods Geomech. 2018, 42, 1255–1269. [Google Scholar] [CrossRef]
- Li, Z.; Gao, Y.; Wang, K. Vertical vibration of an end bearing pile interacting with the radially inhomogeneous saturated soil. Ocean Eng. 2021, 219, 108009. [Google Scholar] [CrossRef]
- He, P.; Mu, Y.; Yang, Z.; Ma, W.; Dong, J.; Huang, Y. Freeze-thaw cycling impact on the shear behavior of frozen soil-concrete interface. Cold Reg. Sci. Technol. 2020, 173, 103024. [Google Scholar] [CrossRef]
- Xiao, F.; Chen, G.S.; Hulsey, J.L.; Davis, D.; Yang, Z. Characterization of the viscoelastic effects of thawed frozen soil on pile by measurement of free response. Cold Reg. Sci. Technol. 2018, 145, 229–236. [Google Scholar] [CrossRef]
- Zhang, X.; Yang, Z.; Chen, X.; Guan, J.; Pei, W.; Luo, T. Experimental study of frozen soil effect on seismic behavior of bridge pile foundations in cold regions. Structures 2021, 32, 1752–1762. [Google Scholar] [CrossRef]
- Leclaire, P.; Cohen-Ténoudji, F.; Aguirre-Puente, J. Extension of Biot’s theory of wave propagation to frozen porous media. J. Acoust. Soc. Am. 1994, 96, 3753–3768. [Google Scholar] [CrossRef] [Green Version]
- Carcione, J.M.; Gurevich, B.; Cavallini, F. A generalized Biot–Gassmann model for the acoustic properties of shaley sandstones1. Geophys. Prospect. 2000, 48, 539–557. [Google Scholar] [CrossRef] [Green Version]
- Li, Q.; Shu, W.; Cao, L.; Duan, W.; Zhou, B. Vertical vibration of a single pile embedded in a frozen saturated soil layer. Soil Dyn. Earthq. Eng. 2019, 122, 185–195. [Google Scholar] [CrossRef]
- Cao, L.; Zhou, B.; Li, Q.; Duan, W.; Shu, W. Vertically Dynamic Response of an End-Bearing Pile Embedded in a Frozen Saturated Porous Medium under Impact Loading. Shock Vib. 2019, 2019, 8983128. [Google Scholar] [CrossRef]
- Li, Q.; Shu, W.; Duan, W.; Cao, L. Vertical vibration of a pile in a double-layered stratum under the freezing and thawing processes of saturated porous media. Cold Reg. Sci. Technol. 2020, 169, 102891. [Google Scholar] [CrossRef]
- Kwon, S.Y.; Yoo, M. Study on the Dynamic Soil-Pile-Structure Interactive Behavior in Liquefiable Sand by 3D Numerical Simulation. Appl. Sci. 2020, 10, 2723. [Google Scholar] [CrossRef] [Green Version]
- Kim, M.K.; Lee, J.; Kim, M.K. Vertical vibration analysis of soil-pile interaction systems considering the soil-pile interface behavior. KSCE J. Civ. Eng. 2004, 8, 221–226. [Google Scholar] [CrossRef]
- Manna, B.; Baidya, D. Dynamic vertical response of model piles—Experimental and analytical investigations. Int. J. Geotech. Eng. 2009, 3, 271–287. [Google Scholar] [CrossRef]
- Manna, B.; Baidya, D.K. Dynamic nonlinear response of pile foundations under vertical vibration—Theory versus experiment. Soil Dyn. Earthq. Eng. 2010, 30, 456–469. [Google Scholar] [CrossRef]
- Biswas, S.; Manna, B.; Kumar Baidya, D. Experimental and theoretical study on the nonlinear response of full-scale single pile under coupled vibrations. Soil Dyn. Earthq. Eng. 2017, 94, 109–115. [Google Scholar] [CrossRef]
- Elkasabgy, M.; El Naggar, M.H. Dynamic response of vertically loaded helical and driven steel piles. Can. Geotech. J. 2013, 50, 521–535. [Google Scholar] [CrossRef] [Green Version]
- Ralli, R.; Manna, B.; Datta, M. Field testing of single instrumented steel driven batter piles under vertical vibrations. Acta Geotech. 2021, 12, 1–12. [Google Scholar] [CrossRef]
- Biot, M. Mechanics of deformation and acoustic propagation in porous media. J. Appl. Phys. 1962, 33, 1483–1498. [Google Scholar] [CrossRef]
- Manna, B.; Baidya, D.K. Vertical Vibration of Full-Scale Pile—Analytical and Experimental Study. J. Geotech. Geoenviron. Eng. 2009, 135, 1452–1461. [Google Scholar] [CrossRef]
- Zhu, W.; Gu, L.; Mei, S.; Nagasaki, K.; Chino, N.; Zhang, F. 1g model tests of piled-raft foundation subjected to high-frequency vertical vibration loads. Soil Dyn. Earthq. Eng. 2021, 141, 106486. [Google Scholar] [CrossRef]











| Pile | ρb = 1380 kg/m3 | Eb = 2.5 × 109 Pa | H = 0.9 m | r = 0.04 m |
| Frozen soil layer (0.25 m) | ρi = 920 kg/m3 | T = −0.5 °C | μsm0 = 45.45 MPa | /R11 = 0.0056 |
| Soil layer (0.90 m) | ρs = 1850 kg/m3 | kpb1 =1 | ksb1 = 0.2; kst1 =0.2; | ks= ki = 0.001 |
| Cap | Mg = 0.258 kg | kms = 0 | cms = 0 | F = 50 N |
Publisher’s Note: MDPI stays neutral with regard to jurisdictional claims in published maps and institutional affiliations. |
© 2022 by the authors. Licensee MDPI, Basel, Switzerland. This article is an open access article distributed under the terms and conditions of the Creative Commons Attribution (CC BY) license (https://creativecommons.org/licenses/by/4.0/).
Share and Cite
Li, Q.; Li, X.; Wen, M.; Hu, L.; Duan, W.; Li, J. Dynamic Responses of a Pile with a Cap under the Freezing and Thawing Processes of a Saturated Porous Media Considering Slippage between Pile and Soil. Appl. Sci. 2022, 12, 4214. https://doi.org/10.3390/app12094214
Li Q, Li X, Wen M, Hu L, Duan W, Li J. Dynamic Responses of a Pile with a Cap under the Freezing and Thawing Processes of a Saturated Porous Media Considering Slippage between Pile and Soil. Applied Sciences. 2022; 12(9):4214. https://doi.org/10.3390/app12094214
Chicago/Turabian StyleLi, Qiang, Xinyi Li, Minjie Wen, Ling Hu, Weiwei Duan, and Jiaxing Li. 2022. "Dynamic Responses of a Pile with a Cap under the Freezing and Thawing Processes of a Saturated Porous Media Considering Slippage between Pile and Soil" Applied Sciences 12, no. 9: 4214. https://doi.org/10.3390/app12094214
APA StyleLi, Q., Li, X., Wen, M., Hu, L., Duan, W., & Li, J. (2022). Dynamic Responses of a Pile with a Cap under the Freezing and Thawing Processes of a Saturated Porous Media Considering Slippage between Pile and Soil. Applied Sciences, 12(9), 4214. https://doi.org/10.3390/app12094214

