Enhanced Hybrid Ant Colony Optimization for Machining Line Balancing Problem with Compound and Complex Constraints
Abstract
:1. Introduction
2. Related Work
2.1. Related Work for Operation Sequencing Problem in the Recent Five Years
2.2. Related Work for Machining Line Balancing Problem
3. Definition of Process Constraints for the Balancing Machining Line Problem
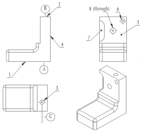
3.1. Simple Bracket Product Processing Case of Machining Production Line (TLBP) with Advanced Station Preparation and Post-Auxiliary Tasks
3.2. Mathematical Model for Balancing Problem of Machining Production Line (TLBP) with Advanced Station Preparation and Post-Auxiliary Tasks
4. Hybrid Ant Colony Optimization for Optimization of the Machining Line Balancing Problem
4.1. Heuristic Task Set Filtering Module for Hybrid Ant Colony Optimization
4.2. Introduction of Heuristic Task Set Filtering Module for Hybrid Ant Colony Optimization
- (1)
- Time constraint rules: comprehensively consider ‘or’ constraint, as well as conventional precedence relationship constraint and cycle time constraint. The process of determining whether a certain element j can be added to the initial set of optional elements is as follows:
- (1.1)
- Set the current workstation to k, set Qj = {i| aij = 1 or aij = 2 or aij = −2} and establish Qj. This indicates that all the pre-ordering tasks of element j have been assigned, and then proceed to the next step as follows.
- (1.2)
- Assume that the scheduled task completion time of the current workstation k is ttemp. Then, the following candidate task set Ds can be preliminarily screened according to the beat time C constraint by Ds = {j| ttemp + tj ≤ C}.
- (2)
- Tool constraint rules: Consider the difference between the turret tool of the current workstation k and the tool used by task j to be assigned to consider the tool change time and further filter the time constraint set Ds in (1):
- (2.1)
- If j is the first task of the current workstation, the station preparation time should be considered.
- (2.2)
- If j is not the first task of the current workstation, check whether the tool used in task j is the same as the tool at the end of the current workstation; otherwise, consider the tool change time.
- (2.3)
- Based on the above conditions, the set Ts conforming to the tool constraints is obtained.
- (3)
- Based on (1) and (2), compact constraint conditions are further considered to generate the compact constraint set js, and the heuristic ant colony search rule is used to select the processing elements.
4.3. Heuristic Ant Colony Search Mechanism
4.4. Pseudocode for Ant Colony Optimization and Gantt Diagram Display Module
| No. | Details for hybrid ant colony search algorithm and Gantt chart display module |
| 1 | Read task sequencing constraint data from an Excel file |
| 2 | Read the information of processing position, cutting tools, and processing time of task from the Excel file |
| 3 | Enter the number of iterations V and the number of ants H, and set the initial iterative control variable v (initial value is 1) |
| 4 | Start the search process for generation v and set h to 1 |
| 5 | Start the search for the h ant in generation v, set s = 1, m = 0 |
| 6 | Start a new station, m = m + 1. |
| 7 | Build a task set that satisfies the cycle time constraint |
| 8 | According to formula 5, filter from the set of cycle time constraint tasks to form a set that satisfies the sequential constraint relationship |
| 9 | Filter from the set of successive constraints to form a set that satisfies the constraints of the close relationship |
| 10 | Filter from the set of close relationship constraints to form a set that satisfies the tool relationship constraints |
| 11 | Enter the ant colony comprehensive task selection process |
| 12 | If the tight constraint set is not empty, go to the next step. If it is empty, go to step 17 |
| 13 | According to Formula 11, priority is given to the tasks that satisfy the tight constraints |
| 14 | According to the selection result of step 13, analyse whether this task is consistent with the current tool information of the current station, and then proceed to the next step |
| 15 | Update the accumulated processing time information of the current station, the current tool information of the current station, and then proceed to the next step |
| 16 | Update the task chain position s = s +1, if s is less than or equal to n, return to step 7. If s = n + 1, go to step 22 |
| 17 | If the tool or time constraint set is not empty, go to the next step. If they are all empty, go to step 6 |
| 18 | According to Formula 11, generate random number r, and enter the next step |
| 19 | If r is less than or equal to r1, select the task according to rule I2. If r is greater than r1, select the task according to rule I3, and go to the next step |
| 20 | According to the selection result in step 19, update the accumulated processing time information of the current station, the current tool information of the current station, and then proceed to the next step |
| 21 | Update the position of task chain s = s + 1, and if s is less than n, return to step 7. If s = n + 1, go to the next step |
| 22 | h = h + 1, if h is less than or equal to the set number of ants H, return to step 5; otherwise, go to the next step |
| 23 | Update the pheromone of all ants of the current generation v and go to the next step |
| 24 | v = v + 1, if the current iteration number v is less than or equal to V, return to step 4; otherwise, go to the next step |
| 25 | Ant colony optimization iteration is completed |
| 26 | Enter the Gantt chart display module |
| 27 | Read the optimal solution of the task scheduling sequence and the task information |
| 28 | Read the station arrangement information cell of the optimal solution, the number of stations m, and the cycle time C |
| 29 | Enter the Gantt chart display algorithm flow, and set the initial iteration value g = 1 |
| 30 | Open the display of station g, and proceed to the next step |
| 31 | Read the station arrangement information cell of station g |
| 32 | Read the task number in order d from the cell, the number of tasks in cell D, and set the task display iteration variable d; the initial value of d = 1 |
| 33 | Whether this task is the first task of the current station, if it meets the conditions, go to the next step; otherwise, go to step 35 |
| 34 | Set the task display colour to blue, display the task progress bar according to the task information, and display the start time and end time. Go to Step 37 |
| 35 | Judge whether the tool information used in this task and the previous task is the same, if the display colour is red. If not, go to the next step |
| 36 | The task progress bar is displayed based on the task information, and the start time and end time are displayed. Go to the next step |
| 37 | d = d + 1, if d is less than or equal to D, return step 32; otherwise, go to the next step |
| 38 | g = g + 1, if g is less than or equal to the number of stations m, return step 30; otherwise, go to the next step |
| 39 | Gantt chart display algorithm is finished, and the program is finished |
5. Case of Balance Arrangement of a Box Machining Process Production Line
5.1. Evaluation Datum Analysis of the Box Body
5.2. Analysis of Box Processing Process
6. Algorithm Verification and Instance Application
6.1. Algorithm Verification by Cycle Time (1170 s)
6.2. Verification with Box-Part Examples by ACO-pro2
7. Discussion
8. Conclusions
Author Contributions
Funding
Institutional Review Board Statement
Informed Consent Statement
Data Availability Statement
Conflicts of Interest
Appendix A





Appendix B
| Task Number | Processing Content | Processing Times (s) | Plane It Belongs to | Cutting Tool Type | Machining Direction of Parts |
|---|---|---|---|---|---|
| 1 | Datum A | 955 | Datum A | φ30 Milling cutter | Top surface |
| 2 | The hole φ10 on plan A | 5 | Datum A | φ10 combined & drill | Top surface |
| 3 | Hole φ12 (Datum D) | 8 | Datum A | φ12 combined drilling & reaming | Top surface |
| 4 | The hole φ8 on plan A | 2 | Datum A | φ8 combined & drill | Top surface |
| 5 | The hole φ8 on plan A | 2 | Datum A | φ8 combined & drill | Top surface |
| 6 | The hole φ10 on plan A | 5 | Datum A | φ10 combined & drill | Top surface |
| 7 | The hole φ10 on plan A | 5 | Datum A | φ10 combined & drill | Top surface |
| 8 | Hole φ12 (Datum E) | 8 | Datum A | φ12 combined drilling & reaming | Top surface |
| 9 | The hole φ8 on plan A | 2 | Datum A | φ8 combined & drill | Top surface |
| 10 | The hole φ8 on plan A | 2 | Datum A | φ8 combined & drill | Top surface |
| 11 | The hole φ10 on plan A | 5 | Datum A | φ10 combined & drill | Top surface |
| 12 | Plane B (Datum B) | 740 | Datum B | φ50 Milling cutter | Front surface |
| 13 | Hole G (Datum G) | 97 | Datum B | φ50 Milling cutter φ120 boring cutter | Front surface |
| 14 | The hole φ100 on plan B | 83 | Datum B | φ50 Milling cutter φ100 boring cutter | Front surface |
| 15 | Alcove | 61 | Alcove | φ50 Milling cutter | Front surface |
| 16 | Hole φ30 on the alcove | 33 | Alcove | φ30 Milling cutter | Front surface |
| 17 | Hole φ10 on the alcove | 5 | Alcove | φ10 spiral drill | Front surface |
| 18 | The hole φ11 on plan B | 6 | Datum B | φ11 combined & drill | Front surface |
| 19 | The hole φ11 on plan B | 6 | Datum B | φ11 combined & drill | Front surface |
| 20 | The hole φ11 on plan B | 6 | Datum B | φ11 combined & drill | Front surface |
| 21 | The hole φ11 on plan B | 6 | Datum B | φ11 combined & drill | Front surface |
| 22 | The hole φ10 on plan B | 5 | Datum B | φ10 combined & drill | Front surface |
| 23 | The hole φ10 on plan B | 5 | Datum B | φ10 combined & drill | Front surface |
| 24 | The hole φ10 on plan B | 5 | Datum B | φ10 combined & drill | Front surface |
| 25 | The hole φ10 on plan B | 5 | Datum B | φ10 combined & drill | Front surface |
| 26 | The hole φ8 on plan B | 2 | Datum B | φ8 combined & drill | Front surface |
| 27 | The hole φ13 on plan B | 5 | Datum B | φ13 combined & drill | Front surface |
| 28 | The hole φ13 on plan B | 5 | Datum B | φ13 combined & drill | Front surface |
| 29 | The hole φ13 on plan B | 5 | Datum B | φ13 combined & drill | Front surface |
| 30 | Plane C (Datum C) | 824 | Datum C | φ50 Milling cutter | Rear surface |
| 31 | Hole F (Datum F) | 97 | Datum C | φ50 Milling cutter φ120 boring cutter | Rear surface |
| 32 | The hole φ100 on plan C | 83 | Datum C | φ50 Milling cutter φ100 boring cutter | Rear surface |
| 33 | The hole φ11 on plan C | 6 | Datum C | φ11 combined & drill | Rear surface |
| 34 | The hole φ11 on plan C | 6 | Datum C | φ11 combined & drill | Rear surface |
| 35 | The hole φ11 on plan C | 6 | Datum C | φ11 combined & drill | Rear surface |
| 36 | The hole φ11 on plan C | 6 | Datum C | φ11 combined & drill | Rear surface |
| 37 | The hole φ11 on plan C | 6 | Datum C | φ11 combined & drill | Rear surface |
| 38 | The hole φ11 on plan C | 6 | Datum C | φ11 combined & drill | Rear surface |
| 39 | The hole φ11 on plan C | 6 | Datum C | φ11 combined & drill | Rear surface |
| 40 | The hole φ11 on plan C | 6 | Datum C | φ11 combined & drill | Rear surface |
| 41 | The hole φ8 on plan C | 2 | Datum C | φ8 combined & drill | Rear surface |
| 42 | The hole φ17 on plan C | 8 | Datum C | φ17 combined & drill | Rear surface |
| 43 | The hole φ17 on plan C | 8 | Datum C | φ17 combined & drill | Rear surface |
| 44 | The hole φ17 on plan C | 8 | Datum C | φ17 combined & drill | Rear surface |
| 45 | The hole φ17 on plan C | 8 | Datum C | φ17 combined & drill | Rear surface |
| 46 | rectangular window at right side of the part | 379 | rectangular window (right side of the part) | φ50 Milling cutter | Left side |
| 47 | round window at right side of the part | 260 | round window (right side of the part) | φ20 Milling cutter | Left side |
| 48 | Lug boss 1 at right side of the part | 48 | Lug boss (right side of the part) | φ25 Milling cutter | Left side |
| 49 | Lug boss 2 at right side of the part | 48 | Lug boss (right side of the part) | φ25 Milling cutter | Left side |
| 50 | Hole φ10 on Lug boss 1 | 9 | Lug boss (right side of the part) | φ10 combined & drill | Left side |
| 51 | Hole φ10 on Lug boss 2 | 9 | Lug boss (right side of the part) | φ10 combined & drill | Left side |
| 52 | The right wall of rectangular window | 147 | rectangular window (right side of the part) | φ30 Long shank milling cutter | Left side |
| 53 | The left wall of rectangular window | 147 | rectangular window (right side of the part) | φ30 Long shank milling cutter | Left side |
| 54 | Hole φ10 on rectangular window | 5 | rectangular window (right side of the part) | φ10 combined & drill | Left side |
| 55 | Hole φ10 on rectangular window | 5 | rectangular window (right side of the part) | φ10 combined & drill | Left side |
| 56 | Hole φ10 on rectangular window | 5 | rectangular window (right side of the part) | φ10 combined & drill | Left side |
| 57 | Hole φ10 on rectangular window | 5 | rectangular window (right side of the part) | φ10 combined & drill | Left side |
| 58 | Hole φ10 on rectangular window | 5 | rectangular window (right side of the part) | φ10 combined & drill | Left side |
| 59 | Hole φ10 on rectangular window | 5 | rectangular window (right side of the part) | φ10 combined & drill | Left side |
| 60 | Hole φ10 on round window | 5 | round window (right side of the part) | φ10 combined & drill | Left side |
| 61 | Hole φ10 on round window | 5 | round window (right side of the part) | φ10 combined & drill | Left side |
| 62 | Hole φ10 on round window | 5 | round window (right side of the part) | φ10 combined & drill | Left side |
| 63 | Hole φ10 on round window | 5 | round window (right side of the part) | φ10 combined & drill | Left side |
| 64 | rectangular window at left side of the part | 379 | rectangular window (left side of the part) | φ50 Milling cutter | Right side |
| 65 | round window at left side of the part | 260 | round window (left side of the part) | φ20 Milling cutter | Right side |
| 66 | Hole φ10 on rectangular window | 5 | rectangular window (left side of the part) | φ10 combined & drill | Right side |
| 67 | Hole φ10 on rectangular window | 5 | rectangular window (left side of the part) | φ10 combined & drill | Right side |
| 68 | Hole φ10 on rectangular window | 5 | rectangular window (left side of the part) | φ10 combined & drill | Right side |
| 69 | Hole φ10 on rectangular window | 5 | rectangular window (left side of the part) | φ10 combined & drill | Right side |
| 70 | Hole φ10 on round window | 5 | round window (left side of the part) | φ10 combined & drill | Right side |
| 71 | Hole φ10 on round window | 5 | round window (left side of the part) | φ10 combined & drill | Right side |
| 72 | Hole φ10 on round window | 5 | round window (left side of the part) | φ10 combined & drill | Right side |
| 73 | Hole φ10 on round window | 5 | round window (left side of the part) | φ10 combined & drill | Right side |
| 74 | The preparation for the head of each station | 30 | NA | Inspection of cleaning appearance | All |
| 75 | chip removing at the end of each station | 30 | NA | chip removing tool | All |
| 76 | inspection by Position gage | 360 | NA | Position gauge | All |
References
- Ojstersek, R.; Buchmeister, B. Simulation Based Resource Capacity Planning with Constraints. Int. J. Simul. Model. 2021, 20, 672–683. [Google Scholar] [CrossRef]
- Xu, X.; Wang, L.; Newman, S.T. Computer-aided process planning—A critical review of recent developments and future trends. Int. J. Comput. Integr. Manuf. 2011, 24, 1–31. [Google Scholar] [CrossRef]
- Djurdjev, M.; Cep, R.; Lukic, D.; Antic, A.; Popovic, B.; Milosevic, M. A Genetic Crow Search Algorithm for Optimization of Operation Sequencing in Process Planning. Appl. Sci. 2021, 11, 1981. [Google Scholar] [CrossRef]
- Lukić, D.; Milošević, M.; Erić, M.; Ðurdev, M.; Vukman, J.; Antić, A. Improving Manufacturing Process Planning Through the Optimization of Operation Sequencing. Mach. Des. 2017, 9, 123–132. [Google Scholar] [CrossRef]
- Denkena, B.; Shpitalni, M.; Kowalski, P.; Molcho, G.; Zipori, Y. Knowledge Management in Process Planning. CIRP Ann. 2007, 56, 175–180. [Google Scholar] [CrossRef]
- Dou, J.; Li, J.; Su, C. A discrete particle swarm optimisation for operation sequencing in CAPP. Int. J. Prod. Res. 2018, 56, 3795–3814. [Google Scholar] [CrossRef]
- Falih, A.; Shammari, A.Z.M. Hybrid constrained permutation algorithm and genetic algorithm for process planning problem. J. Intell. Manuf. 2020, 31, 1079–1099. [Google Scholar] [CrossRef]
- Petrović, M.; Mitić, M.; Vuković, N.; Miljković, Z. Chaotic particle swarm optimization algorithm for flexible process planning. Int. J. Adv. Manuf. Technol. 2016, 85, 2535–2555. [Google Scholar] [CrossRef]
- Gao, B.; Hu, X.; Peng, Z.; Song, Y. Application of intelligent water drop algorithm in process planning optimization. Int. J. Adv. Manuf. Technol. 2020, 106, 5199–5211. [Google Scholar] [CrossRef]
- Huang, W.; Lin, W.; Xu, S. Application of graph theory and hybrid GA-SA for operation sequencing in a dynamic workshop environment. Comput. Aided Des. Appl. 2017, 14, 148–159. [Google Scholar] [CrossRef]
- Dolgui, A.; Guschinsky, N.; Levin, G. A Special Case of Transfer Lines Balancing by Graph Approach. Eur. J. Oper. Res. 2006, 168, 732–746. [Google Scholar] [CrossRef]
- Hu, Q.; Qiao, L.; Peng, G. An ant colony approach to operation sequencing optimization in process planning. Proc. Inst. Mech. Eng. Part B J. Eng. Manuf. 2017, 231, 470–489. [Google Scholar] [CrossRef]
- Su, Y.; Chu, X.; Chen, D.; Sun, X. A genetic algorithm for operation sequencing in CAPP using edge selection based encoding strategy. J. Intell. Manuf. 2018, 29, 313–332. [Google Scholar] [CrossRef]
- Liu, Q.; Li, X.; Gao, L. Mathematical modeling and a hybrid evolutionary algorithm for process planning. J. Intell. Manuf. 2020, 32, 781–797. [Google Scholar] [CrossRef]
- Li, A.; Lu, L.; Wang, S.; Liu, X. Optimization of Flexible Machining Line Balancing for Complex Prismatic Parts. J. TONGJI Univ. (Nat. Sci.) 2015, 43, 625–632. [Google Scholar]
- Yin, T.; Zhang, Z.; Jiang, J. A Pareto-discrete hummingbird algorithm for partial sequence-dependent disassembly line balancing problem considering tool requirements. J. Manuf. Syst. 2021, 60, 406–428. [Google Scholar] [CrossRef]
- Zhu, L.; Zhang, Z.; Guan, C. Multi-objective partial parallel disassembly line balancing problem using hybrid group neighbourhood search algorithm. J. Manuf. Syst. 2020, 56, 252–269. [Google Scholar] [CrossRef]
- Zhang, Y.; Zhang, Z.; Guan, C.; Xu, P. Improved whale optimisation algorithm for two-sided disassembly line balancing problems considering part characteristic indexes. Int. J. Prod. Res. 2021, 1–19. [Google Scholar] [CrossRef]
- Zhang, Z.; Wang, K.; Zhu, L.; Wang, Y. A Pareto improved artificial fish swarm algorithm for solving a multi-objective fuzzy disassembly line balancing problem. Expert Syst. Appl. 2017, 86, 1339–1351. [Google Scholar] [CrossRef]
- Nilakantan, J.M.; Huang, G.Q.; Ponnambalam, S.G. An Investigation on Minimizing Cycle Time and Total Energy Consumption in Robotic Assembly Line Systems. J. Clean. Prod. 2015, 90, 311–325. [Google Scholar] [CrossRef]
- Borisovsky, P.; Dolgui, A.; Kovalev, S. Algorithms and Implementation of a Set Partitioning Approach for Modular Machining Line Design. Comput. Oper. Res. 2012, 39, 3147–3155. [Google Scholar] [CrossRef]
- Liu, X.; Li, A.; Chen, Z. Optimization of Line Configuration and Balancing for Flexible Machining Lines. Chin. J. Mech. Eng. 2016, 29, 579–587. [Google Scholar] [CrossRef]
- Dolgui, A.; Guschinsky, N.; Levin, G. On Problem of Optimal Design of Transfer Lines with Parallel and Sequential Operations. In Proceedings of the IEEE International Conference on Emerging Technologies and Factory Automation, Barcelona, Spain, 18–21 October 1999. [Google Scholar]
- Dolgui, A.; Kovalev, S.; Kovalyov, M.Y.; Nossack, J.; Pesch, E. Minimizing Setup Costs in a Transfer Line Design Problem with Sequential Operation Processing. Int. J. Prod. Econ. 2014, 151, 186–194. [Google Scholar] [CrossRef]
- Essafi, M.; Delorme, X.; Dolgui, A. Balancing Lines with CNC Machines: A Multi-start ant Based Heuristic. CIRP J. Manuf. Sci. Technol. 2010, 2, 176–182. [Google Scholar] [CrossRef]
- Essafi, M.; Delorme, X.; Dolgui, A. Balancing Machining Lines: A Two-phase Heuristic. Stud. Inform. Control 2010, 19, 243–252. [Google Scholar] [CrossRef]
- Osman, H.; Baki, M.F. Balancing Transfer Lines Using Benders Decomposition and ant Colony Optimisation Techniques. Int. J. Prod. Res. 2014, 52, 1334–1350. [Google Scholar] [CrossRef]
- Borisovsky, P.A.; Delorme, X.; Dolgui, A. Balancing Reconfigurable Machining Lines Via a Set Partitioning Model. Int. J. Prod. Res. 2014, 52, 4026–4036. [Google Scholar] [CrossRef]
- Zhang, H.; Li, A.; Fu, X.; Shao, H.; Liu, X. An Integrated Optimization Method for Setups Planning and Line Balancing of Mixed Model Transfer Lines. China Mech. Eng. 2019, 30, 2497–2504. [Google Scholar]
- Li, A.; Wang, S.; Rui, Y.; Liu, X.; Xu, L. Setups planning based optimization for cylinder machining line balancing. Comput. Integr. Manuf. Syst. 2016, 22, 1254–1263. [Google Scholar]
- Liu, X.; Jia, Y.; Lan, L.; Li, A. Optimization of Line Balancing for Frlexible Machining Lines Based on Multi-objective Genetic Algorithm. J. TONGJI Univ. (Nat. Sci.) 2016, 44, 1910–1917. [Google Scholar]
- Borisovsky, P.; Battaïa, O. MIP-Based Heuristics for a Robust Transfer Lines Balancing Problem. In International Conference on Optimization and Applications; Springer: Cham, Switzerland, 2021. [Google Scholar]
- He, C.; Guan, Z.; Xu, G.; Yue, L.; Ullah, S. Scenario-based robust dominance criteria for multi-objective automated flexible transfer line balancing problem under uncertainty. Int. J. Prod. Res. 2020, 58, 467–486. [Google Scholar] [CrossRef]
- Borisovsky, P. Genetic Algorithm for One Machining Line Balancing Problem with Setup Times. In Proceedings of the 2020 Dynamics of Systems, Mechanisms and Machines (Dynamics), Omsk, Russia, 10–12 November 2020. [Google Scholar]
- Kłosowski, G.; Gola, A.; Świć, A. Application of fuzzy logic controller for machine load balancing in discrete manufacturing system. In International Conference on Intelligent Data Engineering and Automated Learning; Springer: Cham, Switzerland, 2015. [Google Scholar]
- Bacharoudis, K.C.; Bainbridge, D.; Turner, A.; Popov, A.A.; Ratchev, S.M. Implementation of dimensional management methodology and optimisation algorithms for pre-drilled hinge line interfaces of critical aero assemblies—A case study. Proc. Inst. Mech. Eng. Part B J. Eng. Manuf. 2021, 235, 1074–1083. [Google Scholar] [CrossRef]
- Dorigo, M.; Birattari, M.; Stutzle, T. Ant colony optimization. IEEE Comput. Intell. Mag. 2006, 1, 28–39. [Google Scholar] [CrossRef]
- Álvarez-Miranda, E.; Pereira, J.; Torrez-Meruvia, H.; Vilà, M. A Hybrid Genetic Algorithm for the Simple Assembly Line Balancing Problem with Fixed Number of Workstations. Mathematics 2021, 9, 2157. [Google Scholar] [CrossRef]
- Nagy, L.; Ruppert, T.; Abonyi, J. Analytic Hierarchy Process and Multilayer Network-Based Method for Assembly Line Balancing. Appl. Sci. 2020, 10, 3932. [Google Scholar] [CrossRef]
- Nearchou, A.C. Maximizing production rate and workload smoothing in assembly lines using particle swarm optimization. Int. J. Prod. Econ. 2011, 129, 242–250. [Google Scholar] [CrossRef]
- Yang, L.; Fu, L.; Li, P.; Mao, J.; Guo, N. An Effective Dynamic Path Planning Approach for Mobile Robots Based on Ant Colony Fusion Dynamic Windows. Machines 2022, 10, 50. [Google Scholar] [CrossRef]
- Blum, C.; Dorigo, M. The hyper-cube framework for ant colony optimization. IEEE Trans. Syst. Man Cybern. B 2004, 34, 1161–1172. [Google Scholar] [CrossRef]












| Task Number | Processing Content | Processing Times (s) | Plane It Belongs to | Equipment Required | Cutting Tool Type | Machining Direction of Parts |
|---|---|---|---|---|---|---|
| 1 | Datum A | t1 | Datum A | Machining centre | φ30 Milling cutter | Bottom surface |
| 2 | Datum B | t2 | Datum B | Machining centre | φ10 combined drilling & reaming | Top surface |
| 3 | Hole φ5 (Datum C) | t3 | Datum C | Machining centre | φ5 combined drilling & reaming | Top surface |
| 4 | plan 4 | t4 | plan 4 | Machining centre | φ30 Milling cutter | Right surface |
| 5 | plan 5 | t5 | plan 5 | Machining centre | φ30 Milling cutter | Left surface |
| 6 | The hole φ6 on plan 5 | t6 | plan 5 | Machining centre | φ6 drill | Left surface |
| 7 | plan 7 on plan A | t7 | plan 5 | Machining centre | φ20 Milling cutter | Left surface |
| 8 | Hole φ12 | t8 | plan 5 | Machining centre | φ12 drill | Left surface |
| No. | CT (s) | ACO-pro2 | |
|---|---|---|---|
| m | LB | ||
| 1 | 1300 | 5 | 85.71 |
| 2 | 1290 | 5 | 86.37 |
| 3 | 1280 | 5 | 87.05 |
| 4 | 1270 | 5 | 87.73 |
| 5 | 1260 | 5 | 88.43 |
| 6 | 1250 | 5 | 89.14 |
| 7 | 1240 | 5 | 89.85 |
| 8 | 1230 | 5 | 90.59 |
| 9 | 1220 | 5 | 91.33 |
| 10 | 1210 | 5 | 92.08 |
| 11 | 1200 | 5 | 92.85 |
| 12 | 1190 | 5 | 93.63 |
| 13 | 1180 | 5 | 94.42 |
| 14 | 1170 | 5 | 95.23 |
| 15 | 1160 | 6 | 85.65 |
| 16 | 1150 | 8 | 62.51 |
| No. | Time Details for Task Assignment | Tool Switching Times/Time (s) | Accumulated Time |
|---|---|---|---|
| 1 | 74(0, 30), 1(30, 987), 11(987, 994), 10(994, 998), 5(998, 1000), 9(1000, 1002), 4(1002, 1004), 2(1004, 1011), 3(1011, 1021), 7(1021, 1028), 8(1028, 1038), 6(1038, 1045), 75(1045, 1075) | 8/16 | 1075 |
| 2 | 74(0, 30), 12(30, 772), 26(772, 776), 29(776, 783), 28(783, 788), 27(788, 793), 25(793, 800), 24(800, 805), 14(805, 890), 13(890, 989), 23(989, 996), 18(996, 1004), 15(1004, 1067), 22(1067, 1074), 19(1074, 1082), 21(1082, 1088), 20(1088, 1094), 17(1094, 1101), 16(1101, 1136), 75(1136, 1166) | 13/26 | 1066 |
| 3 | 74(0, 30), 30(30, 856), 45(856, 866), 44(866, 874), 43(874, 882), 41(882, 886), 32(886, 971), 42(971, 981), 31(981, 1080), 40(1080, 1088), 39(1088, 1094), 33(1094, 1100), 34(1100, 1106), 36(1106, 1112), 35(1112, 1118), 38(1118, 1124), 37(1124, 1130), 75(1130, 1160) | 7/14 | 1160 |
| 4 | 74(0, 30), 46(30, 411), 47(411, 673), 63(673, 680), 62(680, 685), 61(685, 690), 49(690, 740), 48(740, 788), 60(788, 795), 59(795, 800), 58(800, 805), 51(805, 814), 57(814, 819), 50(819, 828), 56(828, 833), 55(833, 838), 54(838, 843), 52(843, 992), 53(992, 1139), 75(1139, 1169) | 6/12 | 1169 |
| 5 | 74(0, 30), 64(30, 411), 65(411, 673), 73(673, 680), 66(680, 685), 72(685, 690), 71(690, 695), 68(695, 700), 67(700, 705), 69(705, 710), 70(710, 715), 76(715, 1075) | 3/6 | 1075 |
| No. | Time Details for Task Assignment | Tool Switching Times/Time (s) | Accumulated Time |
|---|---|---|---|
| 1 | 74(0, 30), 1(30, 987), 3(987, 997), 8(997, 1005), 5(1005, 1009), 2(1009, 1016), 7(1016, 1021),6(1021, 1026), 9(1026, 1030), 11(1030, 1037), 10(1037, 1041), 4(1041, 1043), 75(1043, 1073) | 7/14 | 1073 |
| 2 | 74(0, 30), 12(30, 772), 13(772, 871), 25(871, 878), 15(878, 941), 22(941, 948), 27(948, 955), 28(955, 960), 18(960, 968), 26(968, 972), 21(972, 980), 20(980, 986), 17(986, 993), 24(993, 1000), 16(1000, 1035), 29(1035, 1042), 19(1042, 1050), 23(1050, 1057), 75(1057, 1087) | 15/30 | 1087 |
| 3 | 74(0, 30), 46(30, 411), 57(411, 418), 59(418, 423), 55(423, 428), 56(428, 433), 48(433, 483), 47(483, 745), 63(745, 752), 50(752, 761), 49(761, 811), 53(811, 960), 62(960, 967), 51(967, 976), 58(976, 981), 61(981, 986), 54(986, 991), 60(991, 996), 75(996, 1026) | 8/16 | 1026 |
| 4 | 74(0, 30), 65(30, 292), 64(292, 673), 67(673, 680), 66(680, 685), 73(685, 690), 70(690, 695), 71(695, 700), 72(700, 705), 68(705, 710), 69(710, 715), 75(715, 745) | 3/6 | 745 |
| 5 | 74(0, 30), 30(30, 856), 31(856, 955), 33(955, 963), 38(963, 969), 37(969, 975), 43(975, 985), 36(985, 993), 44(993, 1003), 39(1003, 1011), 35(1011, 1017), 42(1017, 1027), 45(1027, 1035), 34(1035, 1043), 40(1043, 1049), 41(1049, 1053), 75(1053, 1083) | 10/20 | 1083 |
| 6 | 74(0, 30), 14(30, 115), 75(115, 145) | 1/2 | 145 |
| 7 | 74(0, 30), 52(30, 179), 75(179, 209) | 1/2 | 209 |
| 8 | 74(0, 30), 32(30, 115), 76(115, 475) | 1/2 | 475 |
Publisher’s Note: MDPI stays neutral with regard to jurisdictional claims in published maps and institutional affiliations. |
© 2022 by the authors. Licensee MDPI, Basel, Switzerland. This article is an open access article distributed under the terms and conditions of the Creative Commons Attribution (CC BY) license (https://creativecommons.org/licenses/by/4.0/).
Share and Cite
Hu, J.; Zhang, Z.; Qiu, H.; Zhao, J.; Xu, X. Enhanced Hybrid Ant Colony Optimization for Machining Line Balancing Problem with Compound and Complex Constraints. Appl. Sci. 2022, 12, 4200. https://doi.org/10.3390/app12094200
Hu J, Zhang Z, Qiu H, Zhao J, Xu X. Enhanced Hybrid Ant Colony Optimization for Machining Line Balancing Problem with Compound and Complex Constraints. Applied Sciences. 2022; 12(9):4200. https://doi.org/10.3390/app12094200
Chicago/Turabian StyleHu, Junyi, Zeqiang Zhang, Haixuan Qiu, Junbo Zhao, and Xuechen Xu. 2022. "Enhanced Hybrid Ant Colony Optimization for Machining Line Balancing Problem with Compound and Complex Constraints" Applied Sciences 12, no. 9: 4200. https://doi.org/10.3390/app12094200
APA StyleHu, J., Zhang, Z., Qiu, H., Zhao, J., & Xu, X. (2022). Enhanced Hybrid Ant Colony Optimization for Machining Line Balancing Problem with Compound and Complex Constraints. Applied Sciences, 12(9), 4200. https://doi.org/10.3390/app12094200

