Development of a FBG Stress Sensor for Geostress Measurement Using RSR Method in Deep Soft Fractured Rock Mass
Abstract
:1. Introduction
2. Development of FBG Stress Sensor
2.1. Basic theory of FBG
2.2. Design of Sensing Units
2.3. Measuring Directions of Sensing Units
2.4. Design of Structure of FBG Sensor
2.5. Sensor Manufacturing
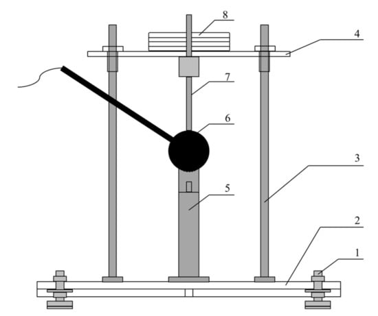
3. Calibration Equipment and Tests
3.1. Calibration Equipment
3.2. Calibration Test
4. Results and Discussion
5. Conclusions
Author Contributions
Funding
Institutional Review Board Statement
Informed Consent Statement
Data Availability Statement
Conflicts of Interest
References
- Hu, Q.; Zhou, S.; Zhou, X. Mechanical mechanism of coal and gas outburst process. J. Chin. Coal Soc. 2008, 33, 1368–1372. [Google Scholar]
- Liang, Y.; Sheng, X.; Jun, X. Study and Application of Gas Content to Prediction of Coal and Gas Outburst. Coal Sci. Technol. 2011, 47, 162–168. [Google Scholar]
- Liu, X.; Liu, Q.; Liu, B.; Kang, Y. A Modified Bursting Energy Index for Evaluating Coal Burst Proneness and Its Application in Ordos Coalfield, China. Energies 2020, 13, 1729. [Google Scholar] [CrossRef] [Green Version]
- Meng, F.; Wong, L.; Zhou, H.; Wang, Z.; Zhang, L. Asperity degradation characteristics of soft rock-like fractures under shearing based on acoustic emission monitoring. Eng. Geol. 2020, 266, 1–14. [Google Scholar] [CrossRef]
- Cai, M.; Ji, D.; Guo, Q. Study of rockburst prediction based on in-situ stress measurement and theory of energy accumulation caused by mining disturbance. Chin. J. Rock Mech. Eng. 2013, 32, 1973–1980. [Google Scholar]
- Xu, J.; Jiang, J.; Xu, N.; Liu, Q.; Gao, Y. A new energy index for evaluating the tendency of rockburst and its engineering application. Eng. Geol. 2017, 230, 46–54. [Google Scholar] [CrossRef]
- Guo, P.; He, M.; Wang, J. Study on Coupling Support Technique in the Roadway of Hecaogou No. 2 Coal Mine with Soft Roadway of Large Deformation. Geotech. Geol. Eng. 2017, 36, 1–13. [Google Scholar] [CrossRef]
- He, M.; Xie, H.; Peng, S.P. Study on rock mechanics in deep mining engineering. Rock Mech. Eng. 2005, 24, 2803–2813. [Google Scholar]
- Kang, K.; Liu, Q.; Gong, G. Application of a combined support system to the weak floor reinforcement in deep underground coal mine. Int. J. Rock Mech. Min. Sci. 2014, 74, 143–150. [Google Scholar] [CrossRef]
- Liu, X.; Liu, Q.; He, J. Numerical simulation of cracking process in rock mass under the coupled thermo-mechanical condition. Int. J. Comput. Methods 2020, 17, 1950065. [Google Scholar] [CrossRef]
- Liu, X.; Liu, Q.; Liu, B. Failure Behavior for Rocklike Material with Cross Crack under Biaxial Compression. J. Mater. Civ. Eng. (ASCE) 2019, 31, 06018025. [Google Scholar] [CrossRef]
- Liu, X.; Liu, Q.; Kang, Y. Investigation on relationship of the burial depth and mechanical properties for sedimentary rock. Arab. J. Geosci. 2020, 13, 760. [Google Scholar] [CrossRef]
- Ljunggren, C.; Chang, Y.; Janson, T. An overview of rock stress measurement methods. Int. J. Rock Mech. Min. Sci. 2003, 40, 975–989. [Google Scholar] [CrossRef]
- Fairhurst, C. Stress estimation in rock: A brief history and review. Int. J. Rock Mech. Min. Sci. 2003, 40, 957–973. [Google Scholar] [CrossRef]
- Ge, X.R.; Hou, M.X. A new 3D in-situ rock stress measuring method: Borehole wall stress relief method (BWSRM) and development of geostress measuring instrument based on BWSRM and its primary applications to engineering. Chin. J. Rock Mech. Eng. 2011, 30, 2161–2180. [Google Scholar]
- Jiang, J.J.; Liu, Q.S.; Xu, J. Analytical investigation for stress measurement with the rheological stress recovery method in deep soft rock. Int. J. Min. Sci. Technol. 2016, 26, 1003–1009. [Google Scholar] [CrossRef]
- Liu, B.; Zhu, Y.; Liu, Q. A Novel in Situ Stress Monitoring Technique for Fracture Rock Mass and Its Application in Deep Coal Mines. Appl. Sci. 2019, 9, 3742. [Google Scholar] [CrossRef] [Green Version]
- Zhu, Y.G.; Liu, Q.S. A new three-dimensional pressure transducer for measuring soft rock stress. Geotech. Test. J. 2016, 39, 703–711. [Google Scholar] [CrossRef]
- Finno, R.J. Geotechnical instrumentation for monitoring field performance. Eng. Geol. 1988, 30, 237–238. [Google Scholar] [CrossRef]
- Talesnick, M. Measuring soil contact pressure on a soil boundary and quantifying soil arching. Geotech. Test. J. 2005, 28, 171–179. [Google Scholar]
- Chen, W.; Randolph, M.F. Measuring radial total stresses on model suction caissons in clay. Geotech. Test. J. 2006, 30, 1–9. [Google Scholar]
- Zhang, F.; Liu, Q.S.; Zhang, C.Y. Measurement of geostress and sensor about rheological stress recovery method. Rock Soil Mech. 2014, 35, 3273–3279. [Google Scholar]
- Zhu, Y.; Liu, Q.; Liu, X.; Yang, Z. Analytical Solutions for the Circular Stress Transducer Embedded in Rheological Rock Mass. Appl. Math. Model. 2020, 81, 538–558. [Google Scholar] [CrossRef]
- Jin, L.; Zhang, W.; Zhang, H. An embedded FBG sensor for simultaneous measurement of stress and temperature. IEEE Photonic. Technol. L. 2006, 18, 154–156. [Google Scholar] [CrossRef]
- Peng, P.; Huang, K. Fiber Bragg Grating Sensor System with Two-Level Ring Architecture. IEEE Sens. J. 2009, 9, 309–313. [Google Scholar] [CrossRef]
- Xu, W.; Wang, J.; Zhao, J. Reflective Liquid Level Sensor Based on Parallel Connection of Cascaded FBG and SNCS Structure. IEEE Sens. J. 2017, 17, 1347–1352. [Google Scholar] [CrossRef]

















| Material Type | Part Name |
|---|---|
| Stainless steel (304) | Hemispherical shell, connecting rod, coupler box, sealed cover |
| Aluminum alloy (2A12) | Solid sphere |
| Stainless steel (630, heat treatment) | Sensing unit |
| POM plastic | Optical fiber plate |
| Unit No. | Maximum Working Range/MPa | Output Wavelength of the Full Range (nm) | Sensitivity (pm/MPa) |
|---|---|---|---|
| 1 | 30 | 2.688 | 89.600 |
| 2 | 30 | 2.845 | 94.833 |
| 3 | 30 | 2.890 | 96.333 |
| 4 | 30 | 2.900 | 96.656 |
| 5 | 30 | 2.764 | 92.144 |
| 6 | 30 | 2.753 | 91.767 |
| Unit No. | Zero Drift (%) | Linearity (%) | Repeatability (%) | Hysteresis (%) |
|---|---|---|---|---|
| 1 | 0.521 | 1.225 | 0.403 | 1.166 |
| 2 | 0.035 | 1.144 | 0.159 | 0.281 |
| 3 | 0.069 | 0.950 | 0.253 | 0.542 |
| 4 | 0.483 | 0.602 | 0.375 | 0.586 |
| 5 | 1.158 | 0.860 | 0.833 | 0.941 |
| 6 | 0.254 | 0.392 | 0.139 | 0.545 |
Publisher’s Note: MDPI stays neutral with regard to jurisdictional claims in published maps and institutional affiliations. |
© 2022 by the authors. Licensee MDPI, Basel, Switzerland. This article is an open access article distributed under the terms and conditions of the Creative Commons Attribution (CC BY) license (https://creativecommons.org/licenses/by/4.0/).
Share and Cite
Zhu, Y.; Liu, B.; Wang, S.; Yang, Z. Development of a FBG Stress Sensor for Geostress Measurement Using RSR Method in Deep Soft Fractured Rock Mass. Appl. Sci. 2022, 12, 1781. https://doi.org/10.3390/app12041781
Zhu Y, Liu B, Wang S, Yang Z. Development of a FBG Stress Sensor for Geostress Measurement Using RSR Method in Deep Soft Fractured Rock Mass. Applied Sciences. 2022; 12(4):1781. https://doi.org/10.3390/app12041781
Chicago/Turabian StyleZhu, Yuanguang, Bin Liu, Sheng Wang, and Zhanbiao Yang. 2022. "Development of a FBG Stress Sensor for Geostress Measurement Using RSR Method in Deep Soft Fractured Rock Mass" Applied Sciences 12, no. 4: 1781. https://doi.org/10.3390/app12041781
APA StyleZhu, Y., Liu, B., Wang, S., & Yang, Z. (2022). Development of a FBG Stress Sensor for Geostress Measurement Using RSR Method in Deep Soft Fractured Rock Mass. Applied Sciences, 12(4), 1781. https://doi.org/10.3390/app12041781

