Modeling of the Drying Process of Apple Pomace
Abstract
1. Introduction
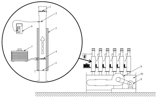
2. Materials and Methods
- MR—relative water content (–),
- ur—equilibrium water content (g H2O·g–1 d.s.),
- u0—initial water content (g H2O·g–1 d.s.),
- uτ—water content after time τ (g H2O·g–1 d.s.).
3. Results
4. Conclusions
Author Contributions
Funding
Institutional Review Board Statement
Informed Consent Statement
Data Availability Statement
Conflicts of Interest
References
- Oszmiański, J.; Wojdyło, A. Effects of blackcurrant and apple pulp blended on phenolics, antioxidant capacity and colour of juices. J. Czech Food Technol. 2009, 27, 338–351. [Google Scholar] [CrossRef]
- Statistical Yearbook of Agriculture; Statistics Poland: Warsaw, Poland, 2020.
- Briviba, K.; Stracke, B.; Rufer, C.E.; Waltz, B.; Weibel, F.P.; Bub, A. Effect of consumption of organically and conventionally produced Apple onnantioxidant activity and DNA damage in humans. J. Agric. Food Chem. 2007, 55, 7716–7721. [Google Scholar] [CrossRef] [PubMed]
- Wojdyło, A.; Oszmiański, J.; Bielicki, P. Chemical Composition, Phenolic Compounds and Antioxidant Activity of Three Varieties Of Apple From Organic And Conventional Farming. J. Res. Appl. Agric. Eng. 2010, 55, 173–177. [Google Scholar]
- Raskin, I.; Ripoll, C. Can an apple a day keep the doctor away? Curr. Pharm. Des. 2004, 3, 1381–1392. [Google Scholar] [CrossRef] [PubMed]
- Barth, S.W.; Fahndrich, C.; Bub, A.; Dietrich, H.; Watzl, B.; Will, F.; Briviba, K.; Rechkemmer, G. Cloudy apple juices decreases DNA damage, hyperproliferation and aberrant krypt foci development in the distal colon of DMHinitiated rats. Carcinogenesis 2005, 26, 1414–1421. [Google Scholar] [CrossRef] [PubMed]
- Tarko, T.; Duda-Chodak, A.; Bebak, A. Aktywność biologiczna wybranych wytłoków owocowych i warzywnych. Żywność. Nauka. Technologia. Jakość. 2012, 4, 55–65. [Google Scholar]
- Zhang, Z.; Manjunatha Poojary, M.; Choudhary, A.; Rai, D.K.; Tiwari, B.K. Comparison of selected clean and green extraction technologies for biomolecules from apple pomace. Electrophoresis 2018, 13, 1934–1945. [Google Scholar] [CrossRef]
- Magyar, M.; da Costa Sousa, L.; Jin, M.; Sarks, C.; Balan, V. Conversion of apple pomace waste to ethanol at industrial relevant conditions. Appl. Microbiol. Biotechnol. 2016, 100, 7349–7358. [Google Scholar] [CrossRef]
- Yilbas, B.S.; Hussain, M.M.; Dincer, I. Heat and moisture diffusion in slab products to convective boundary conditio. Heat Mass Transf. 2003, 39, 471–476. [Google Scholar] [CrossRef]
- Wojdalski, J.; Grochowicz, J.; Ekielski, A.; Radecka, K.; Stepniak, S.; Orłowski, A.; Florczak, I.; Drozdz, B.; Zelazinski, T.; Kosmala, G. Production and properties of apple pomace pellets and their suitability for energy generation purposes. Rocz. Ochr. Srodowiska 2016, 18, 89–111. [Google Scholar]
- Hebda, T.; Brzychczyk, B.; Łapczyńska-Kordon, B.; Styks, J. Influence of pre-treatment and drying methods on process of rehydration of dried apple. Eng. Rural Dev. 2019, 18, 669–676. [Google Scholar] [CrossRef]
- Zielińska, M.; Markowski, M. The influence of microwave-assisted drying techniques on the rehydration behavior of blueberries (Vacciniumcorymbosum, L.). Food Chem. 2016, 196, 1188–1196. [Google Scholar] [CrossRef] [PubMed]
- Lin, T.M.; Durance, T.D.; Scaman, C.H. Characterization of vacuum microwave air and freeze dried carrot slices. Food Res. Int. 1998, 4, 111–117. [Google Scholar] [CrossRef]
- Velić, D.; Planinić, M.; Tomas, S.; Bilić, M. Influence of airflow velocity on kinetics of convection apple drying. J. Food Eng. 2004, 64, 97–102. [Google Scholar] [CrossRef]
- Hii, C.L.; Ong, S.P.; Yap, J.Y.; Putranto, A.; Mangindaan, D. Hybrid drying of food and bioproducts: A review. Dry. Technol. 2021, 39, 1554–1576. [Google Scholar] [CrossRef]
- Wojdyło, A.; Lech, K.; Nowicka, P. Effects of Different Drying Methods on the Retention of Bioactive Compounds, On-Line Antioxidant Capacity and Color of the Novel Snack from Red-Fleshed Apples. Molecules 2020, 25, 5521. [Google Scholar] [CrossRef]
- Tham, T.C.; Hii, C.L.; Ong, S.P.; Luqman, A.S.; Law, C.L. Measurement on the Effect of Microwave Energy in Drying-Technical Review. In Processing of Foods, Vegetables and Fruits: Recent Advances; Hii, C.L., Jangam, S.V., Ong, S.Z., Show, P.L., Mujumdar, A.S., Eds.; National University of Singapore: Singapore, 2015; pp. 61–72. [Google Scholar]
- Inyang, U.; Oboh, I.; Etuk, B. Kinetic Models for Drying Techniques—Food Materials. Adv. Chem. Eng. Sci. 2018, 8, 27–48. [Google Scholar] [CrossRef]
- Vagenas, G.K.; Marinos-kouris, D. The Design and Optimization of an Industrial Dryer for Sultana Raisins. Dry. Technol. 1991, 9, 439–461. [Google Scholar] [CrossRef]
- Yun, T.M.; Puspasari, I.; Tasirin, S.M.; Talib, M.Z.M.; Daud, W.R.W.; Yaakob, Z. Drying of Oil Palm Frond Particles in a Fluidized Bed Dryer with Inert Medium. Chem. Ind. Chem. Eng. Q. 2013, 19, 593–603. [Google Scholar] [CrossRef]
- Kannan, C.S.; Subramanian, N.B. Drying Kinetics of Saw Dust in Tray Dryer. J. Sustain. Dev. 2008, 1, 123–127. [Google Scholar] [CrossRef][Green Version]
- Akgun, N.A.; Doymaz, I. Modelling of olive cake thin-layer drying process. J. Food Eng. 2005, 68, 455–461. [Google Scholar] [CrossRef]
- Masztalerz, K.; Lech, K.; Wojdyło, A.; Nowicka, P.; Michalska-Ciechanowska, A.; Figiel, A. The impact of the osmotic dehydration process and its parameters on the mass transfer and quality of dried apples. Dry. Technol. 2021, 39, 1074–1086. [Google Scholar] [CrossRef]
- Wang, Z.; Sun, J.; Liao, X.; Chen, F.; Zhao, G.; Wu, J.; Hu, X. Mathematical modeling on hot air drying of thin layer apple pomace. Food Res. Int. 2007, 40, 39–46. [Google Scholar] [CrossRef]
- Mihoubi, D.; Zagrouba, F.; Vaxelaire, J.; Bellagi, A.; Roques, M. Transfer phenomena during the drying of a shrinkable product: Modeling and simulation. Dry. Technol. 2004, 22, 91–109. [Google Scholar] [CrossRef]
- Białobrzewski, I. Simultaneous Heat and Mass Transfer in Shrinkable Apple Slab during Drying. Dry. Technol. 2006, 24, 551–559. [Google Scholar] [CrossRef]
- Pabis, S.; Jaros, M. The first period of convection drying of vegetables and the effect of shape-dependent shrinkage. Biosyst. Eng. 2002, 81, 201–211. [Google Scholar] [CrossRef]
- Skansi, D.; Tomas, S. Microwave drying kinetics of a clay-plate. Ceram. Int. 1995, 21, 207–211. [Google Scholar] [CrossRef]
- Tomas, S.; Skansi, D.; Sokele, M. Convection drying of porous material. Ceram. Int. 1994, 20, 9–16. [Google Scholar] [CrossRef]
- Sander, A.; Tomas, S.; Skansi, D. The influence of air temperature on effective diffusion coefficient of moisture in the falling rate period. Dry. Technol. 1998, 16, 1487–1499. [Google Scholar] [CrossRef]
- Tomas, S.; Skansi, D. Numerical interpretation of drying curve of food products. J. Chem. Eng. Jpn. 1996, 29, 367–370. [Google Scholar] [CrossRef][Green Version]
- Bauman, I.; Bobić, Z.; Đaković, Z.; Ukrainczyk, M. Time and speed of fruit drying on batch fluid-beds. Sadhana 2005, 30, 687–698. [Google Scholar] [CrossRef]
- Simal, S.; Femenia, A.; Garau, M.C.; Rossello, C. Use of exponential, Page’s and diffusional models to simulate the drying kinetics of kiwi fruit. J. Food Eng. 2005, 66, 323–328. [Google Scholar] [CrossRef]
- Wang, Z.; Sun, J.; Chen, F.; Liao, X.; Hu, X. Mathematical modeling on thin layer microwave drying of apple pomace with and without hot air pre-drying. J. Food Eng. 2007, 80, 536–544. [Google Scholar] [CrossRef]
- Singh, G.D.; Sharma, R.; Bawa, A.S.; Saxena, D.C. Drying and rehydration characteristics of water chestnut (Trapa natans) as a function of drying air temperature. J. Food Eng. 2008, 87, 213–221. [Google Scholar] [CrossRef]
- Bozkir, O. Thin-layer drying and mathematical modeling for washed dry apricots. J. Food Eng. 2006, 77, 146–151. [Google Scholar] [CrossRef]
- Page, G.E. Factors Influencing the Maximum Rates of Air Drying Shelled Corn in Thin Layers. Master’s Thesis, Department of Mechanical Engineering, Purdue University, Purdue, IN, USA, 1949. [Google Scholar]
- Stępień, B. Modyfikacja Cech Mechanicznych i Reologicznych Wybranych Warzyw pod Wpływem Różnych Metod Suszenia; Wydawnictwo Uniwersytetu Przyrodniczego: Poznań, Poland, 2009. [Google Scholar]
- Pasławska, M.; Jałoszyński, K.; Stępień, B.; Surma, M. Wpływ Stopnia Rozdrobnienia Oraz Dodatku Inertu Na Kinetykę Suszenia Fontannowo-Mikrofalowego Trawy Cytrynowej. Zesz. Probl. Postępów Nauk. Rol. 2017, 588, 83–90. [Google Scholar] [CrossRef]
- Jakubczyk, E. Charakterystyka suszenia konwekcyjno-mikrofalowego spienionego przecieru jabłkowego. Żywność. Nauka. Technol. Jakość 2009, 62, 109–118. [Google Scholar]
- Jakubczyk, E.; Wnorowska, E. Wpływ temperatury powietrza na przebieg suszenia spienionego zagęszczonego soku jabłkowego. Żywność. Nauka. Technol. Jakość 2008, 59, 199–206. [Google Scholar]
- Seiiedlou, S.; Ghasemzadeh, H.R.; Hamdami, N.; Talati, F.; Moghaddam, M. Convective drying of apple: Mathematical modeling and determination of some quality parameters. Int. J. Agric. Biol. 2010, 12, 171–178. [Google Scholar]
- Sacilik, K.; Elicin, A.K. The thin layer drying characteristics of organic apple slices. J. Food Eng. 2006, 73, 281–289. [Google Scholar] [CrossRef]
- Royen, M.J.; Noori, A.W.; Haydary, J. Experimental Study and Mathematical Modeling of Convective Thin-Layer Drying of Apple Slices. Processes 2020, 8, 1562. [Google Scholar] [CrossRef]
- Kaleta, A.; Górnicki, K.; Winiczenko, R.; Chojnacka, A. Evaluation of drying models of apple (var. Ligol) dried in a fluidized bed dryer. Energy Convers. Manag. 2013, 67, 179–185. [Google Scholar] [CrossRef]












| Type of Drying | Equation Coefficient | ||||
|---|---|---|---|---|---|
| b | k0 | N | K | n | |
| Models of external and internal heat and mass transfer | |||||
| Forced convection 40° | 0.200668 | 0.0533 | 1.03 | 0.0258 | - |
| Forced convection 80° | 0.196212 | 0.19986 | 4.60 | 0.0837 | - |
| 60-MVD | 0.200260 | 0.0868 | 1.18 | 0.1078 | - |
| Page model | |||||
| Forced convection 40° | - | 0.021995 | - | - | 1.01 |
| Forced convection 80° | - | 0.069859 | - | - | 1.02 |
Publisher’s Note: MDPI stays neutral with regard to jurisdictional claims in published maps and institutional affiliations. |
© 2022 by the authors. Licensee MDPI, Basel, Switzerland. This article is an open access article distributed under the terms and conditions of the Creative Commons Attribution (CC BY) license (https://creativecommons.org/licenses/by/4.0/).
Share and Cite
Tulej, W.; Głowacki, S. Modeling of the Drying Process of Apple Pomace. Appl. Sci. 2022, 12, 1434. https://doi.org/10.3390/app12031434
Tulej W, Głowacki S. Modeling of the Drying Process of Apple Pomace. Applied Sciences. 2022; 12(3):1434. https://doi.org/10.3390/app12031434
Chicago/Turabian StyleTulej, Weronika, and Szymon Głowacki. 2022. "Modeling of the Drying Process of Apple Pomace" Applied Sciences 12, no. 3: 1434. https://doi.org/10.3390/app12031434
APA StyleTulej, W., & Głowacki, S. (2022). Modeling of the Drying Process of Apple Pomace. Applied Sciences, 12(3), 1434. https://doi.org/10.3390/app12031434
