Seismic Response Analysis of High-Voltage Bushings and Down Lead Transmission Line Systems in Substations
Abstract
:1. Introduction
2. Establishment and Verification of an FE Model for HVB-LA-DLTL Systems
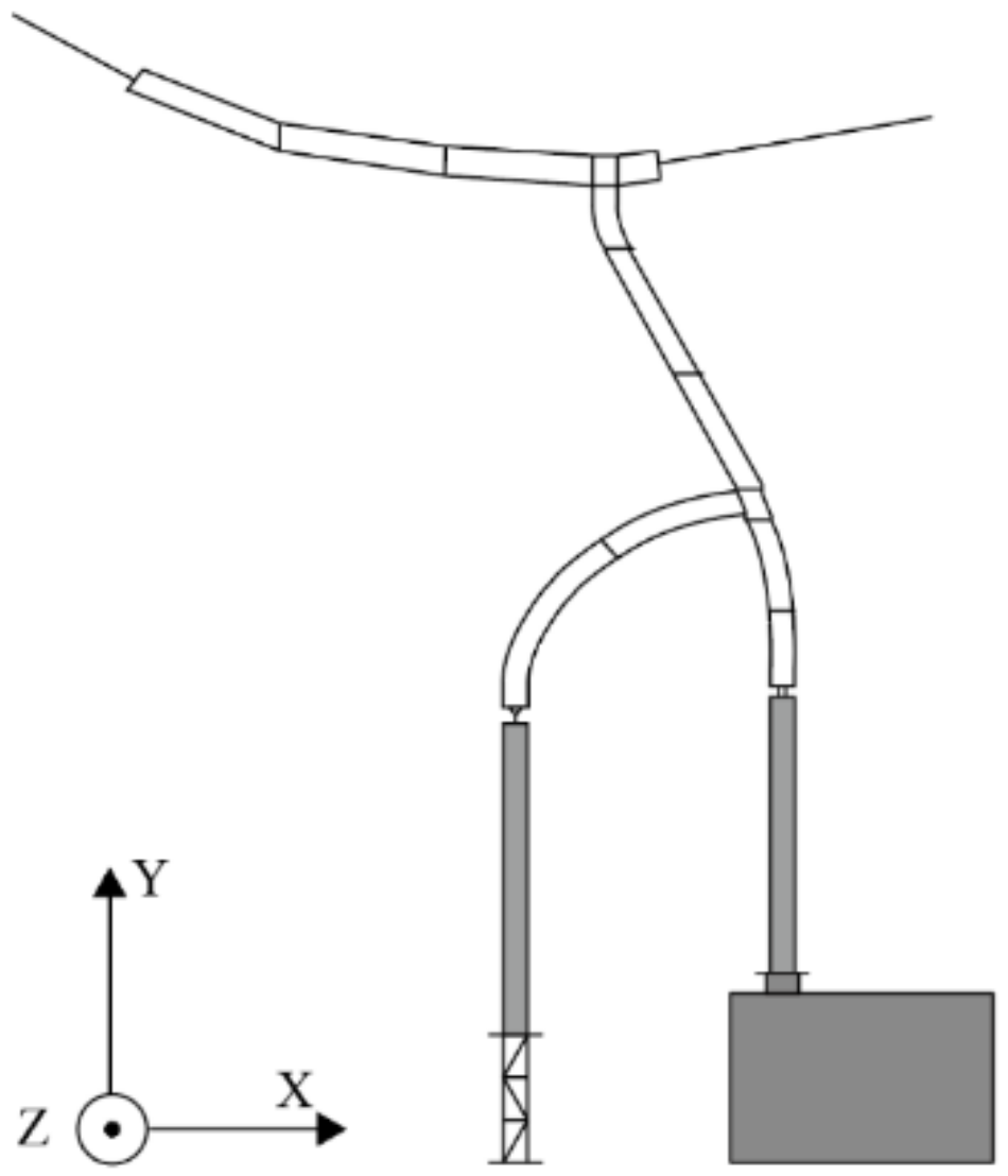
2.1. Engineering Background
2.2. Verification of the FE Modeling
2.3. Modal Analysis
3. Seismic Waveform Selection and Working Condition Setting
3.1. Seismic Waveform Selection
3.2. Working Condition Setting
4. Response Analysis of a High-Voltage Casing Lead Structure System under Different Seismic Acceleration Peaks
4.1. Vibration Response Analysis of the Lead System under Different PGAs
4.1.1. Analysis of the Top Displacement of the Lead System
4.1.2. Top Acceleration Analysis of Lead System
4.1.3. The Root Stress Analysis of the Lead System
4.1.4. Safety Factor Analysis of Lead System
5. The Influence of the down Conductor on the Lower Electrical Equipment
5.1. Mechanical Properties of a Soft Bus
5.1.1. Soft Bus Bars with Different Slack
5.1.2. Flexible Bus Bars with Different Connection Forms
5.1.3. Analysis of the Response of a High-Voltage Casing and a Single Structure Lightning Arrester under Different Seismic Peak Accelerations
6. Conclusions
Author Contributions
Funding
Institutional Review Board Statement
Informed Consent Statement
Data Availability Statement
Conflicts of Interest
References
- Ma, K.; Ye, P.; Li, J.; Han, Y.; Zhang, T. Research on Operating and Control of the UHV Power Grid. Northeast. Electr. Power Technol. 2017, 38, 54–59. [Google Scholar]
- Cheng, Y.; Zhu, Z.; Lu, Z.; Liu, Z.; Zhang, S. Research state and development of seismic performance of substation electrical equipment. Build. Struct. 2008, 32, 84–89. [Google Scholar]
- Cao, Y.; Deng, H.; Cai, W.; Liu, Y.; Wu, C.; Wu, X. Research Progress in Prevention of Earthquake and Secondary Disasters on Power Facilities. High Volt. Eng. 2019, 45, 1962–1974. [Google Scholar]
- Fujisaki, E.; Takhirov, S.; Xie, Q.; Mosalam, K.M. Seismic Vulnerability of Power Supply: Lessons Learned from Recent Earthquakes and Future Horizons of Research. In Proceedings of the 9th international conference on structural dynamics (EURODYN 2014), Porto, Portugal, 30 June–2 July 2014. [Google Scholar]
- Goodno, B.J.; Gould, N.C.; Caldwell, P.; Gould, P.L. Effects of the January 2010 Haitian Earthquake on Selected Electrical Equipment. Earthq. Spectra 2011, 27, 251–276. [Google Scholar] [CrossRef]
- Eidinger, J.; Kwasinski, A.; Tang, A.; Tudo-Bornarel, C. Performance of Electric Power Systems in the 2010–2011 Christchurch, New Zealand, Earthquake Sequence. Earthq. Spectra 2014, 30, 205–230. [Google Scholar]
- Liu, R.; Liu, J.; Yan, D.; Ye, F.; Lin, J.; Li, J. Seismic damage investigation and analysis of electric power system in Lushan Ms 7.0 earthquake. J. Nat. Disasters 2013, 22, 83–90. [Google Scholar]
- Chen, L.; Li, D.; Yu, Z.; Zhao, J. Damage Analysis of a Transformer Porcelain High Voltage Bushing in a Low Intensity Earthquake. Guangxi Electr. Power 2020, 43, 53–56. [Google Scholar]
- Shi, Y.; Zhou, G. Analysis on 220 KV Transformer Fault Caused by Sealing Failure of Bushing. Sichuan Electr. Power 2021, 5, 87–90. [Google Scholar]
- Gilani, A.S.; Whittaker, A.S.; Fenves, G.L. Seismic evaluation and retrofit of 230-kV porcelain transformer bushings. Earthq. Spectra 2001, 17, 597–616. [Google Scholar] [CrossRef]
- Filiatrault, A.; Matt, H. Seismic Response of High Voltage Electrical Transformer–Bushing Systems. J. Struct. Eng. 2006, 132, 287–295. [Google Scholar] [CrossRef]
- Wang, H.; Cheng, Y.; Sun, Y.; Wang, N.; Zhicheng, L.U.; Qiao, Z. Seismic Performance of Ultra High Voltage Gas Insulated Switchgear Porcelain Bushing. China Earthq. Eng. J. 2018, 40, 406–412. [Google Scholar]
- Sun, Y.; Zhicheng, L.U.; Liu, Z.; Lin, S.; Wang, X.; Zhong, M. Earthquake Simulation Shaking Table Test for 1100 kV UHV Bushing. High Volt. Eng. 2017, 43, 4139–4144. [Google Scholar]
- Li, S.; Tsang, H.H.; Cheng, Y.; Lu, Z. Considering seismic interaction effects in designing steel supporting structure for surge arrester. J. Constr. Steel Res. 2017, 132, 151–163. [Google Scholar] [CrossRef]
- Cheng, Y.; Li, S.; Lu, Z.; Liu, Z.; Zhu, Z. Seismic risk mitigation of cylindrical electrical equipment with a novel isolation device. Soil Dyn. Earthq. Eng. 2018, 111, 41–52. [Google Scholar] [CrossRef]
- Dastous, J.B.; Filiatrault, A.; Pierre, J.R. Estimation of Displacement at Interconnection Points of Substation Equipment Subjected to Earthquakes. IEEE Trans. Power Deliv. 2004, 19, 618–628. [Google Scholar] [CrossRef]
- Ghalibafian, H.; Bhuyan, G.S.; Ventura, C.; Rainer, J.H.; Borthwick, D.; Stewart, R.P.; Zhai, E. Seismic behavior of flexible conductors connecting substation equipment-part II: Shake table tests. IEEE Trans. Power Deliv. 2004, 19, 1680–1687. [Google Scholar] [CrossRef]
- Ma, G.; Xie, Q.; Zhuo, R.; Luo, B.; Luo, Y.; Fu, M. Dynamic Interaction of High-Voltage Power Transformer Bushings, Turrets, and Tanks. Earthq. Spectra 2018, 44, 3966–3972. [Google Scholar] [CrossRef]
- Zhang, M.; Shang, R.; Lu, Z.; Zhang, X.; Xie, K.; Zhang, B. Analysis of wind-induced response of down lead transmission line-connection fitting systems in ultrahigh-voltage substations. Eng. Struct. 2020, 206, 110144. [Google Scholar] [CrossRef]
- Krawczuk, M.; Palacz, M. Special Issue “Applications of Finite Element Modeling for Mechanical and Mechatronic Systems”. Appl. Sci. 2021, 11, 5170. [Google Scholar] [CrossRef]
- Fabbrocino, F.; Farina, I.; Modano, M. Loading noise effects on the system identification of composite structures by dynamic tests with vibrodyne. Compos. Part B Eng. 2017, 115, 376–383. [Google Scholar] [CrossRef]
- Fabbrocino, F.; Funari, M.F.; Greco, F.; Lonetti, P.; Luciano, R.; Penna, R. Dynamic crack growth based on moving mesh method. Compos. Part B Eng. 2019, 174, 107053. [Google Scholar] [CrossRef]
- Shang, R. Study on the Bearing Capacity of Down Lead Transmission Line-Connection Fitting and Bushing Systems under Dynamic Loads in Ultrahigh-Voltage Substations; Zhengzhou University: Zheng Zhou, China, 2020. [Google Scholar]
- Cao, M.G.; Zhou, F.L.; Tan, P.; Fan, R.Q.; Lu, Z.C.; Zhang, X.S. Shaking table test on seismic performance of large power transformer with bushings. J. Vib. Shock. 2011, 30, 122–129. [Google Scholar]
- Xie, Q.; Wang, Y. Shake-table Test on Earthquake Simulation of Substation Equipment Interconnected by Flexible Bus. Proc. Chin. Soc. Electr. Eng. 2011, 31, 112–118. [Google Scholar]
- Villaverde, R.; Pardoen, G.C.; Carnalla, S. Ground motion amplification at flange level of bushings mounted on electric substation transformers. Earthq. Eng. Struct. D 2001, 30, 621–632. [Google Scholar] [CrossRef]
- Bai, W.; Dai, J.; Ning, X.; Zhou, H.; Yang, Y. Study on Required Flexible Conductor Slack of Connecting High-voltage Electrical Equipment Under Earthquakes. Proc. CSEE 2018, 38, 10. [Google Scholar]
























| Part Name | Material | Elastic Modulus (GPa) | Poisson’s Ratio | Element Type | Mesh Density (mm) |
|---|---|---|---|---|---|
| Down Conductor System | Aluminum | 50 | 0.33 | Solid186 | 50 |
| Clamps on High-Voltage Bushing | Aluminum | 70 | 0.33 | Solid186 | 10 |
| Terminal Board on High-Voltage Bushing | Brass | 110 | 0.32 | Solid186 | 10 |
| Connecting Terminal on High-Voltage Bushing | Red Copper | 116 (104) | 0.34 | Solid186 | 5 |
| Clamps on Lightning Arrester | Aluminum | 70 | 0.33 | Solid186 | 10 |
| Bolt/Steel Bars | Stainless Steel | 205 | 0.3 | Beam188 | - |
| Spacer | Aluminum | 70 | 0.33 | Solid186 | 20 |
| High-Voltage Bushing | Ceramics (composites) | 110 | 0.3 | Solid186 | 20 |
| Lightning Arrester | Ceramics (composites) | 110 | 0.3 | Solid186 | 20 |
| Transformer Tank | Q235 steel | 200 | 0.3 | Shell181 | 100 |
| Arrester Support | Q235 steel | 200 | 0.3 | Solid186 | 40 |
| Component | FE Simulation Results (MPa) | Reference [19] FE Simulation Result (MPa) | Reference [19] Result (MPa) | Relative Difference | |
|---|---|---|---|---|---|
| Clamps on the bushing side | 12.88 | 13.68 | 13.20 | −6.21% | −2.42% |
| Terminal board on the bushing side | 39.62 | 36.71 | 42.68 | 7.34% | −7.7% |
| Terminal board on the lightning arrestor | 21.06 | 22.74 | −21.53 | −7.98% | −2.23% |
| Mode | The Natural Frequency of Vibration (Hz) | Characteristics of the Mode of Vibration | ||
|---|---|---|---|---|
| Reference [23] Result | Reference [19] Result | Reference [23] Result | Reference [19] Result | |
| 1 | 1.0877 | 1.7885 | The HV bushing bends along the negative Z-axis | The upper jumper bends along the positive Z-axis |
| 2 | 1.2227 | 2.7206 | The HV bushing bends along the positive Z-axis | The lower “λ”-shaped structure bends along the positive Z-axis |
| 3 | 1.7711 | 3.8658 | The upper jumper bends along the negative Z-axis | The upper jumper twists along the Z-axis |
| 4 | 2.0776 | 3.8845 | The arrester bends along Z positive axis | The upper jumper twists along the Y-axis the lower “λ”-shaped structure twists along the Z-axis |
| 5 | 2.2564 | 4.1287 | The arrester bends along Z negative axis | The upper jumper twists along Y-axis the lower “λ”-shaped structure bends along the X-axis |
| 6 | 2.7331 | 4.1368 | The lower” λ”-shaped bends along the Z-axis | The lower “λ”-shaped structure twists along the Y-axis |
| Mode | The Natural Frequency of Vibration (Hz) | Characteristics of the Mode of Vibration |
|---|---|---|
| 1 | 1.2827 | The upper jumper bends along the negative Z-axis |
| 2 | 1.4931 | The arrester bends along X positive axis |
| 3 | 1.5538 | The arrester bends along Z negative axis |
| 4 | 1.8996 | The upper jumper twists along the X-axis |
| 5 | 2.4006 | The HV bushing bends along the positive X-axis |
| 6 | 2.4715 | The HV bushing bends along the positive Z-axis |
| PGA | X-Direction Displacement Increase the Percentage | Z-Direction Displacement Increase the Percentage | Stress Increase Percentage | |
|---|---|---|---|---|
| EL wave | 0.035 g | 0.38 | 0.15 | 0.20 |
| 0.1 g | 1.63 | 0.81 | 0.86 | |
| 0.22 g | 5.38 | 2.62 | 2.81 | |
| 0.07 g | 0.90 | 0.45 | 0.48 | |
| 0.2 g | 4.46 | 2.25 | 2.35 | |
| 0.4 g | 28.13 | 8.11 | 13.02 | |
| Taft wave | 0.035 g | 0.35 | 0.13 | 0.18 |
| 0.1 g | 1.41 | 0.41 | 0.42 | |
| 0.22 g | 4.76 | 2.45 | 2.52 | |
| 0.07 g | 0.79 | 0.75 | 0.76 | |
| 0.2 g | 3.92 | 2.05 | 2.08 | |
| 0.4 g | 24.03 | 7.53 | 11.11 | |
| Artificial wave | 0.035 g | 0.37 | 0.15 | 0.19 |
| 0.1 g | 1.48 | 0.79 | 0.80 | |
| 0.22 g | 5.02 | 2.51 | 2.63 | |
| 0.07 g | 0.88 | 0.44 | 0.46 | |
| 0.2 g | 4.12 | 2.15 | 2.20 | |
| 0.4 g | 27.16 | 7.53 | 12.49 |
| PGA | X-Direction Displacement Increase the Percentage | Z-Direction Displacement Increase the Percentage | Stress Increase Percentage | |
|---|---|---|---|---|
| EL wave | 0.035 g | 0.30 | 0.11 | 0.15 |
| 0.1 g | 1.03 | 0.72 | 0.60 | |
| 0.22 g | 3.38 | 2.51 | 2.00 | |
| 0.07 g | 0.65 | 0.39 | 0.36 | |
| 0.2 g | 2.90 | 2.15 | 1.72 | |
| 0.4 g | 15.05 | 7.53 | 7.80 | |
| Taft wave | 0.035 g | 0.29 | 0.10 | 0.14 |
| 0.1 g | 0.94 | 0.73 | 0.56 | |
| 0.22 g | 3.20 | 2.34 | 1.89 | |
| 0.07 g | 0.58 | 0.36 | 0.32 | |
| 0.2 g | 2.73 | 1.98 | 1.60 | |
| 0.4 g | 13.52 | 6.38 | 6.91 | |
| Artificial wave | 0.035 g | 0.27 | 0.11 | 0.13 |
| 0.1 g | 0.98 | 0.72 | 0.58 | |
| 0.22 g | 3.26 | 2.47 | 1.94 | |
| 0.07 g | 0.60 | 0.38 | 0.34 | |
| 0.2 g | 2.82 | 2.07 | 1.66 | |
| 0.4 g | 13.49 | 6.95 | 7.22 |
Publisher’s Note: MDPI stays neutral with regard to jurisdictional claims in published maps and institutional affiliations. |
© 2022 by the authors. Licensee MDPI, Basel, Switzerland. This article is an open access article distributed under the terms and conditions of the Creative Commons Attribution (CC BY) license (https://creativecommons.org/licenses/by/4.0/).
Share and Cite
Zhang, M.; Wei, R.; Du, Y.; Zhao, G. Seismic Response Analysis of High-Voltage Bushings and Down Lead Transmission Line Systems in Substations. Appl. Sci. 2022, 12, 1118. https://doi.org/10.3390/app12031118
Zhang M, Wei R, Du Y, Zhao G. Seismic Response Analysis of High-Voltage Bushings and Down Lead Transmission Line Systems in Substations. Applied Sciences. 2022; 12(3):1118. https://doi.org/10.3390/app12031118
Chicago/Turabian StyleZhang, Meng, Ran Wei, Yuanxiang Du, and Guifeng Zhao. 2022. "Seismic Response Analysis of High-Voltage Bushings and Down Lead Transmission Line Systems in Substations" Applied Sciences 12, no. 3: 1118. https://doi.org/10.3390/app12031118
APA StyleZhang, M., Wei, R., Du, Y., & Zhao, G. (2022). Seismic Response Analysis of High-Voltage Bushings and Down Lead Transmission Line Systems in Substations. Applied Sciences, 12(3), 1118. https://doi.org/10.3390/app12031118

