Comparison of Manual Setting Weight Reduction and Topology Optimization of the Wing Tips of Electric Vertical Take-Off and Landing Aircraft
Abstract
:1. Introduction
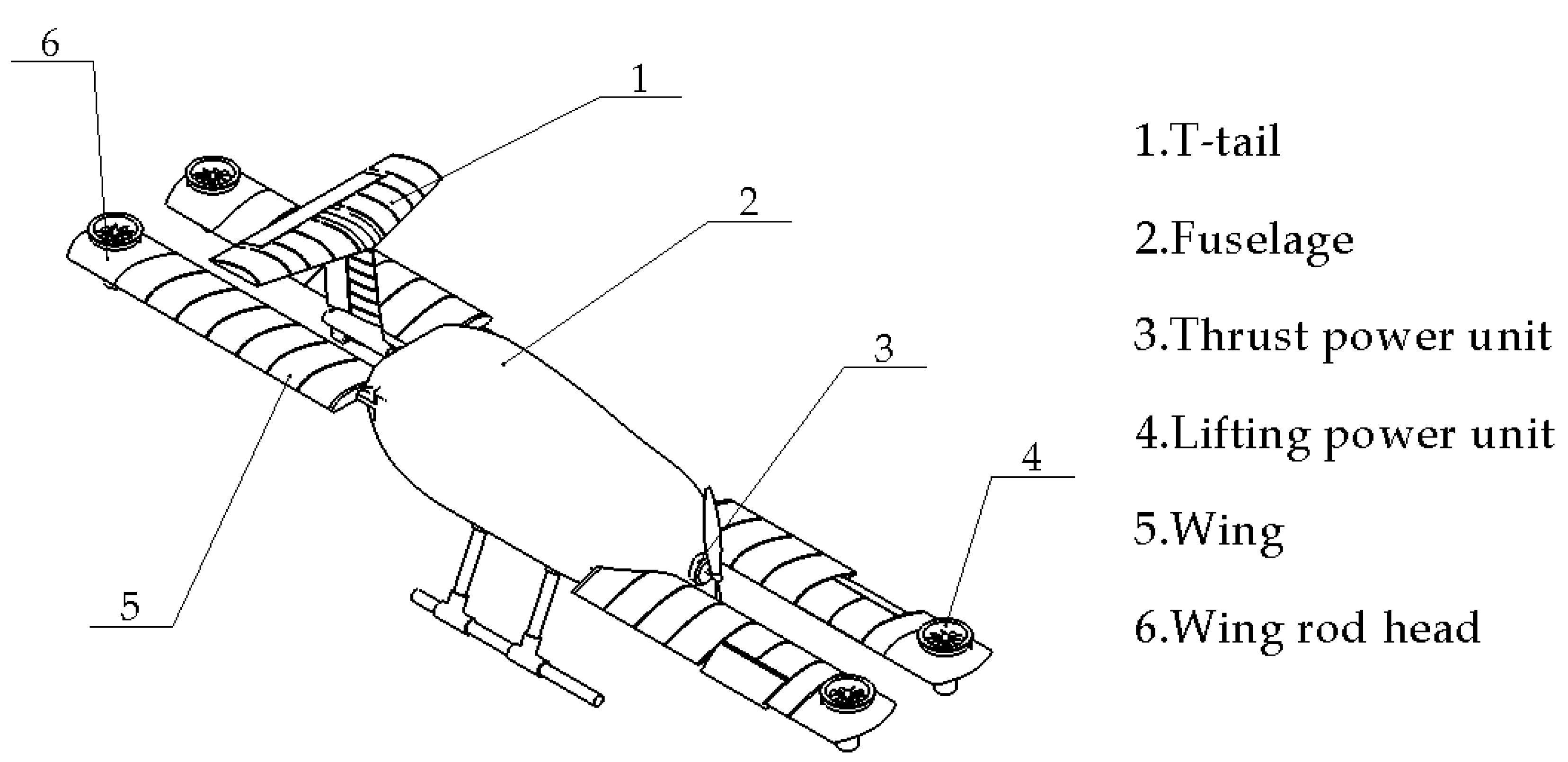
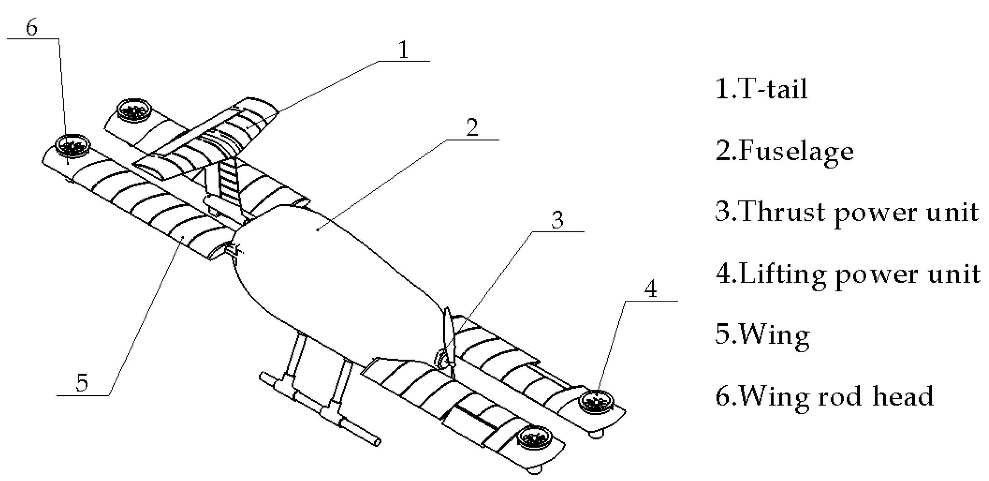
2. Design of eVTOL
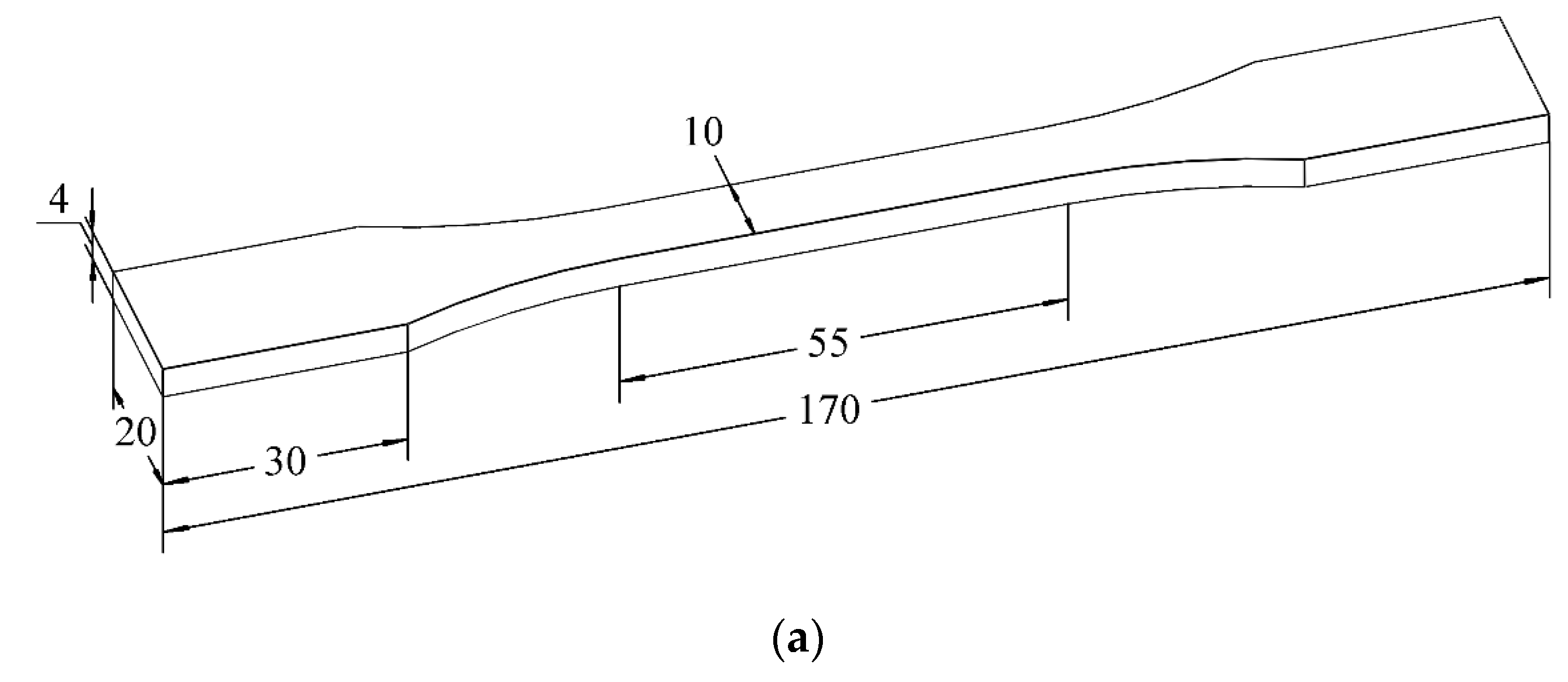
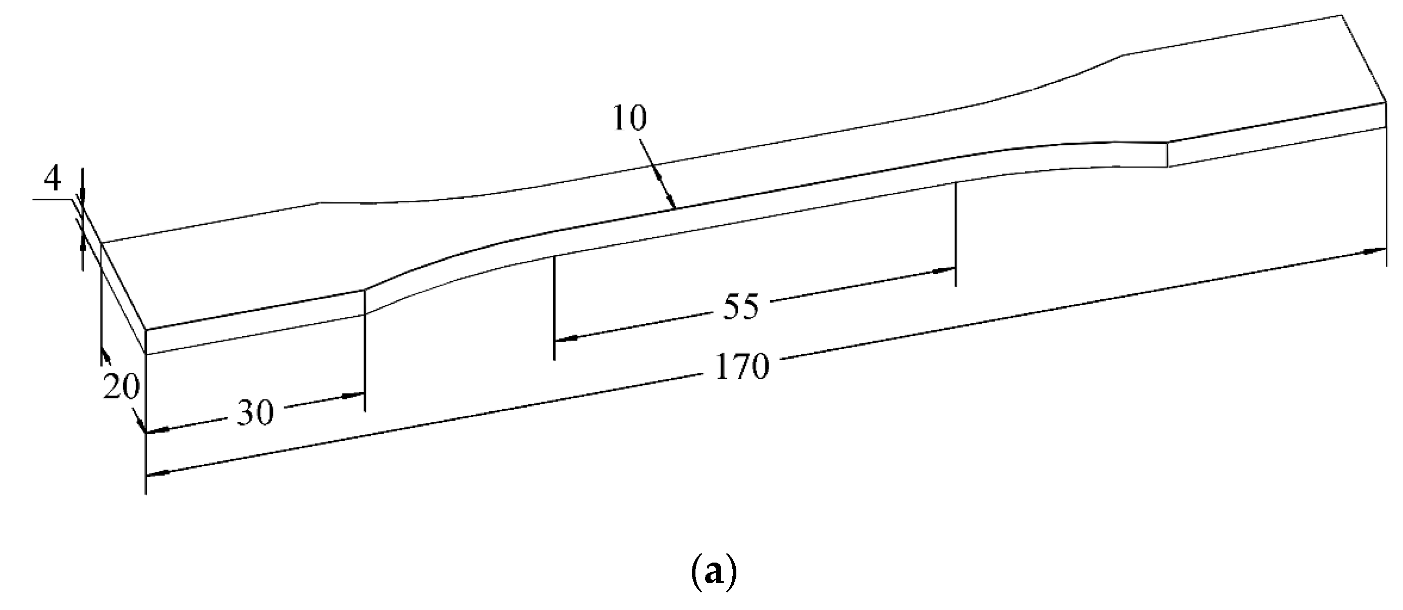
3. Weight Reduction Method of Manual Setting
3.1. Finite Element Analysis
3.2. Additive Tensile Test
3.3. Optimization Results
4. Topology Optimization in Weight Reduction
4.1. Simulation of Topology Optimization
4.2. Optimization Results
5. Comparative Analysis between the Two Weight Optimization Methods
5.1. Comparison of Elapsed Time with the Same Mesh Density
5.2. The Variation Trend of Topology Optimization Efficiency with Mesh Size
5.3. Computer Resource Mobilization
6. Discussion
7. Conclusions
Author Contributions
Funding
Institutional Review Board Statement
Informed Consent Statement
Data Availability Statement
Acknowledgments
Conflicts of Interest
References
- Wang, X. The Future of Urban Air Mobility Market. Aerosp. Power 2019, 2, 18–21. [Google Scholar]
- Cohen, A.P.; Shaheen, S.A.; Farrar, E.M. Urban Air Mobility: History, Ecosystem, Market Potential, and Challenges. IEEE Trans. Intell. Transp. Syst. 2021, 22, 6074–6087. [Google Scholar] [CrossRef]
- Wang, B. Research on Hybrid Vertical Takeoff and Landing Aircrafts. Ph.D. Thesis, National University of Defense Technology, Changsha, China, 2016. [Google Scholar]
- Zhao, Y.; Chen, M.; Wang, Z. Additive manufacturing oriented topology optimization of nodes in cable-strut structures. J. Build. Struct. 2019, 40, 58–68. [Google Scholar] [CrossRef]
- Li, R.; Zhang, Y.; Chen, H. Evolution and development of “man in-loop” in aerodynamic optimization design. Acta Aerodyn. Sin. 2017, 35, 529–543. [Google Scholar]
- Aage, N.; Andreassen, E.; Lazarov, B.S.; Sigmund, O. Giga-Voxel Computational Morphogenesis for Structural Design. Nature 2017, 550, 84. [Google Scholar] [CrossRef] [Green Version]
- Wen, D.; Chen, Y. Review and Prospect on The Research of Aero-Engine Casing Dynamics. J. Dyn. Control. 2013, 11, 12–19. [Google Scholar]
- Li, P.; Chen, Y.; Wei, W.; Wan, J. Analysis of Effect of Empennage Layout of a Certain Civil Aircraft on Aircraft Stability. Trainer 2014, 45, 28–32. [Google Scholar]
- Cao, M.; Chen, B.; Liu, K.; Qin, Z. Research on the Influence of the Installation Position of the Front and Rear Wings of the Tandem-Wing UAV on the Aerodynamic Characteristics. In Proceedings of the 3rd China Aerospace Safety Conference, Zhuhai, China, 28–30 September 2021. [Google Scholar]
- Zhao, C.; Chen, L.; Lu, L.; Zhang, Q.; Sun, L. Advances in Electric Aircraft Technology. Sci. Technol. Rev. 2012, 30, 62–70. [Google Scholar]
- Ma, J.; Zhang, C.; Li, X.; Chen, A.; Zhang, T. Study on Effect of Propeller Distribution on Aerodynamic Characteristics of Small Tandem-wing UAV. J. Ordnance Equip. Eng. 2020, 41, 54–59. [Google Scholar]
- Chohan, J.S.; Singh, R.; Boparai, K.S.; Penna, R.; Fraternali, F. Dimensional Accuracy Analysis of Coupled Fused Deposition Modeling and Vapour Smoothing Operations for Biomedical Applications. Compos. Part B Eng. 2017, 117, 138–149. [Google Scholar] [CrossRef]
- Zhao, H.; Li, J.; Cui, Z. Flight dynamics characteristics of miniature unmanned ducted vehicle. J. Aerosp. Power 2014, 29, 1721–1728. [Google Scholar] [CrossRef]
- Zhong, W. Study on the Influence of 3D Printing Parameters on the Mechanical Properties and Molding Quality of PLA. Master’s Thesis, Jilin University, Changchun, China, 2019. [Google Scholar] [CrossRef]
- Ngo, T.D.; Kashani, A.; Imbalzano, G.; Nguyen, K.T.Q.; Hui, D. Additive Manufacturing (3D Printing): A Review of Materials, Methods, Applications and Challenges. Compos. Part B Eng. 2018, 143, 172–196. [Google Scholar] [CrossRef]
- Mohamed, O.A.; Masood, S.H.; Bhowmik, J.L. Optimization of Fused Deposition Modeling Process Parameters: A Review of Current Research and Future Prospects. Adv. Manuf. 2015, 3, 42–53. [Google Scholar] [CrossRef]
- Liu, Y.; Xia, C.; Zhang, J.; Jiang, Z. Application Progress and Prospect of Fused Deposition Molding 3d-printing. Eng. Plast. Appl. 2017, 45, 130–133. [Google Scholar]
- Gao, W.; Lv, X. Applications of Topology Optimization in Structural Engineering. Struct. Eng. 2020, 36, 232–241. [Google Scholar] [CrossRef]
- Yin, Y.; Liu, Y.; Dou, L. Review of researches on structure topology optimization with material nonlinearity. J. Chongqing Univ. 2016, 39, 34–38. [Google Scholar]
- Sigmund, O.; Maute, K. Topology Optimization Approaches A Comparative Review. Struct. Multidiscip. Optim. 2013, 48, 1031–1055. [Google Scholar] [CrossRef]
- Liu, J.; Zhu, N.; Chen, L.; Liu, X. Structural Multi-Objective Topology Optimization in the Design and Additive Manufacturing of Spatial Structure Joints. Int. J. Steel Struct. 2022, 1–20. [Google Scholar] [CrossRef]
- Torres-SanMiguel, C.R. Modeling and Simulation Process via Incremental Methods of a Production-Aimed Upper Limb Prosthesis. Appl. Sci. 2022, 12, 2788. [Google Scholar] [CrossRef]
- Man, Y.; Han, J.; Jiang, L.; Chen, B.; Luo, M. Research and Implementation of Layout Rapid Design System for Aerospace Vehicle. Comput. Meas. Control 2020, 28, 182–187. [Google Scholar] [CrossRef]
- Ren, N.; Wan, J.; Hu, R. Study on STL File Presentation Based on Topoloaical Triangle. Trans. Chin. Soc. Agric. Mach. 2005, 49, 149–151. [Google Scholar]
- Cai, S.; Zhang, W.; Gao, T.; Zhao, J. Adaptive Bubble Method Using Fixed Mesh and Topological Derivative for Structural Topology Optimization. Chin. J. Theor. Appl. Mech. 2019, 51, 1235–1244. [Google Scholar] [CrossRef]
- Gu, C.; Wu, X. A review of FEM and trend of development. J. Front. Comput. Sci. Technol. 2008, 2, 248–259. [Google Scholar]






















| Layout Scheme | Advantages | Disadvantages |
|---|---|---|
| Both wings up | Large lift–drag ratio and good stability | The drag difference between the front and posterior wings is large and the efficiency is low |
| Both wings down | Low lift–drag ratio fluctuation | Small lift–drag ratio |
| One wing up and one wing down | Maximum lift–drag ratio | Relatively poor stability |
| Variable | Parameter |
|---|---|
| Material for printing | PLA |
| Layer thickness | 0.1 mm |
| Extrusion temperature | 205 °C |
| Hot bed temperature | 55 °C |
| Printing speed | 60 mm/s |
| Number of layers of outline | 2 |
| Mesh Size | Optimized Weight Percentage (%) | Mesh Size | Optimized Weight Percentage (%) |
|---|---|---|---|
| Default | 92.43 | 0.9 | 64.72 |
| 5 | 87.08 | 0.8 | 62.37 |
| 4 | 81.51 | 0.7 | 60.26 |
| 3 | 75.12 | 0.6 | 57.54 |
| 2 | 66.80 | 0.4 | 55.27 |
| 1 | 66.28 | 0.3 | 50.26 |
Publisher’s Note: MDPI stays neutral with regard to jurisdictional claims in published maps and institutional affiliations. |
© 2022 by the authors. Licensee MDPI, Basel, Switzerland. This article is an open access article distributed under the terms and conditions of the Creative Commons Attribution (CC BY) license (https://creativecommons.org/licenses/by/4.0/).
Share and Cite
Zeng, Y.; Li, J.; Lin, S.; He, X.; Li, B.; Deng, T. Comparison of Manual Setting Weight Reduction and Topology Optimization of the Wing Tips of Electric Vertical Take-Off and Landing Aircraft. Appl. Sci. 2022, 12, 5548. https://doi.org/10.3390/app12115548
Zeng Y, Li J, Lin S, He X, Li B, Deng T. Comparison of Manual Setting Weight Reduction and Topology Optimization of the Wing Tips of Electric Vertical Take-Off and Landing Aircraft. Applied Sciences. 2022; 12(11):5548. https://doi.org/10.3390/app12115548
Chicago/Turabian StyleZeng, Yangyang, Jiayi Li, Shiyun Lin, Xiaolong He, Bing Li, and Tao Deng. 2022. "Comparison of Manual Setting Weight Reduction and Topology Optimization of the Wing Tips of Electric Vertical Take-Off and Landing Aircraft" Applied Sciences 12, no. 11: 5548. https://doi.org/10.3390/app12115548
APA StyleZeng, Y., Li, J., Lin, S., He, X., Li, B., & Deng, T. (2022). Comparison of Manual Setting Weight Reduction and Topology Optimization of the Wing Tips of Electric Vertical Take-Off and Landing Aircraft. Applied Sciences, 12(11), 5548. https://doi.org/10.3390/app12115548

