Featured Application
Computer-guided implant surgery is a valuable choice to achieve predictable results in esthetic area.
Abstract
Background: Implant rehabilitation in cases of monoedentulism in the esthetic area is a challenge for the clinician. The aim of our study was to test the diagnostic–therapeutic accuracy of computer-guided implant placement in the esthetic area. Methods: Postimplant surgery cone beam computed tomography (CBCT) scans were retrospectively analyzed to assess the accuracy of computer-guided implant placement compared to the preoperative computer-digital planned implant position. We selectively enrolled CBCT scans of patients who underwent immediate or delayed implant placement of a single maxillary incisor, treated with computer-guided implant surgery through a tooth-supported digitally designed 3D printed guide. Our analysis consisted of three digital measurements: the mean deviation of the implant axis, and the mean mesiodistal implant deviation measured both at the apex and at the head of the implant. Results: A total of 95 implants were placed in 95 patients (60 Males, 35 Females; age from 27 to 45-year-old). Congruence analysis showed a mean deviation of implant axis of 1.04° ± 0.56° in sagittal projection, a mean mesiodistal implant deviation between adjacent teeth of 0.14 mm ± 0.07 mm at implant head level and 0.8 mm ± 0.3 mm at the apex in axial projection. Conclusions: computer-guided implant placement through a tooth-supported guide was extremely accurate in the esthetic area because the deviations between the real implant position and the preoperative planning was not clinically relevant.
1. Introduction
Implant rehabilitation in cases of monoedentulism in the esthetic area is a challenge for the clinician [1]. Indeed, the increase in the patients’ esthetic expectations and the emotional and social implications that the loss of an incisor generates require extremely precise and accurate treatments. In these cases, to solve the edentulism with implant-supported prostheses that replace the esthetic and function of the natural teeth is mandatory [2].
In the esthetic area, the bone profile of the maxillary alveolar process and the incisor’s inclination make immediate or delayed implant placement more difficult [3,4].
Consequently, an extremely precise implant placement is critical in order to maintain an adequate bone tissue volume around the implant and a soft tissue architecture comparable to that of the adjacent natural teeth [5,6,7]. Implant osteotomies should be prepared in the centre of the edentulous space, with a minimum distance of 1.5 mm from adjacent teeth and preserving a thickness of about 2 mm of the buccal cortical bone to protect the implant [8]. The inclination of implant insertion should coincide with the ideal loading axis in order to expose the implant bone system to compressive forces that stimulate the formation of reactive bone tissue [9,10]. Structural integrity and thickness of the vestibular cortical bone are key factors in predicting the extent of bone resorption and dehiscence of the soft tissue lining [11]. In fact, for bone thicknesses > 1 mm, the success rates of dental implants placed both immediately and after complete soft tissue healing (4–8 weeks after extraction) are higher [12]. On the contrary, for buccal cortical bone thickness < 1 mm, the formation of greater bone and mucosal defects has been observed and, in these cases, the application of bone augmentation techniques is necessary [13].
For these reasons, an accurate implant placement, considering implant axis and the residual bone volume, is mandatory to avoid esthetic complications, both in the short and medium term [14].
In order to obtain an accurate implant insertion, a careful preoperative planning that considers both the volume of the hard tissues and the positioning of the future prosthesis is necessary [15,16]. Subsequently, an appliance to transfer the planning information to the operating field is required to obtain predictable and reproducible implant insertion on the patients.
Several prosthetically guided implant placement techniques are described in the literature. A review conducted by Vercruyssen et al. differentiates between static and dynamic guided techniques. Static technique concerns the stereolithographic process, which involves the development of a 3D printed template from digital planning performed on software with CT data importation. Dynamic technique makes use of computer-navigated surgery, which allows the surgical instrument to be tracked as it is used, thanks to optical tracking technology [17]. A review by Tatakis et al. analyzed the advantages and the disadvantages of computer-guided therapeutic protocol. They reported a reduction of intraoperative times, especially in the most complex cases and the possibility to perform a flapless procedure, decreasing the postoperative discomfort of the patient. However, an increase in preoperative times and costs were revealed. In addition, each additional step during the preoperative planning can be associated with an increased risk of deviation in implant placement if compared with the ideal implant positioning [18].
There are also different protocols in the literature concerning the timing of implant insertion. Immediate (or postextractive) implants are defined as those placed in a fresh extraction socket just after tooth extraction, immediate-delayed implants are those placed in an extraction socket within 8 weeks after tooth extraction, and delayed implants are any implants placed at least 2 months after tooth extraction [19]. Previous studies showed that there is no difference between these in terms of success rate and complications, while the best esthetic result was obtained with postextractive implants [20,21]. However, there are no studies that assess the accuracy of implant insertion with the computer-guided technique by comparing immediate and delayed protocol.
The aim of our study was to evaluate and describe the diagnostic–therapeutic accuracy of computer-guided implant placement in the esthetic area through digital measurements performed on cone beam (CBCT scan), in two groups of patients: one with immediate postextractive implants and another one with implants placed after partial hard tissue healing (12 weeks after extraction) with flapless technique.
2. Materials and Methods
Postimplant surgery cone beam computed tomography (CBCT) scans were retrospectively analyzed to assess the accuracy of computer-guided implant placement compared to the preoperative computer-digital planned implant position. In the period from December 2019 to December 2021, CBCT scans were collected from patients treated with computer-guided immediate or delayed implant placement of a single maxillary incisor. Subsequently, only patients who had been treated in the last 5 years and had undergone a postoperative CBCT scan were included in our analysis. Inclusions and exclusions criteria were summarized in Table 1 and Table 2. All scans were transferred and assessed anonymously, with only the information about type of treatment recorded. For all patients, implant placement was conducted by the same operator using a 3D printed tooth-supported surgical guide. The digital planning of the implant placement was performed with a dedicated guided surgery software in which we imported the Digital Imaging Communication in Medicine (DICOM) data coming from the CBCT scan and the standard tessellation language (.stl) files recorded by digital impression of the jaws, obtained with an intraoral scanner (Cerec Omnicam, Dentsply Sirona, Charlotte, NC, USA). Digital data were matched to acquire the necessary anatomical information to perform a digital wax-up of the future definitive prosthesis in order to allow an ideal virtual implant placement (respecting the ideal loading axis and bone bioavailability). Implant placement was conducted by the same operator using a 3D printed tooth-supported surgical guide through an implant guided surgical kit (Neoss guide, Neoss Ltd., Harrogate, UK) and only bone level implants of the length 10 ± 1 mm were included in our analysis. Evaluation of congruence between digital planning and in vivo postoperative implant placement was conducted by analyzing the mean deviation of the apico-coronal placement and implant axis in sagittal projection, the mean mesiodistal deviation of the implant with adjacent teeth at the level of the implant head and apex, in the axial position. Implant axis in sagittal projection is a parameter that depends on the vestibulo-palatal inclination and the apico-coronal depth of the implant. Statistical analysis was performed using a dedicated software (MATLAB, version 7.10.0, The MathWorks Inc., Natick, MA, USA). The null hypothesis to test was that no statistically significant differences between measurements collected in preoperative digital planning and in vivo implant placement and between immediate and delayed placement (p < 0.05) were found.
Table 1.
Inclusion criteria.
Table 2.
Exclusion criteria.
3. Results
A total of 470 CBCT were collected from patients with monoedentulism of a maxillary incisor who were candidates for implant therapy. Only 95 of 470 repeated the CBCT examination for control or occasionally (for the study of other pathological conditions). Of the 95 patients selected, it was possible to perform post-extractive immediate implant insertion in 37 (group 1) and delayed implant insertion in 58 (group 2) due to unfavourable anatomical conditions that required the application of alveolar preservation techniques. All procedures in group 1 and group 2 were performed without the preparation of an access flap.
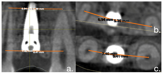
In group 1, the mean deviation of apico-coronal placement and implant axis (Figure 1) was 1.04° ± 0.56° in sagittal projection, the mean mesiodistal deviation of the implant with adjacent teeth was 0.14 mm ± 0.07 mm at the implant head (Figure 2) and 0.56 mm ± 0.24 mm at the apex in axial projection (Figure 3).
Figure 1.
Comparison of implant axis on CBCT scans performed before and after implant surgery to verify congruence of implant placement (in orange). In blue, virtual wax-up of the future fixed crown. (a) Implant position in preoperative digital planning; (b) Implant position after computer-guided surgical insertion.
Figure 2.
Comparison of mesiodistal deviation with adjacent teeth on CBCT scans performed before implant surgery to verify the congruence of implant placement. (a) Implant position in preoperative digital planning in coronal projection; (b) mesiodistal deviation of the implant with adjacent teeth at implant axis in axial projection; (c) mesiodistal deviation of the implant with adjacent teeth at implant head in axial projection.
Figure 3.
Comparison of mesiodistal deviation with adjacent teeth on CBCT scans performed after implant surgery to verify the congruence of implant placement. (a) Implant position after implant surgery in coronal projection; (b) mesiodistal deviation of the implant after computer-guided surgical insertion with adjacent teeth at implant axis in axial projection; (c) mesiodistal deviation of the implant after computer-guided surgical insertion with adjacent teeth at implant head in axial projection.
In group 2, the mean deviation of apico-coronal placement and implant axis was 1.18° ± 0.54° in sagittal projection, the mean mesiodistal deviation of the implant with adjacent teeth was 0.23 mm ± 0.15 mm at the implant head and 0.53 mm ± 0.25 mm at the apex in axial projection.
The data distribution of the difference between design and implant placement in vivo is not Gaussian, so Wilcoxon’s nonparametric test for paired data was used.
In both groups, the difference was statistically significant for the parameters “implant axis” (group 1—p = 0.036; group 2—p = 0.022) and “mesiodistal deviation at implant apex” (group 1—p = 0.002; group 2—p = 0.0001), while it was not statistically significant for the parameter “mesiodistal deviation at implant head” (group 1—p = 0.051; group 2—p = 0.122).
To compare the differences between group 1 and group 2, a Mann–Whitney U-test for unpaired data was performed. Statistically significant differences between groups were found only for the parameter “mesiodistal deviation at implant head” (p = 0.007), whereas no significant differences were found for the “implant axis” (p = 0.172) and “implant apex” (p = 0.611).
4. Discussion
Accurate prosthetically guided implant placement is critical to achieve medium- and long-term therapeutic success. However, the procedure is poorly predictable and highly operator-dependent if performed without any appliances that guide implant insertion. A randomised controlled trial conducted by Marei et al. analyzed if the surgeon’s experience affected the accuracy of the dental implant procedures, concluding that an experienced surgeon tended to perform more accurate placement in the bucco-lingual direction when compared to the novice group [22]. Our study was conducted with the aim of evaluating any differences in terms of effective implant placement between the digital planning, performed in the preoperative planning, and the in vivo implant placement. To conduct the congruence analysis, three measurements on CBCT scans were selected with the aim of evaluating the implant position in the three dimensions of the alveolar process. The results of our study showed that computer-guided implant surgery in the esthetic area had an optimal precision because it allowed an implant placement with a minimal deviation of the parameters considered in this study to three dimensionally evaluate and compare the virtual and the real position of the implant. Indeed, the differences between the preoperative planning and the implant placement results were statistically significant for two parameters in both groups: the mean differences in the implant axis were 1.04° in group 1 and 1.18° in group 2, while the mean differences in the mesiodistal deviation at implant apex were 0.56 mm in group 1 and 0.53 mm in group 2. Nevertheless, despite the statistical significance, the size of these differences seems to have a very low clinical relevance. Furthermore, the measurements were also taken at the level of the implant apex, ensuring that the placement is even more representative. In addition, the different timing of implant insertion (immediate or delayed) had no influence on the consistency between preoperative digital planning and in vivo placement (group 1 vs. group 2). The only statistically significant mean difference between the groups was for mesiodistal deviation at implant head. This could be explained by the lower amount of bone available to stabilise the implant in group 1 compared to group 2. Since the implant stabilised mainly in the apical portion, there may be less primary implant stability and it is possible that the tightening of the healing screw alone may have caused this difference.
The results of a randomised control trial conducted by Smitkarn et al. demonstrated that computer-guided implant placement was more accurate if compared with freehand implant placement and for these reasons this technique should be preferred by clinicians [23]. Our findings were consistent with this study, indicating that the computer-guided implant surgery is accurate and predictable.
Moreover, computer-guided implant surgery decreases the invasiveness and morbidity of the procedure, especially in cases of flapless technique, as well as postoperative pain [24]. An RCT study by Fortin et al. showed that flapless computer-guided implant placement is minimally invasive and has a more favourable impact on patients than classic open-flap surgery, as assessed by a visual analogue scale (VAS) [25].
Another advantage of performing preoperative digital planning for computer-guided surgery is the preliminary assessment of bone bioavailability at the implant insertion site. In fact, on dedicated software, it is possible to virtually insert the implant screw to visualise its ideal position, to assess if the residual bone quantity is sufficient to safely accommodate the implant or if there is a need to plan regeneration procedures, and to plan the future definitive prosthetic crown [26]. Furthermore, having a safe thickness of the buccal cortical and knowing its thickness protects us from dehiscence or other cosmetic complications. Spray et al. found that vestibular cortical bone loss after implant placement was greatest when the initial vestibular cortical thickness was less than 1.4 mm, while it decreased to a true possibility of bone gain when the thickness increased to approximately 1.8–2 mm [8].
Although computer-guided implant surgery seems to be a predictable and accurate technique, it must be considered that a deviation between preoperative digital planning and implant placement may occur due to the clinician’s learning curve or due to possible errors in the various steps of the digital planning workflow [27]. Some errors may occur during intraoral scanning or during cone-beam analysis and may be operator-dependent or due to low accuracy of the devices used [28,29]. Another limitation that may undermine the precision and predictability of a fully digital workflow of computer-guided implantology concerns the 3D printing step of the tooth-supported templates. These undergo a minimal but present contraction of the material that could affect the position of our guide during implant insertion. It is therefore very important to choose a very accurate 3D printer that produces a template with as little error as possible, so that it is clinically insignificant [30].
Another consideration to be made concerns the error resulting from the placement of the guide used for the implant placement. In an observational study, Cassetta et al. analyzed the mean deviation between the preoperative digital planning and the implant insertion referring to the error in the positioning of the surgical guide and how this is influenced by the maxillary or mandibular arch [31]. It is possible that the small differences between the measurements found in our study could be due to this type of error. To reduce it, especially in cases of a bone-supported surgical guide, Di Giacomo et al. suggested the use of stabilising screws [32].
Undoubtedly, computer-guided implant surgery has several advantages and makes implant placement more predictable. However, it should not be considered easier to perform, but a procedure that makes implant placement more precise. Some limitations include the acquisition of some specific skills such as training in the use of preoperative planning software and experience in traditional implant surgery, as well as the use of expensive equipment such as a 3D printer and intraoral scanner for digital acquisition for impressions of the patient’s jaws.
This study presents some limitations. It is a retrospective study and has no long-term follow-up. Further studies are needed to determine whether computer-guided implant placement provides advantages in terms of success rate and esthetics over time.
5. Conclusions
The results of our study showed that there were minimal and nonclinically relevant differences between preoperative virtual planning and postoperative implant positioning assessed on CBCT and that there were no significant differences between immediate and delayed placement. Thus, the computer guided implant surgery is predictable and precise and, when supported by careful preoperative digital planning, it is a very valuable procedure that can help dental implant surgery.
Author Contributions
Conceptualization, M.C. and A.A. (Alessandra Amato); methodology, M.C. and A.A. (Alfonso Acerra); validation, A.A. (Alessandra Amato), A.A. (Alfonso Acerra) and S.M.; investigation, M.C. and A.A. (Alfonso Acerra); data curation, S.M.; writing—original draft preparation, M.C., A.A. (Alfonso Acerra) and F.D.; writing—review and editing, M.C., A.A. (Alfonso Acerra) and F.D.; visualization, S.M.; supervision, M.C. and S.M. All authors have read and agreed to the published version of the manuscript.
Funding
This research received no external funding.
Institutional Review Board Statement
Ethical review and approval were waived for this observational study because our retrospective analysis was conducted through CBCT scan examinations.
Informed Consent Statement
Not applicable.
Data Availability Statement
All data generated or analyzed during this study are included in this article.
Conflicts of Interest
All the authors declare that there is no conflict of interest or financial relationship regarding any of the products involved in this study.
References
- Ramaglia, L.; Di Spirito, F.; Sirignano, M.; La Rocca, M.; Esposito, U.; Sbordone, L. A 5-Year Longitudinal Cohort Study on Crown to Implant Ratio Effect on Marginal Bone Level in Single Implants. Clin. Implant Dent. Relat. Res. 2019, 21, 916–922. [Google Scholar] [CrossRef] [PubMed]
- Sbordone, C.; Toti, P.; Brevi, B.; Martuscelli, R.; Sbordone, L.; Di Spirito, F. Computed Tomography-Aided Descriptive Analysis of Maxillary and Mandibular Atrophies. J. Stomatol. Oral. Maxillofac. Surg. 2019, 120, 99–105. [Google Scholar] [CrossRef] [PubMed]
- Dos Santos Canellas, J.V.; Medeiros, P.J.; da Silva Figueredo, C.M.; Fischer, R.G.; Ritto, F.G. Which Is the Best Choice after Tooth Extraction, Immediate Implant Placement or Delayed Placement with Alveolar Ridge Preservation? A Systematic Review and Meta-Analysis. J. Craniomaxillofac. Surg. 2019, 47, 1793–1802. [Google Scholar] [CrossRef]
- Esposito, M.; Grusovin, M.G.; Polyzos, I.P.; Felice, P.; Worthington, H.V. Timing of Implant Placement after Tooth Extraction: Immediate, Immediate-Delayed or Delayed Implants? A Cochrane Systematic Review. Eur. J. Oral. Implant. 2010, 3, 189–205. [Google Scholar]
- Santhanakrishnan, M.; Ramesh, N.; Kamaleeshwari, R.; Subramanian, V. Variations in Soft and Hard Tissues Following Immediate Implant Placement versus Delayed Implant Placement Following Socket Preservation in the Maxillary Esthetic Region: A Randomized Controlled Clinical Trial. Biomed. Res. Int. 2021, 2021, 5641185. [Google Scholar] [CrossRef]
- Chappuis, V.; Engel, O.; Reyes, M.; Shahim, K.; Nolte, L.-P.; Buser, D. Ridge Alterations Post-Extraction in the Esthetic Zone: A 3D Analysis with CBCT. J. Dent. Res. 2013, 92, 195S–201S. [Google Scholar] [CrossRef] [PubMed] [Green Version]
- Chappuis, V.; Engel, O.; Shahim, K.; Reyes, M.; Katsaros, C.; Buser, D. Soft Tissue Alterations in Esthetic Postextraction Sites: A 3-Dimensional Analysis. J. Dent. Res. 2015, 94, 187S–193S. [Google Scholar] [CrossRef] [Green Version]
- Spray, J.R.; Black, C.G.; Morris, H.F.; Ochi, S. The Influence of Bone Thickness on Facial Marginal Bone Response: Stage 1 Placement through Stage 2 Uncovering. Ann. Periodontol. 2000, 5, 119–128. [Google Scholar] [CrossRef]
- Brunski, J.B. Biomechanical Factors Affecting the Bone-Dental Implant Interface. Clin. Mater. 1992, 10, 153–201. [Google Scholar] [CrossRef]
- Isidor, F. Influence of Forces on Peri-Implant Bone. Clin. Oral. Implant. Res. 2006, 17 (Suppl. 2), 8–18. [Google Scholar] [CrossRef]
- Di Stefano, D.A.; Arosio, P.; Capparè, P.; Barbon, S.; Gherlone, E.F. Stability of Dental Implants and Thickness of Cortical Bone: Clinical Research and Future Perspectives. A Systematic Review. Materials 2021, 14, 7183. [Google Scholar] [CrossRef] [PubMed]
- Morton, D.; Chen, S.T.; Martin, W.C.; Levine, R.A.; Buser, D. Consensus Statements and Recommended Clinical Procedures Regarding Optimizing Esthetic Outcomes in Implant Dentistry. Int. J. Oral. Maxillofac. Implant. 2014, 29, 216–220. [Google Scholar] [CrossRef] [PubMed] [Green Version]
- Gallucci, G.O.; Benic, G.I.; Eckert, S.E.; Papaspyridakos, P.; Schimmel, M.; Schrott, A.; Weber, H.-P. Consensus Statements and Clinical Recommendations for Implant Loading Protocols. Int. J. Oral. Maxillofac. Implant. 2014, 29, 287–290. [Google Scholar] [CrossRef] [PubMed]
- Di Spirito, F.; Toti, P.; Brevi, B.; Martuscelli, R.; Sbordone, L.; Sbordone, C. Computed Tomography Evaluation of Jaw a Trophies before and after Surgical Bone Augmentation. Int. J. Clin. Dent. 2019, 12, 259–270. [Google Scholar]
- Ferrus, J.; Cecchinato, D.; Pjetursson, E.B.; Lang, N.P.; Sanz, M.; Lindhe, J. Factors Influencing Ridge Alterations Following Immediate Implant Placement into Extraction Sockets. Clin. Oral. Implant. Res. 2010, 21, 22–29. [Google Scholar] [CrossRef]
- Araújo, M.G.; Lindhe, J. Dimensional Ridge Alterations Following Tooth Extraction. An Experimental Study in the Dog. J. Clin. Periodontol. 2005, 32, 212–218. [Google Scholar] [CrossRef]
- Vercruyssen, M.; Fortin, T.; Widmann, G.; Jacobs, R.; Quirynen, M. Different Techniques of Static/Dynamic Guided Implant Surgery: Modalities and Indications. Periodontology 2000 2014, 66, 214–227. [Google Scholar] [CrossRef]
- Tatakis, D.N.; Chien, H.-H.; Parashis, A.O. Guided Implant Surgery Risks and Their Prevention. Periodontology 2000 2019, 81, 194–208. [Google Scholar] [CrossRef]
- Esposito, M.; Grusovin, M.G.; Polyzos, I.P.; Felice, P.; Worthington, H.V. Interventions for replacing missing teeth: Dental implants in fresh extraction sockets (immediate, immediate-delayed and delayed implants). Cochrane Database Syst. Rev. 2010, 9, CD005968. [Google Scholar] [CrossRef]
- Tetè, G.; Cisternino, L.; Giorgio, G.; Sacchi, L.; Montemezzi, P.; Sannino, G. Immediate versus delayed loading of post-extraction implants in the aesthetic zone: A prospective longitudinal study with 4-year follow-up. J. Biol. Regul. Homeost. Agents. 2020, 34 (Suppl. 3), 19–25. [Google Scholar]
- Esposito, M.; Zucchelli, G.; Cannizzaro, G.; Checchi, L.; Barausse, C.; Trullenque-Eriksson, A.; Felice, P. Immediate, immediate-delayed (6 weeks) and delayed (4 months) post-extractive single implants: 1-year post-loading data from a randomised controlled trial. Eur. J. Oral. Implantol. 2017, 10, 11–26. [Google Scholar] [PubMed]
- Marei, H.F.; Abdel-Hady, A.; Al-Khalifa, K.; Al-Mahalawy, H. Influence of Surgeon Experience on the Accuracy of Implant Placement via a Partially Computer-Guided Surgical Protocol. Int. J. Oral. Maxillofac. Implant. 2019, 34, 1177–1183. [Google Scholar] [CrossRef] [PubMed]
- Smitkarn, P.; Subbalekha, K.; Mattheos, N.; Pimkhaokham, A. The Accuracy of Single-Tooth Implants Placed Using Fully Digital-Guided Surgery and Freehand Implant Surgery. J. Clin. Periodontol. 2019, 46, 949–957. [Google Scholar] [CrossRef] [PubMed]
- Al Yafi, F.; Camenisch, B.; Al-Sabbagh, M. Is Digital Guided Implant Surgery Accurate and Reliable? Dent. Clin. N. Am. 2019, 63, 381–397. [Google Scholar] [CrossRef] [PubMed]
- Fortin, T.; Bosson, J.L.; Isidori, M.; Blanchet, E. Effect of Flapless Surgery on Pain Experienced in Implant Placement Using an Image-Guided System. Int. J. Oral. Maxillofac. Implant. 2006, 21, 298–304. [Google Scholar]
- Kernen, F.; Kramer, J.; Wanner, L.; Wismeijer, D.; Nelson, K.; Flügge, T. A review of virtual planning software for guided implant surgery—Data import and visualization, drill guide design and manufacturing. BMC Oral. Health 2020, 20, 251. [Google Scholar] [CrossRef]
- Lo Giudice, A.; Quinzi, V.; Ronsivalle, V.; Martina, S.; Bennici, O.; Isola, G. Description of a Digital Work-Flow for CBCT-Guided Construction of Micro-Implant Supported Maxillary Skeletal Expander. Materials 2020, 13, 1815. [Google Scholar] [CrossRef] [Green Version]
- Schmidt, A.; Wöstmann, B.; Schlenz, M.A. Accuracy of digital implant impressions in clinical studies: A systematic review. Clin. Oral. Implant. Res. 2022. [Google Scholar] [CrossRef]
- Rongo, R.; Bucci, R.; Adaimo, R.; Amato, M.; Martina, S.; Valletta, R.; D’antò, V. Two-dimensional versus three-dimensional Frӓnkel Manoeuvre: A reproducibility study. Eur. J. Orthod. 2020, 42, 157–162. [Google Scholar] [CrossRef]
- Türker, H.; Aksoy, B.; Özsoy, K. Fabrication of Customized dental guide by stereolithography method and evaluation of dimensional accuracy with artificial neural networks. J. Mech. Behav. Biomed. Mater. 2022, 126, 105071. [Google Scholar] [CrossRef]
- Cassetta, M.; Di Mambro, A.; Giansanti, M.; Stefanelli, L.V.; Barbato, E. How Does an Error in Positioning the Template Affect the Accuracy of Implants Inserted Using a Single Fixed Mucosa-Supported Stereolithographic Surgical Guide? Int. J. Oral. Maxillofac. Surg. 2014, 43, 85–92. [Google Scholar] [CrossRef] [PubMed]
- Di Giacomo, G.A.P.; Cury, P.R.; de Araujo, N.S.; Sendyk, W.R.; Sendyk, C.L. Clinical Application of Stereolithographic Surgical Guides for Implant Placement: Preliminary Results. J. Periodontol. 2005, 76, 503–507. [Google Scholar] [CrossRef] [PubMed]
Publisher’s Note: MDPI stays neutral with regard to jurisdictional claims in published maps and institutional affiliations. |
© 2022 by the authors. Licensee MDPI, Basel, Switzerland. This article is an open access article distributed under the terms and conditions of the Creative Commons Attribution (CC BY) license (https://creativecommons.org/licenses/by/4.0/).


