Method for Calculating Vertical Compression Bearing Capacity of the Static Drill Rooted Nodular Pile
Abstract
:1. Introduction
2. Bearing Mechanism of the SDRN Pile
2.1. Pile Side Bearing Mechanism
2.2. Pile Tip Bearing Mechanism
2.3. Existing Calculation Method for Bearing Capacity of SDRN Pile
3. Failure Modes of the SDRN Pile
3.1. Overall Failure Mode
3.2. Core Pile Penetration Failure Mode
4. Calculation Method for Vertical Bearing Capacity of SDRN Pile
4.1. Calculation Method for Overall Failure Mode
4.2. Calculation Method for Core Pile Penetration Failure Mode
4.3. Pile Tip Resistance
5. Engineering Example Verification
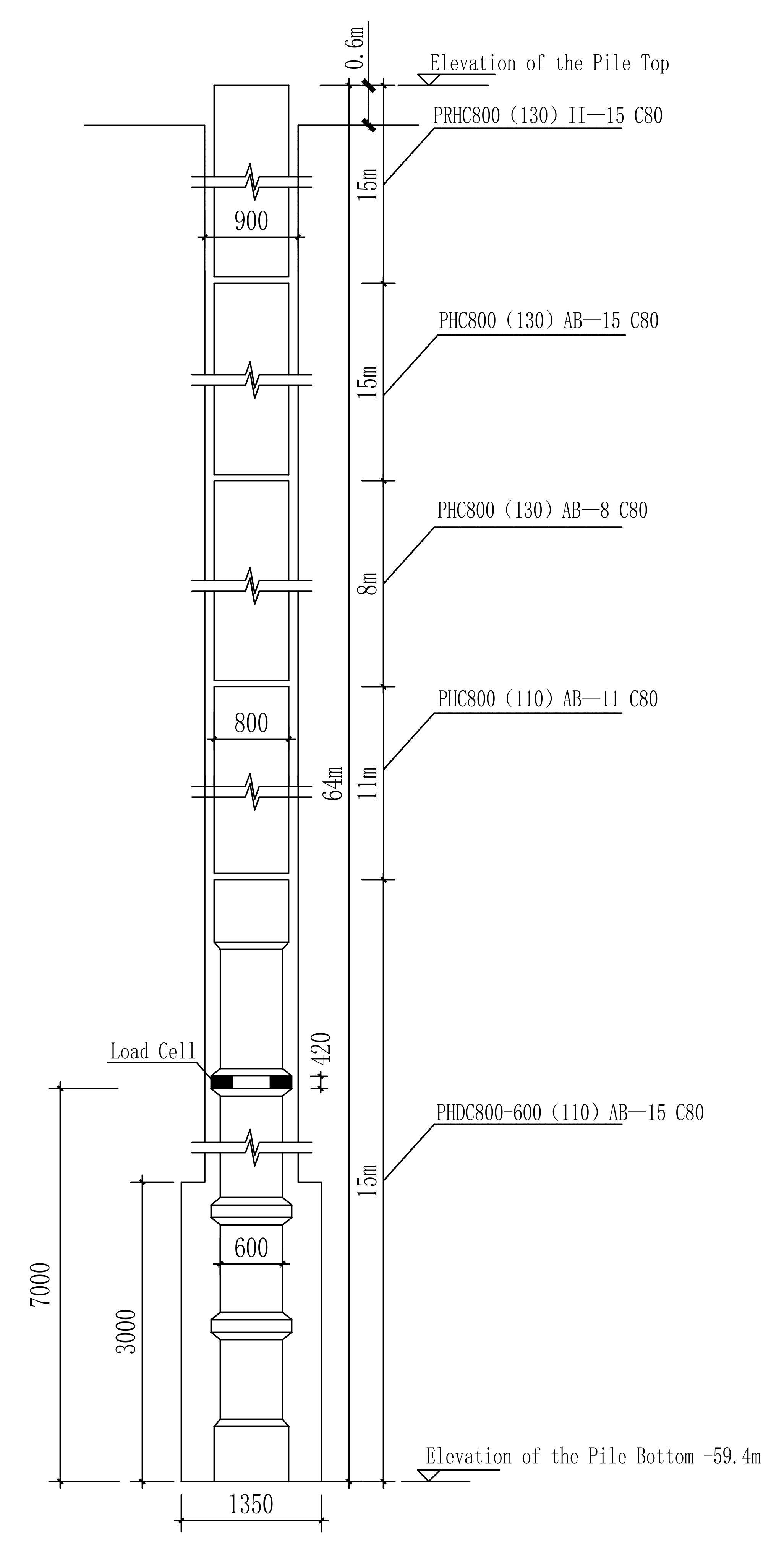
5.1. Test Pile Overview and Geological Conditions
5.2. Self-Balanced Load Test Results
5.3. Verification of Results
6. Finite Element Simulation by PLAXIS 2D
6.1. Two Dimensional Model
6.2. Simulation Results
7. Limitations and Future Works
- This paper derives the calculation method from that of similar common pile foundation mainly considering the construction technology. However, the shear strength on the interface between cemented soil and soil is also of vital importance for the bearing capacity, which is related to the mechanical properties of the cemented soil. The coefficient could also take this into consideration.
- One or two more field tests could be implemented to support this calculation method more forcefully by changing the thickness of cemented soil around the pile.
8. Conclusions
- When the core pile and cemented soil shell fail as a whole, the standard value of ultimate pile shaft resistance should be calculated by the perimeter of the cemented soil pile. The ultimate shear resistance provided by each soil layer around the pile is approximate 1.05∼1.10 times that of the bored pile. When the pile and cemented soil shell have a relative displacement, the standard value of the ultimate pile shaft resistance should be calculated by the perimeter of the composite pile. The ultimate shear resistance provided by each soil layer could take the displacement pile shaft resistance. The lower section should consider the squeezing effect of the nodular joints;
- When calculating the SDRN pile tip resistance, it is necessary to consider not only the expanded cemented soil approaching the pile tip, but also the geological conditions and the integrated management. So the precast pile tip resistance is referred to, the adjustment coefficient of SDRN pile tip resistance could be taken as ;
- In the numerical calculation, when the interface strength reduction coefficient is taken as 1.0, the calculation result are more close to the field test result. Therefore, compared with the general bored piles, the mechanism properties of interfaces between SDRN pile and cemented soil, cemented soil and soil are better. In addition, both the nodular joints and the expanded cemented soil can improve the bearing capacity of the pile foundation;
- Based on the pile parameters and soil parameters in the project, the ultimate compression bearing capacity of SDRN pile calculated by the theoretical method and the finite element method proposed in this paper are close to that in field, providing a practical reference.
Author Contributions
Funding
Institutional Review Board Statement
Informed Consent Statement
Data Availability Statement
Acknowledgments
Conflicts of Interest
References
- Xu, L. Research on the Bearing Capacity and One Dimension Wave Characteristic of Static Drill Rooted Nodular Piles. Ph.D. Thesis, Zhejiang University, Zhejiang, China, 2015. [Google Scholar]
- Qiong, Y. Research on the Vertical Compression Bearing Capacity of Static Drill Rooted Nodular Piles. Ph.D. Thesis, Zhejiang University, Zhejiang, China, 2015. [Google Scholar]
- Zhou, J. Tests and Numerical Simulation on the Bearing Capacity and Settlement of Static Drill Rooted Nodular Piles. Ph.D. Thesis, Zhejiang University, Zhejiang, China, 2015. [Google Scholar]
- Qian, Z. Experimental Study and Numerical Analysis of Bearing Capacity of Static Drill Rooted Nodular Piles. Ph.D. Thesis, Zhejiang University, Zhejiang, China, 2015. [Google Scholar]
- Yang, M. Research on the Compression and Uplift Bearing Capacity of Drill Rooted Grouting Nodular Piles. Ph.D. Thesis, Zhejiang University, Zhejiang, China, 2013. [Google Scholar]
- Zhou, J.; Wang, K.; Gong, X.; Zhang, R. Bearing capacity and load transfer mechanism of static drill rooted nodular piles. Rock Soil Mech. 2014, 35, 1367–1376. [Google Scholar]
- Zhou, J.; Gong, X.; Wang, K.; Zhang, R.; Research Center of Coastal and Urban Geotechnical Engineering, Zhejiang University; ZDOON Building Material Group. Performance of static drill rooted nodular piles under compression. J. Zhejiang Univ. Eng. Sci. Ed. 2014, 48, 835–842. [Google Scholar]
- Gong, X.; Xie, C.; Shao, J.; Shu, J.; Research Center of Coastal and Urban Geotechnical Eng., Zhejiang Univ.; Key Lab. of Soft Soils and Geoenvironmental Eng., Ministry of Education, Zhejiang Univ.; ZCONE High-tech Pile Industry Holdings Company Limited. Analysis of Bearing Characteristics of the Static Drill Rooted Nodular Piles under Tension and Compression. J. Sichuan Univ. Eng. Sci. Ed. 2018, 50, 102–109. [Google Scholar]
- Zhang, R.; Wu, L.; Kong, Q. Analysis of Bearing Characteristics of the Static Drill Rooted Nodular Piles under Tension and Compression. J. Sichuan Univ. Eng. Sci. Ed. 2013, 35, 1200–1203. [Google Scholar]
- Gong, P. Load Transfer Mechanism of Concrete-Cored DCM Pile. Ph.D. Thesis, Chinese Academy of Sciences, Guangzhou, China, 2004. [Google Scholar]
- Zhou, J.; Wang, K.; Gong, X.; Zhang, R. Bearing capacity and load transfer mechanism of a static drill rooted nodular pile in soft soil areas. J. Zhejiang Univ. Eng. Sci. Ed. 2013, 14, 705–719. [Google Scholar] [CrossRef] [Green Version]
- Zhang, R.; Chen, H.; Wu, L.; Li, W.; Wang, S. Technical Specification for Static Drill Rooted Nodular Piles; Ningbo Zhedong Foundation Engineering Corporation: Ningbo, China, 2011; p. 10. [Google Scholar]
- Deng, Y.; Peng, X.; Hu, M.; Wang, A.; Xu, B.; Qian, Y.; Lu, H.; Wang, J.; Hua, M.; Wei, J.; et al. Technical Specification for Strength Composite Piles; Construction Office of Jiangsu Province: Nanjing, China, 2013; pp. 9–11. [Google Scholar]
- Tang, Y.; Zhang, X.; Cui, J.; Han, S.; Yang, G.; Xue, H.; Miao, Q.; Yang, S.; Li, X.; Zhang, G. Technical Specification of Cast-in-Place Piles with Branches and Plates; China Construction Industry Press: Beijing, China, 2006; pp. 11–13. [Google Scholar]
- Lu, C.; Meng, L.; Wang, Z.; Zhou, Q. Test of model piles with branches and plates in unsaturated silty clay. Chin. J. Geotech. Eng. 2004, 26, 522–525. [Google Scholar]
- Zhou, J.; Gong, X.; Wang, K.; Zhang, R.; Yan, T.; Research Center of Coastal and Urban Geotechnical Engineering, Zhejiang University; ZDOON Building Material Group. Application of static drill rooted precast nodular pile in soft soil foundation and calculation for bearing capacity. Chin. J. Rock Mech. Eng. 2014, 33, 4359–4366. [Google Scholar]
- Huang, Q.; Jin, L.; Gao, W.; Jin, B.; Sha, Z.; Hou, W.; Qiu, M.; Gu, X.; Chun, L.; Gu, G.; et al. Technical Code for Building Pile Foundation; China Construction Industry Press: Beijing, China, 2008; pp. 19–21. [Google Scholar]
- Chen, F.; Xu, T.; Zhu, G.; Zhong, D.; Liu, M.; Liu, J.; Ye, W.; Teng, Y.; Li, D.; Liu, Y.; et al. Technical Code for Testing of Building Foundation Piles; China Construction Industry Press: Beijing, China, 2014; pp. 15–16. [Google Scholar]
- Gong, W.; Xue, G.; Dai, G.; Tong, X.; Mu, B. Static Loading Test of Foundation Pile—Self-Balanced Method; China Communications Press: Beijing, China, 2009; p. 4. [Google Scholar]
- Gong, W.; Mao, L.; Gao, Q.; Xue, G.; Dai, G.; Tong, X.; Mu, B. Technical Specification for Static Load Testing of Self-Balanced Method of Foundation Pile; Jiangsu Science and Technology Press: Nanjing, China, 2020; pp. 13–15. [Google Scholar]
- Hu, Y.; Randolph, M.F.; Watson, P.G. Bearing response of skirted foundation on nonhomogeneous soil. J. Geotech. Geoenvironmental Eng. 1999, 125, 924–935. [Google Scholar] [CrossRef]
- Gholampour, A.; Johari, A. Reliability-based analysis of braced excavation in unsaturated soils considering conditional spatial variability. Comput. Geotech. 2019, 115, 103163. [Google Scholar] [CrossRef]
- Johari, A.; Talebi, A. Stochastic analysis of piled-raft foundations using the random finite-element method. Int. J. Geomech. 2021, 21, 04021020. [Google Scholar] [CrossRef]
- Yang, J.; Asce, M. Influence Zone for End Bearing of Piles in Sand. J. Geotech. Geoenviron. Eng. 2006, 132, 1229–1237. [Google Scholar] [CrossRef]
- Kim, Y.; Jeong, S. Analysis of soil resistance on laterally loaded piles based on 3D soil–pile interaction. Comput. Geotech. 2011, 38, 248–257. [Google Scholar] [CrossRef]
- Xue, F.; Ma, J.; Yan, L. Three-dimensional FEM analysis of bridge pile group settlement in soft soils. Adv. Pile Found. Geosynth. Geoinvestig. Found. Fail. Anal. Repairs 2011, 220, 135–143. [Google Scholar] [CrossRef]
- Khelifi, Z.; Berga, A.; Terfaya, N. Modeling the Behavior of Axially and Laterally Loaded Pile with a Contact Model. Electron. J. Geotech. Eng. 2011, 16, 1239–1258. [Google Scholar]
- Huang, T.; Yang, C. Side friction of drilled piles in cobble layers. J. Mar. Sci. Technol. 2016, 24, 143–151. [Google Scholar]
- Xie, C. Numerical study on behavior of pre-bored grouting plated nodular pile under compressive and tension. Ph.D. Thesis, Zhejiang University, Zhejiang, China, 2018. [Google Scholar]








| Number | Diameter | Diameter of the Borehole and Borehole Expanded | Elevation of the Pile Top | Length | Bearing Stratum at the Pile Tip | Load Cell Reading | Distance from Load Cell to Pile Tip |
|---|---|---|---|---|---|---|---|
| S2, S4 | 800 mm | 900/1350 mm | +4.60 m | 64.0 m | stratum round gravel | 2 × 7800 kN | 7 m |
| Number of Soil Layer | Soil Type | Geological Boreholes Q2XZ76 | Liquidity Index | Cohesion/kPa | Friction Angle/Deg | Modified Number of SPT 1 | Precast Pile [17] | Slurry Drilling Pile [17] | |||
|---|---|---|---|---|---|---|---|---|---|---|---|
| Bottom Elevation/m | Thickness of the Layer/m | 2 /kPa | 3 /kPa | /kPa | /kPa | ||||||
| CL 4 | −1.04 | 5.00 | − | − | − | − | − | − | − | − | |
| CL | −2.19 | 1.15 | 0.45 | 25.8 | 13.9 | 10.5 | 50 | − | 48 | − | |
| CL | −9.04 | 6.85 | 1.30 | 14.8 | 9.7 | − | 20 | − | 18 | − | |
| SM 4 | −13.04 | 4.00 | 0.95 | − | − | 7.7 | 36 | − | 32 | − | |
| CL | −15.04 | 2.00 | 1.30 | 14.1 | 10.6 | 4.0 | 22 | − | 20 | − | |
| CL-ML 4 | −19.04 | 4.00 | 1.25 | − | − | 3.5 | 22 | − | 20 | − | |
| CL | −27.04 | 8.00 | 0.91 | 18.5 | 12.1 | 6.7 | 46.0 | − | 42 | − | |
| CL | −30.34 | 3.30 | 0.50 | 40.6 | 19.6 | 41.0 | 74 | 2200 | 70 | − | |
| GP 4 | −32.44 | 2.10 | − | − | − | 58.0 | 122 | 7500 | 115 | − | |
| CL | −36.04 | 3.60 | 0.54 | 35.8 | 17.9 | 20.7 | 68 | − | 63 | − | |
| CL | −39.24 | 3.20 | 0.84 | 25.4 | 16.4 | 13.0 | 52 | − | 48 | − | |
| GP | −42.54 | 3.30 | − | 3.0 | 40.0 | 45.4 | 150 | − | 130 | − | |
| SF 4 | −46.84 | 4.30 | − | 3.0 | 41.0 | 55.9 | 115 | − | 108 | − | |
| CL | −48.94 | 2.10 | 0.42 | 31.5 | 20.9 | 31.3 | 78 | 3600 | 73 | − | |
| GW 4 | −52.94 | 4.00 | − | 3.5 | 41.0 | 54.4 | 150 | 9000 | 130 | − | |
| CL | −57.19 | 4.25 | 0.42 | 31.5 | 20.9 | 31.3 | 78 | 3600 | 73 | 1200 | |
| GW | −68.80 | 11.61 | − | 3.0 | 43.0 | 65.5 | 150 | 7500 | 130 | 1500 | |
| Number | W | 1 | |||
|---|---|---|---|---|---|
| S2, S4 | 7800 kN | 7800 kN | 622 kN | 0.8 | 16,773 kN |
| Interface | Core Pile and Cemented Soil | Cemented Soil and Soil | Pile and Soil |
|---|---|---|---|
| Interface modes | From cemented soil | From soil | From soil |
| 1.0 | 1.0 | 1.0 | |
| 0.8 | 0.8 | 0.8 |
| Methods | Field Test | Proposed Calculation Method | Finite Element Simulation |
|---|---|---|---|
| Results | 16,773 kN | 16,492 kN | 16,100 kN |
Publisher’s Note: MDPI stays neutral with regard to jurisdictional claims in published maps and institutional affiliations. |
© 2022 by the authors. Licensee MDPI, Basel, Switzerland. This article is an open access article distributed under the terms and conditions of the Creative Commons Attribution (CC BY) license (https://creativecommons.org/licenses/by/4.0/).
Share and Cite
Guo, J.; Dai, G.; Wang, Y. Method for Calculating Vertical Compression Bearing Capacity of the Static Drill Rooted Nodular Pile. Appl. Sci. 2022, 12, 5101. https://doi.org/10.3390/app12105101
Guo J, Dai G, Wang Y. Method for Calculating Vertical Compression Bearing Capacity of the Static Drill Rooted Nodular Pile. Applied Sciences. 2022; 12(10):5101. https://doi.org/10.3390/app12105101
Chicago/Turabian StyleGuo, Jing, Guoliang Dai, and Yue Wang. 2022. "Method for Calculating Vertical Compression Bearing Capacity of the Static Drill Rooted Nodular Pile" Applied Sciences 12, no. 10: 5101. https://doi.org/10.3390/app12105101
APA StyleGuo, J., Dai, G., & Wang, Y. (2022). Method for Calculating Vertical Compression Bearing Capacity of the Static Drill Rooted Nodular Pile. Applied Sciences, 12(10), 5101. https://doi.org/10.3390/app12105101
