An Improved PID Controller for the Compliant Constant-Force Actuator Based on BP Neural Network and Smith Predictor
Abstract
1. Introduction
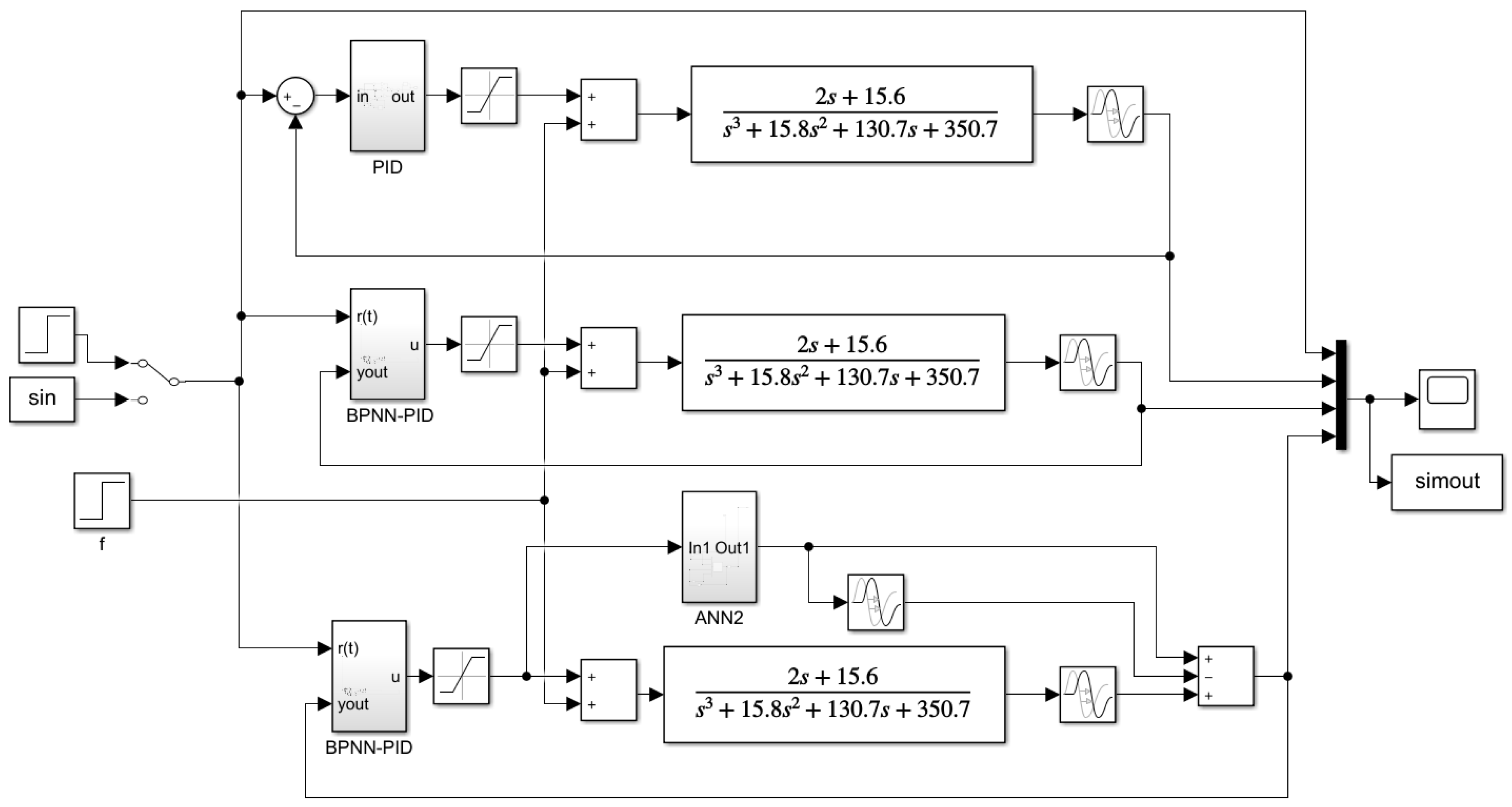
2. System Description
3. Controller Design
3.1. BPNN-PID
- Determine the structure of the BP neural network. The parameters of the neural network are listed in Table 1;
- Give the initial value of each layer’s weights;
- The input data R(t), F(t) is sampled, and the error E(t) is calculated;
- Calculate the input and output values of each layer of neurons, and the output values of the output layer are PID parameters ;
- Calculate the control voltage Uc(t) based on the incremental PID control algorithm;
- Perform online learning of neural networks, and adjust the weights of the hidden layers and the output layer;
- Return to Step 3 for the next round of training.
3.2. Smith Predictor
- Determine the structure of the neural network, including the number of hidden layers, neuron activation functions and training samples;
- Take a small initial value for the weight;
- Import samples for training;
- Calculate the input and output of each layer of neurons;
- For each iteration, calculate the weight adjustment of the hidden layer and the output layer;
- Check whether the network training error is less than the error tolerance. If it meets the requirements, go to Step 7, and if not, go to Step 8;
- Solidify and save each weight. The training is successful, and you can call it through Labview or MATLAB Simulink;
- Check whether the current iteration number exceeds the upper limit. If not, return to Step 3 for further training; otherwise, the training failed. Return to Step 1 to restart training.
4. Results and Discussion
4.1. Simulation Results
4.1.1. Step Response
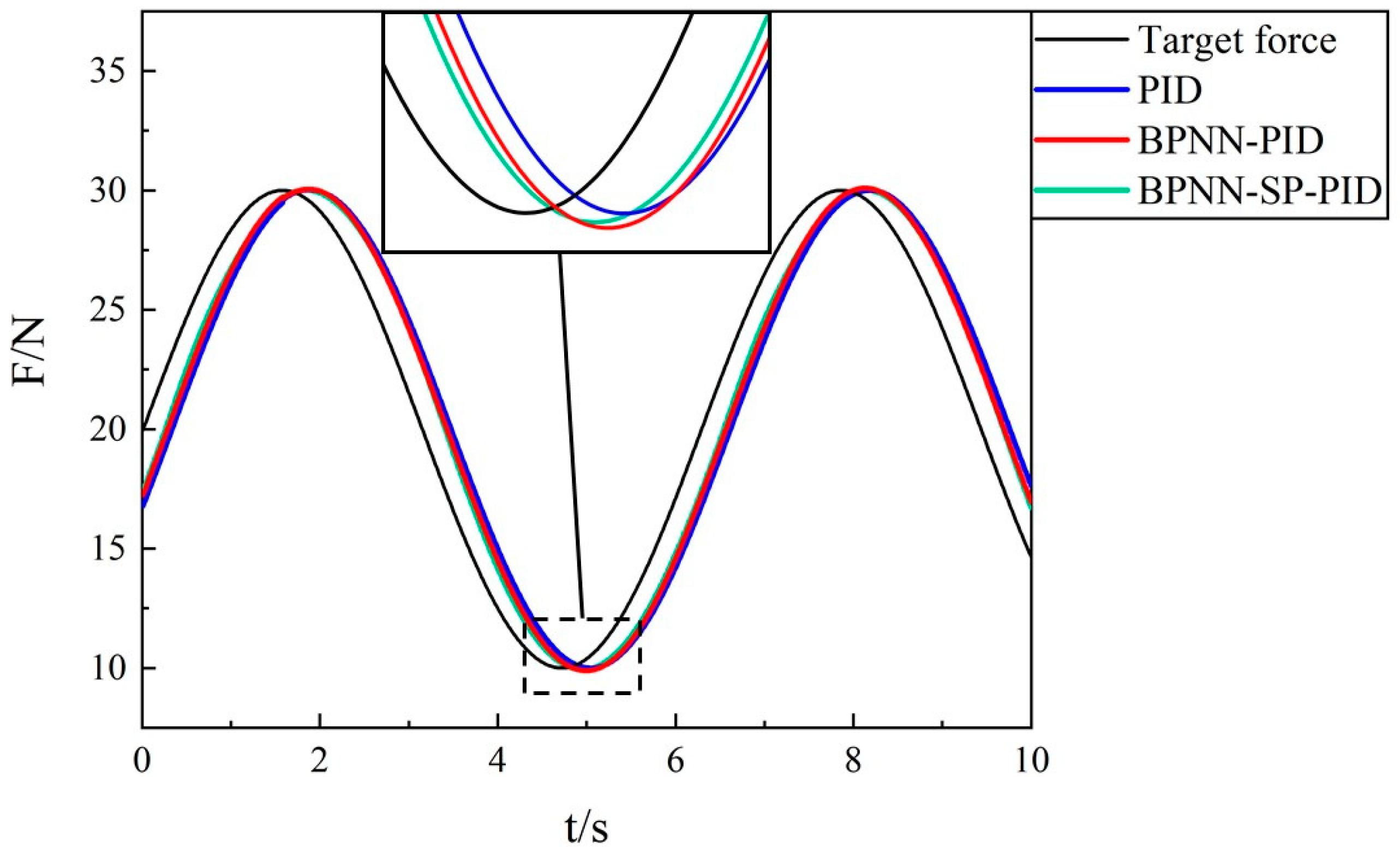
4.1.2. Sinusoid Track
4.2. Experimental Validation
4.2.1. Step Response
4.2.2. Sinusoid Track
4.3. Discussion
5. Conclusions
Author Contributions
Funding
Institutional Review Board Statement
Informed Consent Statement
Data Availability Statement
Conflicts of Interest
References
- Berg, A.; Buffie, E.F.; Zanna, L.F. Should We Fear the Robot Revolution? (The Correct Answer is Yes). J. Monet. Econ. 2018, 97, 117–148. [Google Scholar] [CrossRef]
- Zhang, X.; Chen, H.; Yang, N. A structure and control design of constant force polishing end actuator based on polishing robot. In Proceedings of the 2017 IEEE International Conference on Information and Automation (ICIA), Macau, China, 18–20 July 2017; pp. 764–768. [Google Scholar]
- Liu, M.H.; Tolle, H. Force-Controlled Robotic Deburring. IFAC Proc. Vol. 1993, 26, 855–858. [Google Scholar] [CrossRef]
- Jin, M.; Ji, S.; Pan, Y.; Ao, H.; Han, S. Effect of downward depth and inflation pressure on contact force of gasbag polishing. Precis. Eng. J. Int. Soc. Precis. Eng. Nanotechnol. 2017, 47, 81–89. [Google Scholar] [CrossRef]
- Mohammad, A.E.K.; Hong, J.; Wang, D. Design of a force-controlled end-effector with low-inertia effect for robotic polishing using macro-mini robot approach. Robot. Comput. Integr. Manuf. 2018, 49, 54–65. [Google Scholar] [CrossRef]
- Rouzbeh, B.; Bone, G.M. Optimal Force Allocation and Position Control of Hybrid Pneumatic–Electric Linear Actuators. Actuators 2020, 9, 86. [Google Scholar] [CrossRef]
- Naderer, R.; Ferrara, P.; Rohrhofer, A. Active Handling Apparatus and Method for Contact Tasks. U.S. Patent 9,375,840, 28 June 2016. [Google Scholar]
- Ning, F.; Shi, Y.; Cai, M.; Wang, Y.; Xu, W. Research Progress of Related Technologies of Electric-Pneumatic Pressure Proportional Valves. Appl. Sci. 2017, 7, 1074. [Google Scholar] [CrossRef]
- Ben-Dov, D.; Salcudean, S.E. A force-controlled pneumatic actuator. Int. Conf. Robot. Autom. 1995, 11, 906–911. [Google Scholar] [CrossRef]
- Liu, S.; Wang, F.; Zhang, G.; Liu, Z.; Zhang, W.; Tian, Y.; Zhang, D. A Novel Dual-Drive Soft Pneumatic Actuator with the Improved Output Force. In Proceedings of the International Conference on Intelligent Robotics and Applications, Shenyang, China, 8–11 August 2019; pp. 16–25. [Google Scholar]
- Robinson, R.M.; Kothera, C.S.; Sanner, R.M.; Wereley, N.M. Nonlinear Control of Robotic Manipulators Driven by Pneumatic Artificial Muscles. IEEE-ASME Trans. Mechatron. 2016, 21, 55–68. [Google Scholar] [CrossRef]
- Liu, Y.; Zhang, Y.; Xu, Q. Design and Control of a Novel Compliant Constant-Force Gripper Based on Buckled Fixed-Guided Beams. IEEE-ASME Trans. Mechatron. 2017, 22, 476–486. [Google Scholar] [CrossRef]
- Joo, S.; Waki, H.; Miyazaki, F. On the mechanics of elastomer shear pads for remote center compliance (RCC). In Proceedings of the IEEE International Conference on Robotics and Automation, Minneapolis, MN, USA, 22–28 April 1996; Volume 9, pp. 291–298. [Google Scholar]
- Fan, J.; Zhong, J.; Zhao, J.; Zhu, Y. BP neural network tuned PID controller for position tracking of a pneumatic artificial muscle. Technol. Health Care 2015, 23, S231–S238. [Google Scholar] [CrossRef]
- Guoku, L.; Quanlin, D.; Meilin, S. Design of Control System of Pneumatic Regulating Valves Based on STM32. In Proceedings of the 2018 IEEE 4th International Conference on Control Science and Systems Engineering (ICCSSE), Wuhan, China, 21–23 August 2018. [Google Scholar]
- Hägglund, T. A friction compensator for pneumatic control valves. J. Process Control 2002, 12, 897–904. [Google Scholar] [CrossRef]
- Kang, J.; Meng, W.; Abraham, A.; Liu, H. An adaptive PID neural network for complex nonlinear system control. Neurocomputing 2014, 135, 79–85. [Google Scholar] [CrossRef]
- Zhao, D.; Sun, C.; Wang, Q.; Yang, W. Neural Network Based PID Control for Quadrotor Aircraft. In IScIDE 2015, Proceedings of the 5th International Conference on Intelligence Science and Big Data Engineering, Suzhou, China, 14–16 June 2015; Big Data and Machine Learning Techniques; Springer: Berlin/Heidelberg, Germany, 2015; Volume 9243, pp. 287–297. [Google Scholar]
- Cheng, F.; Fan, K.-C.; Miao, J.; Li, B.-K.; Wang, H.-Y. A BPNN-PID based long-stroke nanopositioning control scheme driven by ultrasonic motor. Precis. Eng. J. Int. Soc. Precis. Eng. Nanotechnol. 2012, 36, 485–493. [Google Scholar] [CrossRef]
- Milovanović, M.B.; Antić, D.S.; Milojković, M.T.; Nikolić, S.S.; Perić, S.L.; Spasić, M.D. Adaptive PID control based on orthogonal endocrine neural networks. Neural Netw. 2016, 84, 80–90. [Google Scholar] [CrossRef] [PubMed]
- Fan, C.; Hong, G.S.; Zhao, J.; Zhang, L.; Zhao, J.; Sun, L. The integral sliding mode control of a pneumatic force servo for the polishing process. Precis. Eng. J. Int. Soc. Precis. Eng. Nanotechnol. 2019, 55, 154–170. [Google Scholar] [CrossRef]
- Edjekouane, E.; Riachy, S.; Ghanes, M.; Barbot, J.-P. Homogeneous Control of Pneumatic Cylinders Based on Time Delay Model and Artstein Transformation. Asian J. Control 2017, 19, 792–798. [Google Scholar] [CrossRef]
- Guo, F.; Yu, W.; Huang, F. Robustness with respect to small delays for exponential stability of non-autonomous systems. J. Math. Anal. Appl. 2003, 288, 671–679. [Google Scholar] [CrossRef][Green Version]
- Feng, D.-M.; Pan, F.; Han, R.-C. Improved self-adaptive Smith predictive control scheme for time-delay system. In Proceedings of the International Conference on Machine Learning and Cybernetics, Beijing, China, 4–5 November 2002; Volume 1, pp. 463–466. [Google Scholar]
- Dehghani, A.; Khodadadi, H. Designing a neuro-fuzzy PID controller based on smith predictor for heating system. In Proceedings of the 2017 17th International Conference on Control, Automation and Systems (ICCAS), Jeju, Korea, 18–21 October 2017; pp. 15–20. [Google Scholar]
- Özbek, N.S.; Eker, İ. Design of an optimal fractional fuzzy gain-scheduled Smith Predictor for a time-delay process with experimental application. ISA Trans. 2020, 97, 14–35. [Google Scholar] [CrossRef] [PubMed]
- Fliess, M.; Marquez, R.; Mounier, H. An extension of predictive control, PID regulators and Smith predictors to some linear delay systems. Int. J. Control 2002, 75, 728–743. [Google Scholar] [CrossRef]
- Parr, A. Hydraulics and Pneumatics. Plast. Syst. Eng. 1999, 4, 85–124. [Google Scholar]
- Abo-Elmagd, M.; Sadek, A.M. Development of a model using the MATLAB System identification toolbox to estimate 222Rn equilibrium factor from CR-39 based passive measurements. J. Environ. Radioact. 2014, 138, 33–37. [Google Scholar] [CrossRef] [PubMed]
- Hecht-Nielsen, R. Theory of the backpropagation neural network. In Proceedings of the International 1989 Joint Conference on Neural Networks, Washington, DC, USA, 1 February 1989; pp. 593–605. [Google Scholar]
- Somwanshi, D.; Bundele, M.; Kumar, G.; Parashar, G. Comparison of Fuzzy-PID and PID Controller for Speed Control of DC Motor using LabVIEW. Procedia Comput. Sci. 2019, 152, 252–260. [Google Scholar] [CrossRef]
- National Instruments. LabVIEW User Manual [Z]; National Instruments: Austin, TX, USA, 1998. [Google Scholar]
- Dorf, R.C.; Sinha, N.K. Modern control systems. IEEE Trans. Syst. Man Cybern. 1981, 11, 580. [Google Scholar] [CrossRef]

















| Type | Value |
|---|---|
| Learning type | Online |
| Learning rate () | 0.3 |
| Inertia index () | 0.15 |
| Number of hidden layer neurons | 8 |
| Hidden layer activation function | Tanh |
| Output layer activation function | Sigmoid |
| Initialization weight method | 0.03rands(n, 1) 1 |
| Type | Value |
|---|---|
| learning type | Offline |
| Learning rate () | 0.3 |
| Inertia index () | 0.15 |
| Number of hidden layer neurons | 15 |
| Hidden layer activation function | tanh |
| Output layer activation function | tanh |
| Initialization weight method | 0.03rands (n, 1) |
| Time orders m,n | 4 |
| Performance Indicators of Three Controllers | |||
|---|---|---|---|
| Type | PID | BPNN-PID | BPNN-SP-PID |
| Simulation | |||
| Step response | |||
| Steady-state error (N) | ~0 | ~0 | ~0 |
| Settling time1 (s) | 0.76 | 0.76 | 0.59 |
| Maximum overshoot (%) | 6.10 | 0.45 | 0.15 |
| Sinusoid track | |||
| Maximum error (N) | 3.22 | 2.65 | 2.63 |
| Average error (N) | 2.09 | 1.68 | 1.59 |
| Experiment | |||
| Step response | |||
| Steady-state error (N) | 0.18 | 0.12 | 0.12 |
| Settling time1 (s) | 0.48 | 0.46 | 0.16 |
| Maximum overshoot (%) | 9.70 | 4.90 | 1.56 |
| Sinusoid track | |||
| Maximum error (N) | 2.70 | 2.06 | 1.88 |
| Average error (N) | 0.98 | 0.74 | 0.68 |
Publisher’s Note: MDPI stays neutral with regard to jurisdictional claims in published maps and institutional affiliations. |
© 2021 by the authors. Licensee MDPI, Basel, Switzerland. This article is an open access article distributed under the terms and conditions of the Creative Commons Attribution (CC BY) license (http://creativecommons.org/licenses/by/4.0/).
Share and Cite
Pei, G.; Yu, M.; Xu, Y.; Ma, C.; Lai, H.; Chen, F.; Lin, H. An Improved PID Controller for the Compliant Constant-Force Actuator Based on BP Neural Network and Smith Predictor. Appl. Sci. 2021, 11, 2685. https://doi.org/10.3390/app11062685
Pei G, Yu M, Xu Y, Ma C, Lai H, Chen F, Lin H. An Improved PID Controller for the Compliant Constant-Force Actuator Based on BP Neural Network and Smith Predictor. Applied Sciences. 2021; 11(6):2685. https://doi.org/10.3390/app11062685
Chicago/Turabian StylePei, Guojin, Ming Yu, Yaohui Xu, Cui Ma, Houhu Lai, Fokui Chen, and Hui Lin. 2021. "An Improved PID Controller for the Compliant Constant-Force Actuator Based on BP Neural Network and Smith Predictor" Applied Sciences 11, no. 6: 2685. https://doi.org/10.3390/app11062685
APA StylePei, G., Yu, M., Xu, Y., Ma, C., Lai, H., Chen, F., & Lin, H. (2021). An Improved PID Controller for the Compliant Constant-Force Actuator Based on BP Neural Network and Smith Predictor. Applied Sciences, 11(6), 2685. https://doi.org/10.3390/app11062685

