Blockchain and Cloud to Overcome the Problems of Buyer and Seller Watermarking Protocols
Abstract
1. Introduction and Motivations
2. Related Work
3. Goals of the Protocol and How to Achieve Them
4. Watermarking Protocol
4.1. Basics of the Protocol
4.2. Entities and Subprotocols
4.3. Protection Protocol
4.4. Identification and Arbitration Protocol
5. Security Analysis
- and cannot be corrupted since they are TTPs.
- and can be corrupted only “statically”, i.e., the corrupt entities are decided before the execution of the protocol and cannot be modified throughout the execution [42].
- and are characterized by an “honest-but-curious” behaviour [42]. They have to follow the rules of the protocol, even though they can try their best to get information from the executed actions. As a consequence, has to correctly manage the blockchain, whereas has to correctly apply the received watermarks. In fact, these assumptions are reasonable, since has only to run smart contracts whose code is accepted in advance and cannot be modified during the life of the blockchain [19]. Similarly, acts like a delegate that supplies security web services on behalf of . Therefore, if cannot ensure high security standards, its reputation can be compromised as well as its business possibilities, which ultimately depend on the capability to actually protect the contents distributed by .
- Uncorrupt buyers and content providers do not release pirated copies.
- If and are uncorrupt, receives a unique and personalised protected content . Furthermore, pirated copies of found on the web can be traced back to the original buyer and purchase transaction.
- If is corrupt, receives a content that prevents the identification of traitors. In fact, such a corruption is useless and deleterious just for .
- If is corrupt, aborts the purchase transaction and does not release any content.
5.1. Basic Requirements
5.2. Analysis
5.2.1. Is Corrupt
- It is impossible to reuse the tokens generated in a successfully completed purchase transaction since, in this hypothesis, they are already published in a block of the blockchain.
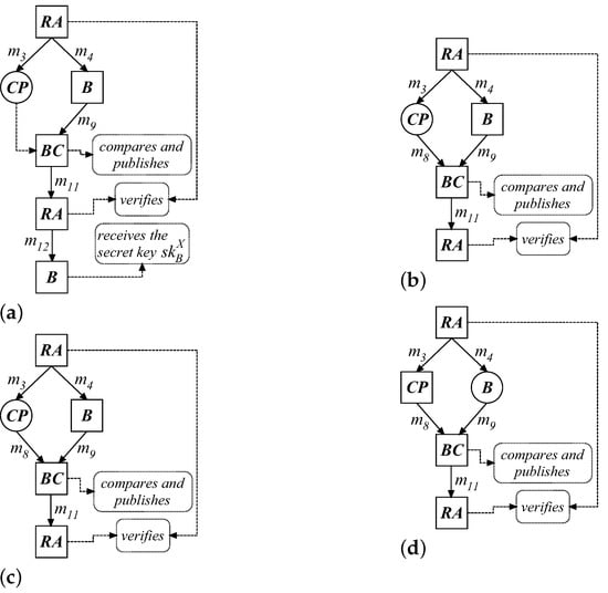
- cannot force the use of specific or arbitrary tokens during a purchase transaction, since only the tokens initially generated by and sent to in the message can be used during the ongoing transaction. These tokens are then sent by to in the message , and forwarded to in the message , along a path over which has no control (see Figure 1a).
- A purchase transaction can complete only if all the tokens published in the corresponding block of the blockchain are consistent. This is another reason why cannot force the use of specific or arbitrary tokens, since it cannot generate and corresponding to arbitrary tokens.
5.2.2. Is Corrupt
6. Prototype Platform
7. Implementation and Performance
7.1. Performance
7.2. Discussion
8. Conclusions
Funding
Conflicts of Interest
References
- Cox, I.; Miller, M.; Bloom, J.; Fridrich, J.; Kalker, T. Digital Watermarking and Steganography; Morgan Kaufmann: Burlington, MA, USA, 2007. [Google Scholar]
- Barni, M.; Bartolini, F. Data Hiding for Fighting Piracy. IEEE Signal Process. Mag. 2004, 21, 28–39. [Google Scholar] [CrossRef]
- Liu, K.J.R.; Trappe, W.; Wang, Z.J.; Wu, M.; Zhao, H. Multimedia Fingerprinting Forensics for Traitor Tracing; Hindawi Publishing Corporation: New York, NY, USA, 2005. [Google Scholar]
- Gopalakrishnan, K.; Memon, N.; Vora, P.L. Protocols for watermark verification. IEEE Multimed. 2001, 8, 66–70. [Google Scholar] [CrossRef]
- Frattolillo, F. A Buyer–Friendly and Mediated Watermarking Protocol for Web Context. ACM Trans. Web 2016, 10, 9. [Google Scholar] [CrossRef]
- Frattolillo, F.; Landolfi, F. Designing a DRM System. In Proceedings of the The Fourth International Conference on Information Assurance and Security, Naples, Italy, 8–10 September 2008; IEEE Computer Society: Washington, DC, USA, 2008; pp. 221–226. [Google Scholar]
- Frattolillo, F.; Landolfi, F.; Marulli, F. A Novel Approach to DRM Systems. In Proceedings of the 12th IEEE International Conference on Computational Science and Engineering, Vancouver, BC, Canada, 29–31 August 2009; IEEE Computer Society: Washington, DC, USA, 2009; pp. 492–497. [Google Scholar]
- Frattolillo, F. A multiparty watermarking protocol for cloud environments. J. Inf. Secur. Appl. 2019, 47, 246–257. [Google Scholar] [CrossRef]
- Memon, N.; Wong, P.W. A buyer-seller watermarking protocol. IEEE Trans. Image Process. 2001, 10, 643–649. [Google Scholar] [CrossRef]
- Lei, C.L.; Yu, P.L.; Tsai, P.L.; Chan, M.H. An Efficient and Anonymous Buyer-Seller Watermarking Protocol. IEEE Trans. Image Process. 2004, 13, 1618–1626. [Google Scholar] [CrossRef]
- Frattolillo, F. Watermarking protocols: An excursus to motivate a new approach. Int. J. Inf. Secur. 2018, 17, 587–601. [Google Scholar] [CrossRef]
- Rial, A.; Deng, M.; Bianchi, T.; Piva, A.; Preneel, B. A Provably Secure Anonymous Buyer—Seller Watermarking Protocol. IEEE Trans. Inf. Forensics Secur. 2010, 5, 920–931. [Google Scholar] [CrossRef]
- Rial, A.; Balasch, J.; Preneel, B. A Privacy-Preserving Buyer–Seller Watermarking Protocol Based on Priced Oblivious Transfer. IEEE Trans. Inf. Forensics Secur. 2011, 6, 202–212. [Google Scholar] [CrossRef]
- Xu, Z.; Li, L.; Gao, H. Bandwidth Efficient Buyer-seller Watermarking Protocol. Int. J. Inf. Comput. Secur. 2012, 5, 1–10. [Google Scholar] [CrossRef]
- Bianchi, T.; Piva, A. TTP-free asymmetric fingerprinting based on client side embedding. IEEE Trans. Inf. Forensics Secur. 2014, 9, 1557–1568. [Google Scholar] [CrossRef][Green Version]
- Bianchi, T.; Piva, A.; Shullani, D. Anticollusion solutions for asymmetric fingerprinting protocols based on client side embedding. EURASIP J. Inf. Secur. 2015, 2015, 6. [Google Scholar] [CrossRef][Green Version]
- Frattolillo, F. A Watermarking Protocol Based on Blockchain. Appl. Sci. 2020, 10, 7746. [Google Scholar] [CrossRef]
- Casino, F.; Dasaklis, T.K.; Patsakis, C. A systematic literature review of blockchain-based applications: Current status, classification and open issues. Telemat. Inform. 2019, 36, 55–81. [Google Scholar] [CrossRef]
- Aggarwal, S.; Chaudhary, R.; Aujla, G.S.; Kumar, N.; Choo, K.K.R.; Zomaya, A.Y. Blockchain for smart communities: Applications, challenges and opportunities. J. Netw. Comput. Appl. 2019, 144, 13–48. [Google Scholar] [CrossRef]
- Chaudhary, S.; Somani, G.; Buyya, R. Research Advances in Cloud Computing; Springer: Berlin/Heidelberg, Germany, 2017. [Google Scholar]
- Fontaine, C.; Galand, F. A Survey of Homomorphic Encryption for Nonspecialists. EURASIP J. Inf. Secur. 2007, 2007, 13801. [Google Scholar] [CrossRef]
- Hartung, F.; Su, J.K.; Girod, B. Spread Spectrum Watermarking: Malicious Attacks and Counterattacks. In Proceedings of the Security and Watermarking of Multimedia Contents, San Jose, CA, USA, 23–29 January 1999; Delp, E.J., Wong, P.W., Eds.; SPIE: Bellingham WA, USA, 1999; Volume 3657, pp. 147–158. [Google Scholar]
- Zhang, J.; Kou, W.; Fan, K. Secure buyer-seller watermarking protocol. IEEE Proc. Inf. Secur. 2006, 153, 15–18. [Google Scholar] [CrossRef][Green Version]
- Fan, C.I.; Chen, M.T.; Sun, W.Z. Buyer-Seller Watermarking Protocols with Off-line Trusted Parties. In Proceedings of the IEEE International Conference on Multimedia and Ubiquitous Engineering, Seoul, Korea, 22–24 May 2017; IEEE Computer Society: Washington, DC, USA, 2007; pp. 1035–1040. [Google Scholar]
- Hu, Y.; Zhang, J. A Secure and Efficient Buyer-Seller Watermarking Protocol. J. Multimed. 2009, 4, 161–168. [Google Scholar] [CrossRef]
- Katzenbeisser, S.; Lemma, A.; Celik, M.U.; van der Veen, M.; Maas, M. A Buyer—Seller Watermarking Protocol Based on Secure Embedding. IEEE Trans. Inf. Forensics Secur. 2008, 3, 783–786. [Google Scholar] [CrossRef]
- Lemma, A.N.; Katzenbeisser, S.; Celik, M.U.; Van Der Veen, M. Secure Watermark Embedding Through Partial Encryption. In Lecture Notes in Computer Science, Proceedings of the 5th International Workshop on Digital Watermarking, Jeju Island, Korea, 8–10 November 2006; Shi, Y.Q., Jeon, B., Eds.; Springer: Berlin/Heidelberg, Germany, 2006; Volume 4283, pp. 433–445. [Google Scholar]
- Tardos, G. Optimal probabilistic fingerprint codes. In Proceedings of the 35th Annual ACM Symposium on Theory of Computing, San Diego, CA, USA, 9–11 June 2003; ACM: New York, NY, USA, 2003; pp. 116–125. [Google Scholar]
- Meng, Z.; Morizumi, T.; Miyata, S.; Kinoshita, H. Design Scheme of Copyright Management System Based on Digital Watermarking and Blockchain. In Proceedings of the IEEE 42nd Annual Computer Software and Applications Conference, Tokyo, Japan, 23–27 July 2018; IEEE Computer Society: Washington, DC, USA, 2018; pp. 359–364. [Google Scholar]
- Zhaofeng, M. Weihua, H.; Hongmin, G. A new blockchain-based trusted DRM scheme for built-in content protection. EURASIP J. Image Video Process. 2018, 2018, 91. [Google Scholar] [CrossRef]
- Peng, W.; Yi, L.; Fang, L.; XinHua, D.; Ping, C. Secure and Traceable Copyright Management System Based on Blockchain. In Proceedings of the IEEE 5th International Conference on Computer and Communications, Chengdu, China, 6–9 December 2019; IEEE Computer Society: Washington, DC, USA, 2019; pp. 1243–1247. [Google Scholar]
- Zhao, S.; O’Mahony, D. BMCProtector: A Blockchain and Smart Contract Based Application for Music Copyright Protection. In Proceedings of the International Conference on Blockchain Technology and Application, Xi’an, China, 10–12 December 2018; ACM: New York, NY, USA, 2018; pp. 1–5. [Google Scholar]
- Ma, Z.; Jiang, M.; Gao, H.; Wang, Z. Blockchain for digital rights management. Future Gener. Comput. Syst. 2018, 89, 746–764. [Google Scholar] [CrossRef]
- Zhang, Z.; Pei, Q.; Ma, J.; Yang, L. Security and Trust in Digital Rights Management: A Survey. Int. J. Netw. Secur. 2009, 9, 247–263. [Google Scholar]
- Macrinici, D.; Cartofeanu, C.; Gao, S. Smart contract applications within blockchain technology: A systematic mapping study. Telemat. Inform. 2018, 35, 2337–2354. [Google Scholar] [CrossRef]
- Zhao, W.; Varadharajan, V.; Mu, Y. A Secure Mental Poker Protocol over the Internet. In Proceedings of the Australasian Information Security Workshop Conference on ACSW Frontiers 2003, Adelaide, Australia, 1 February 2003; Australian Computer Society: Adelaide, Australia, 2003; pp. 105–109. [Google Scholar]
- Choi, J.G.; Sakurai, K.; Park, J.H. Does It Need Trusted Third Party? Design of Buyer-Seller Watermarking Protocol without Trusted Third Party. In Lecture Notes in Computer Science, Proceedings of the 1st International Conference on Applied Cryptography and Network Security, Kunming, China, 16–19 October 2003; Zhou, J., Yung, M., Han, Y., Eds.; Springer: Berlin/Heidelberg, Germany, 2003; Volume 2846, pp. 265–279. [Google Scholar]
- Wang, C.; Leung, H.F.; Cheung, S.C.; Wang, Y. Use of Cryptographic Technologies for Privacy Protection of Watermarks in Internet Retails of Digital Contents. In Proceedings of the 18th International Conference on Advanced Information Networking and Application, Fukuoka, Japan, 29–31 March 2004; IEEE Computer Society: Washington, DC, USA, 2004. [Google Scholar]
- Jeng, F.J.; Huang, J.C.; Chen, T.H. An Improved Anonymous Buyer-Reseller Watermarking Protocol. Int. J. Netw. Secur. 2016, 18, 728–735. [Google Scholar]
- Rannenberg, K. Multilateral Security. A Concept and Examples for Balanced Security. In Proceedings of the 9th ACM Workshop on New Security Paradigms, County Cork, Ireland, 18–21 September 2000; ACM: New York, NY, USA, 2001; pp. 151–162. [Google Scholar]
- Williams, D.M.; Treharne, H.; Ho, A.T.S. On the Importance of One-time Key Pairs in Buyer-seller Watermarking Protocols. In Proceedings of the International Conference on Security and Cryptography, Athens, Greece, 26–28 July 2010; IEEE Computer Society: Washington, DC, USA, 2010; pp. 441–446. [Google Scholar]
- Canetti, R. Security and Composition of Cryptographic Protocols: A Tutorial. ACM SIGACT News 2006, 37, 67–92. [Google Scholar] [CrossRef]
- Petitcolas, F.A.P. Watermarking schemes evaluation. IEEE Signal Process. Mag. 2000, 17, 58–64. [Google Scholar] [CrossRef]
- Chen, B.; Wornell, G. Quantization index modulation: A class of provably good methods for digital watermarking and information embedding. IEEE Trans. Inf. Theory 2001, 47, 1423–1443. [Google Scholar] [CrossRef]
- Malvar, H.S.; Florêncio, D.A.F. Improved Spread Spectrum: A New Modulation Technique for Robust Watermarking. IEEE Trans. Signal Process. 2003, 51, 898–905. [Google Scholar] [CrossRef]
- Piva, A.; Bianchi, T.; De Rosa, A. Secure Client-Side ST-DM Watermark Embedding. IEEE Trans. Inf. Forensics Secur. 2010, 5, 13–26. [Google Scholar] [CrossRef]
- Rittinghouse, J.W.; Ransome, J.F. Cloud Computing: Implementation, Management, and Security; CRC Press: Boca Raton, FL, USA, 2009. [Google Scholar]
- Zheng, Z.; Xie, S.; Dai, H.N.; Chen, X.; Wang, H. Blockchain challenges and opportunities: A survey. Int. J. Web Grid Serv. 2018, 14, 352–375. [Google Scholar] [CrossRef]
- Huang, K.; Tso, R. A Commutative Encryption Scheme based on ElGamal Encryption. In Proceedings of the International Conference on Information Security and Intelligent Control, Yunlin, Taiwan, 14–16 August 2012; IEEE Computer Society: Washington, DC, USA, 2012; pp. 156–159. [Google Scholar]
- Huang, K.; Tso, R.; Chen, Y.C. One-time-commutative public key encryption. In Proceedings of the Computing Conference 2017, London, UK, 18–20 July 2017; IEEE Computer Society: Washington, DC, USA, 2017; pp. 814–818. [Google Scholar]
- Yu, B.; Zhang, C.; Li, W. File matching based on secure authentication and proxy homomorphic re-encryption. In Proceedings of the 11th International Conference on Machine Learning and Computing, Zhuhai, China, 22–24 February 2019; ACM: New York, NY, USA, 2019; pp. 472–476. [Google Scholar]
- Samanthula, B.K.; Elmehdwi, Y.; Howser, G.; Madria, S. A secure data sharing and query processing framework via federation of cloud computing. Inf. Syst. 2015, 48, 196–212. [Google Scholar] [CrossRef]
- Gao, C.z.; Cheng, Q.; Li, X.; Xia, S.b. Cloud-assisted privacy-preserving profile-matching scheme under multiple keys in mobile social network. Clust. Comput. 2019, 22, 1655–1663. [Google Scholar] [CrossRef]
- Shafagh, H.; Hithnawi, A.; Burkhalter, L.; Fischli, P.; Duquennoy, S. Secure sharing of partially homomorphic encrypted IOT data. In Proceedings of the 15th ACM Conference on Embedded Networked Sensor Systems, Delft, The Netherlands, 6–8 November 2017; ACM: New York, NY, USA, 2017; pp. 1–14. [Google Scholar]
- Derler, D.; Ramacher, S.; Slamanig, D. Homomorphic proxy reauthenticators and applications to verifiable multi-user data aggregation. In Proceedings of the International Conference on Financial Cryptography and Data Security, Kota Kinabalu, Malaysia, 10–14 February 2020; Springer: Sliema, Malta, 2017; pp. 124–142. [Google Scholar]
- Deng, M.; Bianchi, T.; Piva, A.; Preneel, B. An efficient buyer-seller watermarking protocol based on composite signal representation. In Proceedings of the 11th ACM Workshop on Multimedia and Security, Princeton, NJ, USA, 7–8 September 2009; ACM: New York, NY, USA, 2009; pp. 9–18. [Google Scholar]
- Qureshi, A.; Megías, D. Blockchain-Based Multimedia Content Protection: Review and Open Challenges. Appl. Sci. 2021, 11, 1. [Google Scholar] [CrossRef]
- Bamakan, S.M.H.; Motavali, A.; Bondarti, A.B. A survey of blockchain consensus algorithms performance evaluation criteria. Expert Syst. Appl. 2020, 154, 113385. [Google Scholar] [CrossRef]


| Symbol | Meaning |
|---|---|
| buyer | |
| content provider or seller | |
| registration authority | |
| cloud computing platform | |
| blockchain | |
| judge | |
| X | digital content purchased by |
| information used by to unambiguously identify X and the current transaction | |
| N | nonce used to mark the watermarking transaction |
| W | watermark |
| watermarked X | |
| double watermarked X | |
| information identifying | |
| payment information related to | |
| information needed to pay | |
| public key of the entity | |
| secret key of the entity | |
| one time public key generated by the entity in the transaction to watermark X | |
| one time secret key generated by the entity in the transaction to watermark X | |
| token encrypted by using the key and a public key cryptosystem | |
| digest calculated on the secret key of the entity by applying the SHA-1 | |
| secure hash algorithm | |
| token digitally signed by using the secret key of the entity and the SHA-1 | |
| secure hash algorithm | |
| token encrypted by using the key and a cryptosystem that is privacy homomorphic | |
| and commutative with respect to the watermark insertion | |
| decryption function corresponding to the encryption function |
| Complex Token | Content |
|---|---|
| : | request for the content X, } | |
|---|---|---|
| : | generates , , and W | |
| : | ||
| : | generates and N, and calculates and | |
| : | ||
| : | ||
| : | calculates and | |
| : | ||
| : | calculates | |
| : | calculates | |
| : | ||
| : | request for payment} | |
| : | ||
| : | ||
| : | runs the smart contract | |
| : | compares the tokens and verifies the signatures included in and | |
| : | creates a node in the blockchain by which to publish | |
| , , , , , | ||
| : | implements the payment phase | |
| : | generates | |
| : | ||
| / | : | saves a new entry in its databases including |
| , , , , , | ||
| whose search key is W | ||
| : | ||
| : | ||
| : | generates |
| : | finds in the market | |
|---|---|---|
| / | : | extracts and , and searches databases for a possible match on |
| : | ||
| : | searches for a node containing the tokens | |
| included into except | ||
| : | retrieves the tokens published in the node of , which are | |
| , , , , , | ||
| : | verifies that the tokens retrieved from | |
| match those ones received from | ||
| : | ||
| : | verifies the received tokens, decrypts , and obtains N | |
| : | ||
| : | compares with N and adjudicates |
Publisher’s Note: MDPI stays neutral with regard to jurisdictional claims in published maps and institutional affiliations. |
© 2021 by the author. Licensee MDPI, Basel, Switzerland. This article is an open access article distributed under the terms and conditions of the Creative Commons Attribution (CC BY) license (https://creativecommons.org/licenses/by/4.0/).
Share and Cite
Frattolillo, F. Blockchain and Cloud to Overcome the Problems of Buyer and Seller Watermarking Protocols. Appl. Sci. 2021, 11, 12028. https://doi.org/10.3390/app112412028
Frattolillo F. Blockchain and Cloud to Overcome the Problems of Buyer and Seller Watermarking Protocols. Applied Sciences. 2021; 11(24):12028. https://doi.org/10.3390/app112412028
Chicago/Turabian StyleFrattolillo, Franco. 2021. "Blockchain and Cloud to Overcome the Problems of Buyer and Seller Watermarking Protocols" Applied Sciences 11, no. 24: 12028. https://doi.org/10.3390/app112412028
APA StyleFrattolillo, F. (2021). Blockchain and Cloud to Overcome the Problems of Buyer and Seller Watermarking Protocols. Applied Sciences, 11(24), 12028. https://doi.org/10.3390/app112412028
