Analysis of Layered Geogrids–Sand–Clay Reinforced Structures under Triaxial Compression by Discrete Element Method
Abstract
:1. Introduction
2. DEM Modeling
2.1. Particle Flow Simulation of Filler and Geogrid
2.2. Selection of Mesoparameters
3. Numerical Test Scheme
4. Results and Discussion
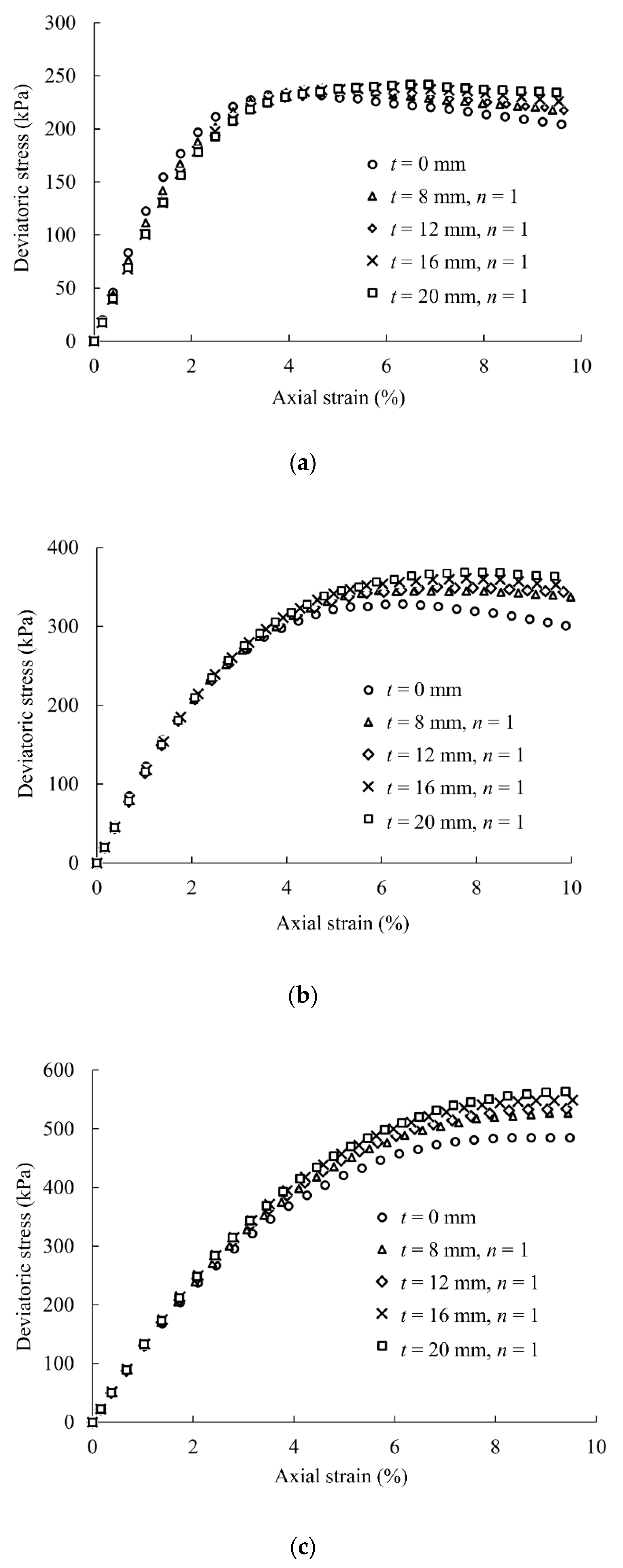
4.1. Relationship between Deviatoric Stress and Axial Strain
4.2. Shear Strength
5. Conclusions
- Laying the sand layers in the samples can significantly improve their post-peak strain-softening characteristics. Moreover, the geogrid embedment can further enhance the ductility of the samples. The effect of increasing the thickness of sand layers alone on the behaviors of LGSCR and SCL samples is minimal. Thus, in practical engineering, the setting mode of thin multi-sand layers should be adopted to improve the safety of LGSCR structures.
- The influence of the sand layer on the peak stress of LGSCR and SCL samples improves with an increase in the confining pressure. Higher confining pressure causes a more significant difference in the peak stress on different LGSCR or SCL samples, which indicates that the effect of the sand layer on increasing the peak stress on the samples is more noticeable. Thus, raising the number of sand layers reduces the cohesion of the samples but increases their internal friction angles. Therefore, a reasonable test pressure should be determined according to the actual stress state of the LGSCR structure in engineering applications.
- Compared with the SCL samples, the LGSCR samples with geogrid embedment have a higher peak strength under specific confining pressure, and in terms of the shear strength index, the apparent cohesion of the LGSCR samples is larger than that of the SCL samples. Furthermore, the internal friction angle of the LGSCR samples is also larger than that of the SCL samples when the number of sand layers is equal to or greater than two.
Author Contributions
Funding
Institutional Review Board Statement
Informed Consent Statement
Data Availability Statement
Conflicts of Interest
References
- Yang, K.H.; Yalew, W.M.; Nguyen, M.D. Behavior of geotextile-reinforced clay with a coarse material sandwich technique under unconsolidated-undrained triaxial compression. Int. J. Geomech. 2016, 16, 04015083. [Google Scholar] [CrossRef]
- Elias, V.; Christopher, B.R.; Berg, R. Mechanically Stabilized Earth Walls and Reinforced Soil Slopes Design and Construction Guidelines; Rep. No. FHWA-NHI-00-043; National Highway Institute, Federal Highway Administration: Washington, DC, USA, 2001.
- AASHTO. Standard Specifications for Highway Bridges, 17th ed.; AASHTO: Washington, DC, USA, 2002. [Google Scholar]
- Berg, R.; Christopher, B.R.; Samtani, N. Design of Mechanically Stabilized Earth Walls and Reinforced Soil Slopes; Rep. No. FHWA-NHI-10-024; National Highway Institute, Federal Highway Administration: Washington, DC, USA, 2009; Volumes I and II.
- NCMA. Design Manual for Segmental Retaining Walls; NCMA: Herndon, VA, USA, 2010. [Google Scholar]
- Pan, Y.T.; Liu, Y.; Tyagi, A.; Lee, F.H.; Li, D.Q. Model-independent strength-reduction factor for effect of spatial variability on tunnel with improved soil surrounds. Géotechnique 2021, 71, 406–422. [Google Scholar] [CrossRef]
- Zhang, R.; Dong, X.; Lu, Z.; Pu, H. Strength characteristics of hydraulically dredged mud slurry treated by flocculation-solidification combined method. Constr. Build. Mater. 2019, 228, 116742. [Google Scholar] [CrossRef]
- Abufarsakh, M.Y.; Coronel, J.; Tao, M. Effect of soil moisture content and dry density on cohesive soil–geosynthetic interactions using large direct shear tests. J. Mater. Civ. Eng. 2007, 19, 540–549. [Google Scholar] [CrossRef]
- Unnikrishnan, N.; Rajagopal, K.; Krishnaswamy, N.R. Behavior of reinforced clay under monotonic and cyclic loading. Geotext. Geomembr. 2002, 20, 117–133. [Google Scholar] [CrossRef]
- Abdi, M.R.; Sadrnejad, A.; Arjomand, M.A. Strength enhancement of clay by encapsulating geogrids in thin layers of sand. Geotext. Geomembr. 2009, 27, 447–455. [Google Scholar] [CrossRef]
- Balakrishnan, S.; Viswanadham, B.V.S. Centrifuge model studies on the performance of soil walls reinforced with sand-cushioned geogrid layers. Geotext. Geomembr. 2019, 47, 803–814. [Google Scholar] [CrossRef]
- Zhang, B.; Shi, M.L.; Bai, S.W. Investigation on reinforcement-sand-clay layer system using direct-shear test. J. Southeast Univ. (Engl. Ed.) 2006, 22, 544–548. [Google Scholar]
- Abdi, M.R.; Zandieh, A.R. Experimental and numerical analysis of large scale pull out tests conducted on clays reinforced with geogrids encapsulated with coarse material. Geotext. Geomembr. 2014, 42, 494–504. [Google Scholar] [CrossRef]
- Yang, Z. Strength and Deformation Characteristics of Reinforced Sand; University of California: Los Angeles, CA, USA, 1972. [Google Scholar]
- Schlosser, F.; Long, N.T. Recent results of French research on reinforced earth. J. Constr. Div. 1974, 100, 223–237. [Google Scholar] [CrossRef]
- Belheine, N.; Plassiard, J.P.; Donzé, F.V.; Darve, F.; Seridi, A. Numerical simulation of drained triaxial test using 3D discrete element modeling. Comput. Geotech. 2009, 36, 320–331. [Google Scholar] [CrossRef]
- Duan, K.; Kwok, C.Y.; Ma, X. DEM simulations of sandstone under true triaxial compressive tests. Acta Geotech. 2009, 12, 495–510. [Google Scholar] [CrossRef]
- Zhang, J.; Wang, X.; Yin, Z.Y.; Liang, Z. DEM modeling of large-scale triaxial test of rock clasts considering realistic particle shapes and flexible membrane boundary. Eng. Geol. 2020, 279, 105871. [Google Scholar] [CrossRef]
- Wu, M.; Wang, J.; Russell, A.; Cheng, Z. DEM modelling of mini-triaxial test based on one-to-one mapping of sand particles. Géotechnique 2021, 71, 714–727. [Google Scholar] [CrossRef]
- Gu, M.; Han, J.; Zhao, M. Three-dimensional DEM analysis of axially loaded geogrid-encased stone column in clay bed. Int. J. Geomech. 2020, 20, 04019180. [Google Scholar] [CrossRef]
- Zhang, R.; Li, J. Simulation on mechanical behavior of cohesive soil by Distinct Element Method. J. Terramech. 2006, 43, 303–316. [Google Scholar] [CrossRef]
- Zhang, Z.; Zhang, X.; Qiu, H.; Daddow, M. Dynamic characteristics of track-ballast-silty clay with irregular vibration levels generated by high-speed train based on DEM. Constr. Build. Mater. 2016, 125, 564–573. [Google Scholar] [CrossRef]
- Chen, C.; McDowell, G.R.; Thom, N.H. Discrete element modelling of cyclic loads of geogrid-reinforced ballast under confined and unconfined conditions. Geotext. Geomembr. 2012, 35, 76–86. [Google Scholar] [CrossRef]
- Zheng, J.J.; Cao, W.Z.; Zhou, Y.J.; Jiang, J.G. Pull-out test study of interface behavior between triaxial geogrid and soil. Rock Soil Mech. 2017, 38, 317–324. [Google Scholar]
- Nguyen, M.D.; Yang, K.H.; Lee, S.H.; Wu, C.S.; Tsai, M.H. Behavior of nonwoven-geotextile-reinforced sand and mobilization of reinforcement strain under triaxial compression. Geosynth. Int. 2013, 20, 207–225. [Google Scholar] [CrossRef]














| Material | Clay | Sand | Geogrid |
|---|---|---|---|
| Specific gravity of particle | 2.00 | 2.63 | 1.00 |
| Porosity of assembly | 0.40 | 0.40 | |
| Minimum nominal radius of particle (mm) | 0.70 | 0.75 | 0.50 |
| Maximum nominal radius of particle (mm) | 0.95 | 1.00 | 0.50 |
| Contact normal stiffness (N/m) | 6.00 × 104 | 8.00 × 104 | 4.00 × 104 |
| Contact shear stiffness (N/m) | 6.00 × 104 | 8.00 × 104 | 4.00 × 104 |
| Coefficient of friction | 0.30 | 0.60 | 0.60 |
| Contact bond normal strength (N/m2) | 1.00 × 105 | ||
| Contact bond shear strength (N/m2) | 1.00 × 105 | ||
| Parallel bond normal stiffness (N/m3) | 1.00 × 1016 | ||
| Parallel bond shear stiffness (N/m3) | 1.00 × 1016 | ||
| Parallel bond normal strength (N/m2) | 3.00 × 1015 | ||
| Parallel bond shear strength (N/m2) | 3.00 × 1015 |
| Improvement or Deterioration Percentages | Addition of Sand Layers in Pure Clay Samples | Addition of Geogrids in SCL Samples | Addition of Geogrid-Reinforced Sand Layers in Pure Clay Samples |
|---|---|---|---|
| φ (three points) | 22.6% | 12.7% | 38.2% |
| φ (five points) | 20.9% | 8.4% | 31.1% |
| c (three points) | −37.2% | 41.6% | −11.2% |
| c (five points) | −24.3% | 54.8% | 17.1% |
Publisher’s Note: MDPI stays neutral with regard to jurisdictional claims in published maps and institutional affiliations. |
© 2021 by the authors. Licensee MDPI, Basel, Switzerland. This article is an open access article distributed under the terms and conditions of the Creative Commons Attribution (CC BY) license (https://creativecommons.org/licenses/by/4.0/).
Share and Cite
Cui, L.; Cao, W.; Sheng, Q.; Xie, M.; Yang, T.; Xiao, P. Analysis of Layered Geogrids–Sand–Clay Reinforced Structures under Triaxial Compression by Discrete Element Method. Appl. Sci. 2021, 11, 9952. https://doi.org/10.3390/app11219952
Cui L, Cao W, Sheng Q, Xie M, Yang T, Xiao P. Analysis of Layered Geogrids–Sand–Clay Reinforced Structures under Triaxial Compression by Discrete Element Method. Applied Sciences. 2021; 11(21):9952. https://doi.org/10.3390/app11219952
Chicago/Turabian StyleCui, Lan, Wenzhao Cao, Qian Sheng, Mingxing Xie, Tao Yang, and Ping Xiao. 2021. "Analysis of Layered Geogrids–Sand–Clay Reinforced Structures under Triaxial Compression by Discrete Element Method" Applied Sciences 11, no. 21: 9952. https://doi.org/10.3390/app11219952
APA StyleCui, L., Cao, W., Sheng, Q., Xie, M., Yang, T., & Xiao, P. (2021). Analysis of Layered Geogrids–Sand–Clay Reinforced Structures under Triaxial Compression by Discrete Element Method. Applied Sciences, 11(21), 9952. https://doi.org/10.3390/app11219952
