Abstract
As the kinematic structure of an articulated manipulator affects the characteristics of its motion, rigidity, vibration, and force transmissibility, finding the most suitable kinematic structure for the desired task is important in the conceptual design phase. This paper proposes a systematic method for generating non-isomorphic graphs of articulated manipulators that consist of a fixed base, an end-effector, and a two-degree-of-freedom (DOF) intermediate kinematic chain connecting the two. Based on the analysis of the structural characteristics of articulated manipulators, the conditions that must be satisfied for manipulators to have a desired DOF is identified. Then, isomorphism-free graph generation methods are proposed based on the concepts of the symmetry of a graph, and the number of graphs generated are determined. As a result, 969 graphs of articulated manipulators that have two-DOF non-fractionated intermediate kinematic chains and 33,438 graphs with two-DOF fractionated intermediate kinematic chains are generated, including practical articulated manipulators widely used in industry.
1. Introduction
In the conceptual design phase of a new machine, it is important to find the optimal kinematic chain (KC) under given conditions because its structure has a great influence on the kinematic and dynamic characteristics, and the KC cannot be changed in later stages such as dimensional synthesis or structure design. For example, parallel manipulators have relatively low inertia, high stiffness, and a large payload capacity versus serial manipulators because of their structural arrangements [1]. In the case of a variable compression ratio engine, since it has a two-degree-of-freedom (DOF) kinematic structure, the movement of its piston can be adjusted according to driving situations, which result in high performance and fuel efficiency [2]. In addition, an engine’s shaking force, which causes vibration and wears, can be reduced by selecting an appropriate kinematic structure [3]. For this reason, many studies have been conducted to propose methods for generating the KCs or to present a database.
In the early times, structural synthesis to generate KCs relied on the designer’s intuition or experience [4,5]. However, it was difficult to enumerate all the KCs without any omission and isomorphism by simply relying on intuition and experience. Since then, several studies have been conducted to enumerate the KCs systematically. Ding et al. [6] generated two DOF fractionated KCs (FKCs) with up to 15 links and non-fractionated KCs (non-FKCs) with up to 13 links. Ding et al. [7] proposed an automatic structural synthesis method of 3-DOF KCs. Furthermore, to enumerate the KCs systematically, graphs that can easily represent the KCs have been widely used. Crossley [8] presented a method to synthesize 4-, 6-, and 8-link non-FKCs based on graph theory. Freudenstein and Dobrjanskyj [9,10] proposed a method for the structural synthesis of planar and single-loop spatial mechanisms using graph theory and vertex-edge incidence matrices. In addition, one of the essential contents when enumerating KCs is to avoid generating duplicate isomorphic KCs. One of the effective ways to solve the duplication problem is utilizing the concept of symmetry group. The concept enables researchers to generate only non-isomorphic KCs and skip an isomorphism test [1], which is complicated and time-consuming. Therefore, many studies have used this concept to enumerate non-isomorphic KCs. Tuttle and Peterson [11] and Tuttle et al. [12,13] utilized the concept of symmetry group theory and proposed an enumeration method of isomorphism-free non-FKCs. Based on the concept of symmetry group theory, Lee and Yoon [14] generated 1- to 4-DOF non-FKCs with two to six independent loops, and Tuttle [15] developed a program for enumerating 1- to 3-DOF non-FKCs with two to six independent loops.
Recently, with the development of the automation industry, the demand for multi-DOF manipulators is rapidly increasing. As a result, many studies have been conducted on parallel manipulators. Merlet [16] proposed a method to determine the structure of parallel manipulators with given DOFs (from three to six) using graph theory, group theory, and screw theory approaches. Fang and Tsai [17] developed a systematic method to create 4-DOF and 5-DOF overconstrained parallel manipulators based on the screw theory and illustrated several examples of parallel manipulators. Gogu [18] used an evolutionary morphology approach and the conditions derived from the theory of linear transformation to synthesize parallel robot structures according to the joint combination for each DOF. Balchanowski [19] used adjacency matrices and presented a method for generating planar or spatial parallel mechanisms.
Conversely, unlike parallel manipulator research, most studies on designing articulated manipulators take an approach of dynamics [20], structural topology [20,21], or control [22,23], and there have only been a few structural synthesis studies on articulated manipulators. However, similar to any other machinery, the characteristics of an articulated manipulator, such as its motion, vibration, rigidity, and force transmissibility, depend on its kinematic structure. For example, an articulated manipulator with an open-loop KC has a simple structure and a large workspace regarding its size. Conversely, those with a closed-loop KC are more rigid, precise, and stronger against payload [24]. The characteristics also vary depending on connectivity between links and the number of binary, ternary, and quaternary links. Hence, it is crucial to find the most suitable kinematic structure for the desired task when developing a new articulated manipulator. However, most studies have been limited to only traditional structures with simple open KCs [25], although they have various kinematic structures. There are only a few studies on the structural synthesis of articulated manipulators with complex shapes [26]. However, no research used graph theory to systematically enumerate all the KCs of articulated manipulators, including non-FKCs and FKCs. Therefore, the purpose of this research is to propose methods for generating non-isomorphic graphs of articulated manipulators that consist of a fixed base, an end-effector, and an intermediate KC that connects the two. Since a graph has a one-to-one correspondence with a KC and has several advantages in a systematic approach, graphs are generated instead of KCs. By taking a graph theory-based approach, the proposed method can systematically enumerate all the articulated manipulator kinematic structures. In addition, since utilizing the symmetry group theory can avoid the problem of generating duplicate graphs, the complicated and time-consuming process of isomorphism test can be skipped entirely. The synthesis results include all cases where the intermediate KCs are non-FKCs and FKCs.
The paper is arranged as follows: Section 2 introduces the basic concepts used in this paper; Section 3 proposes systematic methods for generating graphs of articulated manipulators according to the types of 2-DOF intermediate graphs; Section 4 presents the results with the numbers of graphs enumerated and a few graphs with their conceptually designed kinematic structures; finally, Section 5 concludes with a research summary and future work.
2. Basic Concepts
2.1. Graph Representation of Kinematic Chains
Graph theory is widely used in the conceptual design stage because it can clearly represent the connectivity between the links of a KC and helps the designer enumerate KCs systematically. A graph can be represented by changing the links of a KC into vertices and the joints into edges. For example, the 2-DOF 9-link 11-joint KC in Figure 1a can be expressed as a graph with nine vertices and eleven edges, as shown in Figure 1b, and the KC in Figure 1c can be expressed as a graph in Figure 1d. Thus, as shown in the examples, when a KC with a complex structure is represented as a graph, its structure and the connectivity among the links can be easily comprehended. As described above, there is a one-to-one correspondence between graphs and KCs. Therefore, based on graph representation advantages, designers can efficiently obtain KCs by enumerating graphs that satisfy desired conditions.
Figure 1.
Representation and classification of KCs: (a) structural representation of a non-FKC; (b) graph representation of (a); (c) structural representation of an FKC; (d) graph representation of (c).
2.2. Fractionated and Non-Fractionated Kinematic Chains
All KCs fall into one of two categories: fractionated or non-fractionated KCs. If a KC can be separated into two or more independent KCs at a link or joint, it is called a fractionated kinematic chain (FKC); otherwise, it is called a non-fractionated kinematic chain (non-FKC). Thus, separation at a link is called link fractionation, and the link is called a cut-link or a cut-vertex in the graph. Similarly, separation at a joint is called joint fractionation, and the joint is called a cut-joint or a cut-edge in the graph. For example, the KC in Figure 1a is a non-FKC because it cannot be separated into several independent KCs. Conversely, since the KC in Figure 1c can be separated into two independent KCs at link 5, it is an FKC with link 5 as its cut-link.
2.3. Vertex Symmetry of a Graph
One of the most important things in graph-based structural synthesis is avoiding the generation of duplicate isomorphic graphs. For example, suppose two new graphs are generated, one by connecting graph Z to vertex 2 of graph X and the other by connecting graph Z to vertex 6, as shown in Figure 2a. In that case, the resulting graphs will be isomorphic to each other, as shown in Figure 2b since vertices 2 and 6 are topologically identical. In order to solve the duplication problem, the concept of vertex symmetry needs be introduced.
Figure 2.
(a) Generation of two graphs by connecting graph Z to graph X. (b) Proof of isomorphism due to vertex symmetry.
If exchanging the labels of two vertices does not change the graph, the two vertices are topologically identical and defined as symmetric or similar [27]. Conversely, topologically different two vertices are defined as asymmetric. For simple graphs, symmetric vertices can be identified intuitively, and those of graphs with complex structures can be identified using similarity recognition algorithms [28]. For example, in graph X in Figure 3a, vertices 1 and 4, and vertices 2, 3, 5, and 6 are symmetric; and any two vertices each from the symmetric sets are asymmetric. By unifying the first label number of the symmetrical vertices, the vertices of graph X can be relabeled as Figure 3b, and graph Y in Figure 3c can be relabeled as Figure 3d.
Figure 3.
(a,c): Conventional labeling of graphs X and Y. (b,d): Labeling considering the vertex symmetry of graphs X and Y. (e,f): Symmetrical and asymmetrical vertex pairs of graphs X and Y.
2.4. Symmetrical or Asymmetrical Vertex Pairs of a Graph
If a new graph is created by connecting two vertices of a graph to other two graphs, the concept of vertex symmetry, the sets of symmetrical vertex pairs, and the sets of asymmetrical vertex pairs must be considered. Two vertices form a pair in a graph, and a pair composed of symmetrical or asymmetrical vertices is defined as a symmetrical or an asymmetrical vertex pair. In addition, two vertex pairs in a graph are equivalent if they are topologically identical. For example, two symmetrical vertex pairs (2-1, 2-2) and (2-3, 2-4) are equivalent, as well as two asymmetrical vertex pairs (1-1, 2-1) and (1-1, 2-3). A set containing only non-equivalent pairs from the symmetrical vertex pairs in a graph is defined as a set of symmetrical vertex pairs (SP). Similarly, a set with only non-equivalent asymmetrical vertex pairs is defined as a set of asymmetrical vertex pairs (AP) [27].
When the ith element of SP of graph X is denoted as SPXi, SP of graph X (SPX) in Figure 3b is {SPX1, SPX2, SPX3, SPX4}, where SPX1 = (1-1, 1-2), SPX2 = (2-1, 2-2), SPX3 = (2-1, 2-3), SPX4 = (2-1, 2-4), and the number of elements in SPX, |SPX|, is 4. For graph Y in Figure 3d, SPY is {SPY1, SPY2, SPY3}, where SPY1 = (1-1, 1-2), SPY2 = (2-1, 2-2), SPY3 = (3-1, 3-2), and |SPY| is 3. Similarly, when the ith element of AP of graph X is denoted as APXi, AP of graph X (APX) is {APX1, APX2}, where APX1 = (1-1, 2-1), APX2 = (1-1, 2-2), and |APX| = 2. For graph Y, APY is {APY1, APY2, APY3, APY4}, where APY1 = (1-1, 2-1), APY2 = (1-1, 3-1), APY3 = (1-1, 3-2), APY4 = (2-1, 3-1), and |APY| = 4. The SPs and APs of graphs X and Y are listed in Figure 3e,f, respectively.
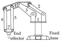
3. Graph Generation Methods of Articulated Manipulators
Articulated manipulators refer to industrial robots which are composed of links connected by revolute joints. They generally consist of a fixed base, an end-effector, and a KC connecting the two, which is called an intermediate KC or an intermediate graph in the graph. As examples of articulated manipulators, the KCs of the 4-DOF palletizing robot and 6-DOF heavy-payload robot are presented in Figure 4a,c, respectively [29]. Note that the intermediate KCs of these two manipulators have 2-DOF as in most articulated robots. Observing the graphs shown in Figure 4b,d, it can be said that if two links connected to the fixed base and the end-effector are directly connected by a joint or if they are in the same 1-DOF independent loop, even if the intermediate KC has two DOFs, the motion of the end-effector relative to the fixed base will be determined by just one actuator. Thus, the motion of the other 1-DOF becomes meaningless, having no effect on the position or orientation of the end-effector. Hence, the structures of 2-DOF intermediate KCs in articulated manipulators should satisfy the following two conditions.
Figure 4.
Articulated manipulators and their graphs: (a) A KC of a 4-DOF palletizing robot; (b) graph representation of (a); (c) KC of a 6-DOF heavy payload robot; (d) graph representation of (c).
- Condition 1. There must be no direct connection between two links connected to the fixed base and the end-effector. This means that there must be at least one link between the two.
- Condition 2. Two links connected to the fixed base and the end-effector should not be contained in the same 1-DOF independent loop.
In this section, based on the above two structural conditions, methods are proposed to generate all graphs of articulated manipulators with 2-DOF intermediate KCs. In this study, the end-effector is represented as a single vertex as shown in Figure 4d for convenience. The eventual kinematic structure and the DOF of an articulated manipulator can vary depending on the role of the end-effector, such as gripping, palletizing, or painting. Therefore, the proposed methods in this section are intended for the structural synthesis of articulated manipulators with four or higher DOFs.
3.1. Graph Generation Methods for Manipulators with 2-DOF Non-Fractionated Intermediate Kinematic Chains
The graphs for manipulators of this type can be generated by connecting a fixed base and an end-effector each to a vertex of a graph of 2-DOF non-fractionated intermediate KCs which can be obtained from the databases [1,6]. If the two vertices connected to the base and end-effector constitute a symmetrical or asymmetrical vertex pair, it is necessary to select only usable vertex pairs that satisfy the structural conditions 1 and 2 of articulated manipulators described above.
For example, consider graph X shown in Figure 5a. Among the pairs in SPX and APX, the vertices of SPX1 and SPX2 are in the same 1-DOF independent loop, and the vertices of APX1, APX2, and APX7 are directly connected. Therefore, these pairs cannot be used to generate articulated manipulator graphs, but the other pairs can.
Figure 5.
(a) A 2-DOF graph. (b) A usable symmetrical vertex pair. (c) Usable asymmetrical vertex pairs.
Suppose USPX and UAPX denote the sets of usable symmetrical and asymmetrical vertex pairs which can be used to generate the graphs of articulated manipulators among SPX and APX, respectively. Then, for graph X in Figure 5a, USPX is {(3-1, 3-2)}, UAPX is {(1-1, 3-2), (1-1, 4-1), (2-1, 3-1), (2-1, 4-1)}, and the numbers of pairs in USPX and UAPX are |USPX| = 1 and |UAPX| = 4, as shown in Figure 5b,c, respectively. By connecting the fixed base and the end-effector to two vertices of usable pairs in an intermediate graph, feasible manipulator graphs can be obtained.
However, in order to generate only non-isomorphic graphs, the methods should be determined depending on whether the usable pair is symmetrical or not. If the two vertices are symmetrical, the generated graphs will be the same even if the fixed base and the end-effector exchange connection positions. Conversely, if the pair is asymmetrical, a new graph will be created by exchanging connection positions. Therefore, it is possible to create one manipulator graph for every pair of USPX and two manipulator graphs for every pair of UAPX. Consequently, the total number of articulated manipulator graphs with any non-fractionated graph X as the intermediate graph is given by
NX = 1 × |USPX| + 2 × |UAPX|.
For example, the number of articulated manipulator graphs generated using graph X in Figure 5 as an intermediate graph is
N = 1 × 1 + 2 × 4 = 9.
The nine graphs of articulated manipulators generated from graph X are shown in Table 1. Note that this method can be applied to all graphs of 2-DOF non-fractionated intermediate KCs to generate articulated manipulator graphs.
Table 1.
Generated graphs of articulated manipulators using graph X in Figure 5: (a) using USPX; (b) using ASPX.
3.2. Graph Generation Methods for Manipulators with 2-DOF Fractionated Intermediate Kinematic Chains
When generating articulated manipulator graphs using 2-DOF fractionated graphs as intermediate graphs, the method used for non-fractionated graphs explained in Section 3.1 can be used for fractionated graphs available in the literature databases. However, the process is complex enough that it is difficult to present a systematic graph generation method and derive equations for the number of graphs generated.
In this study, instead of using a single 2-DOF fractionated graph, graph generation methods combining two 1-DOF non-fractionated graphs and their vertex pairs are proposed. The basic process is as follows. First, a symmetrical or an asymmetrical vertex pair is chosen from each of the two 1-DOF non-fractionated graphs. Then, a vertex from each pair is selected to connect the two graphs. Finally, an articulated manipulator graph can be generated by connecting a fixed base and an end-effector to the remaining vertices of the two pairs. The specific methods are determined depending on whether the two non-fractionated graphs to be connected are different or identical. Case 1 for two different non-fractionated graphs is further subdivided into Cases 1-1 to 1-4 depending on the symmetry of the vertex pairs used. Case 2 for two identical non-fractionated graphs is subdivided into Cases 2-1 to 2-5 depending on the symmetry of the vertex pairs and their identicality. This generates the corresponding graphs, all with no omission or isomorphism.
3.2.1. Case 1: Two Different Non-Fractionated Graphs
When enumerating articulated manipulator graphs using two different 1-DOF non-fractionated graphs X and Y, it is necessary to consider whether the vertex pairs are symmetrical or asymmetrical in order to enumerate only non-isomorphic graphs.
Case 1-1: A Symmetrical Vertex Pair of Graph X and a Symmetrical Vertex Pair of Graph Y (SPX and SPY)
Each symmetrical vertex pair from graphs X and Y is chosen, whose number of possible pair combinations is |SPX| × |SPY|, and a vertex is chosen from each pair and connected as a cut-vertex to generate a 2-DOF intermediate fractionated graph. Since each of the vertex pairs is symmetrical, the generated fractionated graphs will be the same regardless of which vertex is selected as the cut-vertex. Therefore, the number of 2-DOF intermediate fractionated graphs generated for a specific combination of vertex pairs in Case 1-1 is 1 × 1 = 1. Finally, the fixed base and the end-effector are connected to the two vertices that are not used as cut-vertices among vertices of two pairs. Since the two vertices are not topologically identical, new manipulator graphs can be obtained by exchanging the connection positions of the fixed base and the end-effector. Based on the generation process, the equation for the number of non-isomorphic manipulator graphs that can be obtained in Case 1-1 is derived as follows:
NCase1-1 = |SPX| × |SPY| × 1 × 1 × 2.
Graphs X and Y in Figure 3b,d serve as examples to show that a total of 12 vertex pair combinations are available since |SPX| = 4 and |SPY| = 3. Among them, when SPX1 = (1-1, 1-2) and SPY2 = (2-1, 2-2) pair combinations are used, one 2-DOF intermediate fractionated graph is obtained as shown in Figure 6a. After that, a fixed base and an end-effector can be connected to the intermediate graph in two ways, as shown in Figure 6b. Therefore, the number of generated non-isomorphic manipulator graphs for Case 1-1 in this example is calculated as follows, and all corresponding graphs are presented in Table 2a.
N =|SPX| × |SPY| × 1 × 1 × 2 = 4 × 3 × 1 × 1 × 2 = 24.
Figure 6.
Method of generating non-isomorphic graphs in Case 1-1: (a) an intermediate graph generated by connecting two vertex pairs; (b) two options for connecting an end-effector and a fixed base to the intermediate graph.
Table 2.
Graphs of articulated manipulators generated for Case 1: (a) Case 1-1; (b) Case 1-2; (c) Case 1-3; (d) Case 1-4.
Case 1-2: A symmetrical Vertex Pair of Graph X and an Asymmetrical Vertex Pair of Graph Y (SPX and APY)
A symmetrical vertex pair from graph X and an asymmetrical vertex pair from graph Y are selected, whose number of possible pair combinations is |SPX| × |SPY|, and a vertex is chosen from each pair and connected as a cut-vertex to generate a 2-DOF intermediate fractionated graph. Since the vertex pair of graph X is a symmetrical vertex pair, the fractionated graph generated is the same regardless of which of the two vertices of the pair is selected as a cut-vertex. Conversely, since graph Y is asymmetrical, new fractionated graphs are created depending on which of the two vertices is used as a cut-vertex. Therefore, the number of 2-DOF intermediate fractionated graphs generated for a specific vertex pair combination is 1 × 2 = 2. Finally, a fixed base and an end-effector are connected to two vertices that are not used as cut-vertices among two pairs of vertices. As a result, two different manipulator graphs are obtained according to the exchange of the connection positions. Therefore, the equation for the number of non-isomorphic manipulator graphs that can be obtained in Case 1-2 is as follows:
NCase1-2 = |SPX| × |APY| × 1 × 2 × 2.
Graphs X and Y of Figure 3b,d serve as examples to show that 16 vertex pair combinations are available since |SPX| = 4 and |APY| = 4. When SPX1 = (1-1, 1-2) and APY1 = (1-1, 2-1) pairs are used, two 2-DOF intermediate fractionated graphs can be created depending on which vertex is used as a cut-vertex from the two vertices in APY1, as shown in Figure 7a. After that, a fixed base and an end-effector can be connected to each intermediate graph in two ways, as shown in Figure 7b. Therefore, the number of non-isomorphic manipulator graphs generated in this example is calculated as follows, and all corresponding graphs are presented in Table 2b.
N = |SPX| × |APY| × 1 × 2 × 2 = 4 × 4 × 1 × 2 × 2 = 64.
Figure 7.
Method of generating non-isomorphic graphs in Case 1-2: (a) two intermediate graphs generated by connecting two vertex pairs; (b) two options for connecting an end-effector and a fixed base to each intermediate graph.
Case 1-3: An Asymmetrical Vertex Pair of Graph X and a Symmetrical Vertex Pair of Graph Y (APX and SPY)
In contrast to Case 1-2, an asymmetrical vertex pair is selected from graph X, and a symmetrical vertex pair is selected from graph Y. However, the principle of generating non-isomorphic manipulator graphs is the same as in Case 1-2. Therefore, the equation for the number of non-isomorphic manipulator graphs that can be obtained in Case 1-3 is as follows:
NCase1-3 = |APX| × |SPY| × 2 × 1 × 2.
Case 1-4: An Asymmetrical Vertex Pair of Graph X and an Asymmetrical Vertex Pair of Graph Y (APX and APY)
When two asymmetrical vertex pairs one each from graphs X and Y are used, the number of possible pair combinations is |APX| × |APY|, the number of 2-DOF intermediate fractionated graphs generated for a specific pair combination is 2 × 2 = 4, and there are two options for connecting a fixed base and an end-effector to a specific intermediate graph. Therefore, the equation for the number of non-isomorphic manipulator graphs that can be obtained in Case 1-4 is as follows:
NCase1-4 = |APX| × |APY| × 2 × 2 × 2.
Graphs X and Y in Figure 3b,d serve as examples to show that a total of 8 vertex pair combinations are available since |APX| = 2 and |APY| = 4. In one case, as shown in Figure 8a, four 2-DOF intermediate fractionated graphs can be generated by using a combination of APX1 = (1-1, 2-1) and APY1 = (1-1, 2-1) pairs. After that, there are two ways to determine the connection point of a fixed base and an end-effector to each intermediate graph, as shown in Figure 8b. Therefore, the number of non-isomorphic manipulator graphs generated in this example is calculated as follows, and all corresponding graphs are presented in Table 2d.
N = |APX| × |APY| × 2 × 2 × 2 = 2 × 4 × 2 × 2 × 2 = 64.
Figure 8.
Method of generating non-isomorphic graphs in Case 1-4: (a) four intermediate graphs generated by connecting two vertex pairs; (b) two options for connecting an end-effector and a fixed base to each intermediate graph.
Based on the above, the total number of non-isomorphic articulated manipulator graphs for Case 1 can be calculated as follows:
NCase1 = NCase1-1 + NCase1-2 + NCase1-3 + NCase1-4
= |SPX| × |SPY| × 1 × 1 × 2 + |SPX| × |APY| × 1 × 2 × 2 + |APX| × |SPY| × 2 × 1 × 2 + |APX| × |APY| × 2 × 2 × 2.
= |SPX| × |SPY| × 1 × 1 × 2 + |SPX| × |APY| × 1 × 2 × 2 + |APX| × |SPY| × 2 × 1 × 2 + |APX| × |APY| × 2 × 2 × 2.
Using graphs X and Y in Figure 3b,d, a total of 176 non-isomorphic articulated manipulator graphs are generated according to the above method, and the results are listed in Table 2 for each case. These methods can apply not only to the graphs in Figure 3b,d, but also to all the other graphs of 1-DOF KCs to generate articulated manipulator graphs.
3.2.2. Case 2: Two Identical Non-Fractionated Graphs
When two identical 1-DOF non-fractionated graphs X and X are used to generate articulated manipulator graphs, slightly different methods need to be applied to enumerate only non-isomorphic graphs depending on the symmetry of their vertex pairs and whether the two pairs are identical or different.
Case 2-1: Two Identical Symmetrical Vertex Pairs (SPXi and SPXj, Where i = j)
The same symmetrical vertex pair is selected from graphs X and X, and the number of possible pair combinations is |SPX|. Then two vertices, one from each pair, are selected and interconnected as cut-vertices to create a 2-DOF intermediate fractionated graph. As in Case 1-1, since both vertex pairs are symmetrical, the generated fractionated graphs will be the same regardless of which vertex is selected as the cut-vertex. Therefore, the number of 2-DOF intermediate fractionated graphs generated for a specific combination of vertex pairs is one. Finally, the two vertex pairs that are not used as cut-vertices have a fixed base and an end-effector connected to them. Unlike Case 1-1, the two vertices in the fractionated graph are topologically identical. This means that exchanging the connection positions of the fixed base and the end-effector will result in duplicate manipulator graphs. Based on the above generation process, the expression for the number of non-isomorphic manipulator graphs that can be obtained in Case 2-1 is derived as follows:
NCase2-1 = |SPX| × 1 × 1.
Graphs X and X in Figure 3a as an example show that a total of 4 vertex pair combinations are available since |SPX| = 4. In one case, when SPX1 = (1-1, 1-2) and SPX1 = (1-1, 1-2) pair combination is used, one 2-DOF intermediate fractionated graph can be obtained as shown in Figure 9a. After that, a fixed base and an end-effector can be connected to the intermediate graph in one way, as shown in Figure 9b. Therefore, the number of non-isomorphic manipulator graphs generated in this example can be calculated as follows, and the four graphs are presented in Table 3a.
N = |SPX| × 1 × 1 = 4 × 1 × 1 = 4.
Figure 9.
Method of generating non-isomorphic graphs in Case 2-1: (a) an intermediate graph generated by connecting two vertex pairs; (b) one option for connecting an end-effector and a fixed base to the intermediate graph.
Table 3.
Generated graphs of articulated manipulators for Case 2: (a) Case 2-1; (b) Case 2-2; (c) Case 2-3; (d) Case 2-4; (e) Case 2-5.
Case 2-2: Two Different Symmetrical Vertex Pairs (SPXi and SPXj, Where i ≠ j)
Two different symmetrical vertex pairs are chosen in graphs X and X, and the number of possible pair combinations is |SPX|C2, where nC2 = n × (n−1)/2. After that, even if any of the two vertices of each pair is selected as a cut-vertex, the generated fractionated graph is the same. Hence, the number of 2-DOF intermediate fractionated graphs generated for a specific vertex pair combination is one. Finally, by exchanging the connection positions of the fixed base and the end-effector, two non-isomorphic manipulator graphs can be obtained for each 2-DOF intermediate fractionated graph. Therefore, the equation for the number of non-isomorphic manipulator graphs that can be obtained in Case 2-2 is as follows:
NCase2-2 = |SPX|C2 × 1 × 2.
Graphs X and X in Figure 3b,d serve as examples to show that a total of |SPX|C2 = 6 vertex pair combinations are available. In one case, when the SPX1 = (1-1, 1-2) and SPX3 = (2-1, 2-3) pair combination is used, one 2-DOF intermediate fractionated graph is obtained as shown in Figure 10a. After that, a fixed base and an end-effector can be connected to the intermediate graph in two ways as shown in Figure 10b. Therefore, the number of non-isomorphic manipulator graphs generated for Case 2-2 in this example can be calculated as follows, and the twelve graphs are presented in Table 3b.
N = |SPX|C2 × 1 × 2 = 4C2 × 1 × 2 = 12.
Figure 10.
Method of generating non-isomorphic graphs in Case 2-2: (a) an intermediate graph generated by connecting two vertex pairs; (b) two options for connecting an end-effector and a fixed base to each intermediate graph.
Case 2-3: One Symmetrical Vertex Pair and One Asymmetrical Vertex Pair (SPX and APX)
A symmetrical vertex pair and an asymmetrical vertex pair are selected from graphs X and X, and the number of available pair combinations is |SPX| × |APX|. Similar to Case 1-2, two 2-DOF intermediate fractionated graphs can be generated for each specific vertex pair combination. Two cases determine the location for connecting the fixed base and the end-effector to the generated intermediate graphs. Therefore, the equation for the number of non-isomorphic manipulator graphs that can be obtained in Case 2-3 is as follows:
NCase2-3 = |SPX| × |APX| × 2 × 2.
Graphs X and X in Figure 3b,d serve as examples to show that a total of |SPX| × |APX| = 8 vertex pair combinations are available. In one case, when the SPX1 = (1-1, 1-2) and APX1 = (1-1, 2-1) pair combination is used, two 2-DOF intermediate fractionated graphs are obtained as shown in Figure 11a. After that, there are two ways to connect a fixed base and an end-effector to each intermediate graph, as shown in Figure 11b. Therefore, the number of non-isomorphic manipulator graphs generated for Case 2-3 in this example is calculated as follows, and all 32 graphs are presented in Table 3c.
N =|SPX| × |APX| × 2 × 2 = 4 × 2 × 2 × 2 = 32.
Figure 11.
Method for generating non-isomorphic graphs in Case 2-3: (a) two intermediate graphs generated by connecting two vertex pairs; (b) two options for connecting an end-effector and a fixed base to each intermediate graph.
Case 2-4: Two Identical Asymmetrical Vertex Pairs (APXi and APXj, Where i = j)
The same asymmetrical vertex pair is selected in graphs X and X, and the number of possible pair combinations is |APX|. After that, three intermediate fractionated graphs are generated depending on which of the two vertices in each pair is selected as the cut-vertex. In two of the three cases, the vertices of the two 1-DOF non-fractionated graphs used as cut-vertices are identical. Then, since the remaining two vertices that are not used as cut-vertices are topologically identical in the fractionated graph, there is one option to determine the connection positions of the fixed base and the end-effector. Conversely, there is another case where the vertices of the two 1-DOF non-fractionated graphs used as cut-vertices are different, resulting in two options for determining the connection positions of the fixed base and the end-effector. Therefore, the equation for the number of non-isomorphic manipulator graphs that can be obtained in Case 2-4 is as follows:
NCase2-4 = |APX| × (2 × 1 + 1 × 2).
Graphs X and X in Figure 3b as an example show that a total of |APX| = 2 vertex pair combinations are available. In one case, when the APX1 = (1-1, 2-1) and APX1 = (1-1, 2-1) pair combination is used, three 2-DOF intermediate fractionated graphs are obtained as shown in Figure 12a. When graphs X and X are connected with 1-1 and 1-1 or 2-1 and 2-1 to create the intermediate graph, the remaining two vertices are topologically identical in the fractionated graph. Therefore, there exists only one option to determine the connection position between a fixed base and an end-effector to each intermediate graph as shown in Figure 12b. Conversely, when 1-1 and 2-1 are connected, the remaining two vertices are different. Therefore, there are two options to determine the connection positions of a fixed base and an end-effector as shown in Figure 12b. Finally, the number of non-isomorphic manipulator graphs generated for Case 2-4 in this example is calculated as follows, and the eight graphs are presented in Table 3d.
N = |APX| × (2 × 1 + 1 × 2) = 2 × (2 × 1 + 1 × 2) = 8.
Figure 12.
Method of generating non-isomorphic graphs in Case 2-4: (a) three intermediate graphs generated by connecting two vertex pairs; (b) one option for connecting an end-effector and a fixed base to the two intermediate graphs and two connection options to an intermediate graph.
Case 2-5: Two Different Asymmetrical Vertex Pairs (APXi and APXj, Where i ≠ j)
When two different asymmetrical vertex pairs are selected from graphs X and X, the number of possible pair combinations is |APX|C2. Similar to Case 1-4, the number of 2-DOF intermediate fractionated graphs that can be generated for a specific pair combination is 4. In addition, a fixed base and an end-effector can be connected to each intermediate graph in two ways. Therefore, the equation for the number of non-isomorphic manipulator graphs that can be obtained in Case 2-5 is as follows:
NCase2-5 = |APX|C2 × 4 × 2.
Graphs X and X in Figure 3b,d serve as examples to show that the |APX|C2 = 1 vertex pair combination is available. By using the pair combination APX1 = (1-1, 2-1) and APX2 = (1-1, 2-2), it is possible to create four 2-DOF intermediate fractionated graphs as shown in Figure 13a. After that, a fixed base and an end-effector can be connected to each intermediate graph in two ways, as shown in Figure 13b. Therefore, the number of generated non-isomorphic manipulator graphs can be calculated as follows, and, furthermore, the graphs are presented in Table 3e.
N = |APX|C2 × 4 × 2 = 2C2 × 4 × 2 = 8.
Figure 13.
Method for generating non-isomorphic graphs in Case 2-5: (a) four intermediate graphs generated by connecting two vertex pairs; (b) two options for connecting an end-effector and a fixed base to each intermediate graph.
Based on the above, the equation for the total number of non-isomorphic articulated manipulator graphs for Case 2 is as follows:
NCase2 = NCase2-1 + NCase2-2 + NCase2-3 + NCase2-4 + NCase2-5 = |SPX| × 1 × 1 + |SPX|C2 × 1 × 2 + |SPX| × |APX| × 2 × 2 + |APX| × (2 × 1 + 1 × 2) + |APX|C2 × 4 × 2.
Using graph X in Figure 3b, a total of 64 non-isomorphic articulated manipulator graphs are generated according to the above cases, and the results are listed in Table 3. These methods can apply not only to the graphs in Figure 3b,d, but also to all the other graphs of 1-DOF KCs to generate articulated manipulator graphs.
4. Generation Results
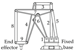
Using the methods proposed in Section 3, the number of graphs for articulated manipulators is calculated according to the total number of links in the intermediate KC. Furthermore, it is confirmed that existing manipulators widely used in industry are included in the enumeration results, and some of the newly developed manipulators are also presented with their graphs and schematic diagrams.
4.1. Using 2-DOF Non-Fractionated Intermediate Graphs
As a result, graphs of articulated manipulators having 2-DOF non-fractionated intermediate KCs with up to nine links are generated. Here, nine links are typical for intermediate KCs in palletizing robot manipulators. The actual total number of links in the generated manipulators can be determined by considering the number of links in the fixed base and end-effector.
In Table 4, the number of generated graphs of articulated manipulators is shown according to the number of links in the intermediate KCs (column 1); there are 1, 27, and 941 graphs for 5, 7, and 9 links, respectively. In addition, some of the newly created articulated manipulators are presented as examples with their graphs (column 2) and kinematic structures (column 3). Note that the enumeration results include practical manipulators that are widely used in industry, and the originality of the presented articulated manipulators is stated (column 4).
Table 4.
The number of articulated manipulators generated according to non-fractionated intermediate graphs’ number of links and their examples with kinematic structures.
As well as the presented articulated manipulators, by considering design constraints, such as the number of ternary and quaternary links and independent loops, specific articulated manipulators can be chosen from the enumerated graphs to meet the desired criteria.
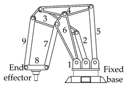
4.2. Using 2-DOF Fractionated Intermediate Graphs
As a result, graphs of articulated manipulators with 2-DOF non-fractionated intermediate KCs with up to 11 links are generated. Since it is too simple to apply the proposed methods to fractionated intermediate graphs with only up to nine links, additional synthesis with 11 links is conducted.
Table 5 shows the number of graphs generated for the articulated manipulators according to the number of links in the intermediate KCs (column 1); there are 1, 4, 42, 914, and 32,477 graphs for 3, 5, 7, 9, and 11 links, respectively. In addition, some of the graphs of the newly created articulated manipulators are presented as examples of their graphs (column 2) and kinematic structures (column 3). It is also confirmed that the enumeration results include practical manipulators that are widely used in industry, and the originality of the presented articulated manipulators is stated (column 4).
Table 5.
The number of articulated manipulators generated according to fractionated intermediate graphs’ number of links and their examples with kinematic structures.
As well as the presented articulated manipulators, by considering additional design constraints, such as the number of links connected to a cut-link and combinations of 1-DOF non-fractionated graphs, specific manipulators that satisfy the desired conditions can be chosen from the enumerated graphs.
5. Conclusions
The kinematic and dynamic characteristics of articulated manipulators, such as motion, vibration, and force transmissibility, are affected by their kinematic structures. Articulated manipulators with open-loop kinematic chains have a simple structure and a large workspace, considering their size. Conversely, those with closed-loop kinematic chains have the advantages of high rigidity, precision, and a high allowable payload. Both the open-loop and closed-loop types also have different characteristics depending on the connectivity between the links and the number of binary, ternary, and quaternary links. Therefore, when developing new manipulators, it is important to find the most appropriate kinematic chains for the desired tasks and characteristics that are determined at the initial design stage and cannot be changed afterward.
The enumerated articulated manipulator graphs that have a one-to-one correspondence with the KCs can be a useful tool for designers to find manipulators appropriate for their desired characteristics and develop new manipulators efficiently. In this study, a method is proposed to systematically enumerate the graphs of articulated manipulators composed of a fixed base, an end-effector, and a 2-DOF intermediate graph connecting the two. In order to enumerate only non-isomorphic graphs, the concepts of vertex symmetry, symmetrical vertex pairs, and asymmetrical vertex pairs sets are used. Furthermore, graph generation methods are proposed for each type of intermediate graphs, which are non-fractionated and fractionated intermediate graphs. By using the proposed methods, a total of 969 graphs with non-fractionated intermediate graphs and a total of 33,438 graphs with fractionated intermediate graphs are listed. It was also observed that widely used conventional articulated manipulators were included in the results. Furthermore, for some graphs, conceptually designed kinematic structures were newly presented.
This study was performed only for the intermediate KCs with two DOFs, which are the most common. The proposed method can be utilized equally for the non-fractionated intermediate KCs with higher DOFs. However, enumeration for fractionated intermediate KCs with higher DOFs would require further research.
Author Contributions
Conceptualization, H.S.P. and J.K.S.; data curation, H.S.P. and T.W.Y.; investigation, H.S.P., W.R.K. and T.W.Y.; methodology, H.S.P. and J.K.S.; project administration, H.S.P. and W.R.K.; software, W.R.K. and T.W.Y.; supervision, J.K.S.; validation, H.S.P., J.K.S. and W.R.K.; visualization, H.S.P.; writing—original draft, H.S.P.; writing—review and editing, J.K.S. All authors have read and agreed to the published version of the manuscript.
Funding
This research received no external funding.
Data Availability Statement
The data presented in this study are available on request from the corresponding author.
Conflicts of Interest
The authors declare no conflict of interest.
References
- Tsai, L.W. Mechanism Design: Enumeration of Kinematic Structures According to Function; CRC Press: Boca Raton, FL, USA, 2000. [Google Scholar] [CrossRef]
- Mo, Y.K.; Shim, J.K.; Kwak, S.W.; Jo, M.S.; Park, H.S. Type Synthesis of Variable Compression Ratio Engine Mechanisms. Appl. Sci. 2020, 10, 6574. [Google Scholar] [CrossRef]
- Kwak, S.W.; Shim, J.K.; Mo, Y.K. Kinematic Conceptual Design of In-Line Four-Cylinder Variable Compression Ratio Engine Mechanisms Considering Vertical Second Harmonic Acceleration. Appl. Sci. 2020, 10, 3765. [Google Scholar] [CrossRef]
- Crossley, F.R.E. A Contribution to Gruebler’s Theory in the Number Synthesis of Plane Mechanisms. J. Eng. Ind. 1964, 86, 1–5. [Google Scholar] [CrossRef]
- Hain, K. Applied Kinematics, 2nd ed.; McGraw-Hill: New York, NY, USA, 1967. [Google Scholar]
- Ding, H.; Cao, W.; Kecskeméthy, A.; Huang, Z. Complete Atlas Database of 2-DOF Kinematic Chains and Creative Design of Mechanisms. J. Mech. Des. 2012, 134, 031006. [Google Scholar] [CrossRef]
- Ding, H.; Huang, P.; Liu, J.; Kecskeméthy, A. Automatic Structural Synthesis of the Whole Family of Planar 3-Degrees of Freedom Closed Loop Mechanisms. J. Mech. Robot. 2013, 5, 041006. [Google Scholar] [CrossRef]
- Crossley, F.R.E. The permutations of kinematic chains of eight members or less from the graph-theoretic viewpoint. In Volume 2: Developments in Theoretical and Applied Mechanisms; Peragamon Press: Oxford, UK, 1965; pp. 467–486. [Google Scholar]
- Freudenstein, F.; Dobrjanskyj, L. On a theory for the type synthesis of mechanisms. In Applied Mechanics; Görtler, H., Ed.; Springer: Berlin, Germany, 1966; pp. 420–428. [Google Scholar] [CrossRef]
- Dobrjanskyj, L.; Freudenstein, F. Some Applications of Graph Theory to the Structural Analysis of Mechanisms. J. Eng. Ind. 1967, 89, 153–158. [Google Scholar] [CrossRef]
- Tuttle, E.R. Symmetry Group Theory Applied to Kinematic Chain Enumeration. In Proceedings of the 10th Applied Mechanics Conference, Los Angeles, CA, USA, 12 October 1987; pp. 6–9. [Google Scholar]
- Tuttle, E.R.; Peterson, S.W.; Titus, J.E. Further Applications of Group Theory to the Enumeration and Structural Analysis of Basic Kinematic Chains. J. Mech. Transm. Autom. Des. 1989, 111, 494–497. [Google Scholar] [CrossRef]
- Tuttle, E.R.; Peterson, S.W.; Titus, J.E. Enumeration of Basic Kinematic Chains Using the Theory of Finite Groups. J. Mech. Transm. Autom. Des. 1989, 111, 498–503. [Google Scholar] [CrossRef]
- Lee, H.-J.; Yoon, Y.-S. Automatic Method for Enumeration of Complete Set of Kinematic Chains. JSME Int. J. Ser. C Dyn. Control. Robot. Des. Manuf. 1994, 37, 812–818. [Google Scholar] [CrossRef][Green Version]
- Tuttle, E. Generation of planar kinematic chains. Mech. Mach. Theory 1996, 31, 729–748. [Google Scholar] [CrossRef]
- Merlet, J.-P. Structural synthesis and architectures. In Parallel Robots, 2nd ed.; Kluwer Academic Publishers: Boston, MA, USA, 2006. [Google Scholar]
- Fang, Y.; Tsai, L.-W. Structure Synthesis of a Class of 4-DOF and 5-DOF Parallel Manipulators with Identical Limb Structures. Int. J. Robot. Res. 2002, 21, 799–810. [Google Scholar] [CrossRef]
- Gogu, G. Structural Synthesis of Parallel Robots; Springer: Dordrecht, The Netherlands, 2008. [Google Scholar]
- Bałchanowski, K.J. General method of structural synthesis of parallel mechanisms. Arch. Civ. Mech. Eng. 2016, 16, 256–268. [Google Scholar] [CrossRef]
- Shiakolas, P.; Koladiya, D.; Kebrle, J. Optimum Robot Design Based on Task Specifications Using Evolutionary Techniques and Kinematic, Dynamic, and Structural Constraints. Inverse Probl. Eng. 2002, 10, 359–375. [Google Scholar] [CrossRef]
- Srinivas, G.L.; Javed, A. Topology optimization of rigid-links for industrial manipulator considering dynamic loading conditions. Mech. Mach. Theory 2020, 153, 103979. [Google Scholar] [CrossRef]
- Su, Y.; Zheng, C.; Mercorelli, P. Robust approximate fixed-time tracking control for uncertain robot manipulators. Mech. Syst. Signal Process. 2020, 135, 106379. [Google Scholar] [CrossRef]
- Mercorelli, P.; Prattichizzo, D. A geometric procedure for robust decoupling control of contact forces in robotic manipulation. Kybernetika 2003, 39, 433–445. [Google Scholar]
- Feng, G.; Xiao-Qiu, Z.; Yong-Sheng, Z.; Hong-Rui, W. A physical model of the solution space and the atlas of the reachable workspace for 2-DOF parallel planar manipulators. Mech. Mach. Theory 1996, 31, 173–184. [Google Scholar] [CrossRef]
- Kuo, C.-H.; Dai, J.S. Structural Synthesis of Serial Robotic Manipulators Subject to Specific Motion Constraints. In Volume 2: 34th Annual Mechanisms and Robotics Conference, Parts A and B; ASMEDC: Montreal, QC, Canada, 2010; pp. 907–915. [Google Scholar] [CrossRef]
- Mitrouchev, P. Symbolic structural synthesis and a description method for planar kinematic chains in robotics. Eur. J. Mech. A Solids 2001, 20, 777–794. [Google Scholar] [CrossRef]
- Ding, H.; Zi, B.; Huang, P.; Kecskeméthy, A. The whole family of kinematic structures for planar 2- and 3-DOF fractionated kinematic chains. Mech. Mach. Theory 2013, 70, 74–90. [Google Scholar] [CrossRef]
- Cui, R.; Ye, Z.; Xu, S.; Wu, C.-Y.; Sun, L. Synthesis of Planar Kinematic Chains with Prismatic Pairs Based on a Similarity Recognition Algorithm. J. Mech. Robot. 2021, 13, 051001. [Google Scholar] [CrossRef]
- Robot-Product-Fanuc Global Home Page. Available online: https://www.fanuc.com/product/robot.html (accessed on 14 September 2021).
- KUKA Robotics Home Page. Available online: https://www.kuka.com/en/products/robotics-systems/industrial-robots/kr-1000-titan (accessed on 14 September 2021).
Publisher’s Note: MDPI stays neutral with regard to jurisdictional claims in published maps and institutional affiliations. |
© 2021 by the authors. Licensee MDPI, Basel, Switzerland. This article is an open access article distributed under the terms and conditions of the Creative Commons Attribution (CC BY) license (https://creativecommons.org/licenses/by/4.0/).


























































































































































































































































































