Next Article in Journal
Thermal Exchange and Skid Resistance of Chip Seal with Various Aggregate Types and Morphologies
Next Article in Special Issue
A New SORM Method for Structural Reliability with Hybrid Uncertain Variables
Previous Article in Journal
Free Vibration Analysis of a Thermally Loaded Porous Functionally Graded Rotor–Bearing System
Previous Article in Special Issue
A Study on Failure Analysis and High Performance of Hydraulic Servo Actuator
 
 
Font Type:
Arial Georgia Verdana
Font Size:
Aa Aa Aa
Line Spacing:
Column Width:
Background:
Article

Research on Reliability Evaluation Method of Aerospace Pyrotechnic Devices Based on Energy Measurement

1
MOE Key Laboratory of Dynamics and Control of Flight Vehicle, School of Aerospace Engineering, Beijing Institute of Technology, Beijing 100081, China
2
Beijing Institute of Astronautical System Engineering, Beijing 100076, China
3
China Academy of Launch Vehicle Technology, Beijing 100076, China
*
Author to whom correspondence should be addressed.
Appl. Sci. 2020, 10(22), 8200; https://doi.org/10.3390/app10228200
Submission received: 5 October 2020 / Revised: 10 November 2020 / Accepted: 17 November 2020 / Published: 19 November 2020
(This article belongs to the Special Issue Reliability Modelling and Analysis for Complex Systems)

Abstract

High reliability is the basic requirement of aerospace pyrotechnic devices. Traditional reliability evaluation methods require a lot of tests, which become too expensive; therefore, the small-sample evaluation method is needed to reduce the cost. Using energy as a performance parameter can better reflect the essence of the function of the pyrotechnic device compared to using force. Firstly, this article assumes that the strength obeys the normal distribution, and the stress is a constant; therefore, the reliability evaluation formula based on the t distribution is proposed. Then, taking the pin puller as the research object, four sets of energy measuring devices were developed so as to obtain its performance parameters. Finally, the evaluation results show that the pin puller has a high reliability of 0.9999999765 with a confidence level of 0.995. The reliability method proposed in this paper is a small-sample method for evaluating aerospace pyrotechnic devices, which can greatly reduce the cost of reliability evaluation. Moreover, the energy measuring devices developed in this paper can provide a new way of measuring performance parameters for piston-type pyrotechnic devices.

1. Introduction

Aerospace pyrotechnic devices are mostly used in some key tasks, such as the separation of rocket stages, satellite attitude adjustments, and the deployment of solar panels [1]. As these tasks are quite particular and important, and the pyrotechnic devices are one-shot and irreparable products, their reliability requirements are extremely high. For such high requirements, it is too expensive to perform large sampling consecutive go/no go tests [2]; therefore, small-sample methods are now used both at home and abroad to evaluate the reliability of aerospace pyrotechnic devices.
Many scholars have conducted research studies on small-sample evaluation methods of pyrotechnic devices [3,4]. Bement [5] presented a figure of statistical presentation of small-sample predictions of the risk of failure, from which we can predict the mechanical functional reliability of pyrotechnic devices. Liu et al. [6] proposed the maximum entropy test method based on the basic principles of information theory, which was tested at a critical operating point, greatly increasing the information contained in a single sample, and thereby reducing the test sample size for reliability evaluation. Cai et al. [7] proposed a reliability evaluation method of pyrotechnic devices based on the principle of test information entropy equivalence. Rong et al. [8] carried out a small-sample reliability prediction method and drew an evaluation chart but did not apply the theory to actual engineering. Lee et al. [9] conducted a Monte Carlo simulation to predict the reliability of a pin puller. These methods have played very good roles in the reliability evaluation of small-sample methods, but further research is still needed.
Regarding the performance parameters of the pyrotechnic device, most of the previous research work has assumed that the constraint to realize the function of the pyrotechnic device was only the instantaneous resistance. However, many aerospace pyrotechnic devices need a work process to achieve their functions, and the essence of their functional reliability is the reliability of completing the work process. Therefore, taking energy as the performance parameter for the reliability evaluation is more direct and accurate.
With regard to the energy measurement of pyrotechnic devices, Bement et al. [10] introduced some functional performance tests and determinations of functional margins. Jang et al. [11] developed an analytical model to understand the physics and predict the functional performance of a pin puller. Based on Bement’s work, combined with the characteristics of Chinese pyrotechnic devices, some improvements and supplements of energy measurement tests are proposed in this approach.
This paper is organized as follows: the basic theory of reliability evaluation is derived in Section 2. A total of four energy measuring devices are introduced in Section 3. In Section 4, the energy measuring results of every device are presented. In Section 5, some analyses and discussion of energy results are presented, while the reliability evaluation is also employed in this section. Conclusions are summarized in Section 6.

2. Derivation of Reliability Evaluation Theory

The stress–strength interference model is often used to evaluate the reliability of pyrotechnic devices [8]. Factors that cause products’ failure are regarded as stress, while factors that prevent products’ failure are regarded as strength. Usually the strength of the products is higher than the stress, but the stress and strength have characteristics of random dispersion, which produces an “interference zone” in their distribution curves as shown in the shaded area in Figure 1. In this area, unreliable situations happen, which result in the function failure [12,13,14].
Sometimes, when the products have undergone a strict process of quality control, the products’ stress has high repeatability and small discreteness, and it can be treated as a constant, which results in a simplified stress–strength model, as shown in Figure 2.
In Figure 2, L represents the stress in the stress–strength model, which is a constant, f (x) is the probability density function of the random variable X, and X is assumed to be distributed normally.
Assuming that X1, X2, …, Xn are samples from the normal population X~N(µ, σ2), which are independent basic random variables. X ¯ and S are the sample mean and sample standard deviation, respectively, and the lower specification limit of the product is L. Introducing the K factor:
K = ( X ¯ L ) / S
After taking n observations of the random variable X, we are interested in the observation value n + 1 and later, but no observation is made at n + 1 or it is temporarily unable to be observed; therefore, we can predict it based on the previous n observations. Y1, Y2, ..., Yk are the future k independent observations of X and Y ¯ is the average of k samples.
Then, there is Y ¯ = j = 1 k Y j / k
According to the knowledge of mathematical statistics, it can be known that the sample mean of the random variable X obeys the normal distribution.
Then, there are X ¯ ~ N ( μ , σ 2 / n ) , Y ¯ ~ N ( μ , σ 2 / k ) .
Introduce the random variable Z = X ¯ Y ¯ .
The mean and variance of Z can be obtained as:
E ( Z ) = E ( X ¯ Y ¯ ) = E ( X ¯ ) E ( Y ¯ ) = 0 ,   D ( Z ) = D ( X ¯ Y ¯ ) = D ( X ¯ ) + D ( Y ¯ ) = σ 2 ( 1 n + 1 k )
Then, there is Z ~ N ( 0 , σ 2 n + σ 2 k ) .
Transforming the random variable Z into a standard normal distribution:
Z = Z E ( Z ) D ( Z ) = X ¯ Y ¯ σ 1 / n + 1 / k ~ N ( 0 ,   1 )
From the knowledge of mathematical statistics:
( n 1 ) S 2 σ 2 ~ χ 2 ( n 1 )
Therefore, according to the definition of t distribution:
Assuming that A and B are independent random variables, A ~ N ( 0 , 1 ) , B ~ χ 2 ( n ) , then the random variable m = A / B / n obeys the t distribution with n degrees of freedom. It is denoted as m~t(n).
Let random variable T = Z S / σ , considering Z’ as A and ( n 1 ) S 2 / σ 2 as B, we can get:
T = Z S / σ = X ¯ Y ¯ S 1 / n + 1 / k ~ t ( n 1 )
That is, the random variable T obeys the t distribution with n − 1 degrees of freedom.
Since the pyrotechnic device has a one-shot function, it only needs to work once when performing a task, so let k = 1. Its reliability is the probability that the next observed value in the future is greater than the lower specification limit, namely:
R = Pr ( Y ¯ > L )
where, Pr represents the probability. Identical deformation of the above formula can be expressed as:
R = Pr X ¯ Y ¯ S 1 / n + 1 < X ¯ L S 1 / n + 1 = Pr X ¯ Y ¯ S 1 / n + 1 < n n + 1 K = Pr T < n n + 1 K
Combining Formula (3) and Formula (5), the reliability can be described as:
R = t n n + 1 K , n 1
where, t ( x , n ) represents the cumulative distribution function of t distribution at x with n degrees of freedom.
Regarding this reliability as the lower confidence limit of the reliability of the product, according to the Chinese standard GB/T 4885-2009 [15], the corresponding confidence can be calculated as:
γ = F ( n K , n 1 , n ω L )
where, F ( x , n , δ ) represents the cumulative distribution function of the non-central t distribution at x with n degrees of freedom while the non-central parameter is δ , and ω L = Φ 1 ( R ) , where Φ 1 ( · ) is the inverse function of the cumulative distribution function of the standard normal distribution.

3. Development of Energy Measuring Devices

This approach takes the pin puller as the research object to evaluate its functional reliability. The physical object of the pin puller is shown in Figure 3. It is mainly composed of an ignitor, a pin-rod, a shell, a shear pin, and O-rings, etc. There are two types of O-rings, larger ones are mounted on the pin, and the smaller ones are embedded in the body. Its working principle is that after the ignitor fires, high-temperature and high-pressure gas is generated, which pushes the pin-rod to cut off the shear pin, overcomes the friction between the piston and the housing, and retracts to a specified position.
Two types of energy are defined, namely required energy, and transferred energy so as to evaluate its functional reliability. The required energy refers to the sum of the energy of shearing the pin and the work performed by the piston to overcome the frictional force. The transferred energy refers to the energy transferred after the ignitor fires (including the work performed by the piston against the frictional force and the kinetic energy of the piston before colliding with the housing after it is retracted into place). The two energies correspond to the aforementioned strength and stress, respectively.
In order to measure these two kinds of energy, two types of energy measuring devices are designed, namely compression type and velocity–mass type devices. The compression type includes absorbing cup type and aluminum honeycomb type, while the velocity–mass type consists of piston type and pin-rod type devices.
The absorbing cup device can be used to measure both the transferred and required energy, and aluminum honeycomb, piston and pin-rod type of devices are all used to measure the transferred energy.

3.1. Absorbing Cup Type of Energy Measuring Device

The cross-sectional view of the pin puller and energy absorbing cup is shown in Figure 4. The energy absorbing cup is made by 1Cr18Ni9Ti stainless steel as shown in Figure 4b, and it is installed on the end of the piston as shown in Figure 4a. After the ignitor is fired, the high-temperature and high-pressure gas is generated to push the piston downward, resulting in compression and deformation of the energy absorbing cup. The transferred energy is obtained by multiplying the compression length and the strength of the absorbing cup.
This approach calibrated the strength of the energy absorbing cup by a drop-weight impact testing machine. The test tooling is shown in Figure 5. The hammer weighs 8.8 kg with an additional mass of 3 kg. The range of impact energy set by the drop-weight machine during the calibration process is 50 J to 250 J. The actual impact energy is less than the preset impact energy due to friction, so the impact speed of the hammer is measured by a speed sensor, and the impact energy is calculated by mv2/2.
When using the absorbing cup to measure the transferred energy, the energy loss in the impact between the cup and the end cap in the device and the rebound of the piston is ignored. The energy introduced by the ignitor of the pin puller consists of three parts, namely the energy to cut the shear pin, the work to overcome the friction and the energy absorbed by the deformation of the cup.
When the energy absorbing cup is calibrated by the drop-weight impact testing machine, the energy loss in the collision and the rebound of the hammer is ignored. The work achieved by the kinetic energy of the hammer also includes three parts, that is, the energy to cut the shear pin, the work to overcome the friction and the energy absorbed by the cup.
Therefore, we believe that it is reasonable and effective to use the drop-weight impact method to measure the required energy.

3.2. Aluminum Honeycomb Type of Measuring Device

Figure 6 shows a cross-sectional view of the aluminum honeycomb device. It is mainly composed of a base, rib plates, end caps, brackets, a cylinder, a partition plate, a compressing plate, a compression adjustment lever, and a pin puller. Aluminum honeycombs can be installed between the partition plate and the compressing plate and between the partition plate and the right end cap to ensure the energy absorption capacity of the aluminum honeycombs under big impact. The compression adjustment lever can finely adjust the compressing plate in the horizontal direction to ensure that the compressing plate is in close contact with the aluminum honeycomb. Vent holes are set on the partition plate, the cylinder, and the left end cover, which can ensure that the gas in the aluminum honeycomb can be discharged in time during the test. When the ignitor is fired, the generated high-temperature and high-pressure gas pushes the piston and the compressing plate to squeeze the aluminum honeycomb, which causes the aluminum honeycomb to deform. The transferred energy can be calculated by multiplying the deformation length by the strength of the aluminum honeycomb. The 5052 aluminum honeycomb has a wall thickness of 0.05 mm, a side length of 4 mm, and a height of 50 mm. The physical objects of the aluminum honeycomb and aluminum honeycomb device are shown in Figure 7 and Figure 8, respectively.

3.3. Piston Type of Measuring Device

The piston type of measuring device is used to measure the transferred energy. The cross-sectional view of the device is shown in Figure 9.
The piston type of measuring device is mainly composed of a base, a rib plate, a bracket, a cylinder, a piston, an ignitor, and the target line system. The base is fixed on the workbench, and the triangular rib plate is used to connect and fix the base and the bracket. The center of the bracket is provided with a circular hole for fixing and installing the cylinder. Two ports with an angle of 30° are opened at one end of the cylinder, in which the ignitor and the pressure transducer are installed, respectively. The target line system is an inverted π-like structure, and three pairs of grooves are symmetrically arranged on the top in parallel, which are used to lay the fuses, and the distance between each fuse is 1.5 cm. Each fuse is connected to its signal source by a wire.
The test principle is: the gunpowder of the ignitor burns to produce high-temperature and high-pressure gas, which pushes the piston to move outwards. The piston hits three target lines in turn to generate three signals. The piston speed can be calculated based on the time difference of the three signals.
The test tooling is shown in Figure 10, and the piston as a projectile is shown in Figure 11.

3.4. Pin-Rod Type of Measuring Device

The pin-rod type of measuring device is also used to measure the output transferred energy. The cross-sectional view is shown in Figure 12.
The pin-rod type of measuring device mainly consists of a base, a rib plate, a bracket, a pin puller, and a photoelectric target system. The base is fixed on the workbench, and the rib plate is used to connect and fix the base and the bracket. The center of the bracket is provided with a circular hole for fixing and installing the pin puller. Two ports are set up above and below the pin puller simultaneously to install the ignitor and pressure transducer respectively. The photoelectric target system includes two sets of inverted π-like structures, and three pairs of small holes that are symmetrically arranged in each structure. Each pair of small holes are used to transmit or receive laser signals, and the target distance is 1.5 cm. Since the huge sparks produced by the ignitor will interfere with the photoelectric target, two sets of photoelectric target devices are set up, so that the time difference between any two target lines can be acquired, in order to eliminate the error caused by the sparks.
The working principle of the pin-rod device is similar to that of the piston device. The differences are that the cylinder and the piston are replaced with a pin puller and a pin-rod, and the target line system is switched to a photoelectric target system.
The test tooling is shown in Figure 13. An additional mass is added to pin-rod to reduce the speed of the pin-rod, which is shown in Figure 14.

4. Energy Measurement Results

4.1. Required Energy Results and Calibration of Absorbing Cup

The test results of the drop-weight impact test are shown in Table 1. The total mass of the drop-weight in tests no. one to three is 8.8 kg, while in tests no. four to 11 it is 5.8 kg.
When the preset energy of the machine was 15 J in test no. 11, the pin was sheared, and the pin-rod just moved in place while the absorbing cup was not deformed. It can be seen that at this time, the kinetic energy of the hammer is the energy required to shear the pin, and the required energy is 12.411 J.
According to the test results of no. one to no. 10 in Table 1, the compression length–energy curve of the energy absorbing cup is fitted, as shown in Figure 15.
The fitted straight line’s equation is:
y = 10.152 x + 17.566
where, x is the compressed length of the energy absorbing cup and y represents the corresponding transferred energy, and the correlation coefficient of the fitted straight line is 0.989.

4.2. Transferred Energy Results

4.2.1. Energy Measurement Results of the Absorbing Cup Type of Device

The firing test of the pin puller was conducted with a total of 15 rounds. The compression length of the cup was obtained as shown in Table 2.
From Table 2, it is shown that the maximum compression length of the energy absorbing cup is 21.97 mm, and the minimum is 9.58 mm. There is a big difference between these results, so there may be abnormal values. Using the “Grubbs test method” [16] to make judgments, the final result is that there are “no outliers” and the value should not be discarded.
According to the equation fitted in the previous section, the sample statistical data of transferred energy measured by the absorbing cup device can be calculated as shown in Table 3.

4.2.2. Energy Measurement Results of the Aluminum Honeycomb Type of Device

We used the splitting method shown on the left of Figure 16 to divide the hexagonal aluminum honeycomb and calculated the cross-sectional area of the aluminum honeycomb by counting the number of Y-shaped units.
In the no. one test, an aluminum honeycomb with a regular hexagonal structure with seven complete hexagonal units on the longest side (M = 7) was selected. After the test, the aluminum honeycomb was completely flattened and reached the densification stage, which did not meet the requirements. An aluminum honeycomb with M = 11 was selected in the next test. The result is that the compression length was only 2.22 mm, so the deformation was too small to meet the requirements. Finally, it is determined that M = 9 is the best choice.
A total of 17 tests were carried out, and the obtained compression lengths of the aluminum honeycombs is shown in Table 4.
Among the 17 tests, the measurement results are invalid in no. one and no. two. In no. nine, an O-ring was missing on the pin-rod, which resulted in serious air leakage during the test. In tests no. 11 and no. 12, the pin puller vent holes were blocked, so the gas pressure was low, and thus the test data were invalid. After the firing test of no. 15, it was found that the pin puller was not fixed tightly, which may cause poor coaxiality during the test, and the force transferred by the pin-rod may be absorbed by the cylinder.
It is found that in the no. 17 test, the compression length was 27.89 mm, which is a large deviation from other test values in Table 4. This value may be an abnormal value. Furthermore, using the “Grubbs test method” to make judgments means the result can be obtained as there are no outliers, and the value should not be discarded.
After excluding the above invalid test data, the sample statistical data of transferred energy measured by the aluminum honeycomb device can be obtained, as shown in Table 5.
The impact velocity of the aluminum honeycomb in the drop-weight test and the firing test has a different changing process. In the drop-weight test, the compression velocity of the aluminum honeycomb gradually decreased from the maximum value to zero, while in the firing test, the velocity gradually increased from zero to the maximum value and then decreased to zero. Therefore, in this approach, the maximum compression speed during the deformation process of the aluminum honeycomb in the firing test is used to approximate the initial impact speed in the drop-weight test, and the corresponding mean plastic crushing stress at this maximum speed is calculated according to the authors’ previous work [17].
σ m d = 4.081 σ 0 t l 3 2 1 + π v 0 16 C l 1 p
where, σ m d is the dynamic mean compressive stress, σ 0 is the yield stress, t is the wall thickness, l is the side length, v 0 represents the initial speed of impact, while C and p are both strain rate sensitivity factors of aluminum honeycomb, which are determined by the experiment.
The working process of the pin puller was recorded with a high-speed camera, whose frame rate is 5000 fps, that is, each frame corresponds to 0.2 ms. As shown in Figure 17, the distance between the two lines is 20 mm. Finally, the maximum compression speed of the aluminum honeycomb is calculated as 8.333 m/s. Xu et al. [18] pointed out that the crushing stress of aluminum honeycomb is a stable mechanical parameter, and the geometric size of the sample has no effect on this parameter.
According to Equation (9), the mean plastic crushing stress at 8.333 m/s is 1.104 MPa. The corresponding cross-sectional area of the aluminum honeycomb with M= 9 is 3117.691 mm2. The mean plastic crushing force of the aluminum honeycomb can be calculated by multiplying the stress and area as 3117.691 × 1.104 = 3441.931 M. Therefore, the sample statistical data of transferred energy can be obtained, as shown in Table 6.

4.2.3. Energy Measurement Results of the Piston Type of Device

The piston type of device is used to measure the transferred energy, and the “off-on target” method is deployed to measure the speed of the piston out of the cylinder. The principle of the off-on target method is: installing a wire on the piston to connect to the signal source, there are three parallel target wires (fragile fuses) on the π-like structure, and each fuse is connected to a signal terminal. When the piston hits the fuse, the circuit is connected to generate a signal, and three sets of signals are generated after sequential hits. Then, dividing the distance between two adjacent fuses by the time difference of the signal, the average speed can be calculated. The mass of the piston is weighed before each fire.
A total of 16 firings were tested and the recorded data are shown in Table 7, in which, Δt1 represents the time difference between the piston hitting the first and second fuse, while Δt2 represents the time difference between the piston hitting the second and third fuse.
According to the data above, the sample statistical data of the transferred energy measured by the piston device can be calculated by the equation E = m v 2 / 2 , as shown in Table 8.

4.2.4. Energy Measurement Results of the Pin-Rod Type of Device

The pin-rod type device is also used to measure the transferred energy, and a photoelectric target is used to measure the output speed of the pin-rod. The principle of the photoelectric target is similar to that of the target line method, except that the electrical signal is changed to an optical signal, which is easier to use than the target line, and there is no need to re-lay the fuse after each test. After every firing, a new shell body and pin-rod need to be replaced, and the mass of the pin-rod with additional mass is 167.7 g.
As mentioned before, the second set of the target line system is away from the export, so the obtained speed may not be the off-cylinder speed; however, due to the short distance and the average processing, this will have little influence on the energy. The velocity data are as shown in Table 9.
According to Table 9, the sample statistical data of the transferred energy measured by the pin-rod device can be calculated as shown in Table 10.

5. Energy Result Analysis and Reliability Evaluation

5.1. Energy Result Analysis

5.1.1. Analysis of the Reason for the Difference in Energies

It can be seen from the previous section that the transferred energies obtained by different devices and methods with the same ignitor are quite different. Among them, the energy measured by the aluminum honeycomb device is the smallest, while the energy measured by the piston device has the largest value. The authors try to analyze the reasons why, as follows.
When measuring the transferred energy, the friction is often ignored due to the small magnitude compared to the thrust. However, in the aluminum honeycomb device, in order to make the pin-rod perfectly compress the aluminum honeycomb, additional masses such as a compression adjustment lever and a pressing plate are added to the pin-rod, and thus the friction increases a lot, so that the work achieved by the friction cannot be ignored, thereby causing the transferred energy measured by the aluminum honeycomb device to be smaller than the others.
Moreover, the aluminum honeycomb type, the absorbing cup type and the pin-rod type of devices all use the same pin puller housing, so that the initial volume of the ignition chamber is the same. However, with the movement of the pin-rod, the volume changes are no longer the same, which result in the pressure produced by the high-temperature and high-pressure gas also being different. Naturally, the transferred energies measured by the three different types of device are quite different.
The parameters in the piston device, such as the initial volume, piston cross-sectional area, piston mass, and movement stroke, are totally different from those of the other three devices. The purpose of setting this device is to compare whether the energy measurement results are different with the same ignitor and different test parameters. At the same time, it can also provide a new and different idea for measuring the transfer energy of the ignitor. According to the results, it can be seen that the variation coefficient of the results measured by the piston device is quite small, which indicates that the measurement device has a high stability.

5.1.2. Test of Normality

The derivation given in this article is based on the premise that the performance parameters of the products obey the normal distribution. Therefore, if the test results need to be used for reliability evaluation, it is necessary to verify whether the data obtained from the tests obey the normal distribution.
The Shapiro–Wilk test method [19] is used to test the normality of the data, and the significance level is α = 0.05 . The Shapiro–Wilk test is based on the regression of order statistics on their expected values. The test statistic is the ratio of the square of the linear combination of the sample order statistics to the variance estimator. Denoting n independent observations in a non-descending order as x(1), x(2), …, x(n), then the test statistic can be calculated as
W = k a k x n + 1 k x k 2 i n x i x ¯ 2 ,
where, n is the sample size, the value of subscript k is taken as 1, 2, …, n/2 (when n is an even number) or 1, 2, …, (n − 1)/2 (when n is an odd number), ak has a specific value under the sample size n, which can be obtained in the reference material. At the significance level α = p= 0.05, if the value of the test statistic W is less than its α-quantile, then reject the null hypothesis. Otherwise, it is shown to obey the normal distribution.
After careful calculation, we can obtain the four test statistics of the four energy values measured by the four devices, which are W1 = 0.963, W2 = 0.854, W3 = 0.948, W4 = 0.959, respectively, while the α-quantiles of each test are wα1 = 0.881, wα2 = 0.850, wα3= 0.887, wα4 = 0.897, respectively. It can be seen that all test statistics are greater than their respective α-quantiles.
Therefore, the test results show that the sample values of the transferred energy measured in all four experiments do not refuse to admit that they obey the normal distribution.

5.1.3. Coefficient of Variation Analysis

According to the peak pressure data obtained from the previous closed explosive test of the same kind of ignitor, the coefficient of variation of the pressure sample data can be calculated, and the coefficient of variation indicates the degree of dispersion of the data.
The historical peak pressure data of the ignitor are shown in Table 11.
It can be seen from Table 11 that the coefficient of variation of the peak pressure is 0.092, and from the previous text, the coefficient of variation of the transferred energy measured by the absorbing cup device is 0.221, while the variation coefficient of the aluminum honeycomb device is 0.109, and the piston device has a variation coefficient of 0.060, while the pin-rod device has a variation coefficient of 0.098.
Therefore, the coefficients of variation of the transferred energy measured by the aluminum honeycomb, piston, and pin-rod type of devices are close to the coefficient of variation of the peak pressure, while the coefficient of variation of the transferred energy measured by the absorbing cup device is significantly larger than the coefficient of variation of the peak pressure. The authors think this is probably caused by the nut connecting the absorbing cup to the pin. Part of the absorbing cup is in contact with the nut after being folded inward to a certain extent during the deformation process; therefore, the absorbing cup is subjected to the force of the nut, resulting in uncertainty of the folding. Thus, the transferred energy measured by the absorbing cup device is not reliable and cannot be used to evaluate the reliability of the pin puller.
The energies measured by the other three devices are reliable, but the piston device only tested the output capacity of the ignitor, and did not take the actual working environment of the pin puller into consideration, so these data cannot be used for reliability evaluation either.
Although the energy measured by the aluminum honeycomb device is relatively small, it can still be regarded as a conservative assessment of the reliability of the pin puller, while the transferred energy measured by the pin-rod device can be perfectly used as a performance parameter to evaluate the reliability of the pin puller.

5.2. Reliability Evaluation

Based on the above analysis, the transferred energies measured by the aluminum honeycomb and pin-rod devices were used as the performance parameters for the reliability evaluation of the pin puller.
According to Section 4.1, the required energy or the lower specification limit of the pin puller is L = 12.411 J. From the measurement results in Section 4.2, it can be seen that the average value of the transferred energy measured by the aluminum honeycomb device is X ¯ 1 = 125.183   J and the standard deviation is S 1 = 13.626   J , while the average value of the transferred energy measured by the pin-rod device is X ¯ 2 = 197.917   J with the standard deviation of S 2 = 19.493   J .
The K factors can be calculated as:
K 1 = ( 125.183 12.411 ) / 13 . 626 = 8 . 276 K 2 = ( 197.917 12.411 ) / 19.493 = 9 . 517
The sample sizes of the two tests are N 1 = 11 and N 2 = 18 , respectively. Substituting N and K into the Equation (6), the reliability of the pin puller can be obtained as:
R 1 = t 10 11 12 × 8.276 = 0.9999935986 R 2 = t 17 18 19 × 9.517 = 0.9999999765
Regarding the above reliability as the lower confidence limit of the reliability of the pin puller, the corresponding confidence level can then be calculated as:
γ 1 = 0.9845 , γ 2 = 0.9950 It is obvious that the high reliability of the pin puller has been verified by the tests of two devices. Even if the aluminum honeycomb device provides a conservative evaluation, the reliability reached 0.9999935986 (with a confidence level of 0.9845), while the reliability reached up 0.9999999765 using the pin-rod device. Therefore, the pin puller can be reliably used in key missions in aerospace fields.

6. Conclusions

This paper firstly derives the reliability evaluation equation under the conditions of normal distribution of strength and constant stress. Then, in order to obtain the performance parameters of the pin puller, namely transferred energy and required energy, four kinds of energy measuring devices were developed. The final energy measurement results show that the pin puller has high functional reliability. The reliability method proposed in this paper is a small-sample method for evaluating aerospace pyrotechnic devices, which can greatly reduce the cost of reliability evaluation. Moreover, the energy measuring devices developed in this paper can provide a new way of measuring performance parameters for piston type pyrotechnic devices. Last but not least, care must be taken in the selection of the energy measuring method, so as to best simulate the use in the actual missions.
It should be noted that due to funding and time constraints, the experiments in this study were conducted in a normal environment on the ground. It would be great if the experiments could be verified in flight or even in extreme environments to simulate the actual working environments of the pyrotechnic devices in future research studies.

Author Contributions

Conceptualization, J.R.; methodology, J.R., Q.S. and Y.Z.; validation, J.R., Q.S. and Y.Z.; formal analysis, Y.Z., Z.W. and Q.S.; investigation, Y.Z.; data curation, Y.Z. and Z.W.; writing—review and editing, Y.Z.; funding acquisition, J.R. All authors have read and agreed to the published version of the manuscript.

Funding

This research was funded by the Technical Basic Research Project of the 13th Five-Year Plan of China, grant number JSZL2016602A001.

Conflicts of Interest

The authors declare no conflict of interest.

References

  1. Brauer, K.O. Handbook of Pyrotechnics; Chemical Publishing, Co.: New York, NY, USA, 1974. [Google Scholar]
  2. He, J.; Bao, T.; Wu, J.; Shao, G.; Du, D.; Le, X.; Zhang, Q. Reliability assessment and data processing techniques of the squib valve in pressurized water NPPs. Nucl. Eng. Des. 2018, 332, 59–69. [Google Scholar] [CrossRef]
  3. Bae, S.J.; Yuan, T.; Ning, S.; Kuo, W. A Bayesian approach to modeling two-phase degradation using change-point regression. Reliab. Eng. Syst. Safety 2015, 134, 66–74. [Google Scholar] [CrossRef]
  4. Yeom, D.H.; Bae, S.J. A constraint-based maximum entropy sampling method for kriging models in fuel cell applications. Qual. Reliab. Eng. Int. 2013, 29, 819–828. [Google Scholar] [CrossRef]
  5. Bement, L.J.; Multhaup, H.A. Determining functional reliability of pyrotechnic mechanical devices. AIAA J. 1999, 37, 357–363. [Google Scholar] [CrossRef]
  6. Liu, B.; Ding, T. Assessment method of high reliability with small samples and its application. Qual. Reliab. 2004, 1, 19–22. (In Chinese) [Google Scholar]
  7. Cai, R.; Zhai, Z.; Dong, H.; Wen, Y. Assessment method for reliability of initiating devices based on test information entropy equivalence. Chin. J. Energ. Mater. 2007, 15, 79–82. (In Chinese) [Google Scholar]
  8. Rong, J.; Song, Q.; Zhang, T. A small sample method for predicting reliability of space pyrotechnic devices. J. Astron. 2015, 36, 360–364. (In Chinese) [Google Scholar]
  9. Lee, H.N.; Jang, S.G. Reliability evaluation of a pin puller via monte carlo simulation. Int. J. Aeronaut. Space Sci. 2015, 16, 537–547. [Google Scholar] [CrossRef][Green Version]
  10. Bement, L.J.; Schimmel, M.L. A Manual for Pyrotechnic Design, Development and Qualification; NASA TM-110172; NASA Langley Research Center: Hampton, VA, USA, 1995; pp. 31–36. [Google Scholar]
  11. Jang, S.G.; Lee, H.N.; Oh, J.Y. Performance modeling of a pyrotechnically actuated pin puller. Int. J. Aeronaut. Space Sci. 2014, 15, 102–111. [Google Scholar] [CrossRef]
  12. Xue, J.A.; Yang, K. Upper & lower bounds of stress-strength interference reliability with random strength-degradation. IEEE Trans. Reliab. 1997, 46, 142–145. [Google Scholar]
  13. Huang, H.-Z.; An, Z.-W. A discrete stress-strength interference model with stress dependent strength. IEEE Trans. Reliab. 2009, 58, 118–122. [Google Scholar] [CrossRef]
  14. Yi, X.; Dong, H.; Zhai, Z.; Lei, H.; Cai, R. Reliability design for initiating devices based on stress strength interference model. Trans. Beijing Inst. Technol. 2014, 34, 1007–1011. (In Chinese) [Google Scholar]
  15. GB/T 4885-2009. Lower Confidence Limit of Reliability for Complete Sample from Normal Distribution; Standards Press of China: Beijing, China, 2009; pp. 2–4. (In Chinese)
  16. Verma, S.P.; Quiroz-Ruiz, A. Critical values for six Dixon tests for outliers in normal samples up to sizes 100, and applications in science and engineering. Rev. Mex. Cienc. Geol. 2006, 23, 133–161. [Google Scholar]
  17. Zhu, Y.; Rong, J.; Song, Q.; Zhang, T.; Wu, Z. Analysis and experimental verification of mean crushing stress of aluminum honeycombs under dynamic out-of-plane compression. J. Astron. 2020. in press (In Chinese) [Google Scholar]
  18. Xu, T.; Jin, T.; Zhou, Z.; Shu, X. Size Effects in the out-of-plane mechanical behavior of hexagonal honeycombs. Sci. Technol. Eng. 2013, 13, 3829–3833. (In Chinese) [Google Scholar]
  19. Baringhaus, L.; Danschke, R.; Henze, N. Recent and classical tests for normality—A comparative-study. Commun. Stat.-Simul. Comput. 1989, 18, 363–379. [Google Scholar] [CrossRef]
Figure 1. The stress–strength interference model.
Figure 1. The stress–strength interference model.
Applsci 10 08200 g001
Figure 2. Simplified model of the stress–strength interference.
Figure 2. Simplified model of the stress–strength interference.
Applsci 10 08200 g002
Figure 3. The pin puller.
Figure 3. The pin puller.
Applsci 10 08200 g003
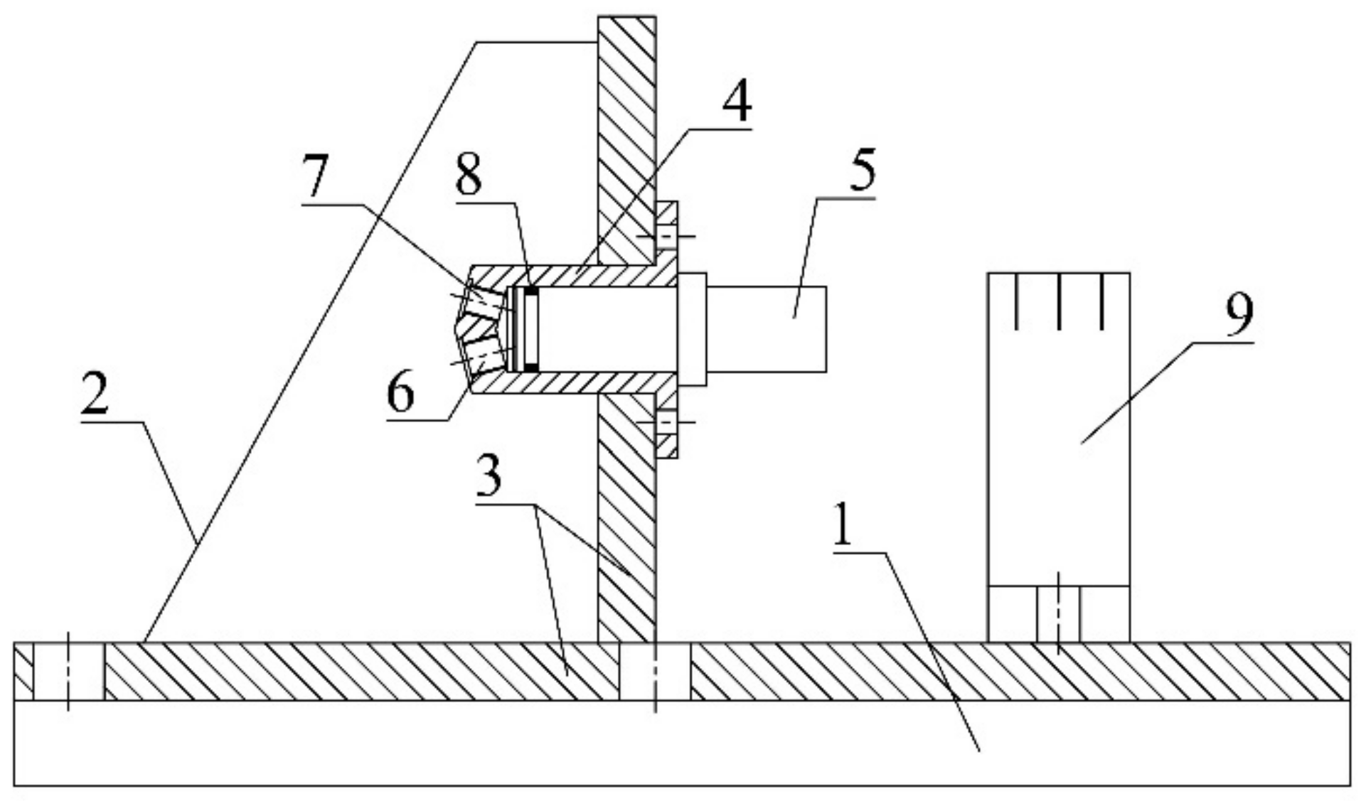
Figure 4. Cross-sectional view of the (a) pin puller and (b) energy absorbing cup. 1—pin-rod, 2—shell body of pin puller, 3—shear pin, 4—pressure transducer port, 5—cartridge port, 6—energy absorbing cup, 7—cap, 8—O-rings.
Figure 4. Cross-sectional view of the (a) pin puller and (b) energy absorbing cup. 1—pin-rod, 2—shell body of pin puller, 3—shear pin, 4—pressure transducer port, 5—cartridge port, 6—energy absorbing cup, 7—cap, 8—O-rings.
Applsci 10 08200 g004
Figure 5. Drop-weight test tooling.
Figure 5. Drop-weight test tooling.
Applsci 10 08200 g005
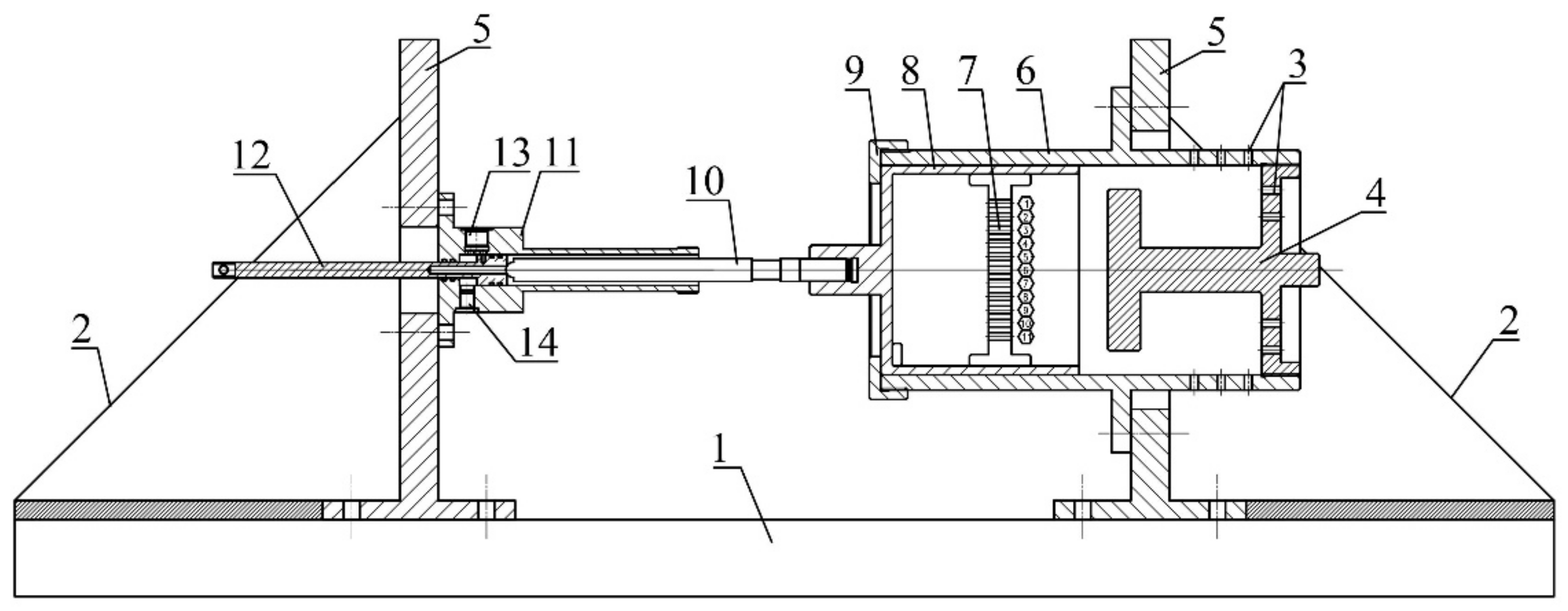
Figure 6. Cross-sectional view of the aluminum honeycomb type of measuring device. 1—base, 2—rib plates, 3—vent port, 4—right end cap, 5—bracket, 6—cylinder, 7—partition plate, 8—compressing plate, 9—left end cap, 10—compression adjustment lever, 11—shell body of pin puller, 12—pin-rod, 13—cartridge port, 14—pressure transducer port.
Figure 6. Cross-sectional view of the aluminum honeycomb type of measuring device. 1—base, 2—rib plates, 3—vent port, 4—right end cap, 5—bracket, 6—cylinder, 7—partition plate, 8—compressing plate, 9—left end cap, 10—compression adjustment lever, 11—shell body of pin puller, 12—pin-rod, 13—cartridge port, 14—pressure transducer port.
Applsci 10 08200 g006
Figure 7. Aluminum honeycomb.
Figure 7. Aluminum honeycomb.
Applsci 10 08200 g007
Figure 8. The test tooling of aluminum honeycomb type of measuring device.
Figure 8. The test tooling of aluminum honeycomb type of measuring device.
Applsci 10 08200 g008
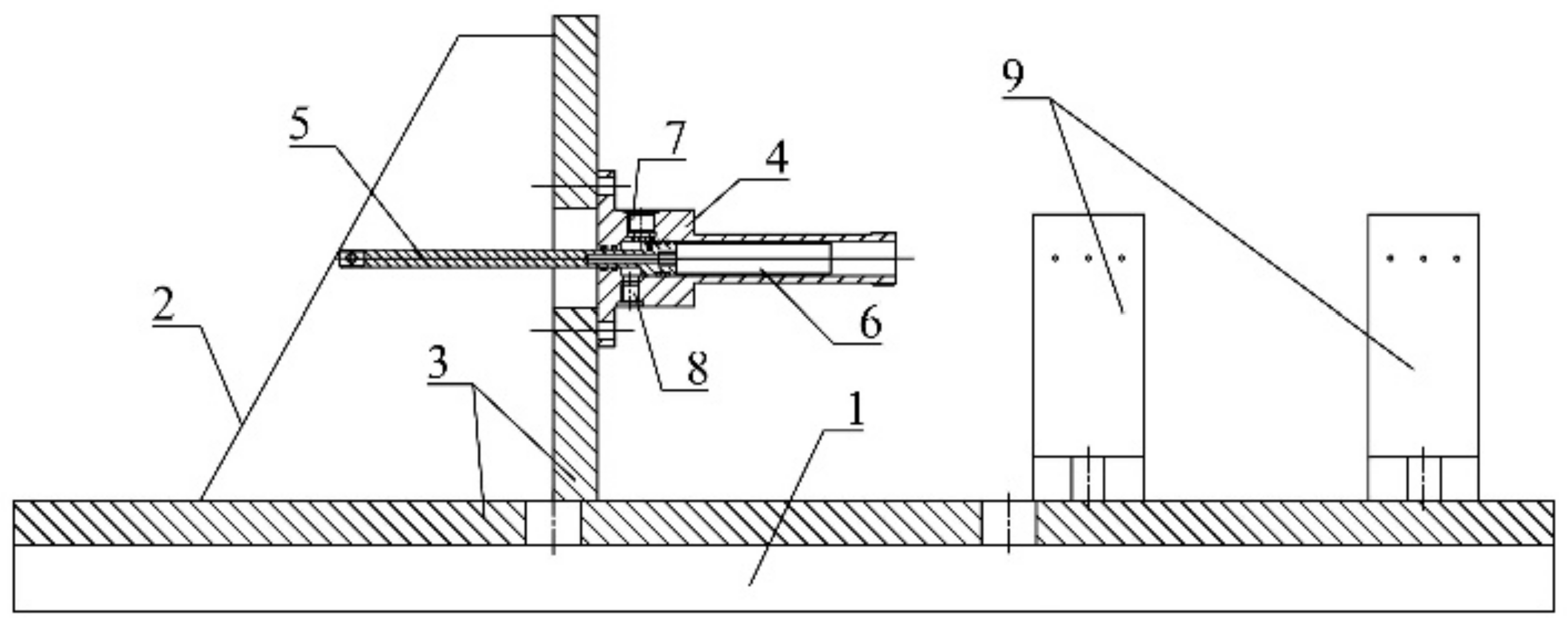
Figure 9. Cross-sectional view of the piston type of measuring device. 1—base, 2—rib plate, 3—bracket, 4—cylinder, 5—piston, 6—cartridge port, 7—pressure transducer port, 8—O-rings, 9—target line system.
Figure 9. Cross-sectional view of the piston type of measuring device. 1—base, 2—rib plate, 3—bracket, 4—cylinder, 5—piston, 6—cartridge port, 7—pressure transducer port, 8—O-rings, 9—target line system.
Applsci 10 08200 g009
Figure 10. The test tooling of the piston type of measuring device.
Figure 10. The test tooling of the piston type of measuring device.
Applsci 10 08200 g010
Figure 11. The piston.
Figure 11. The piston.
Applsci 10 08200 g011
Figure 12. Cross-sectional view of the pin-rod type of measuring device. 1—base, 2—rib plate, 3—bracket, 4—shell body of pin puller, 5—pin-rod, 6—additional mass, 7—pressure transducer port, 8—cartridge port, 9—photoelectric target system.
Figure 12. Cross-sectional view of the pin-rod type of measuring device. 1—base, 2—rib plate, 3—bracket, 4—shell body of pin puller, 5—pin-rod, 6—additional mass, 7—pressure transducer port, 8—cartridge port, 9—photoelectric target system.
Applsci 10 08200 g012
Figure 13. The test tooling of the pin-rod type of measuring device.
Figure 13. The test tooling of the pin-rod type of measuring device.
Applsci 10 08200 g013
Figure 14. The pin-rod.
Figure 14. The pin-rod.
Applsci 10 08200 g014
Figure 15. The fitted energy–length curve.
Figure 15. The fitted energy–length curve.
Applsci 10 08200 g015
Figure 16. Y-shaped unit division of the hexagonal aluminum honeycomb structure.
Figure 16. Y-shaped unit division of the hexagonal aluminum honeycomb structure.
Applsci 10 08200 g016
Figure 17. Distance marking in the test of the aluminum honeycomb type of measuring device.
Figure 17. Distance marking in the test of the aluminum honeycomb type of measuring device.
Applsci 10 08200 g017
Table 1. Results of the drop-weight impact test.
Table 1. Results of the drop-weight impact test.
No.Preset Impact Energy (J)Compression Length (mm)Impact Velocity (m·s−1)Actual Impact Energy (J)
1502.503.16244.054
2805.964.16476.298
31107.944.61293.582
41103.944.61761.813
51106.005.26880.471
61407.245.70194.238
71709.806.302115.178
820011.466.641127.879
925012.807.282153.798
10200.202.42417.045
11150.002.06912.411
Table 2. Compression length of the energy absorbing cup in the firing test.
Table 2. Compression length of the energy absorbing cup in the firing test.
No.Compression Length (mm)No.Compression Length (mm)No.Compression Length (mm)
112.65618.281121.53
212.82716.681219.99
39.76821.971315.42
419.4799.581413.57
518.611016.671514.31
Table 3. Sample statistical data of transferred energy measured by the absorbing cup device.
Table 3. Sample statistical data of transferred energy measured by the absorbing cup device.
Sample SizeSample Mean (J)Sample Standard Deviation (J)Sample Coefficient of Variation
15180.88140.0220.221
Table 4. Compression lengths of the aluminum honeycombs.
Table 4. Compression lengths of the aluminum honeycombs.
No.Compression Length (mm)No.Compression Length (mm)No.Compression Length (mm)
140.53731.171334.98
22.22839.651437.14
334.4894.46150.64
436.621039.851639.65
539.86112.401727.89
638.78123.11
Table 5. Sample statistical data of the compression length of the aluminum honeycomb.
Table 5. Sample statistical data of the compression length of the aluminum honeycomb.
Sample SizeSample Mean (mm)Sample Standard Deviation (mm)Sample Coefficient of Variation
1136.3703.9590.109
Table 6. Sample statistical data of transferred energy measured by the aluminum honeycomb device.
Table 6. Sample statistical data of transferred energy measured by the aluminum honeycomb device.
Sample SizeSample Mean (J)Sample Standard Deviation (J)Sample Coefficient of Variation
11125.18313.6260.109
Table 7. Compression lengths of the aluminum honeycomb.
Table 7. Compression lengths of the aluminum honeycomb.
No.Mass (g)Δt1 (us)Δt2 (us)Velocity (m·s−1)
1643.3490.12 510.33 29.987
2647.2492.79 508.19 29.971
3643.4516.87 516.87 29.021
4644.5508.52 461.58 30.925
5643.9503.24 555.93 28.324
6645.7502.23 542.16 28.725
7642.4516.53 540.83 28.373
8636.2515.84 533.63 28.586
9641.0515.73473.4630.328
10640.9478.67 504.90 30.501
11641.7490.95 511.12 29.938
12642.8501.67 523.67 29.259
13646.3539.34 535.31 27.916
14646.9520.43 520.43 28.822
15648.2520.61 525.72 28.672
16646.8517.08 513.77 29.102
Table 8. Sample statistical data of transferred energy measured by the piston device.
Table 8. Sample statistical data of transferred energy measured by the piston device.
Sample SizeSample Mean (J)Sample Standard Deviation (J)Sample Coefficient of Variation
16276.16716.5920.060
Table 9. Velocity of the pin-rod.
Table 9. Velocity of the pin-rod.
No.Velocity (m·s−1)No.Velocity (m·s−1)No.Velocity (m·s−1)
149.06747.621352.60
248.77844.541449.50
350.19945.271549.78
444.731045.381650.38
547.161151.121751.65
649.851248.481847.41
Table 10. Sample statistical data of transferred energy measured by the pin-rod device.
Table 10. Sample statistical data of transferred energy measured by the pin-rod device.
Sample SizeSample Mean (J)Sample Standard Deviation (J)Sample Coefficient of Variation
18197.91719.4930.098
Table 11. The historical peak pressure data of the ignitor.
Table 11. The historical peak pressure data of the ignitor.
NameValue
Peak pressure (MPa)26.29, 33.71, 32.04, 30.3, 32.59, 32.29, 28.08, 27.53, 31.08, 28.40, 26.26, 27.69, 29.27, 25.07, 31.91, 26.45, 31.67, 26.68, 26.77
Sample mean (MPa)29.132
Sample standard deviation (MPa)2.673
Sample coefficient of variation0.092
Publisher’s Note: MDPI stays neutral with regard to jurisdictional claims in published maps and institutional affiliations.

Share and Cite

MDPI and ACS Style

Zhu, Y.; Rong, J.; Song, Q.; Wu, Z. Research on Reliability Evaluation Method of Aerospace Pyrotechnic Devices Based on Energy Measurement. Appl. Sci. 2020, 10, 8200. https://doi.org/10.3390/app10228200

AMA Style

Zhu Y, Rong J, Song Q, Wu Z. Research on Reliability Evaluation Method of Aerospace Pyrotechnic Devices Based on Energy Measurement. Applied Sciences. 2020; 10(22):8200. https://doi.org/10.3390/app10228200

Chicago/Turabian Style

Zhu, Yubo, Jili Rong, Qianqiang Song, and Zhipei Wu. 2020. "Research on Reliability Evaluation Method of Aerospace Pyrotechnic Devices Based on Energy Measurement" Applied Sciences 10, no. 22: 8200. https://doi.org/10.3390/app10228200

APA Style

Zhu, Y., Rong, J., Song, Q., & Wu, Z. (2020). Research on Reliability Evaluation Method of Aerospace Pyrotechnic Devices Based on Energy Measurement. Applied Sciences, 10(22), 8200. https://doi.org/10.3390/app10228200

Note that from the first issue of 2016, this journal uses article numbers instead of page numbers. See further details here.

Article Metrics

Back to TopTop