Dynamic Simulation and Control of a New Parallel Hybrid Power System
Abstract
1. Introduction
2. Materials and Methods
2.1. Dynamic System Model Establishment
2.2. Hybrid Power Control Module
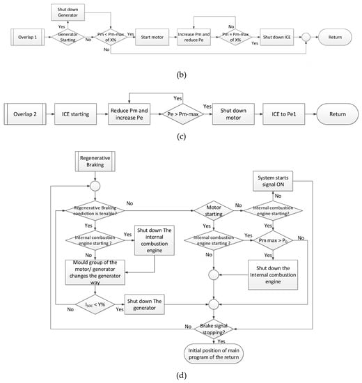
2.3. Energy Management Control Module
3. Results and Discussion
3.1. Output Torque and Speed of Motor, Generator and Internal Combustion Engine
3.2. Output Torque and Speed of Power Integration and Distribution Mechanism
3.3. Output Torque of eCVT Mechanism
3.4. Comparison of Experimental Results with NEDC2000 High-Speed Driving Test Pattern
4. Conclusions
- The fuzzy controller and energy management control module can decide, through the power integration and distribution mechanism, that whether the torque outputs of internal combustion engine, motor, and generator should be transmitted independently or simultaneously according to the low-, medium-, and high-power driving requirements.
- The torque of the output shaft of the power integration and distribution mechanism can indeed reach twice the input of the two power sources separately. As for the rotational speed, the output speeds of the two power sources are twice that of the output shaft. In addition, when the power demand of the vehicle exceeds the maximum output power of the electric motor, the internal combustion engine is used to provide power and the generator is turned on to convert the excess energy into electrical energy, which is saved in the battery as the power source of the electric motor.
- The eCVT mechanism between the wheel and the power integration mechanism brings benefits, especially under changing driving demands, as it achieves smooth conversion and control of the reduction ratio, so that the torque output of the power integration mechanism is not significantly affected during the power switch.
- In most cases, the difference between the experimental results and driving test speed is not large. However, oscillations occur during the last two accelerations during high-speed driving, which can be suppressed by adding a switch on the Fuzzy controller.
Supplementary Materials
Author Contributions
Funding
Conflicts of Interest
References
- Kalghatgi, G. Is it really the end of internal combustion engines and petroleum in transport? Appl. Energy 2018, 225, 965–974. [Google Scholar] [CrossRef]
- Agudelo, A.F.; Garcia-Contreras, R.; Agudelo, J.R.; Armas, O. Potential for exhaust gas energy recovery in a diesel passenger car under European driving cycle. Appl. Energy 2016, 174, 201–212. [Google Scholar] [CrossRef]
- Karvonen, M.; Kapoor, R.; Uusitalo, A.; Ojanen, V. Technology competition in the internal combustion engine waste heat recovery: A patent landscape analysis. J. Clean. Prod. 2016, 112, 3735–3743. [Google Scholar] [CrossRef]
- Schmuch, R.; Wagner, R.; Horpel, G.; Placke, T.; Winter, M. Performance and cost of materials for lithium-based rechargeable automotive batteries. Nat. Energy 2018, 3, 267–278. [Google Scholar] [CrossRef]
- Cano, Z.P.; Banham, D.; Ye, S.Y.; Hintennach, A.; Lu, J.; Fowler, M.; Chen, Z.W. Batteries and fuel cells for emerging electric vehicle markets. Nat. Energy 2018, 3, 279–289. [Google Scholar] [CrossRef]
- Feng, X.N.; Ouyang, M.G.; Liu, X.; Lu, L.G.; Xia, Y.; He, X.M. Thermal runaway mechanism of lithium ion battery for electric vehicles: A review. Energy Storage Mater. 2018, 10, 246–267. [Google Scholar] [CrossRef]
- Wu, Y.; Zhang, L. Can the development of electric vehicles reduce the emission of air pollutants and greenhouse gases in developing countries? Transp. Res. D Transp. Environ. 2017, 51, 129–145. [Google Scholar] [CrossRef]
- Martinez, C.M.; Hu, X.S.; Cao, D.P.; Velenis, E.; Gao, B.; Wellers, M. Energy management in plug-in hybrid electric vehicles: Recent progress and a connected vehicles perspective. IEEE Trans. Veh. Technol. 2017, 66, 4534–4549. [Google Scholar] [CrossRef]
- Sabri, M.F.M.; Danapalasingam, K.A.; Rahmat, M.F. A review on hybrid electric vehicles architecture and energy management strategies. Renew. Sustain. Energy Rev. 2016, 53, 1433–1442. [Google Scholar] [CrossRef]
- Huang, Y.J.; Wang, H.; Khajepour, A.; He, H.W.; Ji, J. Model predictive control power management strategies for HEVs: A review. J. Power Sources 2016, 341, 91–106. [Google Scholar] [CrossRef]
- Chen, P.T.; Pai, P.H.; Yang, C.J.; Huang, K.D. Transmission systems for parallel hybrid electric vehicles. Appl. Sci. 2019, 9, 1538. [Google Scholar] [CrossRef]
- Hoang, N.T.; Yan, H.S. Configuration synthesis of novel series-parallel hybrid transmission systems with eight-bar mechanisms. Energies 2017, 10, 1044. [Google Scholar] [CrossRef]
- Xiao, R.; Liu, B.; Shen, J.; Guo, N.; Yan, W.; Chen, Z. Comparisons of energy management methods for a parallel plug-in hybrid electric vehicle between the convex optimization and dynamic programming. Appl. Sci. 2018, 8, 218. [Google Scholar] [CrossRef]
- Kim, H.; Wi, J.; Yoo, J.; Son, H.; Park, C.; Kim, H. A study on the fuel economy potential of parallel and power split type hybrid electric vehicles. Energies 2018, 11, 2103. [Google Scholar] [CrossRef]
- Lukic, S.; Emadi, A. Effects of drivetrain hybridization on fuel economy and dynamic performance of parallel hybrid electric vehicles. IEEE Trans. Veh. Technol. 2004, 53, 385–389. [Google Scholar] [CrossRef]
- Niels, J.S.; Mutasim, A.S.; Naim, A.K. Fuzzy logic control for parallel hybrid vehicles. IEEE Trans. Control Syst. Technol. 2002, 10, 460–468. [Google Scholar]
- Teng, L.; Xiaosong, H.; Shengbo, E.L.; Dongpu, C. Reinforcement learning optimized look-ahead energy management of a parallel hybrid electric vehicle. IEEE ASME Trans. Mechatron. 2017, 22, 1497–1507. [Google Scholar]
- Shuhan, W.; Xingshuai, H.; José, M.L.; Xiangyang, X.; Peng, D. Fuzzy adaptive-equivalent consumption minimization strategy for a parallel hybrid electric vehicle. IEEE Access 2019, 7, 133290–133303. [Google Scholar]
- Buntin, D.L.; Howze, J.W. A switching logic controller for a hybrid electric/ICE vehicle. Proc. Am. Control Conf. 1995, 2, 1169–1175. [Google Scholar]
- Berenji, H.R.; Ruspini, E.H. Experiments in multiobjective fuzzy control of hybrid automotive engines. In Proceedings of the IEEE 5th International Fuzzy Systems, New Orleans, LA, USA, 11 September 1996; Volume 1, pp. 681–686. [Google Scholar]
- Koo, E.S.; Lee, H.D.; Sul, S.K.; Kim, J.S. Torque control strategy for a parallel hybrid vehicle using fuzzy logic. IEEE Ind. Appl. Conf. 1998, 3, 1715–1720. [Google Scholar]
- Cikanek, S.R.; Bailey, K.E.; Baraszu, R.C.; Powell, B.K. Control system and dynamic model validation for a parallel hybrid electric vehicle. Proc. Am. Control Conf. 1999, 2, 1222–1227. [Google Scholar]
- Baumann, B.M.; Washington, G.; Glenn, B.C.; Rizzoni, G. Mechatronic design and control of hybrid electric vehicles. IEEE ASME Trans. Mechatron. 2000, 5, 58–72. [Google Scholar] [CrossRef]
- Lin, C.C.; Filipi, Z.; Wang, Y.; Louca, L.; Peng, H.; Assanis, D.; Stein, J. Integrated, Feed-Forward Hybrid Electric Vehicle Simulation in SIMULINK and Its Use for Power Management Studies; SAE Technical Paper; SAE International: Warrendale, PA, USA, 2001; 2001-01-1334. [Google Scholar]
- Delprat, S.; Guerra, T.M.; Paganelli, G.; Lauber, J.; Delhom, M. Control strategy optimization for an hybrid parallel powertrain. Proc. Am. Control Conf. 2001, 2, 1315–1320. [Google Scholar]
- Chau, K.T.; Wong, Y.S. Overview of power management in hybrid electric vehicles. Energy Convers. Manag. 2002, 43, 1953–1968. [Google Scholar] [CrossRef]
- Schouten, N.J.; Salman, M.A.; Kheir, N.A. Energy management strategies for parallel hybrid vehicles using fuzzy logic. Control Eng. Pract. 2003, 11, 171–177. [Google Scholar] [CrossRef]
- Wong, J.S.; Langari, R. Intelligent energy management agent for a parallel hybrid vehicle. Proc. Am. Control Conf. 2003, 3, 2560–2565. [Google Scholar]
- Langari, R.; Won, J.S. Integrated drive cycle analysis for fuzzy logic based energy management in hybrid vehicles. In Proceedings of the 12th IEEE International Conference Fuzzy Systems, St Louis, MO, USA, 25–28 May 2003; Volume 1, pp. 290–295. [Google Scholar]
- Sciarretta, A.; Back, M.; Guzzella, L. Optimal control of parallel hybrid electric vehicles. IEEE Trans. Control Syst. Technol. 2004, 12, 352–363. [Google Scholar] [CrossRef]
- Delprat, S.; Lauber, J.; Guerra, T.M.; Rimaux, J. Control of a parallel hybrid powertrain: Optimal control. IEEE Trans. Veh. Technol. 2004, 53, 872–881. [Google Scholar] [CrossRef]
- Kheir, N.A.; Salman, M.A.; Schouten, N.J. Emissions and fuel economy trade-off for hybrid vehicles using fuzzy logic. Math. Comput. Simul. 2004, 66, 155–172. [Google Scholar] [CrossRef]
- Won, J.S.; Langari, R. Intelligent energy management agent for a parallel hybrid vehicle—Part ii: Torque distribution, charge sustenance strategies, and performance results. IEEE Trans. Veh. Technol. 2005, 54, 935–953. [Google Scholar] [CrossRef]
- Chou, C.H.; Chen, P.T.; Yang, C.J.; Huang, K.D. Functionalization of Wireless Control and Fuzzy Systems to Hybrid Mini-Loaders. IEEE Access 2020, 8, 80914–80921. [Google Scholar] [CrossRef]












© 2020 by the authors. Licensee MDPI, Basel, Switzerland. This article is an open access article distributed under the terms and conditions of the Creative Commons Attribution (CC BY) license (http://creativecommons.org/licenses/by/4.0/).
Share and Cite
Chen, P.-T.; Yang, C.-J.; Huang, K.D. Dynamic Simulation and Control of a New Parallel Hybrid Power System. Appl. Sci. 2020, 10, 5467. https://doi.org/10.3390/app10165467
Chen P-T, Yang C-J, Huang KD. Dynamic Simulation and Control of a New Parallel Hybrid Power System. Applied Sciences. 2020; 10(16):5467. https://doi.org/10.3390/app10165467
Chicago/Turabian StyleChen, Po-Tuan, Cheng-Jung Yang, and Kuohsiu David Huang. 2020. "Dynamic Simulation and Control of a New Parallel Hybrid Power System" Applied Sciences 10, no. 16: 5467. https://doi.org/10.3390/app10165467
APA StyleChen, P.-T., Yang, C.-J., & Huang, K. D. (2020). Dynamic Simulation and Control of a New Parallel Hybrid Power System. Applied Sciences, 10(16), 5467. https://doi.org/10.3390/app10165467

