A Novel Energy Optimization Control Strategy for Electric Drive System Based on Current Angle
Abstract
1. Introduction
1.1. Motivation
1.2. Literature Review
1.3. Original Contributions of this Paper
- The influence of current angle β on EDS efficiency was studied and the general rule between β and EDS efficiency was obtained in this paper, which provides a reference for future research.
- The optimization range and the calculation amount of β to get the best EDS efficiency in the whole operating range was reduced by GSS search algorithm.
- An energy optimization control strategy based on β look-up table was proposed in this paper. Compared with the traditional control strategy, the proposed control strategy can make EDS run over the whole vehicle operational range at an efficient point without affecting the performance and improve the efficiency of EDS.
2. Electric Drive System Loss Model
2.1. Mathematical Motor Loss Model
2.2. Inverter Loss Model
2.3. Electric Drive System Efficiency Model
3. Efficiency Optimization Control Based on Current Angle Look-Up Table
3.1. Principle of EDS Efficiency Optimization by Current Angle
3.2. Study on the Effect of Current Angle on EDS Efficiency
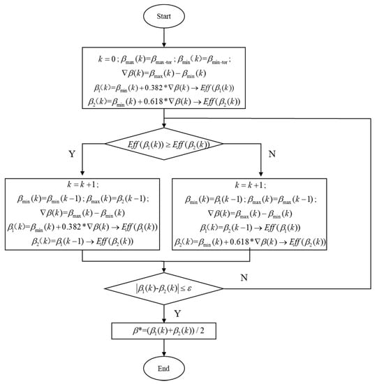
3.3. Current Angle Optimization Flow Based on Improved Golden Section Search Method
- According to the external characteristic diagram of the motor, select each working point on the red curve in Figure 8 as two groups of working conditions.
- Change the current angle, then the current angle curves βnm-min/βnm-max that ensure the efficiency of red curve maximum can be obtained and recorded in Te/nm-β/is look-up table so as to reduce the search area in GSS.
- Record the set of β/is corresponding to the maximum efficiency under whole working condition to Te/nm-β/is look-up table, which is illustrated in Figure 10.
3.4. Energy Optimization Control Strategy Based on Current Angle Look-Up Table
4. Steady State and Transient State Simulation Validation
4.1. Steady State Simulation Validation
4.2. Transient State Simulation Validation
5. Conclusions
- Optimizing β helps to improve EDS efficiency. The general influence law of β on EDS efficiency is that change of β has a great influence on the EDS efficiency under the working condition before the base speed, but less influence on the EDS efficiency in the flux weakening region. Furthermore, the optimal β of PMSM in this paper decreases with the increase of motor speed while increases with the increase of motor torque.
- Compared with the traditional control strategy, the steady state simulation results showed that the proposed control strategy can improve the efficiency of EDS in the whole working area. The EDS efficiency increased 0.6% at 1000 rpm/60 Nm, 5.9% at 5000 rpm/40 Nm, and 6.5% at 6000 rpm/40 Nm. The transient simulation results of periodic acceleration (2000 rpm to 6000 rpm) and variable load (60 Nm to 40 Nm) showed that the proposed control strategy can not only achieve stable operation and fast response of EDS, but also ensure that the EDS efficiency in the transient process is always higher than that the traditional control.
Author Contributions
Funding
Conflicts of Interest
References
- Emadi, A.; Lee, Y.J.; Rajashekara, K. Power electronics and motor drives in electric, hybrid electric, and plug-in hybrid electric vehicles. IEEE Trans. Ind. Electron. 2008, 55, 2237–2245. [Google Scholar] [CrossRef]
- Rajashekara, K. Present Status and Future Trends in Electric Vehicle Propulsion Technologies. IEEE J. Emerg. Sel. Top. Power Electron. 2013, 1, 3–10. [Google Scholar] [CrossRef]
- Dmitrievskii, V.; Prakht, V.; Kazakbaev, V.; Sarapulov, S. Optimal Design of a High-Speed Single-Phase Flux Reversal Motor for Vacuum Cleaners. Energies 2018, 11, 3334. [Google Scholar] [CrossRef]
- Cui, J.; Xiao, W.; Wang, L.; Feng, H.; Zhao, J.; Wang, H. Optimization design of low-speed surface-mounted PMSM for pumping unit. Int. J. Appl. Electromagn. Mech. 2014, 46, 217–228. [Google Scholar] [CrossRef]
- Cho, S.; Ahn, H.; Ham, H.S.; Jin, S.C.; Lee, G.S.; Lee, J. Design of Fan-shape Type PMSM for Improving Efficiency of Non-rare Earth Motor. Trans. Korean. Inst. Electr. Eng. 2016, 65, 360–364. [Google Scholar]
- Liu, X.; Lin, Q.; Fu, W. Optimal Design of Permanent Magnet Arrangement in Synchronous Motors. Energies 2017, 10, 1700. [Google Scholar] [CrossRef]
- Hu, J.; Zheng, L.; Jia, M.; Zhang, Y.; Pang, T. Optimization and Model Validation of Operation Control Strategies for a Novel Dual-Motor Coupling-Propulsion Pure Electric Vehicle. Energies 2018, 11, 754. [Google Scholar] [CrossRef]
- Ruan, J.; Song, Q. A Novel Dual-Motor Two-Speed Direct Drive Battery Electric Vehicle Drivetrain. IEEE Access 2019, 7, 54330–54342. [Google Scholar] [CrossRef]
- Gao, B.; Liang, Q.; Xiang, Y.; Guo, L.; Chen, H. Gear ratio optimization and shift control of 2-speed I-AMT in electric vehicle. Mech. Syst. Signal. Process. 2015, 50-51, 615–631. [Google Scholar] [CrossRef]
- Bose, B.K.; Patel, N.R.; Rajashekara, K. A neuro-fuzzy-based on-line efficiency optimization control of a stator flux-oriented direct vector-controlled induction motor drive. IEEE Trans. Ind. Electron. 1997, 44, 270–273. [Google Scholar] [CrossRef]
- Ta, C.M.; Hori, Y. Convergence improvement of efficiency-optimization control of induction motor drives. IEEE Trans. Ind. Appl. 2001, 37, 1746–1753. [Google Scholar]
- Zhao, J.; Hua, M.; Liu, T. Research on a Sliding Mode Vector Control System Based on Collaborative Optimization of an Axial Flux Permanent Magnet Synchronous Motor for an Electric Vehicle. Energies 2018, 11, 3116. [Google Scholar] [CrossRef]
- Cavallaro, C.; Di Tommaso, A.O.; Miceli, R.; Raciti, A.; Galluzzo, G.R.; Trapanese, M. Efficiency enhancement of permanent-magnet synchronous motor drives by online loss minimization approaches. IEEE Trans. Ind. Electron. 2005, 52, 1153–1160. [Google Scholar] [CrossRef]
- Morimoto, S.; Tong, Y.; Takeda, Y.; Hirasa, T. Loss Minimization Control of Permanent-Magnet Synchronous Motor-Drives. IEEE Trans. Ind. Electron. 1994, 41, 511–517. [Google Scholar] [CrossRef]
- Lee, J.; Nam, K.; Choi, S.; Kwon, S. Loss-Minimizing Control of PMSM With the Use of Polynomial Approximations. IEEE Trans. Power Electron. 2009, 24, 1071–1082. [Google Scholar]
- Rabiei, A.; Thiringer, T.; Lindberg, J. Maximizing the Energy Efficiency of a PMSM for Vehicular Applications Using an Iron Loss Accounting Optimization Based on Nonlinear Programming. In Proceedings of the 2012 XXth International Conference on Electrical Machines, Marseille, France, 2–5 September 2012; pp. 1001–1007. [Google Scholar]
- Prabhakar, K.K.; Chinthakunta, U.R.; Singh, A.K.; Kumar, P. Efficiency and performance analysis of DTC-based IM drivetrain using variable dc-link voltage for electric vehicle applications. IET Electr. Syst. Transport. 2018, 8, 205–214. [Google Scholar] [CrossRef]
- Deng, W.; Zhao, Y.; Wu, J. Energy Efficiency Improvement via Bus Voltage Control of Inverter for Electric Vehicles. IEEE Trans. Veh. Technol. 2017, 66, 1063–1073. [Google Scholar] [CrossRef]
- Andersson, A.; Thiringer, T. IEEE Inverter Losses Minimization Using Variable Switching Frequency Based On Multi-objective Optimization. In Proceedings of the 2014 International Conference on Electrical Machines (ICEM), Berlin, Germany, 2–5 September 2014; pp. 789–795. [Google Scholar]
- Sruthi, M.P.; Nagamani, C.; Ilango, G.S. An improved algorithm for direct computation of optimal voltage and frequency for induction motors. Eng. Sci. Technol. Int. J. 2017, 20, 1439–1449. [Google Scholar] [CrossRef]
- Khoury, G.; Ghosn, R.; Khatounian, F.; Fadel, M.; Tientcheu, M. An energy-efficient scalar control taking core losses into account. Int. J. Comput. Math. Electr. Electr. Eng. 2018, 37, 849–867. [Google Scholar] [CrossRef]
- Choudhary, P.K.; Dubey, S.P. Energy efficient operation of induction motor drives: Economic and environmental analysis in cement manufacturing. Environ. Prog. Sustain. Energ. 2019, 38, 672–679. [Google Scholar] [CrossRef]
- Ding, X.; Guo, H.; Xiong, R.; Chen, F.; Zhang, D.; Gerada, C. A new strategy of efficiency enhancement for traction systems in electric vehicles. Appl. Energ. 2017, 205, 880–891. [Google Scholar] [CrossRef]
- Guo, Q.; Zhang, C.; Li, L.; Gerada, D.; Zhang, J.; Wang, M. Design and implementation of a loss optimization control for electric vehicle in-wheel permanent-magnet synchronous motor direct drive system. Appl. Energ. 2017, 204, 1317–1332. [Google Scholar] [CrossRef]
- Cui, Y.; Zhang, W.; Tolbert, L.M.; Costinett, D.J.; Wang, F.; Blalock, B.J. Two Phase Interleaved ISOP Connected High Step Down Ratio Phase Shift Full Bridge DC/DC Converter with GaN FETs. In Proceedings of the 2015 Thirtieth Annual IEEE Applied Power Electronics Conference and Exposition, Charlotte, NC, USA, 15–19 March 2015; pp. 1414–1419. [Google Scholar]
- Michal, V. Three-Level PWM Floating H-Bridge Sinewave Power Inverter for High-Voltage and High-Efficiency Applications. IEEE Trans. Power Electron. 2016, 31, 4065–4074. [Google Scholar] [CrossRef]
- Wang, Z.Q.; Cui, F.Y.; Zhang, G.Z.; Shi, T.N.; Xia, C.L. Novel Carrier-Based PWM Strategy with Zero-Sequence Voltage Injected for Three-Level NPC Inverter. IEEE J. Emerg. Sel. Topics Power Electron. 2016, 4, 1442–1451. [Google Scholar] [CrossRef]
- Tam-Khanh Tu, N.; Nho-Van, N.; Prasad, N.R. Novel Eliminated Common-Mode Voltage PWM Sequences and an Online Algorithm to Reduce Current Ripple for a Three-Level Inverter. IEEE Trans. Power Electron. 2017, 32, 7482–7493. [Google Scholar]
- Eduardo Quintal-Palomo, R.; Gwozdziewicz, M.; Dybkowski, M. Modelling and co-simulation of a permanent magnet synchronous generator. Int. J. Comput. Math. Electr. Electr. Eng. 2019, 38, 1904–1917. [Google Scholar] [CrossRef]
- Gu, J.; Ouyang, M.; Lu, D.; Li, J.; Lu, L. Energy Efficiency Optimization of Electric Vehicle Driven by In-Wheel Motors. Int. J. Auto. Tech. 2013, 14, 763–772. [Google Scholar] [CrossRef]
- Fernandez-Bernal, F.; Garcia-Cerrada, A.; Faure, R. Determination of parameters in interior permanent-magnet synchronous motors with iron losses without torque measurement. Ieee Trans. Ind. Appl. 2001, 37, 1265–1272. [Google Scholar] [CrossRef]
- Kolar, J.W.; Zach, F.C. Losses in PWM Inverters using IGBTS. IEE P.-Electr. Power Appl. 1995, 142, 285–288. [Google Scholar] [CrossRef]
- Sun, T.; Kwon, S.-O.; Lee, J.-J.; Hong, J.-P. Investigation and Comparison of System Efficiency on the PMSM Considering Nd-Fe-B Magnet and Ferrite Magnet. In Proceedings of the Intelec 09–31st International Telecommunications Energy Conference, Incheon, South Korea, 18–22 October 2009; pp. 181–186. [Google Scholar]
- 6MBI100VX-120-50 Datasheet–Fuji Electric. Available online: https://www.alldatasheet.com/datasheet-pdf/pdf/463685/FUJI/6MBI100VX-120-50.html (accessed on 6 June 2019).
- Abdelrahem, M.; Hackl, C.M.; Kennel, R. Implementation and experimental investigation of a sensorless field-oriented control scheme for permanent-magnet synchronous generators. Electr. Eng. 2018, 100, 849–856. [Google Scholar] [CrossRef]
- Wang, F.X.; Zhang, Z.B.; Mei, X.Z.; Rodriguez, J.; Kennel, R. Advanced Control Strategies of Induction Machine: Field Oriented Control, Direct Torque Control and Model Predictive Control. Energies 2018, 11, 120. [Google Scholar] [CrossRef]
- Deng, T.; Su, Z.; Li, J.; Tang, P.; Chen, X.; Liu, P. Advanced Angle Field Weakening Control Strategy of Permanent Magnet Synchronous Motor. IEEE Trans. Veh. Tech. 2019, 68, 3424–3435. [Google Scholar] [CrossRef]


















| Parameter | Value |
|---|---|
| Peak power | 46.5 KW |
| Rated speed | 2880 rpm |
| Peak torque | 154.2 Nm |
| Pole number | 4 |
| Rated voltage | 600 V |
| Peak current | 200 A |
| Rotor flux linkage | 0.0642 Wb |
| dq-axis inductance | 7.0743 × 10−4 H |
| Traditional Control Strategy | |||||
|---|---|---|---|---|---|
| Speed (rpm) | Torque (Nm) | Inverter Efficiency (%) | Motor Efficiency (%) | EDS Efficiency (%) | |
| 1000 | 120 | 96.3 | 72.2 | 69.5 | |
| 1000 | 60 | 97.0 | 80.8 | 78.4 | |
| 2000 | 120 | 98.0 | 82.4 | 80.7 | |
| 2000 | 60 | 98.4 | 87.6 | 86.2 | |
| 2850 | 120 | 98.0 | 80.8 | 78.6 | |
| 2850 | 60 | 98.9 | 89.7 | 88.6 | |
| 3000 | 100 | 98.7 | 87.6 | 86.4 | |
| 3000 | 50 | 99.0 | 90.3 | 89.4 | |
| 4000 | 80 | 98.7 | 89.2 | 88.1 | |
| 4000 | 40 | 98.4 | 89.1 | 87.7 | |
| 5000 | 80 | 98.7 | 87.8 | 86.4 | |
| 5000 | 40 | 98.2 | 88.1 | 86.5 | |
| 6000 | 60 | 98.8 | 88.5 | 86.5 | |
| 6000 | 30 | 97.9 | 87.9 | 86.1 | |
| Proposed Control Strategy | |||||
| Speed (rpm) | Torque (Nm) | Inverter Efficiency (%) | Motor Efficiency (%) | EDS Efficiency (%) | EDS Efficiency Improvement (%) |
| 1000 | 120 | 96.4 | 72.5 | 69.8 | 0.3 |
| 1000 | 60 | 96.9 | 81.0 | 78.6 | 0.2 |
| 2000 | 120 | 97.9 | 82.6 | 80.9 | 0.2 |
| 2000 | 60 | 98.3 | 88.0 | 86.6 | 0.4 |
| 2880 | 120 | 98.0 | 80.8 | 78.6 | 0 |
| 2880 | 60 | 98.8 | 90.3 | 89.2 | 0.6 |
| 3000 | 100 | 98.7 | 87.8 | 86.7 | 0.3 |
| 3000 | 50 | 98.9 | 91.0 | 90.0 | 0.6 |
| 4000 | 80 | 99.0 | 90.8 | 89.0 | 0.9 |
| 4000 | 40 | 99.1 | 92.1 | 91.3 | 3.6 |
| 5000 | 80 | 98.9 | 88.9 | 87.6 | 1.2 |
| 5000 | 40 | 99.2 | 93.1 | 92.4 | 5.9 |
| 6000 | 60 | 99.0 | 90.3 | 89.1 | 2.6 |
| 6000 | 30 | 99.2 | 92.0 | 91.0 | 4.9 |
| Time (s) | Traditional Control Efficiency (%) | Proposed Control Efficiency (%) | Efficiency Improvement (%) |
|---|---|---|---|
| 0.05 | 86.2 | 86.6 | 0.3 |
| 0.105 | 80.3 | 80.3 | 0 |
| 0.15 | 82.0 | 82.4 | 0.4 |
| 0.21 | 86.6 | 85.4 | 1.2 |
| 0.25 | 88.7 | 91.0 | 2.3 |
| 0.31 | 87.5 | 89.1 | 1.6 |
| 0.35 | 86.5 | 92.4 | 5.9 |
| 0.41 | 88.0 | 90.5 | 2.5 |
| 0.45 | 86.2 | 92.7 | 6.5 |
| 0.5 | 86.2 | 92.7 | 6.5 |
© 2020 by the authors. Licensee MDPI, Basel, Switzerland. This article is an open access article distributed under the terms and conditions of the Creative Commons Attribution (CC BY) license (http://creativecommons.org/licenses/by/4.0/).
Share and Cite
Hu, J.; Yang, Y.; Jia, M.; Guan, Y.; Peng, T. A Novel Energy Optimization Control Strategy for Electric Drive System Based on Current Angle. Appl. Sci. 2020, 10, 3778. https://doi.org/10.3390/app10113778
Hu J, Yang Y, Jia M, Guan Y, Peng T. A Novel Energy Optimization Control Strategy for Electric Drive System Based on Current Angle. Applied Sciences. 2020; 10(11):3778. https://doi.org/10.3390/app10113778
Chicago/Turabian StyleHu, Jianjun, Ying Yang, Meixia Jia, Yongjie Guan, and Tao Peng. 2020. "A Novel Energy Optimization Control Strategy for Electric Drive System Based on Current Angle" Applied Sciences 10, no. 11: 3778. https://doi.org/10.3390/app10113778
APA StyleHu, J., Yang, Y., Jia, M., Guan, Y., & Peng, T. (2020). A Novel Energy Optimization Control Strategy for Electric Drive System Based on Current Angle. Applied Sciences, 10(11), 3778. https://doi.org/10.3390/app10113778
