Experimental and Numerical Analysis of Wooden Sonic Crystals Applied as Noise Barriers
Abstract
1. Introduction
2. Noise Barriers Based on Sonic Crystal Concepts
3. Materials and Methods
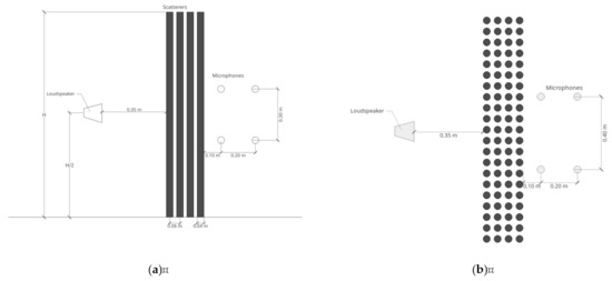
3.1. Laboratory Work
3.2. Numerical Simulations
3.2.1. 3D FEM Models
3.2.2. 2D FEM Models
4. Results and Discussion
4.1. Small-Scale Experimental and Numerical Results
- A barrier 1.2 m tall, with a rectangular arrangement of the scatterers;
- A barrier 0.6 m tall, with a rectangular arrangement of the scatterers;
- A barrier 1.2 m tall, with a triangular arrangement of the scatterers;
- A barrier 0.6 m tall, with a triangular arrangement of the scatterers.
4.2. Numerical Simulation Analyses
4.2.1. Effect of Number of Scatterers
4.2.2. Effect of Scatterers Shape and Size
4.2.3. Effect of Random Variations in the Scatterers
5. Conclusions
Author Contributions
Funding
Data Availability Statement
Conflicts of Interest
References
- Muzet, A. Environmental noise, sleep and health. Sleep Med. Rev. 2007, 11, 135–142. [Google Scholar] [CrossRef] [PubMed]
- Babisch, W. Road traffic noise and cardiovascular risk. Noise Health 2008, 10, 27–33. [Google Scholar] [CrossRef] [PubMed]
- Lercher, P.; Evans, G.W.; Meis, M. Ambient noise and cognitive processes among primary schoolchildren. Environ. Behav. 2003, 35, 725–735. [Google Scholar] [CrossRef]
- Van Kempen, E.; Babisch, W. The quantitative relationship between road traffic noise and hypertension: A meta-analysis. J. Hypertens. 2012, 30, 1075–1086. [Google Scholar] [CrossRef] [PubMed]
- De Kluizenaar, Y.; Janssen, S.A.; van Lenthe, F.J.; Miedema, H.M.; Mackenbach, J.P. Long-term road traffic noise exposure is associated with an increase in morning tiredness. J. Acoust. Soc. Am. 2009, 126, 626–633. [Google Scholar] [CrossRef] [PubMed]
- Licitra, G.; Moro, A.; Teti, L.; Del Pizzo, A.; Bianco, F. Modelling of acoustic ageing of rubberized pavements. Appl. Acoust. 2019, 146, 237–245. [Google Scholar] [CrossRef]
- Garai, M.; Guidorzi, P. European methodology for testing the airborne sound insulation characteristics of noise barriers in situ: Experimental verification and comparison with laboratory data. J. Acoust. Soc. Am. 2000, 108, 1054–1067. [Google Scholar] [CrossRef]
- Asdrubali, F. On the experimental evaluation of the performances of noise barrier diffracting devices. Acta Acust. United Acust. 2007, 93, 659–669. [Google Scholar]
- Lee, J.; Kim, J.; Park, T.; Chang, S.; Kim, I. Reduction Effects of Shaped Noise Barrier for Reflected Sound. J. Civ. Environ. Eng. 2015, 5, 1. [Google Scholar]
- Asdrubali, F.; Pispola, G. Properties of transparent sound-absorbing panels for use in noise barriers. J. Acoust. Soc. Am. 2007, 121, 214–221. [Google Scholar] [CrossRef]
- Gupta, A. A review on sonic crystal, its applications and numerical analysis techniques. Acoust. Phys. 2014, 60, 223–234. [Google Scholar] [CrossRef]
- Peiró-Torres, M.D.P.; Redondo, J.; Bravo, J.M.; Pérez, J.S. Open noise barriers based on sonic crystals. Advances in noise control in transport infrastructures. Transp. Res. Procedia 2016, 18, 392–398. [Google Scholar] [CrossRef]
- Godinho, L.; Santos, P.G.; Amado-Mendes, P.; Pereira, A.; Martins, M. Experimental and numerical analysis of sustainable sonic crystal barriers based on timber logs. In Proceedings of the EuroRegio2016, Porto, Portugal, 13–15 June 2016. [Google Scholar]
- Rayleigh, L. XVII. On the maintenance of vibrations by forces of double frequency, and on the propagation of waves through a medium endowed with a periodic structure. Lond. Edinb. Dublin Philos. Mag. J. Sci. 1887, 24, 145–159. [Google Scholar] [CrossRef]
- Veselago, V.G. The electrodynamics of substances with simultaneously negative values of ε and μ. Sov. Phys. Usp. 1968, 10, 509. [Google Scholar] [CrossRef]
- Yablonovitch, E. Inhibited Spontaneous Emission in Solid-State Physics and Electronics. Phys. Rev. Lett. 1987, 58, 2059. [Google Scholar] [CrossRef] [PubMed]
- John, S. Strong localization of photons in certain disordered dielectric superlattices. Phys. Rev. Lett. 1987, 58, 2486. [Google Scholar] [CrossRef]
- Kittel, C. Introduction to Solid State Physics, 8th ed.; Wiley: New York, NY, USA, 2005. [Google Scholar]
- Martínez-Sala, R.; Sancho, J.; Sánchez, J.V.; Gómez, V.; Llinares, J.; Meseguer, F. Sound attenuation by sculpture. Nature 1995, 378, 241. [Google Scholar] [CrossRef]
- Sigalas, M.M.; Economou, E.N. Attenuation of multiple-scattered sound. Europhys. Lett. 1996, 36, 241. [Google Scholar] [CrossRef]
- Fredianelli, L.; Del Pizzo, A.; Licitra, G. Recent Developments in Sonic Crystals as Barriers for Road Traffic Noise Mitigation. Environments 2019, 6, 14. [Google Scholar] [CrossRef]
- Hirsekorn, M.; Delsanto, P.P.; Batra, N.K.; Matic, P. Modelling and simulation of acoustic wave propagation in locally resonant sonic materials. Ultrasonics 2004, 42, 231–235. [Google Scholar] [CrossRef]
- Morandi, F.; Marzani, A.; De Cesaris, S.; Barbaresi, L.; Garai, M. Sonic crystals as tunable noise barriers. Riv. Ital. Acust. 2017, 40, 1–19. [Google Scholar]
- Iannace, G.; Ciaburro, G.; Trematerra, A. Metamaterials acoustic barrier. Appl. Acoust. 2021, 181, 108172. [Google Scholar] [CrossRef]
- ISO 717-1; Acoustics—Rating of Sound Insulation in Buildings and of Building Elements—Part 1: Airborne Sound Insulation. ISO, International Organization for Standardization: Geneve, Switzerland, 2013.
- EN 1793-3; Road Traffic Noise Reducing Devices—Test Method for Determining the Acoustic Performance—Part 3: Normalized Traffic Noise Spectrum. CEN, European Standard: Brussels, Belgium, 1997.
- Santos, P.; Carbajo, J.; Rui, D.; Godinho, L.; Mendes, P.A.; Soriano, J.R. Insertion loss provided by sonic crystal type barrier—Experimental and numerical evaluation on a reduced scale model. In Proceedings of the 45° Congreso Espanol de Acustica, Murcia, Spain, 29–31 October 2014. [Google Scholar]
- Amado-Mendes, P.; Godinho, L.; Santos, P.G.; Dias, A.G.; Martins, M. Laboratory and full-scale experimental evaluation of the acoustic behaviour of sonic crystal noise barriers. In Proceedings of the International Congress on Acoustics, Buenos Aires, Argentina, 5–9 September 2016. [Google Scholar]
- Morandi, F.; Miniaci, M.; Marzani, A.; Barbaresi, L.; Garai, M. Standardised acoustic characterisation of sonic crystals noise barriers: Sound insulation and reflection properties. Appl. Acoust. 2016, 114, 294–306. [Google Scholar] [CrossRef]
- Pichard, H.; Richoux, O.; Groby, J.P. Experimental demonstrations in audible frequency range of band gap tunability and negative refraction in two-dimensional sonic crystal. J. Acoust. Soc. Am. 2012, 132, 2816–2822. [Google Scholar] [CrossRef]
- Cavalieri, T.; Cebrecos, A.; Groby, J.P.; Chaufour, C.; Romero-García, V. Three-dimensional multiresonant lossy sonic crystal for broadband acoustic attenuation: Application to train noise reduction. Appl. Acoust. 2019, 146, 1–8. [Google Scholar] [CrossRef]
- Rubio, C.; Castiñeira-Ibáñez, S.; Uris, A.; Belmar, F.; Candelas, P. Numerical simulation and laboratory measurements on an open tunable acoustic barrier. Appl. Acoust. 2018, 141, 144–150. [Google Scholar] [CrossRef]
- Alagoz, S. A sonic crystal diode implementation with a triangular scatterer matrix. Appl. Acoust. 2014, 76, 402–406. [Google Scholar] [CrossRef]
- Koussa, F.; Defrance, J.; Jean, P.; Blanc-Benon, P. Acoustical efficiency of a sonic crystal assisted noise barrier. Acta Acust. United Acust. 2013, 99, 399–409. [Google Scholar] [CrossRef]
- Koussa, F.; Defrance, J.; Jean, P.; Blanc-Benon, P. Transport noise reduction by low height sonic crystal noise barriers. In Proceedings of the Société Française d’Acoustique, Nantes, France, 23 April 2012. [Google Scholar]
- Lee, H.M.; Lim, K.M.; Lee, H.P. A maze structure for sound attenuation. Appl. Acoust. 2017, 115, 88–92. [Google Scholar] [CrossRef]
- Gulia, P.; Gupta, A. Traffic Noise Control by Periodically Arranged Trees. In Proceedings of the International Conference on Recent Trends and Developments in Environmental Sustainability RTDES 2016, Chandigarh, India, 16 May 2016. [Google Scholar]
- Martínez-Sala, R.; Rubio, C.; García-Raffi, L.M.; Sánchez-Pérez, J.V.; Sánchez-Pérez, E.A.; Llinares, J. Control of noise by trees arranged like sonic crystals. J. Sound Vib. 2006, 291, 100–106. [Google Scholar] [CrossRef]
- Godinho, L.; Redondo, J.; Amado-Mendes, P. The method of fundamental solutions for the analysis of infinite 3D sonic crystals. Eng. Anal. Bound. Elem. 2019, 98, 172–183. [Google Scholar] [CrossRef]
- Jean, P.; Defrance, J. Sound propagation in rows of cylinders of infinite extent: Application to sonic crystals and thickets along roads. Acta Acust. United Acust. 2015, 101, 474–483. [Google Scholar] [CrossRef]
- Morgado, T.; Rodrigues, J.; Machado, J.S.; Dias, A.M.P.G.; Cruz, H. Bending and Compression strength of Portuguese Maritime pine small-diameter poles. For. Prod. J. 2009, 59, 23–28. [Google Scholar]
- Atalla, N.; Sgard, F. Finite Element and Boundary Methods in Structural Acoustics and Vibration, 1st ed.; CRC Press: Boca Raton, FL, USA, 2015. [Google Scholar]


















Disclaimer/Publisher’s Note: The statements, opinions and data contained in all publications are solely those of the individual author(s) and contributor(s) and not of MDPI and/or the editor(s). MDPI and/or the editor(s) disclaim responsibility for any injury to people or property resulting from any ideas, methods, instructions or products referred to in the content. |
© 2023 by the authors. Licensee MDPI, Basel, Switzerland. This article is an open access article distributed under the terms and conditions of the Creative Commons Attribution (CC BY) license (https://creativecommons.org/licenses/by/4.0/).
Share and Cite
D’Orazio, T.; Asdrubali, F.; Godinho, L.; Veloso, M.; Amado-Mendes, P. Experimental and Numerical Analysis of Wooden Sonic Crystals Applied as Noise Barriers. Environments 2023, 10, 116. https://doi.org/10.3390/environments10070116
D’Orazio T, Asdrubali F, Godinho L, Veloso M, Amado-Mendes P. Experimental and Numerical Analysis of Wooden Sonic Crystals Applied as Noise Barriers. Environments. 2023; 10(7):116. https://doi.org/10.3390/environments10070116
Chicago/Turabian StyleD’Orazio, Tommaso, Francesco Asdrubali, Luís Godinho, Matheus Veloso, and Paulo Amado-Mendes. 2023. "Experimental and Numerical Analysis of Wooden Sonic Crystals Applied as Noise Barriers" Environments 10, no. 7: 116. https://doi.org/10.3390/environments10070116
APA StyleD’Orazio, T., Asdrubali, F., Godinho, L., Veloso, M., & Amado-Mendes, P. (2023). Experimental and Numerical Analysis of Wooden Sonic Crystals Applied as Noise Barriers. Environments, 10(7), 116. https://doi.org/10.3390/environments10070116

