The Role of Cover Thickness in the Rainfall-Induced Landslides of Nocera Inferiore 2005
Abstract
1. Introduction
2. Geomorphological and Climatological Contexts
2.1. Geomorphological Context
2.2. Climatological Context and Impact on Landslides
2.3. Materials
3. Methods
3.1. Stability Conditions
- An extremely rapid kinematic was observed, which indicates unequivocally the occurrence of extensive liquefaction phenomena, in turn necessarily related to a state approaching full saturation and suction vanishing at any depth.
3.2. Mathematical-Numerical Model
- Richards’ equation (1931) [52] was adopted to reproduce transient water flux conditions throughout the unsaturated domain, induced by incoming and outcoming meteorological fluxes; under such assumptions, the effects of deformational processes are neglected.
- Hourly rainfall is translated into hydraulic boundary conditions; a water flux condition equal to rainfall intensity is maintained at the uppermost surface if surface pore water pressure is less than zero; otherwise, a null pore water pressure condition is assumed. The latter is then maintained until entering water fluxes are less than the rainfall intensity, otherwise entering flux is again switched at the rainfall intensity.
- Air temperature and air relative humidity are used to estimate actual evaporation flux, AE. For the sake of simplicity, all terms of internal evaporation are neglected, including that related to transpiration, although the presence of vegetation was implicitly taken into account in the criterion identifying cover instability. AE is then considered only acting at the boundary and is computed through several steps: evaluation of reference evaporation, ET0, quantified from weather data only (air temperature and relative humidity); computation of potential evaporation, PE, from bare soil, by applying the crop coefficient to ET0 (PE = kcrop × ET0; kcrop = 1.15, as found by Rianna et al., [33]); and characterization of a falling law for PE, consistent with available pore water at the uppermost surface and with a suction threshold, which may not exceed the value associated with thermodynamic equilibrium [51].
- Surface seepage is applied at the bottom boundary. For the case in hand, this condition corresponds to the effects induced by the intensely fractured bedrock standing at the bottom of the silty volcanic layer. This same condition simulates, in general, the presence of a capillary barrier at the bottom of a silty layer and may hence be used to simulate the lowermost boundary condition of a silty layer overlaying a pumice layer. This is the case of the gentle slopes of the Lattari Mountains (see Section 2.1) and of many other geomorphological contexts surrounding volcanic areas [35].
- 1.A: assumption of an initial suction distribution (suA0) throughout the domain at the beginning of the critical event (4th March 2005);
- 2.A: simulation of the critical event.
- 1.B: assumption of an initial suction distribution (suB0) at the beginning of the hydrological year (1st September);
- 2.B: simulating an antecedent meteorological evolution from the beginning of the hydrological year until the beginning of the critical event;
- 3.B: simulation of the critical event.
4. Results
4.1. Analysis of Set A
4.2. Analysis of Set B
4.3. Analysis of Set C
4.4. Analysis of Set D
4.5. Instability of Subdomains
5. Discussion
6. Conclusions
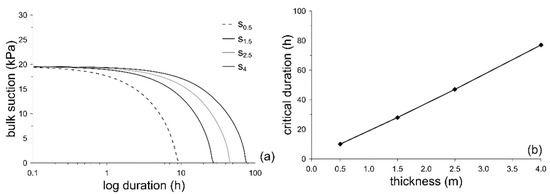
- if the antecedent meteorological evolution is neglected, starting from initial conditions in terms of domain imbibition typical of late autumnal periods, the relationship can be assumed to be linear;
- if the effects of an antecedent meteorological evolution, severe in terms of rainfall amount, is taken into account, the impact of the domain thickness is significantly more relevant and the relationship follows a quadratic trend;
- the influence of antecedent meteorological evolution implies that for relevant domain thicknesses the date of the critical event plays a crucial role;
- slight changes in hydraulic conductivity at saturation do not significantly affect results;
- the correct quantification of the critical event for domains thicker than 2 m requires that the antecedent meteorological evolution longer than one year is considered;
- under the same thickness, the duration of the critical event is strongly affected by the hydraulic boundary condition assumed at the lowermost boundary.
Author Contributions
Funding
Acknowledgments
Conflicts of Interest
References
- Haque, U.; da Silva, P.F.; Devoli, G.; Pilz, J.; Zhao, B.; Khaloua, A.; Wilopo, W.; Andersen, P.; Lu, P.; Lee, J.; et al. The human cost of global warming: Deadly landslides and their triggers (1995–2014). Sci. Total Environ. 2019, 682, 673–684. [Google Scholar] [CrossRef]
- Ruangpan, L.; Vojinovic, Z.; Di Sabatino, S.; Leo, L.S.; Capobianco, V.; Oen, A.M.P.; McClain, M.E.; Lopez-Gunn, E. Nature-based solutions for hydro-meteorological risk reduction: A state-of-the-art review of the research area. Nat. Hazard. Earth Syst. Sci. 2020, 20, 243–270. [Google Scholar] [CrossRef]
- Greco, R.; Pagano, L. Basic features of the predictive tools of early warning systems for water-related natural hazards: Examples for shallow landslides. Nat. Hazard. Earth Syst. Sci. 2017, 17, 2213–2227. [Google Scholar] [CrossRef]
- Hojat, A.; Arosio, D.; Ivanov, V.; Longoni, L.; Papini, M.; Scaioni, M.; Tresoldi, G.; Zanzi, L. Geoelectrical characterization and monitoring of slopes on a rainfall-triggered landslide simulator. J. Appl. Geophys. 2019, 170. [Google Scholar] [CrossRef]
- Ivanov, V.; Arosio, D.; Tresoldi, G.; Hojat, A.; Zanzi, L.; Papini, M.; Longoni, L. Investigation on the Role of Water for the Stability of Shallow Landslides—Insights from Experimental Tests. Water 2020, 12, 1203. [Google Scholar] [CrossRef]
- Bilotta, E.; Cascini, L.; Foresta, V.; Sorbino, G. Geotechnical characterization of pyroclastic soils involved in huge flowslides. Geotech. Geol. Eng. 2005, 23, 365–402. [Google Scholar] [CrossRef]
- Olivares, L.; Picarelli, L. Shallow flowslides triggered by intense rainfalls on natural slopes covered by loose unsaturated pyroclastic soils. Geotechnique 2003, 53, 283–287. [Google Scholar] [CrossRef]
- Pagano, L.; Picarelli, L.; Rianna, G.; Urciuoli, G. A simplified approach for timely prediction of precipitation-induced landslides in unsaturated pyroclastic soils. Landslides 2010, 7, 273–289. [Google Scholar] [CrossRef]
- De Riso, R.; Budetta, P.; Calcaterra, D.; Santo, A.; Del Prete, S.; De Luca, C.; Di Crescenzo, G.; Guarino, P.M.; Mele, R.; Palma, B.; et al. Fenomeni di instabilità dei Monti Lattari e nell’area Flegrea (Campania): Scenari di sucettibilità da frana in area campione. Quaderni Geologia Applicata 2004, 11, 1–30. [Google Scholar]
- Matano, F.; De Chiara, G.; Ferlisi, S.; Cascini, L. Thickness of pyroclastic cover beds: The case study of Mount Albino (Campania region, southern Italy). J. Maps 2016, 12, 79–87. [Google Scholar] [CrossRef]
- De Vita, P.; Agrello, D.; Ambrosino, F. Landslide susceptibility assessment in ash-fall pyroclastic deposits surrounding Mount Somma-Vesuvius: Application of geophysical surveys for soil thickness mapping. J. Appl. Geophys. 2006, 59, 126–139. [Google Scholar] [CrossRef]
- Lucà, F.; Buttafuoco, G.; Robustelli, G.; Malafronte, A. Spatial modelling and uncertainty assessment of pyroclastic cover thickness in the Sorrento Peninsula. Environ. Earth Sci. 2014, 72, 3353–3367. [Google Scholar] [CrossRef]
- Del Soldato, M.; Pazzi, V.; Segoni, S.; De Vita, P.; Tofani, V.; Moretti, S. Spatial modeling of pyroclastic cover deposit thickness (depth to bedrock) in peri-volcanic areas of Campania (southern Italy). Earth Surf. Process. Landforms 2018, 43, 1757–1767. [Google Scholar] [CrossRef]
- Papa, R. Indagine Sperimentale Sulla Coltre Piroclastica di un Versante della Campania. Ph.D. Thesis, University of Naples “Federico II”, Naples, Italy, 2007. [Google Scholar]
- Picarelli, L.; Evangelista, A.; Rolandi, G.; Paone, A.; Nicotera, M.V.; Olivares, L.; Scotto di Santolo, A.; Lampitiello, S.; Rolandi, M. Mechanical properties of pyroclastic soils in Campania Region. In Proceedings of the 2nd International Workshop on Characterisation and Engineering Properties of Natural Soils, Singapore, 29 November–1 December 2006; Tan, T.S., Phoon, K.K., Hight, D.W., Leroueil, S., Eds.; CRC Press: London, UK, 2006; pp. 2331–2383. [Google Scholar]
- Papa, R.; Evangelista, A.; Nicotera, M.V.; Urciuoli, G. Mechanical properties of unsaturated pyroclastic soils affected by fast landslide phenomena. In Proceedings of the 1st European Conference on Unsaturated Soil, Durham, UK, 2–4 July 2008; Taylor and Francis Group plc: London, UK, 2008; pp. 917–923. [Google Scholar]
- Papa, R.; Nicotera, M.V. Shear strength of a pyroclastic unsaturated soil from suction-controlled direct shear tests. In Proceedings of the 5th International Conference on Unsaturated Soils—Unsaturated Soils, Barcelona, Spain, 6–8 September 2010; Alonso, E., Gens, A., Eds.; CRC Press/Balkema: Boka Raton, FL, USA, 2001; Volume 1, pp. 347–352. [Google Scholar]
- Damiano, E.; Olivares, L. The role of infiltration processes in steep slopes stability of pyroclastic granular soils: Laboratory and numerical investigation. Nat. Hazard. 2010, 52, 329–350. [Google Scholar] [CrossRef]
- Rotisciani, G.M.; di Prisco, C.; Desideri, A. Numerical analysis of wetting-induced instabilities in partially saturated soils under plane strain conditions. Int. J. Numer. Anal. Method. Geomech. 2019, 43, 1867–1884. [Google Scholar] [CrossRef]
- Olivares, L. Static liquefaction: An hypothesis for explaining transition from slide to flow in pyroclastic soils. In Proceedings of the Transition from Slide to Flow: Mechanisms and Remedial Measures, Trabzon, Turkey, 25–26 August 2001; [CD-ROM]. Karadeniz Technical University: Trabzon, Turkey, 2001. [Google Scholar]
- Olivares, L.; Picarelli, L. Susceptibility of loose pyroclastic soils to static liquefaction: Some preliminary data. In Proceedings of International Conference on Landslides—Causes, Impacts and Countermeasures, Davos, Switzerland, 17–21 June 2001; Kühne, M., Einstein, H.H., Krauter, E., Klapperich, H., Pöttler, R., Eds.; Verlag Gluckaüf: Essen, Germany, 2001; pp. 75–85. [Google Scholar]
- Nicotera, M.V.; Papa, R. Comportamento idraulico e meccanico della serie piroclastica di Monteforte Irpino. In Piattaforme Evolute di Telecomunicazioni e di Information Technology per l’Offerta di Servizi al settore Ambiente PETITOSA; Aracne Eds: Rome, Italy, 2007; pp. 272–288. [Google Scholar]
- Pirone, M.; Papa, R.; Nicotera, M.V.; Urciuoli, G. Soil water balance in an unsaturated pyroclastic slope for evaluation of soil hydraulic behaviour and boundary conditions. J. Hydrol. 2015, 528, 63–83. [Google Scholar] [CrossRef]
- Sorbino, G.; Foresta, V. Unsaturated hydraulic characteristics of pyroclastic soils. In Unsaturated Soils; Jucà, J.F.T., de Campos, T.M.P., Marinho, F.A.M., Eds.; CRC Press/A.A. BAlkema: Rotterdam, The Netherlands, 2002; Volume 1, pp. 405–410. [Google Scholar]
- Pagano, L.; Zingariello, M.C.; Vinale, F. A large physical model to simulate flowslides in pyroclastic soils. In Proceedings of the 1st European Conference on Unsaturated Soils: Unsaturated Soils—Advances in Geo-engineering, Durham, UK, 2–4 July 2008; Toll, D.G., Augarde, C.E., Gallipoli, D., Wheeler, S.J., Eds.; CRC Press: Boca Raton, FL, USA; pp. 111–115.
- Olivares, L.; Damiano, E.; Greco, R.; Zeni, L.; Picarelli, L.; Minardo, A.; Guida, A.; Bernini, R. An instrumented flume to investigate the mechanics of rainfall-induced landslides in unsaturated granular soils. Geotech. Test. J. 2009, 32, 108–118. [Google Scholar]
- Rojas, J.C.; Pagano, L.; Zingariello, M.C.; Mancuso, C.; Giordano, G.; Passeggio, G. A new high capacity tensiometer: First results. In Proceedings of the I European Conference on Unsaturated Soils, Durham, UK, 2–4 July 2008; CRC Press—Taylor & Francis Group: London, UK; pp. 205–211.
- Comegna, L.; Avolio, B.; Damiano, E.; Olivares, L.; Picarelli, L. Risposta idrologica di un deposito piroclastico parzialmente saturo. In Proceedings of the Incontro Annuale dei Ricercatori di Geotecnica (IARG), Padova, Italy, 2–4 July 2012. [Google Scholar]
- Pirone, M.; Damiano, E.; Picarelli, L.; Olivares, L.; Urciuoli, G. Groundwater-atmosphere interaction in unsaturated pyroclastic slopes at two sites in Italy. Italian Geotech. J. 2012, 3, 29–50. [Google Scholar]
- Pirone, M.; Papa, R.; Nicotera, M.V.; Urciuoli, G. In situ monitoring of the groundwater field in an unsaturated pyroclastic slope for slope stability evaluation. Landslides 2015, 12, 259–276. [Google Scholar] [CrossRef]
- Rotisciani, G.M.; Sciarra, G.; Casini, F.; Desideri, A. Modeling rainfall infiltration through coarse and fine-grained unsaturated geomaterials. In Unsaturated Soils: Research & Applications; Khalili, N., Russell, A., Khoshghalb, A., Eds.; CRC Press: Boca Raton, FL, USA, 2014; Volume 1, pp. 521–528. [Google Scholar]
- Reder, A. Interazione Delle Coltri Piroclastiche Con L’Atmosfera e il Substrato. Ph.D. Thesis, University of Naples “Federico II”, Naples, Italy, 2016. [Google Scholar]
- Rianna, G.; Pagano, L.; Urciuoli, G. Investigation of soil-atmosphere interaction in pyroclastic soils. J. Hydrol. 2014, 510, 480–492. [Google Scholar] [CrossRef]
- Reder, A.; Rianna, G.; Pagano, L. Physically based approaches incorporating evaporation for early warning predictions of rainfull-induced landslides. Nat. Hazard. Earth Syst. Sci. 2018, 18, 613–631. [Google Scholar] [CrossRef]
- Reder, A.; Pagano, L.; Picarelli, L.; Rianna, G. The role of the lowermost boundary conditions in the hydrological responde of shallow sloping covers. Landslides 2017, 14, 861–873. [Google Scholar] [CrossRef]
- Kim, M.S.; Onda, Y.; Uchida, T.; Kim, J.K. Effects of soil depth and subsurface flow along the subsurface topography on shallow landslide predictions at the site of a small granitic hillslope. Geomorphology 2016, 271, 40–54. [Google Scholar] [CrossRef]
- Uchida, T.; Tamura, K.; Akiyama, K. The role of grid cell size, flow routing algorithm and spatial variability of soil depth on shallow landslide prediction. Italian J. Eng. Geol. Environ. 2011, 11, 149–157. [Google Scholar] [CrossRef]
- Lanni, C.; Mcdonnell, J.; Hopp, L.; Rigon, R. Simulated effect of soil depth and bedrock topography on near-surface hydrologic response and slope stability. Earth Surf. Process. Landf. 2013, 38, 146–159. [Google Scholar] [CrossRef]
- Di Crescenzo, G.; Melania de Falco, M.; Iervolino, V.; Rinaldi, S.; Santangelo, N.; Santo, A. Proposal of a new semiquantitative methodology for flowslides triggering susceptibility assessment in the carbonate slope contexts of Campania (southern Italy). Italian J. Eng. Geol. Environ. 2008, 1, 63–81. [Google Scholar]
- Lu, N.; Godt, J.W. Infinite slope stability under steady unsaturated seepage conditions. Water Resour Res. 2008, 44, W11404. [Google Scholar] [CrossRef]
- De Vita, P.; Celico, P.; Siniscalchi, M.; Panza, R. Distribution, hydrogeological features and landslide hazard of pyroclastic soils on carbonate slopes in the area surrounding Mount Somma-Vesuvius. Italian J. Eng. Geol. Environ. 2006, 1, 1–24. [Google Scholar]
- De Vita, P.; Napolitano, E.; Godt, J.W.; Baum, R. Deterministic estimation of hydrological thresholds for shallow landslide initiation and slope stability models: Case study from the Somma-Vesuvius area of Southern Italy. Landslides 2013, 10, 713–728. [Google Scholar] [CrossRef]
- De Vita, P.; Fusco, F.; Tufano, R.; Cusano, D. Seasonal and Event-Based Hydrological and Slope Stability Modeling of Pyroclastic Fall Deposits Covering Slopes in Campania (Southern Italy). Water 2018, 10, 1140. [Google Scholar] [CrossRef]
- Di Crescenzo, G.; Santo, A. Analisi geomorfologica delle frane da scorrimento-colata rapida in depositi piroclastici della Penisola Sorrentina (Campania). Geogr. Fis. Din. Quartenario 1999, 22, 57–72. [Google Scholar]
- Revellino, P.; Guerriero, L.; Gerardo, G.; Hungr, O.; Fiorillo, F.; Esposito, L.; Guadagno, F.M. Initiation and propagation of the 2005 debris avalanche at Nocera inferior (Southern Italy). Italian J. Geosci. 2013, 132, 366–379. [Google Scholar] [CrossRef]
- Kottek, M.; Grieser, J.; Beck, C.; Rudolf, B.; Rubel, F. World Map of the Köppen–Geiger climate classification updated. Meteorologische Zeitschrift 2006, 15, 259–263. [Google Scholar] [CrossRef]
- Rianna, G.; Pagano, L.; Urciuoli, G. Rainfall patterns triggering flowslides in pyroclastic soils. Eng. Geol. 2014, 174, 22–35. [Google Scholar] [CrossRef]
- Pagano, L.; Reder, A.; Rianna, G. Effects of vegetation on hydrological response of silty volcanic covers. Can. Geotech. J. 2019, 56, 1261–1277. [Google Scholar] [CrossRef]
- De Riso, R.; Budetta, P.; Calcaterra, D.; Santo, A. Riflessioni sul comportamento delle colate rapide non incanalate della Campania, alla luce delle conoscenze pregresse. In Proceedings of the “La Mitigazione del Rischio da Colata di Fango a Sarno e Negli Altri Comuni Colpiti Dagli Eventi del Maggio 1988”, Napoli, Italy, 2–3 May 2005; 2007 Commissariato di governo per l’emergenza idrogeologica in Campania ed Avellino. pp. 81–92. [Google Scholar]
- Allen, R.G.; Pereira, L.S.; Raes, D.; Smith, M. Crop Evapotranspiration (Guidelines for Computing Crop Water Requirements). In FAO Irrigation and Drainage; Food and Agriculture Organization of the United Nations: Rome, Italy, 1998; Paper No. 56. [Google Scholar]
- Wilson, G.W.; Fredlund, D.G.; Barbour, S.L. Coupled soil-atmosphere modelling for soil evaporation. Can. Geotech. J. 1994, 31, 151–161. [Google Scholar] [CrossRef]
- Richards, L.A. Capillary conduction of liquid through porous media. J. Appl. Phys. 1931, 1, 318–333. [Google Scholar]
- Papa, R.; Pirone, M.; Nicotera, M.V.; Urciuoli, G. Meccanismo di innesco di colate di fango in piroclastiti parzialmente sature. In “Rainfall Induced Landslides”, Proceedings of the 1st Italian Workshop on Landslides, Naples, Italy, 8–10 June 2009. [Google Scholar]
- Damiano, E.; Greco, R.; Guida, G.; Olivares, L.; Picarelli, L. Investigation on rainwater infiltration into layered shallow covers in pyroclastic soils and its effect on slope stability. Eng. Geol. 2017, 220, 208–218. [Google Scholar] [CrossRef]
- Simunek, J.; Van Genuchten, M.; Sejna, M. Recent Developments and Applications of the HYDRUS Computer Software Packages. Vadose Zone J. 2013, 15, 1–25. [Google Scholar]















© 2020 by the authors. Licensee MDPI, Basel, Switzerland. This article is an open access article distributed under the terms and conditions of the Creative Commons Attribution (CC BY) license (http://creativecommons.org/licenses/by/4.0/).
Share and Cite
Coppola, L.; Reder, A.; Rianna, G.; Pagano, L. The Role of Cover Thickness in the Rainfall-Induced Landslides of Nocera Inferiore 2005. Geosciences 2020, 10, 228. https://doi.org/10.3390/geosciences10060228
Coppola L, Reder A, Rianna G, Pagano L. The Role of Cover Thickness in the Rainfall-Induced Landslides of Nocera Inferiore 2005. Geosciences. 2020; 10(6):228. https://doi.org/10.3390/geosciences10060228
Chicago/Turabian StyleCoppola, Lucia, Alfredo Reder, Guido Rianna, and Luca Pagano. 2020. "The Role of Cover Thickness in the Rainfall-Induced Landslides of Nocera Inferiore 2005" Geosciences 10, no. 6: 228. https://doi.org/10.3390/geosciences10060228
APA StyleCoppola, L., Reder, A., Rianna, G., & Pagano, L. (2020). The Role of Cover Thickness in the Rainfall-Induced Landslides of Nocera Inferiore 2005. Geosciences, 10(6), 228. https://doi.org/10.3390/geosciences10060228

