N-Acyl Homoserine Lactone Production by the Marine Isolate, Dasania marina
Abstract
1. Introduction
2. Materials and Methods
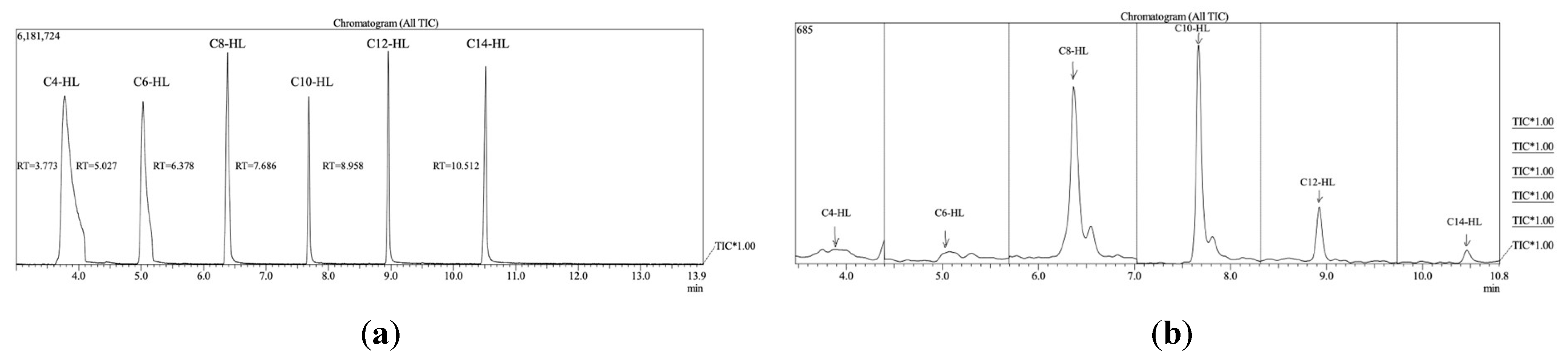
3. Results
4. Discussion
Author Contributions
Funding
Data Availability Statement
Acknowledgments
Conflicts of Interest
Appendix A
| Analyte | RT (min) | MRM Start Time (min) | MRM End Time (min) | Quantification | Qualification | ||
|---|---|---|---|---|---|---|---|
| MRM Transition | Collision Energy | MRM Transition | Collision Energy | ||||
| N-butyryl-l-Homoserine Lactone (C4-AHL) | 3.77 | 3.48 | 4.73 | 172.00 > 71.10 | 11 | 172.00 > 102.10 | 6 |
| N-hexanoyl-l-Homoserine Lactone (C6-AHL) | 5.03 | 4.73 | 5.71 | 200.00 > 102.10 | 4 | 200.00 > 99.10 | 7 |
| N-otonyl-l-Homoserine Lactone (C8-AHL) | 6.38 | 5.71 | 7.05 | 228.00 > 57.10 | 24 | 228.00 > 127.10 | 6 |
| N-decanoyl-Homoserine Lactone (C10-AHL) | 7.69 | 7.05 | 8.34 | 256.00 > 102.10 | 7 | 256.00 > 155.20 | 6 |
| N-dodecanoyl-Homoserine Lactone (C12-AHL) | 8.96 | 8.34 | 9.27 | 284.00 > 102.10 | 6 | 284.00 > 57.10 | 23 |
| N-tetradecanoyl-Homoserine Lactone (C14-AHL) | 10.51 | 9.27 | 10.80 | 312.00 > 102.10 | 6 | 312.00 > 57.10 | 23 |
| Compound | LOD (ppm) | LOQ (ppm) |
|---|---|---|
| C4-AHL | UD | UD |
| C6-AHL | 21.05 | 63.77 |
| C8-AHL | 20.95 | 63.48 |
| C10-AHL | 24.01 | 72.75 |
| C12-AHL | 29.21 | 88.52 |
| C14-AHL | UD | UD |

References
- Preda, V.G.; Săndulescu, O. Communication is the key: Biofilms, quorum sensing, formation and prevention. Discoveries 2019, 7, e100. [Google Scholar] [CrossRef] [PubMed] [PubMed Central]
- Rutherford, S.T.; Bassler, B.L. Bacterial quorum sensing: Its role in virulence and possibilities for its control. Cold Spring Harb. Perspect. Med. 2012, 2, a012427. [Google Scholar] [CrossRef] [PubMed] [PubMed Central]
- Domzalski, A.; Perez, S.D.; Yoo, B.; Velasquez, A.; Vigo, V.; Pasolli, H.A.; Oldham, A.L.; Henderson, D.P.; Kawamura, A. Uncovering potential interspecies signaling factors in plant-derived mixed microbial culture. Bioorg. Med. Chem. 2021, 42, 116254. [Google Scholar] [CrossRef] [PubMed] [PubMed Central]
- Samreen Qais, F.A.; Ahmad, I. Anti-quorum sensing and biofilm inhibitory effect of some medicinal plants against gram-negative bacterial pathogens: In vitro and in silico investigations. Heliyon 2022, 8, e11113. [Google Scholar] [CrossRef] [PubMed] [PubMed Central]
- Escobar-Muciño, E.; Arenas-Hernández, M.M.P.; Luna-Guevara, M.L. Mechanisms of inhibition of quorum sensing as an alternative for the control of E. coli and Salmonella. Microorganisms 2022, 10, 884. [Google Scholar] [CrossRef] [PubMed] [PubMed Central]
- Miranda, S.W.; Asfahl, K.L.; Dandekar, A.A.; Greenberg, E.P. Pseudomonas aeruginosa quorum sensing. Adv. Exp. Med. Biol. 2022, 1386, 95–115. [Google Scholar] [CrossRef] [PubMed] [PubMed Central]
- Kalia, V.C.; Patel, S.K.S.; Lee, J.K. Bacterial biofilm inhibitors: An overview. Ecotoxicol. Environ. Saf. 2023, 264, 115389. [Google Scholar] [CrossRef] [PubMed]
- Shultz, M.P.; Bendick, J.A.; Holm, E.R.; Hertel, W.M. Economic impact of biofouling on a naval surface ship. Biofouling 2011, 27, 87–98. [Google Scholar] [CrossRef] [PubMed]
- Fernandes, J.A.; Santos, L.; Vance, T.; Fileman, T.; Smith, D.; Bishop, J.D.D.; Viard, F.; Queirós, A.M.; Merino, G. Costs and benefits to European shipping of ballast-water and hull fouling treatment: Impacts of native and non-indigenous species. Mar. Policy 2016, 64, 148–155. [Google Scholar] [CrossRef]
- Heyer, A.; D’Souza, F.; Morales, C.F.L.; Ferrari, G.; Mol, J.M.C.; de Wit, J.H.W. Ship ballast tanks: A review from microbial corrosion and electrochemical point of view. Ocean Eng. 2013, 70, 188–200. [Google Scholar] [CrossRef]
- Malalasekara, L.; Henderson, D.P.; Oldham, A.L. A study of biofilm formation in marine bacteria isolated from ballast tank fluids. Trends Res. 2020, 3, 1–7. [Google Scholar] [CrossRef]
- Lee, Y.K.; Hong, S.G.; Cho, H.H.; Cho, K.H.; Lee, H.K. Dasania marina gen. nov., sp. nov., of the order Pseudomonadales, isolated from Arctic marine sediment. J. Microbiol. 2007, 45, 505–509. [Google Scholar] [PubMed]
- Joelsson, A.C.; Zhu, J. LacZ-based detection of acyl-homoserince lactone quorum-sensing signals. Curr. Protoc. Microbiol. 2006, 3, 1C2.1–1C2.9. [Google Scholar] [CrossRef] [PubMed]
- Cha, C.; Gao, P.; Chen, Y.C.; Shaw, P.D.; Farrand, S.K. Production of acyl-homoserine lactone quorum-sensing signals by gram-negative plant-associated bacteria. Mol. Plant-Microbe Interact. 2006, 11, 1119–1129. [Google Scholar] [CrossRef] [PubMed]
- Zhu, J.; Chai, Y.; Zhong, Z.; Li, S.; Winans, S.C. Agrobacterium bioassay strain for ultrasensitive detection of N-acylhomoserine lactone-type quorum-sensing molecules: Detection of autoinducers in Mesorhizobium huakuii. Appl. Environ. Microbiol. 2013, 69, 6949–6953. [Google Scholar] [CrossRef] [PubMed]
- Lee, J.; Zhang, L. The hierarchy quorum sensing network in Pseudomonas aeruginosa. Protein Cell 2015, 6, 26–41. [Google Scholar] [CrossRef] [PubMed] [PubMed Central]
- de Sá, M.C.A.; da Silva, W.M.; Rodrigues, C.C.S.; Rezende, C.P.; Marchioro, S.B.; Rocha Filho, J.T.R.; Sousa, T.J.; de Oliveira, H.P.; da Costa, M.M.; Figueiredo, H.C.P.; et al. Comparative proteomic analyses between biofilm-forming and non-biofilm-forming strains of Corynebacterium pseudotuberculosis isolated from goats. Front. Vet. Sci. 2021, 8, 614011. [Google Scholar] [CrossRef] [PubMed] [PubMed Central]


| Organism | C6 | C8 | C10 | C12 |
|---|---|---|---|---|
| D. marina (isolate SD1D) | UD | 4.46 | 5.12 | 8.72 |
| A. tagae (isolate SD5) | 5.94 | 4.50 | 5.09 | 8.82 |
| A. oceani (isolate SD8) | UD | 4.43 | UD | 8.70 |
Disclaimer/Publisher’s Note: The statements, opinions and data contained in all publications are solely those of the individual author(s) and contributor(s) and not of MDPI and/or the editor(s). MDPI and/or the editor(s) disclaim responsibility for any injury to people or property resulting from any ideas, methods, instructions or products referred to in the content. |
© 2024 by the authors. Licensee MDPI, Basel, Switzerland. This article is an open access article distributed under the terms and conditions of the Creative Commons Attribution (CC BY) license (https://creativecommons.org/licenses/by/4.0/).
Share and Cite
Alimiran, F.; David, S.; Birks, S.; Oldham, A.; Henderson, D. N-Acyl Homoserine Lactone Production by the Marine Isolate, Dasania marina. Microorganisms 2024, 12, 1496. https://doi.org/10.3390/microorganisms12071496
Alimiran F, David S, Birks S, Oldham A, Henderson D. N-Acyl Homoserine Lactone Production by the Marine Isolate, Dasania marina. Microorganisms. 2024; 12(7):1496. https://doi.org/10.3390/microorganisms12071496
Chicago/Turabian StyleAlimiran, Fnu, Samuel David, Scott Birks, Athenia Oldham, and Douglas Henderson. 2024. "N-Acyl Homoserine Lactone Production by the Marine Isolate, Dasania marina" Microorganisms 12, no. 7: 1496. https://doi.org/10.3390/microorganisms12071496
APA StyleAlimiran, F., David, S., Birks, S., Oldham, A., & Henderson, D. (2024). N-Acyl Homoserine Lactone Production by the Marine Isolate, Dasania marina. Microorganisms, 12(7), 1496. https://doi.org/10.3390/microorganisms12071496

