Changes of Ankle Motion and Ground Reaction Force Using Elastic Neutral AFO in Neurological Patients with Inverted Foot During Gait
Abstract
1. Introduction
- Wearing EN-AFOs on the paretic side will significantly reduce the ankle varus angle in both the AFO and No-AFO groups during walking in stroke patients with foot inversion.
- Kinematic data will show greater improvement with EN-AFO in the No-AFO group compared to the AFO group during walking in stroke patients with foot inversion.
2. Methods
2.1. Participants
2.2. Inertial Measurement Unit (IMU) Sensor
2.3. Force Plate
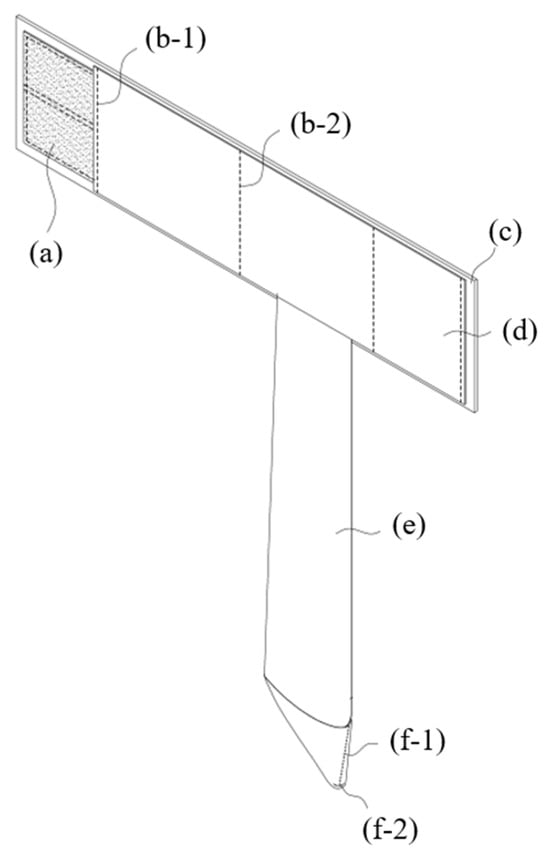
2.4. Elastic Neutral AFO
2.5. Procedure
2.6. Statistical Analysis
3. Results
4. Discussion
5. Conclusions
Author Contributions
Funding
Data Availability Statement
Acknowledgments
Conflicts of Interest
References
- Laurent, G.; Valentini, F.; Loiseau, K.; Hennebelle, D.; Robain, G. Claw Toes in Hemiplegic Patients After Stroke. Ann. Phys. Rehabil. Med. 2010, 53, 77–85. [Google Scholar] [CrossRef]
- Given, J.D.; Dewald, J.P.; Rymer, W.Z. Joint Dependent Passive Stiffness in Paretic and Contralateral Limbs of Spastic Patients with Hemiparetic Stroke. J. Neurol. Neurosurg. Psychiatry 1995, 59, 271–279. [Google Scholar] [CrossRef] [PubMed]
- Thilmann, A.F.; Fellows, S.J.; Ross, H.F. Biomechanical Changes at the Ankle Joint After Stroke. J. Neurol. Neurosurg. Psychiatry 1991, 54, 134–139. [Google Scholar] [CrossRef] [PubMed]
- Mandiroglu, S.; Firat, M. Foot and Ankle Deformities in Stroke: Relationship with Ambulation, Balance, and Daily Living Activities: A Cross-Sectional Study. Somatosens. Mot. Res. 2022, 39, 106–110. [Google Scholar] [CrossRef] [PubMed]
- Li, S. Ankle and Foot Spasticity Patterns in Chronic Stroke Survivors with Abnormal Gait. Toxins 2020, 12, 646. [Google Scholar] [CrossRef]
- Khamis, S.; Carmeli, E. A New Concept for Measuring Leg Length Discrepancy. J. Orthop. 2017, 14, 276–280. [Google Scholar] [CrossRef]
- Andrew, A.; Bohannon, R. Short-Term Recovery of Limb Muscle Strength After Acute Stroke. Arch. Phys. Med. Rehabil. 2003, 84, 125–130. [Google Scholar] [CrossRef] [PubMed]
- Kenney, L.; Bultstra, G.; Buschman, R. An Implantable Two-Channel Drop Foot Stimulator: Initial Clinical Results. Artif. Organs 2002, 26, 267–270. [Google Scholar] [CrossRef] [PubMed]
- Perry, J.; Burnfield, J.M. Gait Analysis: Normal and Pathological Function, 2nd ed.; SLACK Incorporated: Thorfare, NJ, USA, 2010; pp. 252–290. [Google Scholar]
- Hwang, Y.I.; Park, D.J. Effects of Elastic Neutral Ankle-Foot Orthoses on 3-Dimensional Parameters During Gait Training in Patients with Stroke: A Pilot Study. J. Bodyw. Mov. Ther. 2021, 27, 300–306. [Google Scholar] [CrossRef]
- Bohannon, R.W.; Andrews, A.W.; Smith, M.B. Rehabilitation Goals of Patients with Hemiplegia. Int. J. Rehabil. Res. 1988, 11, 181–184. [Google Scholar] [CrossRef]
- Ferreira, L.A.B.; Neto, H.P.; Luanda André College Grecco; Christovão, T.C.L.; Duarte, N.A.; Lazzari, R.D.; Galli, M.; Oliveira, C.S. Effect of Ankle-Foot Orthosis on Gait Velocity and Cadence of Stroke Patients: A Systematic Review. Physiotherapy 2013, 25, 1503–1508. [Google Scholar] [CrossRef] [PubMed]
- Leung, J.; Moseley, A. Impact of Ankle-Foot Orthoses on Gait and Leg Muscle Activity in Adults with Hemiplegia: A Systematic Literature Review. Physiotherapy 2003, 89, 39–55. [Google Scholar] [CrossRef]
- Kesikburun, S.; Yavuz, F.; Güzelküçük, Ü.; Yaşar, E.; Balaban, B. Effect of Ankle-Foot Orthosis on Gait Parameters and Functional Ambulation in Patients with Stroke. Turk. J. Phys. Med. Rehabil. 2017, 3, 143–148. [Google Scholar] [CrossRef] [PubMed]
- Zollo, L.; Zaccheddu, N.; Ciancio, A.; Morrone, M.; Bravi, M.; Santacaterina, F.; Milazzo, M.L.; Guglielmelli, E.; Sterzi, S. Comparative Analysis and Quantitative Evaluation of Ankle-Foot Orthoses for Foot Drop in Chronic Hemiparetic Patients. Eur. J. Phys. Rehabil. Med. 2015, 51, 185–196. [Google Scholar] [PubMed]
- Gök, H.; Küçükdeveci, A.; Altinkaynak, H.; Yavuzer, G.; Ergin, S. Effects of Ankle-Foot Orthoses on Hemiparetic Gait. Clin. Rehabil. 2003, 17, 137–139. [Google Scholar] [CrossRef] [PubMed]
- Park, J.H.; Chun, M.H.; Ahn, J.S.; Yu, J.Y.; Kang, S.H. Comparison of Gait Analysis Between Anterior and Posterior Ankle-Foot Orthosis in Hemiplegic Patients. Am. J. Phys. Med. Rehabil. 2009, 88, 630–634. [Google Scholar] [CrossRef]
- Mulroy, S.J.; Eberly, V.J.; Gronely, J.K.; Weiss, W.; Newsam, C.J. Effect of AFO Design on Walking After Stroke: Impact of Ankle Plantar Flexion Contracture. Prosthet. Orthot. Int. 2010, 34, 277–292. [Google Scholar] [CrossRef] [PubMed]
- Olney, S.J.; Richards, C. Hemiparetic Gait Following Stroke: Part I: Characteristics. Gait Posture 1996, 4, 136–148. [Google Scholar] [CrossRef]
- Woolley, S.M. Characteristics of Gait in Hemiplegia. Top. Stroke Rehabil. 2001, 7, 1–18. [Google Scholar] [CrossRef] [PubMed]
- Struzik, A.; Konieczny, G.; Stawarz, M.; Grzesik, K.; Winiarski, S.; Rokita, A. Relationship Between Lower Limb Angular Kinematic Variables and the Effectiveness of Sprinting During the Acceleration Phase. Appl. Bionics Biomech. 2016, 2016, 7480709. [Google Scholar] [CrossRef]
- Heuvelmans, P.; Benjaminse, A.; Bolt, R.; Baumeister, J.; Otten, E.; Gokeler, A. Concurrent validation of the Noraxon MyoMotion wearable inertial sensors in change-of-direction and jump-landing tasks. Sports Biomech. 2022, 1–16. [Google Scholar] [CrossRef] [PubMed]
- Seel, T.; Raisch, J.; Schauer, T. IMU-based joint angle measurement for gait analysis. Sensors 2014, 14, 6891–6909. [Google Scholar] [CrossRef]
- Karthikbabu, S.; Solomon, J.M.; Manikandan, M.; Rao, B.K.; Chakrapani, M.; Nayak, A. Role of Trunk Rehabilitation on Trunk Control, Balance, and Gait in Patients with Chronic Stroke: A Pre-Post Design. Neurosci. Med. 2011, 2, 61–67. [Google Scholar] [CrossRef]
- Verheyden, G.; Vereeck, L.; Truijen, S.; Troch, M.; Herregodts, I.; Lafosse, C.; Nieuwboer, A.; De Weerdt, W. Trunk Performance After Stroke and the Relationship with Balance, Gait, and Functional Ability. Clin. Rehabil. 2006, 20, 451–458. [Google Scholar] [CrossRef]
- Kramers De Quervain, I.A.; Simon, S.R.; Leurgans, S.; Pease, W.S.; McAllister, D. Gait Pattern in the Early Recovery Period After Stroke. J. Bone Jt. Surg. 1996, 78, 1506–1514. [Google Scholar] [CrossRef] [PubMed]
- Tyson, S.F. Trunk Kinematics in Hemiplegic Gait and the Effect of Walking Aids. Clin. Rehabil. 1999, 13, 295–300. [Google Scholar] [CrossRef] [PubMed]
- Van Criekinge, T.; Saeys, W.; Hallemans, A.; Velghe, S.; Viskens, P.-J.; Vereeck, L.; De Hertogh, W.; Truijen, S. Trunk Biomechanics During Hemiplegic Gait After Stroke: A Systematic Review. Gait Posture 2017, 54, 133–143. [Google Scholar] [CrossRef] [PubMed]
- Krebs, D.E.; Wong, D.; Jevsevar, D.; Riley, P.O.; Hodge, W.A. Trunk Kinematics During Locomotor Activities. Phys. Ther. 1992, 72, 505–514. [Google Scholar] [CrossRef]
- Hwang, Y.-I.; An, D.-H.; Yoo, W.-G. Effects of the Dual AFO on Gait Parameters in Stroke Patients. NeuroRehabilitation 2012, 31, 387–393. [Google Scholar] [CrossRef]
- Churchill, A.J.; Halligan, P.W.; Wade, D.T. Relative Contribution of Footwear to the Efficacy of Ankle-Foot Orthoses. Clin. Rehabil. 2003, 17, 553–557. [Google Scholar] [CrossRef]
- Choo, Y.J.; Chang, M.C. Commonly Used Types and Recent Development of Ankle-Foot Orthosis: A Narrative Review. Healthcare 2021, 9, 1046. [Google Scholar] [CrossRef] [PubMed]
- Lim, K.D. Ankle Mechanism of Ankle Foot Orthoses. J. Korean Soc. Prosthet. Orthot. 2007, 1, 30–37. [Google Scholar]
- Bae, D.Y.; Shin, J.H.; Kim, J.S. Effects of Dorsiflexor Functional Electrical Stimulation Compared to an Ankle/Foot Orthosis on Stroke-Related Genu Recurvatum Gait. J. Phys. Ther. Sci. 2019, 31, 865–868. [Google Scholar] [CrossRef] [PubMed]
- Beckerman, H.; Becher, J.; Lankhorst, G.J.; Verbeek, A.L. Walking Ability of Stroke Patients: Efficacy of Tibial Nerve Blocking and a Polypropylene Ankle-Foot Orthosis. Arch. Phys. Med. Rehabil. 1996, 77, 1144–1151. [Google Scholar] [CrossRef]
- de Wit, D.C.; Buurke, J.H.; Nijlant, J.M.; IJzerman, M.J.; Hermens, H.J. The Effect of an Ankle-Foot Orthosis on Walking Ability in Chronic Stroke Patients: A Randomized Controlled Trial. Clin. Rehabil. 2004, 18, 550–557. [Google Scholar] [CrossRef]
- Sumiya, T.; Suzuki, Y.; Kasahara, T. Stiffness Control in Posterior-Type Plastic Ankle-Foot Orthoses: Effect of Ankle Trimline. Part 2: Orthosis Characteristics and Orthosis/Patient Matching. Prosthet. Orthot. Int. 1996, 20, 132–137. [Google Scholar] [CrossRef] [PubMed]
- Hsu, J.D.; Michael, J.; Fisk, J. AAOS Atlas of Orthoses and Assistive Devices (e-Book); Elsevier Health Sciences: Philadelphia, PA, USA, 2008. [Google Scholar]
- Burdett, R.G.; Borello-France, D.; Blatchly, C.; Potter, C. Gait Comparison of Subjects with Hemiplegia Walking Unbraced, with Ankle-Foot Orthosis, and with Air-Stirrup Brace. Phys. Ther. 1988, 68, 1197–1203. [Google Scholar]
- Kobayashi, T.; Leung, A.K.L.; Akazawa, Y.; Hutchins, S.W. Design of a Stiffness-Adjustable Ankle-Foot Orthosis and Its Effect on Ankle Joint Kinematics in Patients with Stroke. Gait Posture 2011, 33, 721–723. [Google Scholar] [CrossRef] [PubMed]
- Yamamoto, S.; Miyazaki, S.; Kubota, T. Quantification of the Effect of the Mechanical Property of Ankle-Foot Orthoses on Hemiplegic Gait. Gait Posture 1993, 1, 27–34. [Google Scholar] [CrossRef]
- Lairamore, C.; Garrison, M.K.; Bandy, W.; Zabel, R. Comparison of tibialis anterior muscle electromyography, ankle angle, and velocity when individuals post stroke walk with different orthoses. Prosthet. Orthot. Int. 2011, 35, 402–410. [Google Scholar] [CrossRef]
- Guzik, A.; Drużbicki, M.; Wolan-Nieroda, A.; Przysada, G.; Kwolek, A. The Wisconsin Gait Scale—The Minimal Clinically Important Difference. Gait Posture 2019, 68, 453–457. [Google Scholar] [CrossRef]













| Characteristics | AFO Group (n = 9) | No-AFO Group (n = 8) |
|---|---|---|
| Age (yrs) | 61.6 ± 13.0 | 63.9 ± 9.8 |
| Height (cm) | 166.9 ± 7.1 | 163.9 ± 7.2 |
| Weight (kg) | 63.8 ± 13.3 | 62.1 ± 11.4 |
| Onset (months) | 60.4 ± 24.7 | 48.9 ± 27.8 |
| Sex | Male: 4 (44.5%) | Male: 5 (62.5%) |
| Female: 5 (55.5%) | Female: 3 (37.5%) | |
| Affected side | Right: 4 (44.5%) | Right: 3 (37.5%) |
| Left: 5 (55.5%) | Left: 5 (62.55) | |
| Diagnosis | ICH: 5 (55.5%) | ICH:2 (25.0%) |
| CI: 3 (33.3%) | CI: 5 (62.5%) | |
| PI: 1 (11/1%) | SAH: 1 (12.5%) | |
| AFO | Anterior type: 3 (33.3%) | None |
| Posterior type: 6 (66.7%) | ||
| Assistive device | Cane: 4 (44.5%) | Cane: 4 (50.0%) |
| None: 5 (55.5%) | None: 4 (50.0%) | |
| MAS (grade) | G0: 2 (22.2%) | G0: 2 (25.0%) |
| G1: 1 (11.1%) | G1: 2 (25.0%) | |
| G1+: 6 (66.7%) | G1+: 3 (37.5%) G2: 1 (12.5%) |
| Affected Limb | AFO Group | No-AFO Group | |||
|---|---|---|---|---|---|
| Pre | Post | Pre | Post | ||
| Thoracic Axial Rotation (°) | |||||
| Max | Mean (SD) | 5.03 (5.00) | 3.89 (4.94) | −2.34 (14.18) | 2.49 (8.03) |
| z | −1.599 | −1.260 | |||
| p | 0.110 | 0.208 | |||
| Min | Mean (SD) | −4.18 (4.71) | −1.80 (5.32) | −9.25 (13.85) | −3.36 (7.89) |
| z | −1.125 | −1.680 | |||
| p | 0.260 | 0.093 | |||
| Hip External Rotation (°) | |||||
| Max | Mean (SD) | 22.72 (8.11) | 16.77 (17.43) | 16.15 (12.38) | 7.23 (11.01) |
| z | −1.244 | −2.240 | |||
| p | 0.214 | 0.025 * | |||
| Min | Mean (SD) | 8.04 (9.64) | 4.82 (16.81) | 3.45 (10.22) | −2.36 (10.02) |
| z | −0.296 | −2.521 | |||
| p | 0.767 | 0.012 * | |||
| Ankle Inversion (°) | |||||
| Max | Mean (SD) | 3.18 (4.87) | 5.24 (6.45) | 10.51 (10.18) | 6.01 (11.34) |
| z | −0.770 | −2.100 | |||
| p | 0.441 | 0.036 * | |||
| Min | Mean (SD) | 7.37 (4.00) | −8.02 (4.78) | −5.45 (3.43) | −6.19 (5.82) |
| z | −0.415 | −0.700 | |||
| p | 0.678 | 0.484 | |||
| Less-Affected Limb | AFO Group | No-AFO Group | |||
| Pre | Post | Pre | Post | ||
| Thoracic axial rotation (°) | |||||
| Max | Mean (SD) | 5.24 (5.43) | 3.89 (5.40) | −2.44 (13.98) | 3.51 (9.20) |
| z | −1.362 | −2.100 | |||
| p | 0.173 | 0.036 * | |||
| Min | Mean (SD) | −1.06 (5.18) | −1.98 (5.39) | −9.24 (13.31) | −3.52 (8.12) |
| z | −1.007 | −1.680 | |||
| p | 0.314 | 0.093 | |||
| Hip External Rotation (°) | |||||
| Max | Mean (SD) | 7.46 (9.26) | 4.55 (5.00) | 11.13 (7.61) | 19.60 (11.87) |
| z | −1.362 | −2.521 | |||
| p | 0.173 | 0.012 * | |||
| Min | Mean (SD) | −1.43 (8.60) | −2.67 (6.83) | 0.91 (7.73) | 6.88 (12.31) |
| z | −0.770 | −1.960 | |||
| p | 0.441 | 0.050 | |||
| Ankle dorsiflexion (°) | |||||
| Max | Mean (SD) | 15.78 (4.22) | 12.85 (5.70) | 12.18 (4.51) | 8.26 (6.46) |
| z | −1.244 | −2.521 | |||
| p | 0.214 | 0.012 * | |||
| Min | Mean (SD) | −3.79 (4.00) | −3.11 (3.69) | −6.90 (4.39) | −9.57 (8.51) |
| z | −0.889 | −0.840 | |||
| p | 0.374 | 0.401 | |||
| Foot External Rotation (°) | |||||
| Max | Mean (SD) | 7.11 (9.53) | 5.87 (7.46) | 8.85 (14.31) | 18.94 (17.48) |
| z | −0.415 | −2.100 | |||
| p | 0.678 | 0.036 * | |||
| Min | Mean (SD) | 3.10 (11.13) | 3.43 (10.51) | 1.90 (17.13) | 11.08 (21.15) |
| z | −0.296 | −1.960 | |||
| p | 0.767 | 0.050 | |||
| Affected Limb | AFO Group | No-AFO Group | |||
|---|---|---|---|---|---|
| Pre | Post | Pre | Post | ||
| Thoracic Axial Rotation (°) | |||||
| Max | Mean (SD) | 4.55 (5.32) | 3.21 (5.23) | −3.21 (13.95) | 2.27 (8.24) |
| z | −1.836 | −1.400 | |||
| p | 0.066 | 0.161 | |||
| Min | Mean (SD) | 0.37 (5.32) | −0.87 (5.59) | −7.91 (14.16) | −1.96 (8.43) |
| z | −1.599 | −1.680 | |||
| p | 0.110 | 0.093 | |||
| Hip External Rotation (°) | |||||
| Max | Mean (SD) | 21.84 (7.81) | 16.00 (17.86) | 15.97 (13.12) | 8.53 (12.58) |
| z | −1.244 | −2.100 | |||
| p | 0.241 | 0.036 * | |||
| Min | Mean (SD) | 13.24 (9.06) | 9.22 (18.51) | 7.96 (13.26) | 0.27 (11.51) |
| z | −0.296 | −1.960 | |||
| p | 0.767 | 0.050 | |||
| Ankle dorsiflexion (°) | |||||
| Max | Mean (SD) | −2.71 (6.53) | −1.95 (6.01) | −0.47 (6.29) | −4.61 (8.51) |
| z | −0.296 | −1.680 | |||
| p | 0.767 | 0.093 | |||
| Min | Mean (SD) | 10.61 (6.76) | −14.17 (7.75) | −9.85 (8.21) | −12.08 (5.40) |
| z | −2.073 | −0.840 | |||
| p | 0.038 * | 0.401 | |||
| Ankle Inversion (°) | |||||
| Max | Mean (SD) | 2.61 (7.08) | 4.93 (7.63) | 10.56 (11.40) | 4.63 (13.26) |
| z | −0.889 | −2.240 | |||
| p | 0.374 | 0.025 * | |||
| Min | Mean (SD) | −3.06 (5.85) | −3.46 (6.11) | 1.55 (9.86) | −1.44 (11.51) |
| z | −0.533 | −1.400 | |||
| p | 0.594 | 0.161 | |||
| Less-Affected Limb | AFO Group | No-AFO Group | |||
| Pre | Post | Pre | Post | ||
| Thoracic axial rotation (°) | |||||
| Max | Mean (SD) | 2.07 (4.84) | −0.01 (5.98) | −4.93 (13.37) | 1.10 (8.36) |
| z | −1.362 | −2.100 | |||
| p | 0.173 | 0.036 * | |||
| Min | Mean (SD) | 0.38 (5.26) | −0.08 (5.58) | −7.85 (13.58) | 0.32 (5.55) |
| z | −0.889 | −2.240 | |||
| p | 0.374 | 0.025 * | |||
| Hip External Rotation (°) | |||||
| Max | Mean (SD) | 6.14 (9.11) | 5.63 (7.42) | 10.63 (6.41) | 18.49 (11.34) |
| z | −0.296 | −2.240 | |||
| p | 0.767 | 0.025 * | |||
| Min | Mean (SD) | 13.24 (9.06) | 9.22 (18.51) | 7.96 (13.26) | 0.27 (11.51) |
| z | −0.296 | −1.960 | |||
| p | 0.767 | 0.050 | |||
| Ankle Inversion (°) | |||||
| Max | Mean (SD) | 12.01 (8.64) | 7.95 (10.11) | 6.46 (5.83) | 4.38 (9.30) |
| z | −2.310 | −0.140 | |||
| p | 0.021 * | 0.889 | |||
| Min | Mean (SD) | −3.06 (5.85) | −3.46 (6.11) | 1.55 (9.86) | −1.44 (11.51) |
| z | −0.533 | −1.400 | |||
| p | 0.594 | 0.161 | |||
| Foot External Rotation (°) | |||||
| Max | Mean (SD) | 6.72 (10.38) | 6.16 (7.98) | 9.27 (16.84) | 18.27 (21.10) |
| z | −0.533 | −2.100 | |||
| p | 0.594 | 0.036 * | |||
| Min | Mean (SD) | 0.73 (11.88) | 0.60 (9.69) | 1.30 (15.82) | 8.27 (19.29) |
| z | −0.178 | −1.960 | |||
| p | 0.859 | 0.050 | |||
| Affected Limb | AFO Group | No-AFO Group | ||||
|---|---|---|---|---|---|---|
| Pre | Post | Pre | Post | |||
| Forefoot (N) | Mean (SD) | 182.76 ± 61.45 | 211.55 ± 70.57 | 195.89 ± 73.45 | 208.70 ± 57.68 | |
| z | −2.073 | −1.120 | ||||
| p | 0.038 * | 0.263 | ||||
| Midfoot (N) | Mean (SD) | 184.29 ± 60.42 | 187.94 ± 44.10 | 128.91 ± 50.05 | 137.37 ± 61.44 | |
| z | −0.770 | −0.980 | ||||
| p | 0.441 | 0.327 | ||||
| Hindfoot (N) | Mean (SD) | 210.67 ± 107.88 | 231.85 ± 105.38 | 247.44 ± 139.65 | 246.14 ± 144.11 | |
| z | −2.073 | −0.140 | ||||
| p | 0.038 * | 0.889 | ||||
| Total Force (N) | Pre | Post | Pre | Post | ||
| Max | Mean (SD) | 556.90 ± 170.24 | 511.54 ± 111.49 | 490.16 ± 209.83 | 418.02 ± 168.82 | |
| z | −0.889 | −0.420 | ||||
| p | 0.374 | 0.674 | ||||
| Min | Mean (SD) | 9.50 ± 4.65 | 8.33 ± 6.61 | 7.81 ± 9.16 | 6.40 ± 3.55 | |
| z | −0.889 | −0.140 | ||||
| p | 0.374 | 0.889 | ||||
| Total Max Pressure(N/cm2) | Pre | Post | Pre | Post | ||
| Max | Mean (SD) | 18.13 (6.11) | 15.35 (4.24) | 17.64 (6.37) | 17.06 (7.27) | |
| z | −1.955 | −0.280 | ||||
| p | 0.051 | 0.779 | ||||
| Min | Mean (SD) | 2.54 (0.84) | 2.47 (1.04) | 2.46 (1.50) | 2.43 (1.41) | |
| z | −0.178 | −0.560 | ||||
| p | 0.859 | 0.575 | ||||
| Affected Limb | AFO Group | No-AFO Group | ||
|---|---|---|---|---|
| Thoracic Axial Rotation (°) | z | p | ||
| Max | −1.13 (1.80) | 4.83 (8.05) | −2.117 | 0.034 * |
| Min | −1.06 (2.45) | 5.89 (7.56) | −2.406 | 0.016 * |
| Less-Affected Limb | AFO Group | No-AFO Group | ||
| Hip External Rotation (°) | z | p | ||
| Max | −2.90 (7.23) | 8.46 (5.41) | −2.887 | 0.004 * |
| Min | −1.23 (5.28) | 5.97 (6.27) | −2.117 | 0.034 * |
| Foot External Rotation (°) | ||||
| Max | −1.23 (6.30) | 10.09 (11.57) | −2.117 | 0.034 * |
| Min | −0.25 (9.36) | 9.17 (12.65) | −1.732 | 0.083 |
| Affected Limb | AFO Group | No-AFO Group | ||
|---|---|---|---|---|
| Thoracic Axial Rotation (°) | z | p | ||
| Max | −1.33 (2.13) | 5.49 (7.82) | −2.213 | 0.027 * |
| Min | −1.24 (2.43) | 5.95 (7.12) | −2.502 | 0.012 * |
| Ankle Inversion (°) | ||||
| Max | 2.32 (5.82) | −5.92 (4.88) | −2.694 | 0.007 * |
| Min | −0.39 (2.92) | −2.99 (4.81) | −1.058 | 0.290 |
| Less-Affected Limb | AFO Group | No-AFO Group | ||
| Thoracic axial rotation (°) | z | p | ||
| Max | −2.09 (4.18) | 6.04 (6.90) | −2.502 | 0.012 * |
| Min | −0.47 (2.13) | 8.18 (10.45) | −2.598 | 0.009 * |
| Hip External Rotation (°) | ||||
| Max | −0.50 (6.50) | 7.86 (6.04) | −2.406 | 0.016 * |
| Min | −0.85 (6.33) | 2.90 (11.28) | −1.540 | 0.124 |
| Ankle Inversion (°) | ||||
| Max | −4.05 (4.75) | −2.08 (9.25) | −2.021 | 0.043 * |
| Min | −1.73 (3.43) | −4.03 (12.22) | −0.481 | 0.630 |
Disclaimer/Publisher’s Note: The statements, opinions and data contained in all publications are solely those of the individual author(s) and contributor(s) and not of MDPI and/or the editor(s). MDPI and/or the editor(s) disclaim responsibility for any injury to people or property resulting from any ideas, methods, instructions or products referred to in the content. |
© 2024 by the authors. Licensee MDPI, Basel, Switzerland. This article is an open access article distributed under the terms and conditions of the Creative Commons Attribution (CC BY) license (https://creativecommons.org/licenses/by/4.0/).
Share and Cite
Park, D.-J.; Hwang, Y.-I. Changes of Ankle Motion and Ground Reaction Force Using Elastic Neutral AFO in Neurological Patients with Inverted Foot During Gait. Actuators 2024, 13, 526. https://doi.org/10.3390/act13120526
Park D-J, Hwang Y-I. Changes of Ankle Motion and Ground Reaction Force Using Elastic Neutral AFO in Neurological Patients with Inverted Foot During Gait. Actuators. 2024; 13(12):526. https://doi.org/10.3390/act13120526
Chicago/Turabian StylePark, Du-Jin, and Young-In Hwang. 2024. "Changes of Ankle Motion and Ground Reaction Force Using Elastic Neutral AFO in Neurological Patients with Inverted Foot During Gait" Actuators 13, no. 12: 526. https://doi.org/10.3390/act13120526
APA StylePark, D.-J., & Hwang, Y.-I. (2024). Changes of Ankle Motion and Ground Reaction Force Using Elastic Neutral AFO in Neurological Patients with Inverted Foot During Gait. Actuators, 13(12), 526. https://doi.org/10.3390/act13120526
