Next Article in Journal
Investigation and Optimization of Energy Consumption for Hybrid Hydraulic Excavator with an Innovative Powertrain
Previous Article in Journal
Electrohydraulic and Electromechanical Buoyancy Change Device Unified Vertical Motion Model
 
 
Font Type:
Arial Georgia Verdana
Font Size:
Aa Aa Aa
Line Spacing:
Column Width:
Background:
Article

Synthesis of a Bistable Recuperative Pump Powered by Shape Memory Alloys and a Two-Section Involute Cam

1
Department of Theory of Mechanisms and Machines, Faculty of Industrial Technology, Technical University of Sofia, 1797 Sofia, Bulgaria
2
Department of Logistics Engineering, Material Handling and Construction Machines, Mechanical Engineering Faculty, Technical University of Sofia, 1797 Sofia, Bulgaria
3
Department of Technology of Machine Tools and Manufacturing, Technical University of Sofia, 1797 Sofia, Bulgaria
*
Author to whom correspondence should be addressed.
Actuators 2023, 12(10), 381; https://doi.org/10.3390/act12100381
Submission received: 23 August 2023 / Revised: 2 October 2023 / Accepted: 7 October 2023 / Published: 9 October 2023
(This article belongs to the Section Actuator Materials)

Abstract

:
The paper discusses the synthesis problem of a bistable piston pump, employing a driving mechanism that comprises shape memory alloy wires, a two-section involute cam, and an energy-recuperating spring. The transition from one stable end position to another in the pump is achieved by heating and subsequently shortening one of the shape memory alloy wires, initiating the motion of the mechanism. This is then followed by the engagement of the recuperative spring to traverse the intermediate unstable equilibrium position and complete the entire stroke. The reversal of motion follows a similar approach, where the second SMA wire shortens while the first wire remains in a cold state. Importantly, the mechanism necessitates a low force within the shape memory alloy wire to initiate motion towards the opposite stable position. This research encompasses the examination of type, geometric, and force synthesis considerations for the pump, leading to the development of fundamental kinematic and force relationships. Moreover, a novel mechanism is proposed and synthesized, incorporating a two-section involute cam with a cusp point, to generate the desired discontinuous moment function produced by the recuperative spring. Further analysis reveals that the thermal time constant, which regulates the dynamic response of the mechanism, is directly proportional to the diameter of the driving SMA and inversely proportional to the square root of the number of SMA branches.

1. Introduction

The application of smart materials in advanced actuators and sensor systems has exhibited a steady increase over the past two to three decades. This is primarily due to the ability of smart materials to provide unique solutions to engineering challenges while optimizing material consumption [1]. Moreover, the incorporation of smart materials has resulted in improved dynamics and energy efficiency in the newly developed products.
Shape memory alloys (SMAs) are a typical representative of smart materials that provide opportunities to create actuators with substantial force generation and displacement capabilities, spanning from microns to several millimeters. Despite the persistent research efforts in SMA [2,3,4], the most widely adopted alloys in commercial applications are currently NiTi alloys, characterized by a nickel and titanium composition of approximately 50% [5,6].
Within modern engineering, SMAs find extensive application through their three distinct effects: the Super Elastic Effect, the Two-Way Shape Memory Effect, and the One-Way Shape Memory Effect [7,8]. The Super Elastic Effect pertains to the restoration of the material’s shape at a constant temperature and is not commonly employed in actuators. The Two-Way Shape Memory Effect enables changes in the material’s form in response to temperature stimuli and is predominantly utilized in microelectromechanical systems, while its implementation in macroelectromechanical systems is relatively less frequent [9,10,11].
The One-Way Shape Memory Effect requires pre-deformation of the SMA driving element through the application of a biasing force, which can be achieved by employing a constant force (such as weight), a linear force (such as elasticity), or by utilizing an opposing SMA element with temperature control [12,13,14,15,16]. The pre-deformation corresponds to the displacement of the actuator’s executive unit in a specific direction. Upon heating, the driving SMA element re-establishes its original shape, resulting in the movement of the executive unit in the opposite direction. After heating, SMA drive elements can successfully recover their initial shape despite undergoing substantial deformations, encompassing tensile, compressive, bending, torsional, or mixed deformations [17,18].
The actuators that deflect SMA wires using a spring mechanism represent the widely adopted and uncomplicated design approach. Typically, the heating of SMA wires is achieved by means of an electric current, harnessing the Joule’s Effect [19]. These actuators are the most compact, as SMA wires provide the highest energy density. Their movement is smoothly controlled and noiseless. In many instances, these actuators can provide engineering solutions superior to conventional ones, such as motor-driven spur gears, lever mechanisms, or pneumatic or hydraulic cylinders [20]. Despite the well-established advantages associated with the SMA drive, particularly in the context of microactuators, it is imperative to acknowledge the presence of certain inherent limitations. It is undeniable that SMA devices exhibit low energy efficiency, with reported efficiencies of 2–3% for the SMA heat engine [21] and up to 4.5% for the clamp-free actuator [22]. This calls for further investigation and improvement in order to optimize their performance.
Bistable mechanisms exhibit two distinct stable equilibrium positions, between which they transition through an intermediate unstable equilibrium position, driven by changes in elastic forces [23,24,25]. These mechanisms are suitable for application in electrical circuit contacts and the creation of nonlinear oscillation systems due to their rapid switching after passing the unstable equilibrium position [26,27]. The operation of elastic forces can generate restoring (recuperating) forces [28]. Bistable mechanisms are appropriate for driving through SMAs because only half of the stroke can be overcome to the unstable position. This is achieved by deviating the bistable mechanism from one of its stable positions to the unstable one with SMAs and then releasing it to move by the action of the elastic forces [29].
The team of authors behind this paper has developed and patented a valve featuring bistable action, whereby half of the work required for valve closure or opening is effectively supported by an energy-recuperating spring [30,31]. Electric heating of the SMA wires is employed to initiate the partial displacement of the executive element in this valve. A design for a piston pump that uses the bistable valve principle has been developed in [32]. This pump achieves bistability and energy recuperation by utilizing a three-arm rocker and a recuperative spring. A patent application [33] has been filed to protect the structure and principle of operation. Based on energy and force calculations, it has been determined that the design of the bistable SMA-driven pump proposed in reference [32] can be further improved. One possibility is the introduction of an additional cam mechanism for converting the recuperative force by a suitable non-linear function.
This paper aims to explore various possibilities regarding the type, force, and geometric synthesis of a bistable piston pump, employing a driving mechanism that comprises SMA wires, a two-section involute cam, and an energy-recuperating spring to achieve optimal performance. This design should eliminate the shortcomings of the mentioned bistable pump with a three-arm rocker and a recuperative spring, developed in [32]. Additionally, the electrothermal drive system of the piston pump will be investigated, with the ultimate goal of achieving a fast dynamic response. By delving into these aspects, this research contributes to advancing the field and enhancing the efficiency of SMA-driven bistable piston pumps, with potential applications in different areas, including fluid power systems and actuation mechanisms.

2. Motivation for Creating a Bistable Pump with Coinciding Unstable Equilibrium Positions

Figure 1 depicts a simplified kinematic sketch of the bistable reciprocating piston pump, as proposed in references [32,33], incorporating a three-arm rocker, a recuperative spring, and a drive mechanism that employs SMA.
The geometric and force parameters of the pump are precisely determined to ensure stable equilibrium at two specific positions, presented in Figure 1: the bottom dead center (BDC) and the top dead center (TDC) of piston 2. The same figure illustrates the alignment between BDC and TDC and the corresponding positions on the indicator diagram, presented in pressure-displacement coordinates p-s.
The bistability originates from the alteration in sign of the resultant moments about the revolute joint at point O, resulting from the active forces exerted by the piston and the springs on the three-arm rocker 8. This ensures that an unstable equilibrium position is present during both the discharge and suction periods. Fine-tuned adjustments to this unstable equilibrium position can be accomplished by manipulating the characteristics of the piston spring 1.
The ideal operation of the bistable pump is based on the principle that the two SMA wires, 3 and 5, displace the rocker to an unstable equilibrium position, from which the recuperative spring 6 aids further movement. It is crucial to highlight that the extension of the SMA wires should be limited to the point of instability, rather than spanning the entire piston stroke. Beyond this point, the active wire relaxes, and the tension is transferred to the opposing SMA wire through the recuperative spring.
It is noteworthy that the unstable equilibrium positions for the suction and discharge phases in general may differ. However, in certain conditions, such as those found in the bistable valve [30,31], these positions can coincide. In order to determine the unstable equilibrium positions, it is imperative to conduct a thorough force analysis of the mechanism.
Given that the origin of the global coordinate system {xy} is located at point O (see Figure 1), the conversion from piston displacement s to position angle φ of the three-arm rocker is achieved through the utilization of the following equation, which represents the position function of the slider-crank mechanism:
s = h p + c l + r sin φ r l 2 ( r cos φ x B ) 2 y B D C
where h p is the piston stroke, c l is the pump clearance, r = OA is the length of the first arm of the three-arm rocker, l = A B is the length of the coupler, and y B D C is the BDC coordinate of the piston.
Equations (2)–(14), derived in [32], can be utilized to obtain the force characteristics of the system.
The position of point C is determined by its coordinates
x C = R cos ( φ + β )
y C = R sin ( φ + β )
where R = OC and β = A O C .
The recuperative spring length CD is denoted by ρ expressed as
ρ = C D = ( x C x D ) 2 + ( y C y D ) 2
The axial force Fr in the recuperative spring is found from the expression
F r = ( l R 0 ρ ) k r
where lR0 and kr are the initial nondeformed length of the recuperative spring, and its stiffness, correspondingly.
The moment Mr of the force Fr with respect to the joint O is
M r = F r h r
where h r = O C 1 is the distance between the line of action of the recuperative force and point and O C 1 D C 2 .
From the triangle Δ O C 1 C 2 , after denoting x r = O C 2 and ψ r = C 1 O C 2 the distance hr is expressed as:
h r = x r cos ψ R
where the cosine of the angle between the ordinate and the direction of the recuperative force can be found from
cos ψ r = y D y C ρ
and for xr is valid the formula:
x r = x D + y D tan ψ r = x D + y D x C x D y D x C
The piston spring force Fs is expressed by the following equation:
F s = [ ( y E r p sin φ ) l s 0 ] k s
which expresses that the piston spring force pulls the piston during the suction stroke, according to the presented schematic diagram and assuming xE = rpcos φin. In Equation (10) ls0 is the initial length of the piston spring, yE is the vertical coordinate of point E, ks is the stiffness of the piston spring, and rp = OP.
The moment of the piston spring force with respect to point O is:
M s = F s r p cos φ
The pressure p of the gas during the suction stroke creates a piston gas force Fp which depends on the indicator diagram and is presented by the formula
F p = π D 2 4 ( p p a t m )
where D is the diameter of the piston, and patm is the atmospheric pressure.
The angle γ between the vertical axis and the direction of the coupler is:
γ = arcsin r cos φ x B 2 l
where x B 2 = r sin φ 0 and l = B D .
The moment Mp of the piston force Fp with respect to point O is calculated using the angle γ as follows:
M P = F p r cos γ
The pressure acting on the piston is assumed to be pre-set and is represented by the pressure-displacement indicator diagram shown in Figure 2a [32], where the following positions are used to denote the parts of the diagram: 1—compression, 2—discharge, 3—expansion, and 4—suction. The red line represents the motion of the piston from TDC to BDC, whereas the blue line represents the motion from BDC to TDC. The moment Mp generated by the indicating pressure force at the revolute joint O of the three-arm rocker is computed using Equation (14) and is depicted in Figure 2b.
Figure 3a depicts the graph of a linear recuperating spring moment M r (plotted with the opposite sign) and the pressure moments M p 1 and M p 2 represented by the indicator diagram. The two instability points, labeled as φui for the discharge period and φus for the suction period, are determined by the intersection of the line representing the recuperative force moment Mr and the indicator diagram.
The graph demonstrates that for the two instability angular positions to coincide, the characteristic of the recuperative moment must be a vertical line. However, attaining bistability in such a scenario would necessitate a recuperative spring with an infinitely large stiffness, which is not practically achievable. The practical solution reached in [32] employs a spring with exceptionally high stiffness, resulting in excessively large reaction forces among the pump components. Furthermore, the extensions of the hot and cold SMA wires would overlap during the interval from φui to φus, leading to increased energy consumption.
The graphs of the total moments M T 1 = M p 1 M r and M T 2 = M p 2 M r for the discharge and suction periods, respectively, are shown in Figure 3b,c. From both graphs, it can be seen that maximum absolute values of the total moments were obtained at the initial point φ0 and the end point φe. At these two points, the extreme total moments are balanced by the forces of the SMA wires, thus achieving two stable pump equilibria for the suction and the discharge. In both graphs of Figure 3b,c there is one zero value of the total moment φui, and φus, which means that there is an unstable equilibrium at this position. When the two unstable equilibrium positions are located in the middle of the rotation angle interval, the two SMA wires will only deform to half of the piston stroke, which turns out to be optimal for energy consumption. However, this condition requires that the intersections φui, and φus in Figure 3a are above each other, which is equivalent to a vertical characteristic of the recuperating moment.

3. Formulation of the Task for the Synthesizing of a Driving Mechanism

In order to avoid the drawback of the three-arm rocker pump scheme analyzed in Section 2, a mechanism should be synthesized that reduces the difference in the two unstable equilibrium positions (see Figure 3a). It is suggested that this be achieved by assuming that the moment of the recuperative force should change according to the following reference piecewise function
M r * = { M p 1 m + ( φ φ 0 ) k 1           i f       φ 0 φ φ c i M p 1 m M p 2 m φ u i φ u s φ                                   i f       φ c i φ φ c s M p 2 m + ( φ φ 0 ) k 2           i f       φ c s φ φ e
where M p 1 m and M p 2 m are the values of the discharge and suction sectors of the reference function at φ = φ 0 , k 1 and k 2 are the stiffnesses of the first and third part of M R * , and φ c i and φ c s are the intersection points. If a mechanism is synthesized to generate a recuperative function close to the relationship (15), much of the listed drawbacks of the linear recuperative force will be avoided.
In Figure 4a, the negative recuperative moment M r * is depicted using a dashed line, while the indicator diagram is represented by a solid line. In Figure 4b,c, the changes of the piston moments M p 1 , M p 2 and total moments M T 1 = M p 1 M r * , M T 2 = M p 2 M r * are shown. The presence of a jump discontinuity in the middle of the two strokes facilitates the alignment of the two instability positions φui and φus. This approach successfully addresses the challenges mentioned earlier by minimizing the stretching of the SMA wires and utilizing springs with low stiffness and low loading forces.
The implementation of the proposed discontinuous reference function requires a different mechanism than the one that incorporates a three-arm rocker (refer to Figure 1). Various mechanical structures are possible, and the determination of the suitable number of links and their types falls within the subject of the “Theory of Mechanisms and Machines” [34]. Among all possible solutions, the cam mechanism in Figure 5 was chosen due to its relatively simple structure. A similar idea is suggested in [33]. The design of such a mechanism is as follows (see Figure 5). The cam 1 is produced on the three-arm rocker 8, and it comes into contact with a roller 9 that is mounted on the rotating follower 7 through a revolute joint. The follower and pump body are connected by a recuperative spring 6.
The spring 6 applies a non-linear force that results in a transmission of a non-linear moment to the three-arm rocker through the cam profile. This cam mechanism differs from the conventional cam mechanisms because the cam and the follower interchange function as actuator and actuated link. Initially, the three-arm rocker and cam are rotated by the SMA wires until the mechanism reaches the unstable position. Subsequently, the movement is sustained by the recuperative spring to complete the stroke.
The synthesis of the cam mechanism that will realize the proposed discontinuous reference function will be performed under previously assumed constant numerical values of the parameters of the indicator diagram (see Figure 2), the dimensions of the slider—crank mechanism, and the piston stroke and diameter. The numerical values of these parameters are shown in Table 1.

4. Synthesis of a Two-Section Involute Cam Profile

Figure 6 presents the cam profile necessary to generate the required reference piecewise characteristic for the recuperating moment. The cam profile consists of two involutes, denoted as left involute (El) and right involute (Er), with concentric base circles kl and kr, respectively. The involute cam was originally introduced by Shaw [35,36]. The three-arm rocker rotates around the center of the revolute joint O, which coincides with the centers of the two base circles. The involute’s property, where its normal is tangential to the base circle, is utilized to ensure a constant force arm between the roller and the cam. The transition between the two sections of the involute is accomplished by a cusp point Pm.
The two rocker positions G1 C1 and G2 C2 are obtained by the method of the inversion of the frame with the rocker rotated opposite to the direction of the angular velocity ω1 of the three-arm rocker.
The cam profile comprises two sections: P0Pm, which is a part of the left involute, and PmPe, which is a part of the right involute. The cusp point Pm is formed by the intersection of these two involutes, and it is advisable to align this position of the cam when φ = 0, based on the assumed reference moment conventions. The ratio of the radii of the base circles is chosen to be equivalent to the ratio of the extreme values of the reference recuperative moment. Since the common normals at the contact points between the roller and cam are always tangential to the base circles, the transformed force arm of the recuperating spring will be equal to one of these radii.
Examining Figure 6, it can be observed that when φ varies from φ0 to 0, representing the contact at the left involute in the P0Pm section, the force is transmitted along the normal C2Q2. In this case, the force arm corresponds to the radius of the larger base circle of the left involute, resulting in a positive moment. As the contact is at the PmPe section, the force is transmitted along the normal C1Q1, leading to a negative moment, while the force arm changes to the smaller radius of the right involute.
By incorporating the two involutes in the cam profile, the issue of discontinuity in the recuperating moment function is resolved. Moreover, a change in the sign and magnitude of the moments for the two sections is achieved.

5. Synthesis of a Bistable Pump Containing a Two-Section Cam

The synthesis of the pump mechanism must meet three fundamental requirements. Firstly, it should achieve bistability, allowing for two stable end positions. Secondly, it should amplify the force exerted by the recuperative spring. Lastly, it should convert the spring force in accordance with the pre-set reference non-linear function.
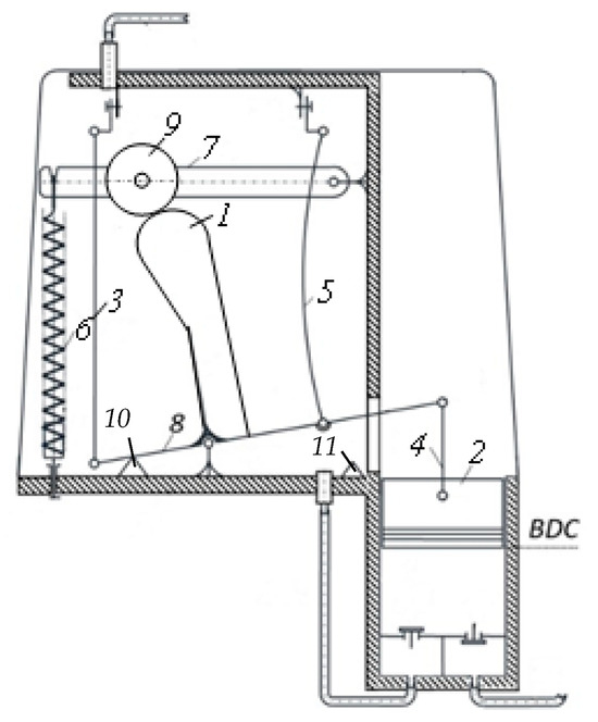
The schematic diagram in Figure 7 portrays the modified mechanism depicted in Figure 1, which incorporates a two-section involute cam. The essential components of the mechanism remain unchanged from those depicted in Figure 1. The recuperative spring is suspended between the body and the oscillating follower DCG in points E and D.
The force of the spring is transmitted to the cam by a roller which rotates around point C. According to Figure 7, the cam is located on the third arm of the three-arm rocker with two involute sections with different base circles. The drawing shows the involutes of the pitch profile which, as known from the properties of the involute, is equidistant from the cam profile. For the discharge phase, the three-arm rocker is first rotated by the wire KF from the end position φ e to the unstable discharge position φui. The roller contacts the involute with a small radius of the base circle during this time, resulting in a small moment arm of the forces of the SMA wire. The SMA wire has fully recovered its elongation after the instability point and cannot drive the three-arm rocker anymore. Then, the driving is performed by the spring, since the cam has already changed the involute profile, which changes the sign and the amount of recuperative moment. The SMA wire NM is stretched and the SMA wire FK is relaxed during this period. After that, a voltage is applied to the ends of wire NM, which causes it to heat up and shrink. This signifies the start of the suction period. The SMA wire NM rotates the three-arm rocker from angle φ0 to the suction instability angle φus. Due to the rotation of the three-arm rocker after the suction instability angle φus, the SMA wire NM relaxes, its voltage is turned off, and it begins to cool. The rotation of the three-arm rocker continues in the same direction under the action of the recuperating spring, which reverses the direction of its moment due to a change in the involute of the cam. During this rotation, the SMA wire FK is stretched, which sets up the mechanism to repeat the discharge period. The presence of two stable end positions is ensured by the reactions of each SMA wire in a cold tensioned state.
The force F r c with which the roller presses the cam after considering the balance of the moments of the forces acting on the secondary rocker relative to point G is obtained as:
F r c = ( 1 + l r 1 l r 2 ) F r cos ( ψ + ψ 0 ) cos θ
where l r 1 = D C , l r 2 = C G , F r is the force of the recuperative spring, θ is the pressure angle, ψ is the output cam angle, and ψ 0 is the initial output cam angle (Figure 7).
The moment M r s of the recuperative spring force with respect to point O is
M r s = F r c r b = r b ( 1 + l r 1 l r 2 ) F r cos ( ψ + ψ 0 ) cos θ
where r b = { r l             i f           φ [ φ 0 , 0 ] r r               i f           φ [ 0 , φ e ]     is the radius of the base involute circle.
The spring force Fr is expressed as
F r = F r 0 + l r ( tan ψ tan ψ 0 ) k r
where l r = l r 1 + l r 2 = D G , F r 0 is the initial spring force, and k r is the spring stiffness.
The output angle of the cam mechanism is determined by the relationship.
ψ = π arccos ( x 2 + y 2 d f 2 l r 2 2 2 d f l r 2 ) χ 0
where d f = O G and χ 0 = G O x . The coordinates of the cam profile can be left x l ,   y l or right x r ,   y r oriented, assumed as x = { x l         i f       φ [ φ 0 , 0 ] x r       i f         φ [ 0 , φ e ]     , y = { y l       i f         φ [ φ 0 , 0 ] y r       i f       φ [ 0 , φ e ]     and calculated according to the type of profile. For the left involute, they are presented as:
x l = r l [ cos ( t l + a l ) + t l sin ( t l + a l ) ] y l = r l [ sin ( t l + a l ) t l cos ( t l + a l ) ]
and for the right involute, the profile coordinates are obtained in the form
x r = r r [ cos ( t r + a r ) + t r sin ( t r + a r ) ] y r = r r [ sin ( t r + a r ) t r cos ( t r + a r ) ]
where r l , r r are the radii of the base left and right involute, t l and t r are the parameters for left and right involute, and a l , a r are constants for the left and right involute that determine the position of the initial point on the base circle.
After substituting (17) in (18), the recuperative moment is expressed as
M r s = r b ( 1 + l r 1 l r 2 ) [ F r 0 l r ( tan ψ tan ψ 0 ) k r ] cos ( ψ + ψ 0 ) cos θ
where r b = { r l       i f     φ [ 0 , φ e ] r r     i f     φ [ φ 0 , 0 ]     is the radius of the involute cam base circle.
For the synthesis of the bistable cam mechanism, it is assumed that for the position of the tree-arm rocker φ = 0 the roller contacts the cam at the middle point p m . Then, the arms EO and OA are horizontal and the third arm O p m is vertical (see Figure 8). Here the middle point p m of the cam profile lies on the ordinate Oy. Assuming also that in this position the output angle ψ = 0, the radius R 0 of the cam pitch circle must be
R 0 = y p m + r ,
where y p m = O p m is the ordinate of the middle point p m of the cam profile and r is the radius of the roller. For such a configuration of the mechanism (Figure 8), it is evident that when the input angle φ = 0 then the angles are:
ψ = 0 ,         θ = θ 0 ,     a n d     ψ 0 = 0 .
The Equation (22) is transformed in the form
M r s | φ = 0 = r b ( 1 + l r 1 l r 2 ) F r 0 cos θ 0
The Equation (25) is suitable for the force and geometric synthesis of the mechanism. First, the radius r l of the base circle of the left involute can be selected. Next is the choice of the ordinate y p m of the middle point P m ( 0 , y p m ) of the cam. The left involute parameters follow from the system.
r r [ cos ( t r + a r ) + t r sin ( t r + a r ) ] = 0 r r [ sin ( t r + a r ) t r cos ( t r + a r ) ] = y p m
which leads to the solution
a r = arctan 2 [ r r y p m , 1 ( r r y p m ) 2 ] t r = ( y p m r r ) 2 1
The radius of the right base circle is determined by the ratio
r r r l = M r min M r max
The parameters of the left involute circle follow from the system
r l [ cos ( t l + a l ) + t l sin ( t l + a l ) ] = 0 r l [ sin ( t l + a l ) t l cos ( t l + a l ) ] = y p m
which is solved to
a l = arctan 2 [ r l y p m , 1 ( r l y p m ) 2 ] t l = ( y p m r l ) 2 1 .
The amplification of the spring recuperative force depends on ratio m 12 = l r 1 l r 2 which along with the length of the secondary rocker arm l r is chosen for reasons of appropriate design. The initial force of the recuperative spring can be found from (25) in the form
F r 0 = M r max r r ( 1 + m 12 ) cos θ 0       o r         F r 0 = | M r min | r l ( 1 + m 12 ) cos θ 0
In the current synthesis, the stiffness of the recuperative spring is found for the angular position φ = φ e = 0.260 rad. In this position the roller contacts with point pc of the right involute, which is rotated relative to the zero position of the angle − φ e . The parameter t r c of the right involute is found by a numerical solution of the equation
y r c ( t r c ) x r c ( t r c ) = sin ( t r c + a r ) t r c cos ( t r c + a r ) cos ( t r c + a r ) + t r c sin ( t r c + a r ) = tan ( φ e )    
The next step of synthesis is to find the output angle ψ c = ψ ( φ e ) using (17) where x = y r c and y = y r c are substituted. To avoid the multiple solutions, including those of complex number type, it is recommended to search for the roots of the Equation (30) in an interval close to ψ c [ ( 1 δ ) ψ ( 0 ) , ( 1 + δ ) ψ ( 0 ) ] , where δ = 0.01 and δ = 0.1 , respectively, for the right and left evolute. Considering that ψ 0 = 0 the stiffness of the spring is expressed from (10) as
k r = 1 l r tan ψ c [ M r ( φ e ) r b ( 1 + m 12 ) cos ψ c cos θ F r 0 ] ,
where the pressure angle θ after substituting ψ = ψ c is calculated from
θ = β π 2 + α ,
where
β = arcsin [ d f R + r sin ( ψ + χ 0 ) ] ,
and
α = ± arcsin r b R .
The angle χ o determines the position of the fixed revolute joint G, e.g., χ o = G O x and the radius of the involute is R = x 2 + y 2 , where r is the radius of the roller.
Numerical values of the parameters obtained from the synthesis are shown in Table 2. The sign “+” in α is assumed for the right involute and “-“ is for the left involute.
The synthesized cam output parameters are given in Figure 9. The graph of the position output angle ψ calculated using (19) is presented in Figure 9a and pressure angle θ according to (34) is shown in Figure 9b.
In Figure 10, the graphs of the obtained recuperative moment Mr compared to the reference recuperative moment M r * are shown. Small variations in the extreme values and slopes of the two moments are observed, but they do not have a significant impact. The actual function that generates the cam can be considered a satisfactory engineering solution for the intended drive.
The synthesis conditions are fully met by the obtained results. The stiffness kr of the newly obtained recuperative spring is 9947.7 N/m which is compared with the design in Figure 10 and the results obtained in [32] show about 250 times reduction. This means that in the newly synthesized mechanism, the reactions among mechanism parts will have relatively small magnitudes.

6. Choice of the SMA Wire Parameters

In order to enhance the reliability of the pump, a strain of 2.5% was selected for the SMA wires, followed by determining their appropriate length:
l S M A I = l S M A S = r M sin φ 0 0.025
where l S M A I   l S M A S is the length of the discharge and suction SMA wires, r M = O M . The above formula is valid if distance OF is chosen to be equal to rM.
The diameter of the SMA wires depends on the maximal absolute values of the total moments MT1m and MT2m obtained in Figure 3b,c.
d S M A I 4 M T 1 M π r M [ σ ]           d S M A S 4 M T 2 M π r M [ σ ]
where d S M A I and d S M A S are the diameters of the SMA discharge and suction wires, respectively, and [ σ ] is a permissible normal stress of SMA.
The thermal time constant τ T [37,38] is determined by the equation
τ T = ρ s V s c p A s h c
where ρ s is the density of the SMA wire, V s is the volume of the SMA wire, c p is the specific heat of the SMA wire, h c is the heat transfer coefficient for convection between air and the NiTi SMA wire, and A s is the surface area of the wire. To decrease the convection heat transfer, instead of one wire n branches of wires of smaller diameter db with the same pulling force are used, or d b = 1 n d S M A where d S M A is the diameter of any nonbranched or one-branch SMA wire.
Taking into account that V s = π d S M A 2 l S M A 4 and A s π d S M A l S M A , the thermal time constant is transformed in
τ T ρ s d b c p n h c
The piston’s speed is influenced by the number of branches of the applied SMA wires, as shown in this result. The thermal time constant does not depend on the length l S M A of the SMA wire but is proportional to its diameter and inversely proportional to the square root of the number of branches.

7. Conclusions

In this research, a novel design of a bistable piston pump is proposed, incorporating SMA wire, a two-section involute cam, and a recuperating spring. Through a comprehensive analysis and type, force, and geometry synthesis, this study significantly contributes to the understanding and development of the bistable piston pump driven by SMA and an energy-recuperating spring.
The recuperating mechanism is implemented by employing a two-section involute cam that features a cusp point to determine the unstable position of the pump. Throughout each suction or discharge period, an SMA wire serves as the initial driving force, causing the rotation of the cam as it passes through the cusp point. Subsequently, the recuperating spring takes charge of the drive and completes the remaining stroke.
This study uncovers the fundamental kinematic and force relationships of a cam mechanism employing a two-section involute profile. The development of the two-section involute cam synthesis entails determining the dimensions and profile of the cam, as well as deriving the relationship between the output angle of the oscillating cam follower and the force pressure angle. The numerical investigations demonstrate that a cam composed of two involute profiles can produce a moment based on a prescribed reference discontinuous function, with extrema of opposing signs. The synthesis of a bistable mechanism with a two-section involute cam results in a spring stiffness reduction of 250 times compared to a similar mechanism proposed in reference [32].
By considering the number of branches in the SMA wires, a relationship for the thermal time constant is derived. It has been established that the thermal time constant remains independent of the wire’s length while exhibiting a direct proportionality to its diameter and an inverse proportionality to the square root of the number of branches. This relationship provides an opportunity to control the dynamic response of the structure by adjusting the parameters of the SMA wires.
The findings of this research can be applied to assess the potential for enhancing the performance of the pump. They hold promise for enhancing the overall performance and efficiency of pump mechanisms in a wide range of applications, particularly those that necessitate precise control and energy-saving capabilities. The synthesis method presented in this study has extensive applications as it enables the combination of actuation through a two-section involute cam with various other types of actuation, including solenoids, magnetostrictive, hydraulic and pneumatic actuation, piezoelectric, capacitive, thermoelectric, etc.
In our forthcoming research, we will employ the proposed synthesis method to construct a physical prototype of the studied pump, incorporating a two-section involute cam. Following that, we will conduct comprehensive experimental studies, including efficiency testing.

Author Contributions

Conceptualization, M.K., T.T., G.T., R.M., and K.K.; validation, T.T. and M.K.; formal analysis, M.K., T.T., G.T., R.M., and K.K.; investigation, M.K., T.T., G.T., R.M., and K.K.; resources, T.T. and M.K.; writing—original draft preparation, M.K., T.T., G.T., R.M., and K.K.; writing—review and editing, M.K., T.T., and R.M. All authors have read and agreed to the published version of the manuscript.

Funding

This research was funded by the European Union-NextGenerationEU through the National Recovery and Resilience Plan of the Republic of Bulgaria, project № BG-RRP-2.004-0005.

Institutional Review Board Statement

Not applicable.

Data Availability Statement

Not applicable.

Conflicts of Interest

The authors declare no conflict of interest.

References

  1. Leo, D.J. Engineering Analysis of Smart Material Systems; John Wiley & Sons, Inc.: Hoboken, NJ, USA, 2007. [Google Scholar]
  2. Trehern, W.; Ortiz-Ayala, R.; Atli, K.C.; Arroyave, R.; Karaman, I. Data-driven shape memory alloy discovery using Artificial Intelligence Materials Selection (AIMS) framework. Acta Mater. 2022, 228, 117751. [Google Scholar] [CrossRef]
  3. Zhang, J.; Ke, X.; Gou, G.; Seidel, J.; Xiang, B.; Yu, P.; Liang, W.I.; Minor, A.M.; Chu, Y.H.; Van Tendeloo, G.; et al. A nanoscale shape memory oxide. Nat. Commun. 2013, 4, 2768. [Google Scholar] [CrossRef] [PubMed]
  4. Lee, S.; Cheng, C.; Guo, H.; Hippalgaonkar, K.; Wang, K.; Suh, J.; Liu, K.; Wu, J. Axially Engineered Metal–Insulator Phase Transition by Graded Doping VO2 Nanowires. J. Am. Chem. Soc. 2013, 135, 4850–4855. [Google Scholar] [CrossRef] [PubMed]
  5. Liu, Y.; Humbeeck, J.; Stalmans, R.; Delaey, L. Some aspects of the properties of NiTi shape memory alloy. J. Alloys Compd. 1997, 247, 115–121. [Google Scholar] [CrossRef]
  6. Naresh, C.; Bose, P.S.C.; Rao, C.S.P. Shape memory alloys: A state of art review. IOP Conf. Ser. Mater. Sci. Eng. 2016, 149, 012054. [Google Scholar] [CrossRef]
  7. Otsuka, K.; Wayman, C.M. Shape Memory Materials; Cambridge University Press: Cambridge, UK, 1998. [Google Scholar]
  8. Duerig, T.W.; Melton, K.N.; Stockel, D.; Wayman, C.M. Engineering Aspects of Shape Memory Alloys; Butterworth-Heinemann: Oxford, UK, 1990; p. 499. [Google Scholar]
  9. Kahn, H.; Huff, M.A.; Heuer, A.H. The TiNi shape-memory alloy and its applications for MEMS. J. Micromech. Microeng. 1998, 8, 213. [Google Scholar] [CrossRef]
  10. Bellouard, Y. Shape memory alloys for microsystems: A review from a material research perspective. Mater. Sci. Eng. A 2008, 481, 582–589. [Google Scholar] [CrossRef]
  11. Fu, Y.; Luo, J.; Ong, S.; Zhang, S.; Flewitt, A.; Milne, W. A shape memory microcage of TiNi/DLC films for biological applications. J. Micromech. Microeng. 2008, 18, 035026. [Google Scholar] [CrossRef]
  12. Liang, C.; Rogers, C.A. Design of Shape Memory Alloy Actuators. J. Mech. Des. 1992, 114, 223–230. [Google Scholar] [CrossRef]
  13. Mohammad, H. Elahinia, Shape Memory Alloy Actuators: Design, Fabrication, and Experimental Evaluation; John Wiley & Sons: Hoboken, NJ, USA, 2016; pp. 85–124. [Google Scholar]
  14. Majima, S.; Kodama, K.; Hasegawa, T. Modeling of shape memory alloy actuator and tracking control system with the model. IEEE Trans. Control. Syst. Technol. 2001, 9, 54–59. [Google Scholar] [CrossRef]
  15. Soother, D.K.; Daudpoto, J.; Chowdhry, B.S. Challenges for practical applications of shape memory alloy actuators. Mater. Res. Express 2020, 7, 073001. [Google Scholar]
  16. Mitrev, R.; Todorov, T.; Fursov, A.; Ganev, B. Theoretical and experimental study of a thermo-mechanical model of a shape memory alloy actuator considering minor hysteresis. Crystals 2021, 11, 1120. [Google Scholar] [CrossRef]
  17. Concilio, A.; Antonucci, V.; Auricchio, F.; Lecce, L.; Sacco, E. Shape Memory Alloy Engineering for Aerospace, Structural and Biomedical Applications; Elsevier: Oxford, UK, 2015. [Google Scholar]
  18. Lagoudas, D. Shape memory Alloys. In Modeling and Engineering Applications; Springer: New York, NY, USA, 2008. [Google Scholar]
  19. Abadie, J.; Chaillet, N.; Lexcellent, C.; Bourjault, A. Thermoelectric control of shape memory alloy microactuators: A thermal model. In Smart Structures and Materials 1999: Mathematics and Control in Smart Structures; SPIE: Bellingham, WA, USA, 1999. [Google Scholar] [CrossRef]
  20. Le, H.M.; Do, T.N.; Phee, S.J. A survey on actuators-driven surgical robots. Sens. Actuators A Phys. 2016, 247, 323–354. [Google Scholar] [CrossRef]
  21. Zhu, J.; Liang, N.G.; Huang, W.M.; Liew, K.M. Energy conversion in shape memory alloy heat engine part II: Simulation. J. Intell. Mater. Syst. Struct. 2001, 12, 133–140. [Google Scholar] [CrossRef]
  22. Dana, A.; Vollach, S.; Shilo, D. Use the Force: Review of High-Rate Actuation of Shape Memory Alloys. Actuators 2021, 10, 140. [Google Scholar] [CrossRef]
  23. Chi, Y.; Li, Y.; Zhao, Y.; Hong, Y.; Tang, Y.; Yin, J. Bistable and Multistable Actuators for Soft Robots: Structures, Materials, and Functionalities. Adv. Mater. 2022, 34, 2110384. [Google Scholar] [CrossRef]
  24. Opdahl, P.G.; Jensen, B.D.; Howell, L.L. An Investigation into Compliant Bistable Mechanisms. In Proceedings of the ASME 1998 Design Engineering Technical Conferences. Volume 1B: 25th Biennial Mechanisms Conference, Atlanta, GA, USA, 13–16 September 1998; V01BT01A046. ASME: New York, NY, USA, 1998. [Google Scholar] [CrossRef]
  25. Cao, Y.; Derakhshani, M.; Fang, Y.; Huang, G.; Cao, C. Bistable Structures for Advanced Functional Systems. Adv. Funct. Mater. 2021, 31, 2106231. [Google Scholar] [CrossRef]
  26. Zhao, J.; Yang, Y.; Wang, H.; Jia, J. A Novel Magnetic Actuated Bistable Acceleration Switch with Low Contact Resistance. IEEE Sensors J. 2010, 10, 869–876. [Google Scholar] [CrossRef]
  27. Jia, Y. Review of nonlinear vibration energy harvesting: Duffing, bistability, parametric, stochastic and others. J. Intell. Mater. Syst. Struct. 2020, 31, 921–944. [Google Scholar] [CrossRef]
  28. Rossiter, J.; Stoimenov, B.; Mukai, T. A Bistable Artificial Muscle Actuator. In Proceedings of the 17th IEEE International Symposium on Micro-Nanomechatronics and Human Science, Nagoya, Japan, 6–8 November 2006; pp. 35–40. [Google Scholar]
  29. Scholtes, D.; Seelecke, S.; Rizzello, G.; Motzki, P. Design of a Compliant Industrial Gripper Driven by a Bistable Shape Memory Alloy Actuator. Am. Soc. Mech. Eng. 2020, 84027, V001T04A001. [Google Scholar]
  30. Kostov, M.S.; Todorov, T.S.; Milkov, M.J.; Penev, I.R. Bistable Valve Actuator. UK Patent Application GB 2558616; No: 1700422.7, 18 July 2018. pending. [Google Scholar]
  31. Todorov, T.; Mitrev, R.; Penev, I. Force Analysis and Kinematic Optimization of a Fluid Valve Driven by Shape Memory Alloys. Rep. Mech. Eng. 2020, 1, 61–76. Available online: https://www.rme-journal.org/index.php/asd/article/view/8/7 (accessed on 16 July 2023).
  32. Kostov, M.; Todorov, T.; Mitrev, R.; Kamberov, K.; Nikolov, R. A Study of a Bistable Reciprocating Piston Pump Driven by Shape Memory Alloys and Recuperative Springs. Actuators 2023, 12, 90. [Google Scholar] [CrossRef]
  33. Kostov, M.S.; Todorov, T.S. A Bistable Compressor Driven with Shape Memory Alloys for Refrigerator. UK Patent Application GB2207547.7, 2022. pending. [Google Scholar]
  34. Hartenberg, R.S.; Denavit, J. Kinematic Synthesis of Linkages; McGraw-Hill, Inc.: New York, NY, USA, 1964; pp. 132–138. [Google Scholar]
  35. Shaw, F.W. Equations for the Design of Involute Cams. Prod. Eng. 1933, 4, 131. [Google Scholar]
  36. Rothbart, H.A. Cam Design Handbook; McGraw-Hill: New York, NY, USA, 2004. [Google Scholar]
  37. Mitrev, R.; Atamas, E.; Goncharov, O.; Todorov, T.S.; Yatcheva, I.I. Modelling and study of a novel electrothermal oscillator based on shape memory alloys. IOP Conf. Ser. Mater. Sci. Eng. 2020, 878, 012059. [Google Scholar] [CrossRef]
  38. Mitrev, R.; Todorov, T.; Fursov, A.; Fomichev, V.; Il‘in, A. A Case Study of Combined Application of Smart Materials in a Thermal Energy Harvester with Vibrating Action. J. Appl. Comput. Mech. 2021, 7, 372–381. [Google Scholar] [CrossRef]
Figure 1. Kinematic scheme of the bistable pump with recuperative springs [32,33]: 1. Piston spring; 2. Piston; 3. Discharge SMA wire; 4. Coupler; 5. Suction SMA wire; 6. Recuperative spring; 7. Piston cylinder; 8. Three-arm rocker; 9. Discharge valve; 10. Suction valve.
Figure 1. Kinematic scheme of the bistable pump with recuperative springs [32,33]: 1. Piston spring; 2. Piston; 3. Discharge SMA wire; 4. Coupler; 5. Suction SMA wire; 6. Recuperative spring; 7. Piston cylinder; 8. Three-arm rocker; 9. Discharge valve; 10. Suction valve.
Actuators 12 00381 g001
Figure 2. Indicator diagram: (a) In pressure-displacement coordinates p-s [32]; (b) In coordinates moment-angle of rocker arm Mp.
Figure 2. Indicator diagram: (a) In pressure-displacement coordinates p-s [32]; (b) In coordinates moment-angle of rocker arm Mp.
Actuators 12 00381 g002
Figure 3. Recuperation by a spring with a linear characteristic: (a) View of the linear characteristic and indicator diagram; (b) Resultant moment for the discharge period after the recuperation; (c) Resulting moment for the suction period after the recuperation.
Figure 3. Recuperation by a spring with a linear characteristic: (a) View of the linear characteristic and indicator diagram; (b) Resultant moment for the discharge period after the recuperation; (c) Resulting moment for the suction period after the recuperation.
Actuators 12 00381 g003
Figure 4. Influence of the recuperative moment on work distribution (shaded areas): (a) Indicator diagram and the reference recuperative moment; (b) Work of the reference recuperative moment and piston moment at discharge period; (c) Work of the reference recuperative moment and piston moment at suction period.
Figure 4. Influence of the recuperative moment on work distribution (shaded areas): (a) Indicator diagram and the reference recuperative moment; (b) Work of the reference recuperative moment and piston moment at discharge period; (c) Work of the reference recuperative moment and piston moment at suction period.
Actuators 12 00381 g004
Figure 5. Scheme of a pump with a recuperative cam mechanism: 1. Cam; 2. Piston; 3. Discharge SMA wire; 4. Coupler; 5. Suction SMA wire; 6. Recuperative spring; 7. Oscillating follower; 8. Three-arm rocker; 9. Roller; 10. Left end stop; 11. Right end stop.
Figure 5. Scheme of a pump with a recuperative cam mechanism: 1. Cam; 2. Piston; 3. Discharge SMA wire; 4. Coupler; 5. Suction SMA wire; 6. Recuperative spring; 7. Oscillating follower; 8. Three-arm rocker; 9. Roller; 10. Left end stop; 11. Right end stop.
Actuators 12 00381 g005
Figure 6. Profile of the two-section involute cam.
Figure 6. Profile of the two-section involute cam.
Actuators 12 00381 g006
Figure 7. Schematic diagram of the bistable pump with two-section involute cam and oscillating follower.
Figure 7. Schematic diagram of the bistable pump with two-section involute cam and oscillating follower.
Actuators 12 00381 g007
Figure 8. Schematic diagram of the pump bistable mechanism with two-section involute cam and oscillating follower in horizontal position of the rocker’s arm OA.
Figure 8. Schematic diagram of the pump bistable mechanism with two-section involute cam and oscillating follower in horizontal position of the rocker’s arm OA.
Actuators 12 00381 g008
Figure 9. The output parameters of the involute cam: (a) The position output angle ψ [rad]; (b) The pressure angle θ [rad].
Figure 9. The output parameters of the involute cam: (a) The position output angle ψ [rad]; (b) The pressure angle θ [rad].
Actuators 12 00381 g009
Figure 10. The graph of the synthesized recuperative moment M r compared to the reference recuperative moment M r * .
Figure 10. The graph of the synthesized recuperative moment M r compared to the reference recuperative moment M r * .
Actuators 12 00381 g010
Table 1. Constant numerical values of the pump parameters.
Table 1. Constant numerical values of the pump parameters.
ParameterSymbolUnitValue
First arm of the three-arm rockerOA, rm0.125
CouplerAB, lm0.0415
Starting rocker angleφ0rad−0.0639
Starting rocker angle in degreesφ0ddeg−3.66
Piston diameterDpm0.03
Distance from point O to sliding line of center of the pistonxBm0.0290
Piston strokehpm0.016
Vertical piston position at BDC y B D C m−0.034
Maximum discharge pressurepH _Pa1,000,000
Maximum suction pressurepl _Pa50,000
Maximum discharge momentMp1maxNm79.24
Minimum suction momentMp2maxNm4.53
Table 2. Numerical results from the force and geometric synthesis.
Table 2. Numerical results from the force and geometric synthesis.
ParameterSymbolUnitValue
Small arm of the oscillating followerGC, lr2m0.02
Large arm of the oscillating followerCD, lr1m0.065
Oscillating follower ratiom12-3.25
Length of the oscillating rockerCG, lrm0.085
Radius   of   the   involute   at   φ = 0 ypmm0.046
Radius of the right base circlerrm0.00086
Radius of the left base circlerlm0.015
G O x χ0rad1.2019
Initial force of the recuperative springFr0N403.7
Stiffness of the recuperative springkrN/m9947.7
First gradient for aim recuperative momentk1Nm/rad19.1
Second gradient for aim recuperative momentk2Nm/rad2.7
Value at φ = 0 of first aim recuperative momentMp1mNm19.08
Value at φ = 0 of second aim recuperative momentMp2mNm−2.89
Intersection position between first and third aim momentφcirad−0.00063
Intersection position between second and third aim momentφcsrad0.00059
Disclaimer/Publisher’s Note: The statements, opinions and data contained in all publications are solely those of the individual author(s) and contributor(s) and not of MDPI and/or the editor(s). MDPI and/or the editor(s) disclaim responsibility for any injury to people or property resulting from any ideas, methods, instructions or products referred to in the content.

Share and Cite

MDPI and ACS Style

Kostov, M.; Todorov, T.; Mitrev, R.; Todorov, G.; Kamberov, K. Synthesis of a Bistable Recuperative Pump Powered by Shape Memory Alloys and a Two-Section Involute Cam. Actuators 2023, 12, 381. https://doi.org/10.3390/act12100381

AMA Style

Kostov M, Todorov T, Mitrev R, Todorov G, Kamberov K. Synthesis of a Bistable Recuperative Pump Powered by Shape Memory Alloys and a Two-Section Involute Cam. Actuators. 2023; 12(10):381. https://doi.org/10.3390/act12100381

Chicago/Turabian Style

Kostov, Mihail, Todor Todorov, Rosen Mitrev, Georgi Todorov, and Konstantin Kamberov. 2023. "Synthesis of a Bistable Recuperative Pump Powered by Shape Memory Alloys and a Two-Section Involute Cam" Actuators 12, no. 10: 381. https://doi.org/10.3390/act12100381

APA Style

Kostov, M., Todorov, T., Mitrev, R., Todorov, G., & Kamberov, K. (2023). Synthesis of a Bistable Recuperative Pump Powered by Shape Memory Alloys and a Two-Section Involute Cam. Actuators, 12(10), 381. https://doi.org/10.3390/act12100381

Note that from the first issue of 2016, this journal uses article numbers instead of page numbers. See further details here.

Article Metrics

Back to TopTop