Experimental and Finite Element Study on Wooden Joints Strengthened by Detachable Steel Sleeves
Abstract
1. Introduction
2. Test for Bending Performance
2.1. Specimen Design
- (1)
- Specimen Dimension
- (2)
- Fabrication of the specimen joints
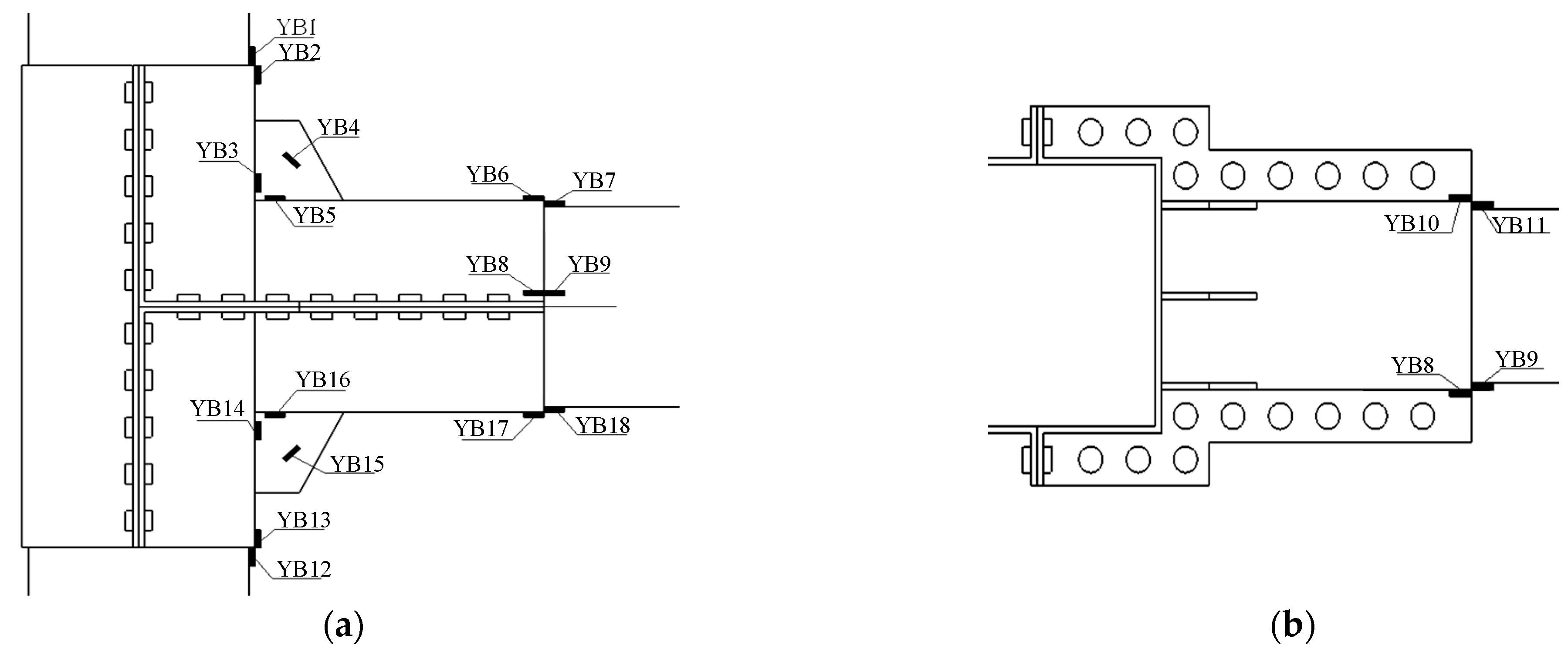
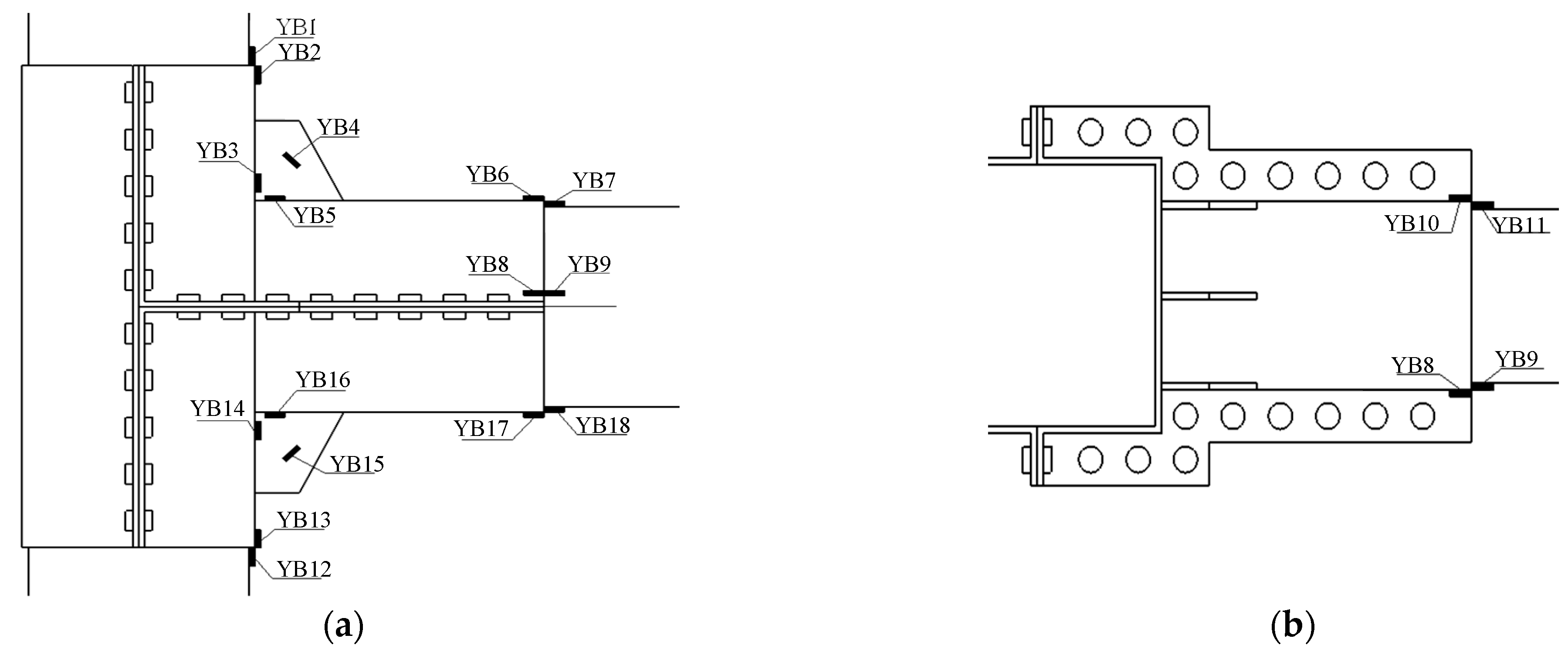
2.2. Loading Scheme and Data Collection
2.3. Test Process and Phenomena
- (1)
- Failure phenomena of joint JG0
- (2)
- Failure phenomena of joint JG1
3. Test Results and Analysis
Moment–Rotation Curves of Joints
4. Finite Element Study
4.1. Constitutive of Material
4.2. Element Type and Grid Division
4.3. Analysis Step Setting
4.4. Unstrengthened Wooden Joint JG0
- (1)
- Stress state
- (2)
- Analysis of the moment–rotation curve
- (3)
- Analysis of deformation patterns
4.5. Joint JG1 Strengthened with a Steel Sleeve
- (1)
- Stress state
- (2)
- Analysis of the moment–rotation curve
- (3)
- Analysis of deformation patterns
4.6. Finite Element Simulation of Joint JG1 with Different Steel Sleeve Thicknesses
4.6.1. Analysis of Hysteresis Curves
4.6.2. Analysis of Skeleton Curves
4.6.3. Analysis of Stress Nephograms
4.7. Limitations
- (1)
- The difference in materials
- (2)
- Simplified model
- (3)
- Loading conditions
- (4)
- Research applicability
5. Conclusions
Author Contributions
Funding
Data Availability Statement
Conflicts of Interest
References
- Rafal, K. FRP Strengthening of Timber Structures under the Elevated Temperature. IOP Conf. Ser. Mater. Sci. Eng. 2019, 471, 052049. [Google Scholar]
- Hua, Y.; Chun, Q.; Mi, Z.; Wu, Y. Experimental research on progressive collapse behavior of Chinese ancient timber buildings with different joint strengthening methods. J. Build. Eng. 2023, 68, 106215. [Google Scholar] [CrossRef]
- Dar, M.A.; Subramanian, M.; Anbarasu, H.C.; Dar, A.R. Effective Strengthening of Timber Beams: Experimental lnvestigation. Pract. Period. Struct. Des. Constr. 2021, 26, 0402. [Google Scholar] [CrossRef]
- Shao, J.; Wang, K.; Kaewunruen, S.; Cai, W.; Wang, Z. Experimental investigations into earthquake resistance of steel frame retrofitted by low-yield-point steel energy absorbers. Appl. Sci. 2019, 9, 3299. [Google Scholar] [CrossRef]
- Liu, Q.; Shao, J.; Tang, B.; Wang, Z. Experimental investigation into failure modes of low-yield-point steel plate shear walls. Appl. Sci. 2022, 12, 5632. [Google Scholar] [CrossRef]
- Hota, G.; Sonti, S.S.; Superfesky, M.C. Static response of wood crossties reinforced with composite fabrics. Int. Soc. Adv. Mater. Process Eng. Symp. Exhib. 1996, 41, 1291–1303. [Google Scholar]
- Plevris, N.; Triantafillou, T. FRP-reinforced wood as structural material. J. Mater. Civ. Eng. 1992, 3, 300–317. [Google Scholar] [CrossRef]
- Johns, K.C.; Lacroix, S. Composite reinforcement of timber in bending. Can. J. Civ. Eng. 2000, 27, 899–906. [Google Scholar] [CrossRef]
- Liu, K.; Shao, J.; Tang, B.; Wu, Q.; Wang, Z. Seismic performance of low-yield-point steel plate shear walls under horizontal cyclic load. Iran. J. Sci. Technol. Trans. Civ. Eng. 2022, 46, 3739–3752. [Google Scholar] [CrossRef]
- Wang, Z.; Shao, J. Study on quasi-static axial compression performance and energy absorption of aluminum foam-filled steel tubes. Materials 2023, 16, 4485. [Google Scholar] [CrossRef] [PubMed]
- Wang, T.; Shao, J.; Zhao, C.; Liu, W.; Wang, Z. Shaking table test for evaluating the seismic performance of steel frame retrofitted by buckling-restrained braces. Shock Vib. 2021, 1, 1–17. [Google Scholar] [CrossRef]
- José, R.; Guaita Fernández, M.V.; Arriaga Martitegui, F.V. Analysis of the Stress State at the Cogging Joint in Timber Structures. Biosyst. Eng. 2007, 96, 79–90. [Google Scholar]
- Kłosowski, P.; Pestka, A.; Krajewski, M.; Lubowiecka, I. Experimental and computational study on mechanical behaviour of carpentry corner log joints. Eng. Struct. 2020, 213, 110515. [Google Scholar] [CrossRef]
- Khelifa, M.; Auchet, S.; Méausoone, P.-J.; Celzard, A. Finite element analysis of flexural strengthening of timber beams with Carbon Fibre-Reinforced Polymers. Eng. Struct. 2015, 101, 364–375. [Google Scholar] [CrossRef]
- Nakagawa, T.; Ohta, M. Collapsing process simulations of timber structures under dynamic loading I: Simulations of two-story frame models. J. Wood Sci. 2003, 49, 392–397. [Google Scholar] [CrossRef]
- Li, H.; Qiu, H.; Lu, Y. An analytical model for the loading capacity of splice-retrofitted slender timber columns. Eng. Struct. 2020, 225, 111274. [Google Scholar] [CrossRef]
- Micelli, F.; Scialpi, V.; La Tegola, A. Flexural Reinforcement of Glulam Timber Beams and Joints with Carbon Fiber-Reinforced Polymer Rods. J. Compos. Constr. 2005, 9, 337–347. [Google Scholar] [CrossRef]
- Wang, Z.; Yang, W.; Gao, Z.; Shao, J.; Li, D. Experimental and Numerical Simulation Study on the Mechanical Properties of Integrated Sleeve Mortise and Tenon Steel-Wood Composite Joints. Buildings 2025, 15, 137. [Google Scholar] [CrossRef]
- Wang, T.; Shao, J.; Xu, T.; Wang, Z. Wang Study on axial compression properties of aluminum foam-filled steel tube members after high temperature. Iran. J. Sci. Technol. Trans. Civ. Eng. 2022, 46, 883–900. [Google Scholar] [CrossRef]
- Xu, T.; Shao, J.; Zhang, J.; Kaewunruen, S. Experimental performance evaluation of multi-storey steel plate shear walls designed by different methods. Int. J. Civ. Eng. 2019, 17, 1145–1154. [Google Scholar] [CrossRef]































| Specimen Number | Initial Rotational Stiffness/(kN·m/rad) | Yield Bending Moment/(kN·m) | Ultimate Bending Moment/(kN·m) | Increase Ratio of Initial Rotational Stiffness After Reinforcement | Increase Ratio of Yield Bending Moment After Reinforcement | Increase Ratio of Ultimate Bending Moment After Reinforcement |
|---|---|---|---|---|---|---|
| JG0 | 25.0 | 0.9 | 1.2 | - | - | - |
| JG1 | 124.0 | 4.7 | 8.8 | 495.4% | 425.9% | 627.5% |
| Yield Strength/MPa | σ11 | σ22 | σ33 | σ12 | σ13 | σ23 | σ0 |
| 25 | 1.5 | 1.5 | 5.2 | 5.2 | 5.2 | 25 | |
| Yield Strength Coefficient | R11 | R22 | R33 | R12 | R13 | R23 | |
| 1 | 0.06 | 0.06 | 0.12 | 0.12 | 0.12 |
Disclaimer/Publisher’s Note: The statements, opinions and data contained in all publications are solely those of the individual author(s) and contributor(s) and not of MDPI and/or the editor(s). MDPI and/or the editor(s) disclaim responsibility for any injury to people or property resulting from any ideas, methods, instructions or products referred to in the content. |
© 2025 by the authors. Licensee MDPI, Basel, Switzerland. This article is an open access article distributed under the terms and conditions of the Creative Commons Attribution (CC BY) license (https://creativecommons.org/licenses/by/4.0/).
Share and Cite
Gao, J.; Shao, J.; Wang, Y.; Feng, A.; Wang, Z.; Xu, H.; Zhu, Y.; Ma, B. Experimental and Finite Element Study on Wooden Joints Strengthened by Detachable Steel Sleeves. Buildings 2025, 15, 2139. https://doi.org/10.3390/buildings15122139
Gao J, Shao J, Wang Y, Feng A, Wang Z, Xu H, Zhu Y, Ma B. Experimental and Finite Element Study on Wooden Joints Strengthened by Detachable Steel Sleeves. Buildings. 2025; 15(12):2139. https://doi.org/10.3390/buildings15122139
Chicago/Turabian StyleGao, Jiajun, Jianhua Shao, Yong Wang, Anxiang Feng, Zhanguang Wang, Hongxuan Xu, Yangfa Zhu, and Boshi Ma. 2025. "Experimental and Finite Element Study on Wooden Joints Strengthened by Detachable Steel Sleeves" Buildings 15, no. 12: 2139. https://doi.org/10.3390/buildings15122139
APA StyleGao, J., Shao, J., Wang, Y., Feng, A., Wang, Z., Xu, H., Zhu, Y., & Ma, B. (2025). Experimental and Finite Element Study on Wooden Joints Strengthened by Detachable Steel Sleeves. Buildings, 15(12), 2139. https://doi.org/10.3390/buildings15122139

