Experimental Study on the Bending Behavior of Precast Concrete Segmental Bridges with Continuous Rebars at Joints
Abstract
1. Introduction
2. Experimental Program
2.1. Description of Test Specimens
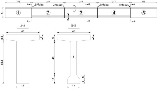
2.1.1. Section Design
2.1.2. Reinforcement Design
2.1.3. Parameter Design
2.2. Materials
2.3. Testing Procedure
2.4. Measuring Point Layout
2.4.1. Joint Opening Width Measurement
2.4.2. Deflection Measuring Point
2.4.3. Reinforcement Strain Measuring Point
2.5. Test Specimen Production
3. Test Process Analysis
4. Main Results and Comparison
4.1. Crack Propagation
4.2. Deformation
4.3. Joint Opening Width
4.4. Strains in Rebars
4.5. Failure Modes
4.6. Stiffness and Capacity
5. Calculation Method
5.1. Cracking Strength of Joints
5.2. Flexural Capacity of Joints
6. Conclusions
- (1)
- Prior to the appearance of horizontal cracks near the continuous rebars, the load–displacement curve of beam PB3 closely mirrored that of beam PB1. During this stage, the mechanical behaviors of beam PB3, including stiffness, crack development, and cracking load, closely resembled those of beam PB1. Additionally, crack lengths and widths at the mid-span, loading points, and joints in beam PB3 developed synchronously and harmoniously. Unlike beam PB2, there was no concentration of cracks specifically at the joints during this phase.
- (2)
- After horizontal cracks appear near the continuous rebars, local anchorage failure of the continuous rebars occurs, leading to a significant decrease in structural stiffness and fluctuation in the load–displacement curve. Subsequently, the joints rapidly redistributed internal forces until the continuous rebars yielded and the concrete crushed along the top edge. During this stage, the flexural stiffness of the joints decreased, cracks concentrated at the joints, and the joints gradually opened. However, in comparison with beam PB2, the continuous rebars continued to effectively limit the widths of joint openings.
- (3)
- Compared with traditional segmental beams, the continuous rebars at joints could greatly improve the stiffness and bending strength (cracking load and ultimate load) of the segmental beams, while also delaying the cracking time of joints, improving the durability of joints, and prolonging the service life of segmental beams.
- (4)
- The continuous rebars at joints effectively transmitted normal stresses between segments. During specimen failure, both the ordinary longitudinal rebars in the segments and the continuous rebars at the joints reached the yield strain. Further, the continuous rebars effectively constrained the opening width of the joint.
- (5)
- The continuous rebars at the joints significantly enhanced the ductility of segmental beams, ensuring full crack development within the segmental sections. The deflection at the peak load in the structures occurs typically at the mid-span, contrasting with the concentrated rotation and deflection observed at individual joints in traditional segmental beams. The deflection/deformation curves followed similar patterns to those of monolithic beams, indicating the improved structural behavior and performance.
- (6)
- Continuous rebars at the joints significantly enhanced the flexural stiffness, strength, and ductility of segmental beams. This structural configurations combine the advantages of precast segmental construction while effectively transferring normal bending stress across each section of the entire beam. It is recommended that the PCSBs should adopt the continuous longitudinal rebars across the joint.
Author Contributions
Funding
Institutional Review Board Statement
Data Availability Statement
Conflicts of Interest
References
- Yan, W.-T.; Han, B.; Xie, H.-B.; Li, P.-F.; Zhu, L. Research on numerical model for flexural behaviors analysis of precast concrete segmental box girders. Eng. Struct. 2020, 219, 110733. [Google Scholar] [CrossRef]
- Tran, D.T.; Pham, T.M.; Hao, H.; Chen, W.S. Numerical study on bending response of precast segmental concrete beams externally prestressed with FRP tendons. Eng. Struct. 2021, 241, 112423. [Google Scholar] [CrossRef]
- Guo, W.Q.; Feng, K.; Zhou, Y.L.; Yang, W.Q.; Lu, X.Y.; Xiao, M.Q.; He, C. Full-scale test and numerical modeling on deformation and damage behavior of segmental joints under ultimate compression-bending load. Eng. Struct. 2023, 279, 115648. [Google Scholar] [CrossRef]
- Tran, D.T.; Pham, T.M.; Hao, H.; San Ha, N.; Vo, N.H.; Chen, W. Precast segmental beams made of fibre-reinforced geopolymer concrete and FRP tendons against impact loads. Eng. Struct. 2023, 295, 116862. [Google Scholar] [CrossRef]
- Hu, Y.; Qiu, J.; Li, Z.; Yao, Y.; Liu, J.; Wang, J. Shear strength prediction method of the UHPC keyed dry joint considering the bridging effect of steel fibers. Eng. Struct. 2022, 255, 113937. [Google Scholar] [CrossRef]
- Liu, T.; Wang, Z.; Guo, J.; Wang, J. Shear strength of dry joints in precast UHPC segmental bridges: Experimental and theoretical research. J. Bridge Eng. 2019, 24, 04018100. [Google Scholar] [CrossRef]
- Zhou, X.; Mickleborough, N.; Li, Z. Shear strength of joints in precast concrete segmental bridges. ACI Struct. J. 2005, 102, 3–11. [Google Scholar]
- Turmo, J.; Ramos, G.; Aparicio, A.C. FEM study on the structural behaviour of segmental concrete bridges with unbonded prestressing and dry joints: Simply supported bridges. Eng. Struct. 2005, 27, 1652–1661. [Google Scholar] [CrossRef]
- Sørensen, J.H.; Hoang, L.C.; Poulsen, P.N. Keyed shear connections with looped U-bars subjected to normal and shear forces Part I: Experimental investigation. Struct. Concr. 2021, 22, 2418–2431. [Google Scholar] [CrossRef]
- Hao, H.; Bi, K.; Chen, W.; Pham, T.M.; Li, J. Towards next generation design of sustainable, durable, multi-hazard resistant, resilient, and smart civil engineering structures. Eng. Struct. 2023, 277, 115477. [Google Scholar] [CrossRef]
- Ahmed, G.H.; Aziz, O.Q. Shear strength of joints in precast posttensioned segmental bridges during 1959–2019, Review and analysis. Structures 2019, 20, 527–542. [Google Scholar] [CrossRef]
- Li, G.P.; Yang, D.H.; Lei, Y. Combined shear and bending behavior of joints in precast concrete segmental beams with external tendons. J. Bridge Eng. 2013, 18, 1042–1052. [Google Scholar] [CrossRef]
- Yuan, A.; Dai, H.; Sun, D.; Cai, J. Behaviors of segmental concrete box beams with internal tendons and external tendons under bending. Eng. Struct. 2013, 48, 623–634. [Google Scholar] [CrossRef]
- Saibabu, S.; Srinivas, V.; Sasmal, S.; Lakshmanan, N.; Iyer, N.R. Performance evaluation of dry and epoxy jointed segmental prestressed box girders under monotonic and cyclic loading. Constr. Build. Mater. 2013, 38, 931–940. [Google Scholar] [CrossRef]
- Chai, S.; Guo, T.; Chen, Z.; Yang, J. Monitoring and simulation of long-term performance of precast concrete segmental box girders with dry joints. J. Bridge Eng. 2019, 24, 04019043. [Google Scholar] [CrossRef]
- Jiang, H.; Cao, Q.; Liu, A.; Wang, T.; Qiu, Y. Flexural behavior of precast concrete segmental beams with hybrid tendons and dry joints. Constr. Build. Mater. 2016, 110, 1–7. [Google Scholar] [CrossRef]
- Takebayashi, T.; Deeprasertwong, K.; Leung, Y.W. A full scale destructive test of precast concrete segmental box girder bridge with external tendons and dry joints. Proc. Inst. Civ. Eng. -Struct. Build. 1994, 104, 297–315. [Google Scholar] [CrossRef]
- Aparicio, A.C.; Ramos, G.; Casas, J.R. Testing of externally prestressed concrete beams. Eng. Struct. 2002, 24, 73–84. [Google Scholar] [CrossRef]
- Woodward, R.J. Collapse of a segmental post-tensioned concrete bridge. Transp. Res. Rec. 1989, 1211, 38–59. [Google Scholar]
- Afefy, H.M.; Abdel-Aziz, M.A.; Kassem, N.M.; Mahmoud, M.H. Improving flexural performance of post-tensioned pre-cast pre-stressed RC segmental T-beams. Structures 2020, 24, 304–316. [Google Scholar] [CrossRef]
- Voo, Y.L.; Foster, S.J.; Voo, C.C. Ultrahigh-performance concrete segmental bridge technology: Toward sustainable bridge construction. J. Bridge Eng. 2015, 20, B5014001. [Google Scholar] [CrossRef]
- Pan, R.; Cheng, L.; He, W.; Zhou, X.; Shen, X. Direct shear performance of UHPC Multi-Keyed epoxy joint. Structures 2022, 44, 1898–1909. [Google Scholar] [CrossRef]
- Ye, M.; Li, L.F.; Yoo, D.Y.; Li, H.H.; Shao, X.D.; Zhou, C. Mechanistic understanding of precast UHPC segmental beams with external tendons and epoxy joints subject to combined bending and shear. Eng. Struct. 2023, 280, 115698. [Google Scholar] [CrossRef]
- Zhang, Y.; Zhu, P.; Shi, J. Flexural behavior of precast UHPC beam with prestressed bolted hybrid joint. Eng. Struct. 2020, 206, 110100. [Google Scholar] [CrossRef]
- Ye, M.; Li, L.; Yoo, D.-Y.; Wang, L.; Li, H.; Shao, X. Shear behavior of precast ultrahigh-performance concrete (UHPC) segmental beams with external tendons and dry joints. Arch. Civ. Mech. Eng. 2023, 23, 143. [Google Scholar] [CrossRef]
- Le, T.D.; Pham, T.M.; Hao, H.; Hao, Y. Flexural behaviour of precast segmental concrete beams internally prestressed with unbonded CFRP tendons under four-point loading. Eng. Struct. 2018, 168, 371–383. [Google Scholar] [CrossRef]
- Le, T.D.; Pham, T.M.; Hao, H.; Yuan, C. Performance of precast segmental concrete beams posttensioned with carbon fiber-reinforced polymer (CFRP) tendons. Compos. Struct. 2019, 208, 56–69. [Google Scholar] [CrossRef]
- AASHTO. Guide Specifications for Design and Construction of Segmental Concrete Bridges; American Association of State Highway and Transportation Officials (AASHTO): Washington, DC, USA, 1999. [Google Scholar]





















| SP ID | Stirrup Ratio/% | Longitudinal Reinforcement Ratio/% | Prestressing Tendon | Structure Type | Joint Type | Number of Segments |
|---|---|---|---|---|---|---|
| PB1 | 0.706 | 1.320 | Φ15.2 × 3 | Monolithic beam | No joint | No segment |
| PB2 | 0.706 | 1.320 | Φ15.2 × 3 | Segmental beam | Traditional joint (No rebars at joint) | Five |
| PB3 | 0.706 | 1.320 | Φ15.2 × 3 | Segmental beam | Continuous rebars at joint | Five |
| Test Specimen | PB1 | PB2 | PB4 |
|---|---|---|---|
| Test strength (MPa) | 45 | 48 | 44 |
| Density (g/cm3) | Compressive Strength (MPa) | Elasticity Modulus (GPa) | Shear Strength (MPa) | Tensile Bending Strength (MPa) | Percentage of Contraction (%) | Adhesive Time (min) | Distortion Temperature (°C) |
|---|---|---|---|---|---|---|---|
| 1.7 | 80.5 | 6.5 | 30 | 5.2 | 0.1 | 60–100 | 63 |
| Specification/mm | Ø6 | Ø8 | Ø10 | Ø12 (Continuous Rebars) | |
|---|---|---|---|---|---|
| Yield strength (MPa) | 452.45 | 446.03 | 459.87 | 1661.64 | 454.09 |
| Ultimate strength (MPa) | 620.07 | 618.90 | 657.20 | 1842.00 | 632.87 |
| Elasticity modulus (MPa) | 2.00 × 105 | 2.00 × 105 | 2.00 × 105 | 1.95 × 105 | 2.00 × 105 |
| Test Specimen | PB1 | PB2 | PB4 |
|---|---|---|---|
| Effective prestress (MPa) | 702 | 728 | 714 |
| Specimen | Cracking Load/kN (Non-Joint Position) | Cracking Load (2#Joint) (kN) | Cracking Load (3#Joint) (kN) | Ultimate Load Pu (kN) | |
|---|---|---|---|---|---|
| PB1 | 85 | / | / | 320.92 | 1 |
| PB2 | 70 | 70 | 75 | 205.76 | 0.64 |
| PB3 | 70 | 90 | 100 | 271.98 | 0.85 |
| 0 | 29% | 33% | 32% | / |
Disclaimer/Publisher’s Note: The statements, opinions and data contained in all publications are solely those of the individual author(s) and contributor(s) and not of MDPI and/or the editor(s). MDPI and/or the editor(s) disclaim responsibility for any injury to people or property resulting from any ideas, methods, instructions or products referred to in the content. |
© 2024 by the authors. Licensee MDPI, Basel, Switzerland. This article is an open access article distributed under the terms and conditions of the Creative Commons Attribution (CC BY) license (https://creativecommons.org/licenses/by/4.0/).
Share and Cite
Zou, Y.; Xu, D. Experimental Study on the Bending Behavior of Precast Concrete Segmental Bridges with Continuous Rebars at Joints. Buildings 2024, 14, 2938. https://doi.org/10.3390/buildings14092938
Zou Y, Xu D. Experimental Study on the Bending Behavior of Precast Concrete Segmental Bridges with Continuous Rebars at Joints. Buildings. 2024; 14(9):2938. https://doi.org/10.3390/buildings14092938
Chicago/Turabian StyleZou, Yu, and Dong Xu. 2024. "Experimental Study on the Bending Behavior of Precast Concrete Segmental Bridges with Continuous Rebars at Joints" Buildings 14, no. 9: 2938. https://doi.org/10.3390/buildings14092938
APA StyleZou, Y., & Xu, D. (2024). Experimental Study on the Bending Behavior of Precast Concrete Segmental Bridges with Continuous Rebars at Joints. Buildings, 14(9), 2938. https://doi.org/10.3390/buildings14092938

