Abstract
Unlike in Western countries, land ownership in China is overwhelmingly vested in the state, and individuals cannot directly own private lands and build houses. Therefore, developers will contract the land to the government and build it into collective apartments. Against this backdrop, a different kind of multi-story, high-density self-built residential buildings is widespread in small towns along the southeast coast of China. These buildings were built between 1980 and 2000 by residents who acquired land-use rights from the government for compensation. The uniqueness of these buildings is what makes them incompatible with the most mainstream, government-led urban renewal model in China, resulting in a large area of dilapidated and aging areas. Zherong County, Ningde, Fujian Province, is a typical example town, with a large number of such self-built houses, known locally as Liu Houses. In this study, these residential areas were selected as typical research objects of “characteristics of residential small towns”. Combined with the property rights of the sample cases, the methods of diagram and quantitative analysis are used to summarize the causes of the three types of residential areas from the aspects of regional planning, land division, building construction, and renovation. In the early days, the planning of the Liu House was greatly influenced by the residents, and the construction and renovation of the building was led by the residents, which strengthened the diversity of the style. In the middle period, the government had relatively dominant control over the planning of Liu Houses, and supervision was conducted during the construction and renovation process, resulting in a relatively balanced power between residents and the government. In the later period, the houses were built and operated by the developer, and the residents no longer directly participated in the construction and renovation, so the unity of style was strengthened. At the same time, the study finds that, in the process of the formation of the style of the residential area, on the one hand, the property rights directly affect the style through its own physical land attributes, and on the other hand, it becomes the basis of the game between the government, residents, and the county environment through its own property rights, thus indirectly affecting the style. In conclusion, this paper may provide theoretical support and design reference for the renewal of the characteristic features of residential small towns.
1. Introduction
In the urban area of Zherong County, Ningde City, Fujian Province, I observed a type of residential area that is very common in small Chinese towns: self-built, multi-story, high-density townhouses, locally known as Liu Houses [1] (Figure 1 and Figure 2). Each building occupies a separate plot (referred to locally as a “Liu”), and every building has a unique architectural form. Multiple buildings are arranged in rows to form a unified strip of buildings, and these strips are further arranged in a grid pattern to form a neighborhood.
Figure 1.
Original Liu Houses in Zherong County.
Figure 2.
Liu Houses renovated by local government.
In contrast to the urban development model in large Chinese cities, which typically involves large plots, strict control, and unified construction [2], the residential areas in Zherong County, Fujian Province, exhibit a distinctive characteristic: each “Liu” corresponds to an independent and clearly defined property-rights land parcel. Residents have a certain degree of say in the construction, renovation, and usage of buildings on their land parcels, allowing them to reflect their lifestyle and preferences directly in the architectural forms. Consequently, these residential areas present a diverse and unique urban landscape style, unlike other residential areas in cities.
At the same time, the row houses formed by these residential units demonstrate a strong regularity in their form and organization, presenting a unified overall appearance that reflects top-down control. This unique combination of overall regularity and individual vitality is common in small towns in Fujian and Zhejiang Provinces and is also found in residential areas in small towns in other regions, such as East and Central China. These residential areas are similarly divided into parcels through planning, following similar criteria and methods as those in large cities, including the “roads–block–land parcel” planning approach and clear property rights transfer guidelines.
However, the scale differences lead to the ineffectiveness of common land parcel-based constraint measures seen in cities. Moreover, the decentralization of building construction rights in small towns results in residential areas that are distinct in parcel scale, form, and organization, resembling townhouse residential areas based on land parcels in Western countries and traditional residentials in China.
Therefore, the top-down landscape-style planning inherited from large Chinese cities fails to adapt in the context of small towns, where residents have greater influence and the government’s enforcement power is weaker. Implementation often faces challenges, such as resident opposition, funding shortages, and regulatory difficulties. In the context of rapid economic development, “growth” has become the theme of urban development in China during this period, heavily relying on unified, large-scale, aggressive land development [3]. In contrast, the highly individualistic and vibrant residential areas in towns like Zherong County, along with the protection of individual rights and respect for diversity they represent, may offer an answer to artificial and over-controlled urban features.
2. Materials and Methods
- (1)
- Conzen’s Urban Morphology Analysis and Caniggia’s Architectural Typology Analysis as a reference
Urban morphology is a research theory that comprehensively describes and analyzes the generation, development, structure and function of towns. The development of urban morphology is based on three schools: the British School of Morphology (the Conzen School), the Italian School of Typology (the Caniggian School), and the French Versailles School. The Conzen Approach clarifies that the ground plane is composed of three basic elements, property-rights plots, streets, and building blocks, emphasizing that property-rights land occupies the core and foundation position [4]. Conzen believes that, from a morphological point of view, the geographical characteristics of a town can be reflected in the cityscape or townscape. The so-called urban landscape or urban landscape is a comprehensive reflection of the town plan, the pattern of building forms, and the pattern of urban land use. In recent years, this school of thought has been introduced to China, showing practical applicability in the study of urban development [5] and historical preservation [6] in China. The research mainly includes the following two ideas: one is to infer the morphological evolution process and analyze the development dynamics through the interpretation of historical maps [7]. On the other hand, in the analysis of collective town houses, two distinct directions have been observed: studies that concentrate on examining the diversity of urban form and studies that emphasize the impact of housing typologies [8]. Research also interprets the map of the current situation of the region and studies the morphological elements of different categories on the basis of morphological regional division [9].
Architectural typology focuses on buildings as the main research objects, classifies them based on morphological characteristics, and analyzes their sustained changes over a certain period [10], among which the representative is the Caniggian Approach. This study originally originated from the urban study of the Cities of Venice [11] and Rome [12], based on the architectural plan, trying to establish a system to accommodate the morphological content from the city to the building, and to analyze the relationship between the architectural form and the site through structural relationship analysis [13]. Caniggia further developed his mentor Muratori’s concept of scale into a system of morphological subdivisions, establishing a hierarchical system [14] consisting of an “element–element structure–structural system–system organism”. This system is applied to the classification and analysis of architectural and urban forms, subdividing buildings into “materials–components–rooms–buildings”, and cities into “buildings–texture–blocks–towns” [15], at four levels. In this way, Caniggia constructed a system of morphological subdivisions from the most microscopic materials to the most macroscopic cities, becoming an important reference for typological research [10].
- (2)
- Architectural Feature Analysis Framework Based on Land Parcels
In summary, the theory of morphological typology can analyze the structure and morphological characteristics of cities and buildings from a historical and contextual perspective. It provides a comprehensive interpretation of the morphology and typological characteristics of the Liu Houses in Zherong County. Although urban character and urban morphology have different perspectives and scopes in observation and research, they exhibit strong consistency in terms of the main research objects and the formation mechanisms discussed in this study. Therefore, this paper mainly refers to the theory of morphological typology to establish a framework (Figure 3) for landscape style analysis of the Liu House residential area in Zherong.
Figure 3.
Analysis framework based on land parcels.
At a relatively microlevel, this paper primarily uses descriptive and analytical methods, partially combined with quantitative analysis methods based on data and indicators, to analyze the streets, land parcels, organization of building plans, and building-type elements in the study area. At a relatively microlevel of architecture, this paper mainly uses comparative methods within the same period and across different periods to analyze architectural outlines, building plans, and architectural details. In the analysis of landscape style formation, historical data interpretation and graphic methods are integrated, and an analysis is conducted from three perspectives: regional morphological evolution, construction, and architectural evolution, focusing on the ongoing negotiation between government top-down constraints and resident bottom-up demands to explain the origins of landscape style features in the study area.
- (3)
- Formula for Calculating the Degree of Difference in Architectural Feature
Morphological and architectural features are relatively qualitative and subjective research objects. However, since this research is conducted from the perspective of land parcels, and the purpose of the research is to propose practical guidance and control methods, the research mainly focuses on the differences in morphological and architectural features and their relationship with land parcels. According to the abovementioned analysis framework (Table 1) of the features of the residential area, these elements in the framework can be unified into a calculation formula, so as to obtain a definite value (X) to represent the degree of difference and uniqueness of the morphological and architectural features. In this case, each element is represented by a unique character (e.g., h1 or ɑ3) and needs to be multiplied by a weight number (e.g., k1 or y2). Adding these products together gives the formula for the degree of difference and uniqueness of the architectural feature of Liu Houses.
Table 1.
Analysis elements of morphological and architectural features of Liu Houses.
Calculation formula of difference and uniqueness of the morphological and architectural features in Liu House areas:
X = (h1 × k1 + h2 × k2) + (H1 × k3 + H2 × k4) + (w1 × q1 + w2 × q2 + d1 × q3 + d2 × q4 + a1 × q5 + a2 × q6) + (ɑ1 × x1 + ɑ2 × x2 + ɑ3 × x3 + ɑ4 × x4) + (ɑ5 × y1)
+ (ɑ6 × u1 + ɑ7 × u2 + ɑ8 × u3 + ɑ9 × u4 + ɑ10 × u5 + ɑ11 × u6)
3. Results: Case Study—Zherong County, Fujian Province
- (1)
- Context and History Overview of Zherong County
- ①
- Context of the County
Geographical context: Zherong County (Figure 4) is a county under the jurisdiction of Ningde City, Fujian Province, located in the inland mountainous area at the junction of Fujian and Zhejiang Provinces in the northeast of Fujian Province. Surrounded by mountains (Figure 5), the county covers an area of 543.9 square km, with the urban area (Figure 6) of the county town covering approximately 10 square km. It has a permanent population of around 95,000 and serves as a typical regional center town in China.
Figure 4.
Location of Zherong County.
Figure 5.
Geographical environment of Zherong County.
Figure 6.
Texture of downtown area of Zherong County.
Natural environment: Zherong County is located in a region characterized by middle and low mountains, with mountainous areas accounting for 94.6% of the total area of the county, and an average altitude of 600 m. There is an important river, the “Longxi River”, running through the urban area, and the town is built along the river.
Economic and population overview: In terms of economic structure, the secondary industry has the largest proportion in Zherong County, while the proportion of the tertiary industry has been rapidly increasing, and the proportion of the primary industry has been decreasing year by year, consistent with the overall development trend in China.
- ②
- History of the County
Ancient period: Zherong County was initially established during the Ming Dynasty (Figure 7). In the feudal era, Zherong served as an important commercial town at the junction of Fujian and Zhejiang provinces. The residential houses in Zherong during the Ming and Qing dynasties were mostly two-story earth–wood or brick–wood structures with tiled roofs, built facing south, with a typical layout of six doors and five rooms around a courtyard. Along the streets, there were mostly two-story wooden shop houses.
Figure 7.
Ancient maps of Zherong County.
Republic of China period: During the Republic of China period, Zherong experienced further development. Some public buildings with brick–concrete structures were newly constructed during this period, but the new architectural structures did not become widespread in residential homes. According to the “Zherong County Chronicle 1949–1995”, until 1949, the total floor area of buildings in the Zherong urban area was approximately 94,000 m2, with a residential area of 82,500 m2, and the per capita residential area was only 12.15 m2.
People’s Republic of China period: After the founding of the People’s Republic of China, the commercial and political status of Zherong declined rather than improved. It experienced two county sanctions and mergers in 1956 and 1970. Although both county mergers were eventually canceled due to the efforts of local residents, they had a significant impact on the development of the county town. By 1979 (Figure 8), the total floor area of buildings in the Zherong urban area was approximately 260,000 m2, with a residential area of 185,000 m2. The increase in residential housing mainly consisted of public housing, and the per capita residential area did not significantly increase.
Figure 8.
Zherong in the 1980s.
After the 1980s: Following the Reform and Opening Up policy, Zherong began to encourage rural residents from surrounding areas to settle in the town. To address the housing needs of both new and existing residents, the local government relaxed constraints on residential construction and implemented a system of compensated land use, allowing private individuals to build and purchase houses. In this policy environment, a type of self-built, multi-story, high-density brick–concrete structure with traditional row-style residential architecture emerged, locally known as “Liu Houses”. The newly constructed housing was distributed in clusters in the urban area, forming several new villages of Liu Houses.
The construction of Liu Houses led to a significant expansion of the urban area (Figure 9). By the end of 1990, the total floor area of buildings in the urban area had exceeded 670,000 m2, with residential areas exceeding 450,000 m2. The per capita residential area increased to nearly 16 m2. Liu House residential areas, constructed on a large scale, exhibit strong generational characteristics in terms of architectural structure, usage patterns, and overall character. However, they also retain differences due to variations in the main construction entities and have gradually evolved through multiple rounds of transformation, ultimately forming a residential area landscape style with small-town characteristics.
Figure 9.
Area of Zherong in 1949, 1985, 2005, and 2020.
- (2)
- Classification of Liu Houses
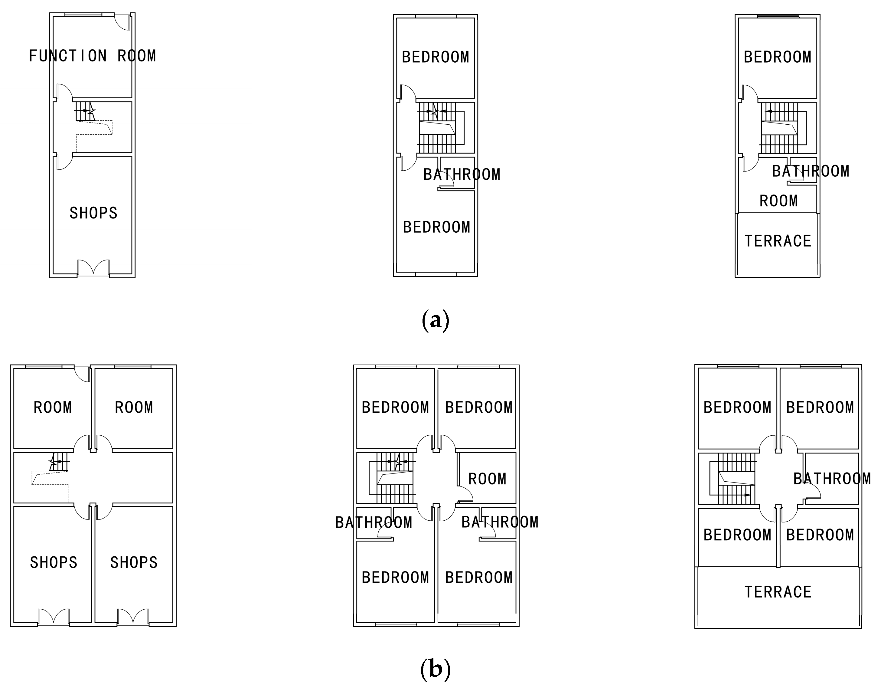
The Liu Houses are characterized by a clear top-down planning process, with a certain degree of differentiation in architectural form. According to the time of construction and the structural relationship of adjacent buildings, Liu Houses can be classified into three categories (Table 2): The first category of Liu Houses was constructed at a relatively early time, and the buildings are close to each other but do not share any architectural structures, which is referred to as the early type of Liu House in this paper. The buildings of the second type are rather close to each other, and, at the same time, the neighboring buildings share the same pediment, which is referred to as the mid-term Liu House in this paper. The third type of houses was constructed at a later stage, sharing both the same pediment and foundation, and was built by the developer on behalf of the developer, which is referred to as the late Liu House in this paper.
Table 2.
Table of types and samples of Liu Houses in Zherong City.
- (3)
- Morphological and Architectural Features of Liu House Residential Area
- ①
- Sample A: Early Liu Houses
- (i)
- Morphology and Structure of Land Parcels
Long-term land-use rights held by residents: The Liu House buildings in the sample blocks were mostly constructed on old residential land (Figure 10). Initially, the ownership of these old residential land parcels belonged to the collective, gradually transitioning to state ownership after the Reform and Opening Up, while the land-use rights remained with the residents. Under relatively lenient approval conditions in the early stages, residents could freely demolish and rebuild their own buildings.
Figure 10.
Plot distribution of early Liu Houses.
Land parcel structure: The land parcels within the sample blocks exhibit a three-level division structure (Figure 11) of “block–parcel–Liu House land parcel (property-rights land parcel)”. Each Liu House residence occupies one Liu House land parcel, and multiple Liu House land parcels are closely arranged to form a block, with multiple adjacent blocks forming a block.
Figure 11.
Plot structure of early Liu Houses.
Form and scale of land parcels: The sample blocks are primarily composed of eight Liu House blocks along the river, interspersed with several traditional residences. The overall form of the blocks follows the trend of the riverbank terrain and road layout, presenting an irregular elongated shape, with an area of approximately 13,300 m2 and a building density of about 56%. Most of the blocks within the sample exhibit a quadrilateral or polygonal shape, with areas ranging from 400 to 1000 m2. The overall form of the blocks is relatively regular (Figure 12a,b), but some blocks are significantly influenced by surrounding traditional buildings or riverbank terrain, resulting in a lower degree of regularity in their shape. The Liu House land parcels within the blocks mostly have relatively regular quadrilateral shapes, with areas typically ranging from 50 to 100 m2 (Figure 12c). The width and depth of the Liu House land parcels are relatively consistent, with widths usually between 3.5 and 5 m and the depths ranging from 12 to 16 m, exhibiting clear scale regularity.
Figure 12.
(a) Plot width data of early Liu Houses. (b) Plot length data of early Liu Houses. (c) Plot area data of early Liu Houses.
- (ii)
- Regional Morphological Feature: Lack of Certain Regularity
Street and alley texture: Within this area, the hierarchical structure of streets and alleys is very apparent, displaying a three-level structure of “urban roads–main streets of blocks–branch roads of blocks”. The scale of streets is relatively small, and it corresponds to the level of the roads. Higher-grade roads typically have wider scales, while lower-grade roads are narrower. Overall, the texture of the area bears some resemblance to the texture of nearby traditional buildings, with streets and alleys exhibiting a more distorted form.
Area morphology: The morphological characteristics of this sample area are quite diverse, lacking a unified rule. This diversity is reflected in the variability of street scales and irregular forms, as well as the mixture of building types, uncertainty in layout orientation, and inconsistency in external outlines. Compared with the situation of property-rights land parcels, it can be observed that the irregularity of the area’s form is likely directly related to the instability of blocks, block parcels, and Liu House land parcels. On one hand, these parcels and parcel structures may directly contribute to the formation of the area’s morphology. On the other hand, the form and organization of Liu House land parcels and blocks also influence the structure of streets and alleys and the overall characteristics of buildings, thereby indirectly affecting the form of the area.
- (iii)
- Architectural Feature: Significant Diversity Exists
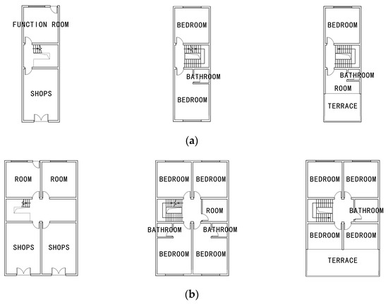
Building exterior forms: The buildings in the area are primarily residential, but the functional use of buildings within the blocks is not singular. Most of the buildings along the streets have small family shops or workshops on the ground floor. Liu House buildings within the blocks are typically constructed closely against the parcel boundaries, without balconies or terraces, with the facades aligning horizontally. Although the Liu House land parcels within the blocks are generally rectangular, the scales are not uniform (Figure 13).
Figure 13.
(a) Plot division of early Liu Houses. (b) Type of early Liu Houses. (c) Roof form of early Liu Houses. (d) Plan scales of early Liu Houses. (e) Plan area of early Liu Houses. (f) Number of floors of early Liu Houses.
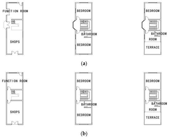
Plans: There are two types of Liu House floor plans within the sample blocks: one is the conventional type (Figure 14a), typically corresponding to Liu House land parcels with a width of 4 m; and the other is the wide type (Figure 14b), typically corresponding to Liu House land parcels with a width ranging from 4 to 6 m. The Liu House buildings within the sample exhibit a certain degree of uniformity in floor plans, with houses on adjacent Liu House land parcels generally maintaining consistent floor plans. However, individual households strive to maintain differences in floor plan details, such as using elaborate spiral staircases or modern iron staircases, to highlight personalized features.
Figure 14.
(a) Plans of standard early Liu Houses. (b) Plans of wide-type early Liu Houses.
Facades: Between each Liu House building on the sample blocks, there are distinct vertical dividing lines (Figure 15a) on the facades, typically formed by differences in facade color, materials, or textures, corresponding to the dividing lines of Liu House land parcels. The facades of Liu House buildings often adopt a symmetrical posture, corresponding to the symmetrical floor plans, highlighting the independence of each Liu House building. The building facades also have distinct horizontal dividing lines (Figure 15b), which can be divided into three sections: the top section, middle section, and base section (Figure 15c). These dividing lines are often formed by the convex and concave forms, typically unified by blocks or multiple Liu House land parcels.
Figure 15.
(a) Vertical division of facade. (b) Floor division of facade. (c) Horizontal division of facade.
Architectural features: The current architectural features of the sample blocks exhibit extremely strong diversity, encompassing almost all aspects from building massing, outline shapes, facade forms, detail decorations, and scales. Comparing with the current status of land ownership, it can be observed that the architectural features of the sample area are correlated with both Liu House land parcels and blocks. The overall building shapes, roof forms, and floor-plan layouts exhibit certain commonalities at the block level, while aspects such as building massing, facade forms, and detail decorations demonstrate extremely strong diversity at the level of Liu House land parcels.
- (iv)
- Summary of Early Liu House Features
Based on the analysis of land ownership and the current architectural features of the sample area, there exists a clear hierarchical structure of “block–block–Liu House land parcel”, with a lack of uniformity in the morphology and scale of Liu House land parcels and blocks. In terms of regional morphology, the sample exhibits a characteristic lack of regularity. Further observation reveals that the sample area’s morphology exhibits certain top-down modern planning traits, presenting an early row-and-column texture, but also carries shadows of traditional block morphology to some extent. Regarding architectural features, the sample exhibits a pronounced diversity, allowing different Liu House buildings to demonstrate strong independence, yet not enough to completely disrupt the overall integrity of architectural features at the block level, forming a “block-wide unity, but each Liu building with different details” architectural features.
Comparing the regional morphology and architectural features of the sample with the status of land ownership, a strong correlation between the two levels of architectural features and land parcels can be observed. This correlation is manifested in the uniform features or differences in architectural features at the level of Liu House land parcels, blocks, or neighborhoods, as well as in the morphology and organizational methods of land parcels directly or indirectly participating in the formation of architectural features.
- ②
- Sample B: Mid-term Liu Houses
- (i)
- Morphology and Structure of Land Parcels
In addition, some transformation phenomena can be observed in the sample blocks, which have had an impact on the overall architectural features from the perspective of details, buildings, and even blocks. These transformations are essential aspects in the study of architectural features evolution and cannot be ignored.
Collective land-use rights: The Liu House buildings in the sample block are mostly constructed by residents relocated from surrounding villages collectively (Figure 16). The ownership of these lands still belongs to the state, but the land-use rights are uniformly allocated to village collectives by the local government and then transferred to individuals through the village collectives. With government approval and the consent of the village collective, residents can relatively freely construct Liu House buildings and have the right to house renovation, leasing, and transfer.
Figure 16.
Plot distribution of mid-term Liu Houses.
Land parcel structure: Similar to Sample One, this block also exhibits a three-tiered structure (Figure 17) of “Liu House land parcel–block–neighborhood”. The difference lies in the presence of multiple similar blocks surrounding this sample, collectively forming a larger Liu House area. Unlike Sample One, these blocks no longer lack clear boundaries but are enclosed by urban roads or other regional roads. Each block contains multiple street blocks, which are enclosed by roads within the neighborhood and consist of multiple Liu House land parcels arranged in parallel, forming a clearer internal structure of the neighborhood.
Figure 17.
Plot structure of mid-term Liu Houses.
Form and scale of land parcels: The sample block consists of eight Liu House blocks without other types of buildings. The block is bounded by Donghebin Road and three unnamed roads, with clear boundaries, presenting a regular trapezoid shape, covering an area of approximately 6500 m2, with a building density of about 64%. The blocks are generally rectangular or trapezoidal in shape, with lengths primarily based on the width of 8 or 15 Liu House land parcels, and widths uniformly between 12 and 14 m (Figure 18b). The Liu House blocks in the area have relatively regular shapes and consistent scales, forming blocks in a parallel manner. The scale of Liu House land parcels in the sample block is quite stable, with depths maintained around 12–14 m and widths mainly at 4 m (Figure 18a). There are also instances where families build houses spanning two Liu House land parcels or multiple households jointly purchase multiple parcels to merge and build houses.
Figure 18.
(a) Plot width data of mid-term Liu Houses. (b) Plot length data of mid-term Liu Houses. (c) Plot area data of mid-term Liu Houses.
- (ii)
- Regional Morphological Feature: Pattern with Certain Regularity
Street and alley texture: Upon observing multiple blocks within the area, the hierarchical structure of streets and alleys is apparent, presenting a three-level structure of “city roads–inter-block roads–intra-block roads”. The streets within the blocks are relatively narrow, averaging about 4 m wide, with a height-to-width ratio of approximately 0.24. The road network within the area is dense, suitable for walking or non-motorized vehicle travel. From a holistic perspective of multiple blocks, the road network in the area is based on city roads, extending into inter-block roads and intra-block roads, forming an orthogonal road network system that adapts to the terrain.
Area morphology: The area’s morphology exhibits a clear regularity, presenting a mixture of enclosed and row-based textures. The hierarchy of streets and alleys is more distinct, with standardized dimensions and forms, and the types, layouts, orientations, and external outlines of buildings are noticeably constrained by specific rules. By contrasting the morphology of this sample area with that of individual land plots, it becomes evident that the regularity of the area’s morphology is closely related to the uniformity of scale and form among various levels of land plots within the sample.
- (iii)
- Architectural Feature: Balanced Similarity and Diversity
Building exterior forms: The area is predominantly composed of Liu House residences, with mixed-use functionalities. The distribution of functions is closely related to the accessibility of roads, with Liu Houses along city roads typically renting out the ground floor to shops, and some even renting out parts of the upper floors for residential purposes, while Liu Houses within blocks are mostly used purely for residential purposes. The Liu House buildings tightly adhere to the boundaries of the land plots, with a uniform and even appearance. The exteriors of Liu House buildings within the sample blocks are similarly modest, resembling elongated cubes formed directly from the land plots, with only slight variations in the roofs and overhangs, breaking the otherwise uniform cube-like appearance (Figure 19).
Figure 19.
(a) Plot division of mid-term Liu Houses. (b) Type of mid-term Liu Houses. (c) Roof form of mid-term Liu Houses. (d) Plan scales of mid-term Liu Houses. (e) Plan area of mid-term Liu Houses. (f) Number of floors of mid-term Liu Houses.
Plans: In the sample blocks, Liu House buildings mainly consist of two types of floor plans. The first type, similar to Sample One, is the standard-layout Liu House, with a standard width (Figure 20a) corresponding to a 4 m wide land plot. The second type is the double-plot Liu House (Figure 20b), which occupies two land plots and has a floor plan resembling the merging of two Liu Houses.
Figure 20.
(a) Plans of wide-type mid-term Liu Houses. (b) Plans of standard mid-term Liu Houses.
Facades: Upon observing the block as a whole, there are usually distinct vertical dividing lines (Figure 21a) between each Liu House, corresponding strongly with the boundaries of the land plots. Due to the uniform floor heights of Liu House residences within the block, the facades of buildings in the sample blocks can be divided into three segments horizontally (Figure 21c).
Figure 21.
(a) Vertical division of facade. (b) Floor division of facade. (c) Horizontal division of facade.
Architectural features: The architectural aesthetics of this sample block exhibit a harmonious balance between coherence and diversity. There is a strong overall coordination in terms of building volume, external shape, and integral components. However, there is also diversity and differentiation in terms of volume, shape, facade, and architectural details. Additionally, comparing the block conditions with the sample plots reveals that the architectural aesthetics of this sample block are closely related to the hierarchical structure of the plots. Similar to Sample One, the diversity of architectural aesthetics in this sample block is largely based on the characteristics of individual land plots, while the coherence of architectural aesthetics is mainly based on the characteristics of the block or neighborhood.
- (iv)
- Summary of Mid-Term Liu House Features
In summarizing the property rights situation and aesthetic status of the sample area, it is evident that there is a clear hierarchical structure of “neighborhood–block–land plot” in this sample, and there is also clear regularity between the land plots and blocks. In terms of urban form, the sample exhibits obvious uniformity. However, in terms of architectural aesthetics, the sample shows strong diversity in relatively detailed aspects, while demonstrating clear coordination in more integral aspects. Compared with the property rights status, it is evident that there is a strong correlation between the aesthetics at these two levels and the property-rights plots. Similar to Sample One, this correlation mainly manifests as differences at the level of land plots and uniformity at the level of blocks or neighborhoods.
Furthermore, in the sample block, some noticeable transformation phenomena can be observed, including both government-led facade-uniformity projects and residents’ spontaneous repair-based transformations. Regardless of the method of transformation, they have influenced the overall aesthetics from the perspectives of detail, building, and block.
- ③
- Sample C: Late Liu Houses
- (i)
- Morphology and Structure of Land Parcels
Land-use rights owned by developers: The Liu House residences in the sample block are developed by commercial developers. The ownership of these lands belongs to the state, and the land-use rights are sold to developers by the local government for a fee. After the construction and sale of the houses, the land-use rights are transferred to individual residents (Figure 22). Therefore, theoretically, residents hold the land-use rights of the Liu House residences, but they cannot independently construct or significantly alter the houses. However, they have relatively free rights to lease or transfer them.
Figure 22.
Plot distribution of late Liu Houses.
Land parcel structure: The sample block also exhibits a hierarchical structure (Figure 23) of “land plot–block–neighborhood”. The neighborhood is enclosed by urban roads, with the boundaries clearly delineated by these roads. Inside the neighborhood, there are several or dozens of rows of blocks arranged in a grid pattern, forming a clear internal structure.
Figure 23.
Plot distribution of late Liu Houses.
Form and scale of land parcels: The sample block consists of eight Liu House blocks, excluding other types of buildings. The neighborhood is bordered by Riverside East Road and three unnamed roads, forming a clearly defined trapezoidal shape, with an area of approximately 6500 m2 and a building density of about 64%. The blocks are standardized and regular rectangles or trapezoids, with lengths primarily determined by the width of 8 or 15 Liu House land plots, and widths uniformly ranging from 12 to 14 m (Figure 24b). The Liu House blocks in the area exhibit relatively regular shapes and consistent scales, forming blocks in a parallel manner. The scale of Liu House land plots in the sample neighborhood is quite stable, with depths maintained at around 12–14 m and widths mainly at 4 m (Figure 24a). There are also instances of families spanning two land plots to build houses or multiple households pooling multiple plots to construct houses.
Figure 24.
(a) Plot width data of late Liu Houses. (b) Plot length data of late Liu Houses. (c) Plot area data of late Liu Houses.
- (ii)
- Regional Morphological Feature: Strong Regularity
Street and alley texture: The roads within the neighborhood can be divided into two types: one is the main cross-shaped road that runs through the entire neighborhood, connecting to the urban roads; and the other is the branch roads that connect to each block from the main road. The scale of both types of roads is relatively uniform. The road network within the neighborhood is largely independent of the urban road network, adapting to the morphology of the plots and terrain to form a relatively independent internal road network.
Area morphology: The morphology of the sample area exhibits a high degree of regularity, presenting a standard grid pattern overall. The hierarchy of streets and alleys is clear, with uniform standards in scale and form. The overall architectural form resembles that of a residential apartment complex. Comparing the morphology of the sample area with that of the land plots, it can be observed that the regularity of the region’s morphology is consistent with that of the land plots, indicating a significant correlation.
- (iii)
- Architectural Features: Highly Unified Similarity
Building exterior forms: The region is mainly composed of Liu House residences, with a slightly lower degree of mixed functionality compared to the previous two types of Liu Houses. The division of Liu House land plots within the blocks is relatively uniform (Figure 25). The Liu House buildings within the sample blocks exhibit modern features. Although the overall form remains elongated rectangles, the unified decorative components on the roofs and the protrusions and recesses on the facades break the integrity of the rectangles, giving the entire block the characteristics of modern residential architecture.
Figure 25.
(a) Plot division of late Liu Houses. (b) Type of late Liu Houses. (c) Roof form of late Liu Houses. (d) Plan scales of late Liu Houses. (e) Plan area of late Liu Houses. (f) Number of floors of late Liu Houses.
Plans: The Liu House buildings in the sample block consist of only one type (Figure 26) of floor plan, which is the standard-width conventional Liu House. In the depth direction, these Liu House floor layouts mainly consist of functional rooms, stairwell corridors, and other functional spaces.
Figure 26.
(a) Plans of standard late Liu Houses. (b) Plans of wide-type late Liu Houses.
Facade: The Liu Houses in the sample block exhibit distinct vertical division (Figure 27a) decorations on their facades. However, unlike the previous two samples, these decorative divisions do not have a direct connection with the Liu House land plots but exist as independent facade decorations. The facades of Liu House buildings in the sample block can also be divided into three sections (Figure 27c): upper, middle, and lower, with a proportion of 8:27:10 (Figure 27c). Each Liu House block has prominent division lines in the three sections, including first-floor protruding decorations and cornice lines.
Figure 27.
(a) Vertical division of facade. (b) Floor division of facade. (c) Horizontal division of facade.
Architectural features: Overall, the architectural features of this sample neighborhood demonstrate a high level of uniformity, characterized by the features of the block as a whole. The Liu House residences on each block are interconnected, forming complete blocks. These buildings exhibit strong coordination in terms of volume, shape, and overall structural components, with facade decorative components even installed on entire blocks. Comparing with the land plot situation, it can be observed that the association between the architectural features of this neighborhood and the Liu House land plots is limited; instead, it reflects more the correlation with the blocks and neighborhoods.
- (iv)
- Summary of Late Liu House Features
Summarizing the property-ownership situation and the current morphological and architectural features of the sample area, it is evident that the Liu House land plots and blocks in this sample exhibit a high degree of controlled regularity. In terms of regional morphology and architectural features, the sample demonstrates strong uniformity and coordination, with only minimal differences in architectural facade details, door and window decorations, etc. Contrasting with the property ownership status, it is clear that the association between the architectural features of the neighborhood and the land plots is much weaker than in the first two types of Liu House residences.
Additionally, noticeable renovation phenomena are observed in the sample neighborhood, mainly comprising government-led facade-uniformity renovation projects and a small number of spontaneous repair renovations initiated by residents. Among these, although resident-led renovations are rare, they, to some extent, disrupt the regularity of the morphological and architectural features, while retaining certain features of Liu House buildings, thus reflecting the association between architectural features and property-ownership plots.
- (4)
- Control Framework Based on Calculation of Architectural Feature Difference
- ①
- Practical Calculation Formula of Difference of the Morphological and Architectural Features
On the basis of the feature analysis and a discussion among a group that includes local government officials, urban planning researchers, architects, and local residents in Zherong, the article assigns values (Table 3) to the weights in the calculation method proposed in Section 2. It was discussed that since the formula needs to provide a precise reference for the guidance and control practice, the size of the weighted value is most affected by the difficulty of renovation or control, meaning the more difficult the renovation or guidance and control is, the higher the weighted value is, and vice versa. In addition, the weights may also be influenced by local culture, residents’ living habits and other factors.
Table 3.
Analysis Elements of Morphological and Architectural Features of Liu House with Weight Values.
Thus, under Zherong’s environment, the calculation formula above can be translated into the following formula:
X = 10 × (h1 + h2) + 10 × (H1 + H2) + 7 × (w1 + w2 + d1 + d2) + 0.5 × (a1 + a2) + 10 × (ɑ1 + ɑ2 + ɑ3 + ɑ4) + 20 × ɑ5 + 2 × (ɑ6 + ɑ7 + ɑ10) + ɑ8 + ɑ9 + ɑ11
- ②
- Estimation-Based Renovation Framework of Liu House Areas in Zherong
Based on the different data obtained in the above-estimation methodology, five levels of guidance (Table 4) can be summarized. Among them, the difference degree of building form corresponding to grade 1 is the highest, and there are differences in the building form at this level, while the difference of building form corresponding to grade 5 is the lowest, and each building is the most similar to the surrounding buildings. The higher the difference in the form of the building, the higher the degree of freedom in the building’s self-renewal, so the local government uses more guidance to control, and the lower the difference, the more likely the building is to be updated in a unified way.
Table 4.
The renovation framework of the feature control of Liu Houses.
Different levels of guidance and control correspond to different levels of architectural form differences. In the process of implementation of the guidance and control, different score intervals correspond to different final guidance and control goals, so that the owners of the buildings can match the updated content by themselves and reduce the degree of morphological differences of their own buildings to below the target score, so as to ensure the coordination of the building forms in the block. At the same time, in these updates, the government can control residents to jointly update some of the content through fixed and optional combinations, such as changing the color of the wall or replacing the material of doors and windows.
4. Discussion
- (1)
- Discussion on How Property Rights and Construction Processes Impact the Form of Liu Houses
- ①
- Early Liu Houses: Diverse Architectural Features Formed by Differentiated Construction
- (i)
- Built on Self-Owned Old House Sites
This type of Liu House construction took place between 1980 and 1985. At this time, the development and expansion of Zherong were still in the initial stages, and government unified planning was lacking. Liu Houses during this period were mostly built on existing traditional urban plots or nearby vacant land. During the early construction of Liu Houses, after negotiation for the demolition of old houses by residents, the government would reorganize the plots and return them to residents to construct new-style Liu House residences (Figure 28).
Figure 28.
Plot distribution of late Liu Houses.
The mode of plot division directly influenced the structure and form of the plots. In this mode of plot division, the form and area of the blocks were directly inherited from the demolished old house sites (Figure 29). In order to accommodate more residents within a block and evenly spread the development costs, the land allocated to each household was divided into densely arranged strips. The area of Liu House plots allocated to original residents was linked to the area of the original house sites, while new residents had to pay for the corresponding land to obtain the right to construct Liu Houses. Therefore, early Liu House residences first formed a “block–Liu House plot” land structure. As the number of Liu House blocks gradually increased, the hierarchical level of “neighborhood” gradually appeared, ultimately forming a three-level structure of “neighborhood–block–Liu House plot”. Under this evolving mechanism of plots, the forms of Liu House plots and blocks in early Liu House residential areas appeared relatively inconsistent and irregular, with significant fluctuations in the area and scale of Liu House plots.
Figure 29.
Formation process of early Liu Houses.
- (ii)
- Individual Construction Driven by the Residents
The construction of early Liu House buildings was primarily led by residents (Figure 30). Residents typically commissioned county engineering teams for construction. They had the autonomy to adjust the volume, facade style, and other architectural details to ensure that the building met their own needs. Residents also needed to be deeply involved in the construction process, usually by personally procuring raw materials, supervising on-site construction, and overseeing the acceptance of the houses. In this process, residents’ decisions were influenced by both internal and external factors. External factors mainly included constraints on the form of Liu House plots, government construction control, and restrictions imposed by county conditions, while internal factors mainly included residents’ preferences, their actual living needs, and information sharing and competitive forms among neighbors. Through the combined influence of internal and external factors, facilitated by the resident-led construction mode and based on Liu House plots as the material foundation, the resulting architectural style exhibited overall coherence and noticeable diversity characteristics.
Figure 30.
Construction process and influencing factors of early Liu Houses.
- ②
- Mid-term Liu Houses: Morphological and Architectural Features Affected by both the Government and the Residents
- (i)
- Land Parcels Shaped by Administrative Planning
This type of Liu House construction was extensively carried out between 1985 and 2000, with construction land mainly sourced from vacant land on the outskirts of urban areas at that time. The construction on this vacant land required unified planning, resulting in the hierarchical structure of the area’s plots, road network, and Liu House plot division, which were products of top-down planning during this period (Figure 31). At the neighborhood level, due to constraints on the local construction capacity and the relatively limited influx of residents over a short period, the government controlled the area of each Liu House neighborhood to around 6000–8000 m2. Within each neighborhood, the planning designated blocks as rectangular plots with lengths of approximately 40–50 m and widths of 12–16 m. These blocks would be further subdivided into elongated Liu House plots with similar areas and widths, and the residents or nearby villagers would obtain the right to construct residences from the government for a fee. In this process, as residents were the main contributors in directly acquiring the right to construct Liu House plots, the government had to consider residents’ construction demands and affordability. Consequently, residents indirectly influenced the form and organization of the plots. Under the top-down unified planning, combined with residents’ indirect influence, this type of Liu House residential area ultimately formed a three-tiered plot classification of “neighborhood–block–Liu House plot”.
Figure 31.
Dividing the plots of mid-term Liu Houses.
- (ii)
- Collective Construction Driven by Spontaneously Formed Resident Groups
The construction of mid-term Liu House buildings was also led by residents. However, unlike in early Liu House residential areas, most residents in this type of Liu House were villagers from surrounding villages near the county town, often relocating to the county town as large families or collectively as village communities to settle down. Therefore, during the construction of mid-term Liu House buildings, these people often collectively commissioned the same construction team (Figure 32). In this process, residents’ construction decisions were also influenced by both internal and external factors. External factors, in addition to the constraints of Liu House plot morphology and government construction controls, also included additional collective factors. For example, to save costs, collectives agreed to share the same gable wall with neighboring households and jointly procure building components and materials. Internal factors mainly included residents’ preferences, practical life needs, and neighborhood-form competition, which continued to have a substantial impact on architectural style.
Figure 32.
Construction process and influencing factors of mid-term Liu Houses.
As a result, the final buildings were constrained by external factors, exhibiting a certain degree of uniformity in terms of volume and planar facade. However, they were also influenced by internal factors, retaining strong characteristic features in terms of facade or architectural details. This balance between coherence and diversity in architectural style within the area was achieved, reflecting a unique equilibrium.
- ③
- Late Liu Houses: Unified Morphological and Architectural Features Under Developers’ Direct Control
- (i)
- Commercial Real Estate Development
By 1990, the peak period of self-built Liu Houses had gradually passed. With the gradual improvement of local government planning and management capabilities, inherent problems, such as difficult supervision and low quality, in the early and mid-term resident-led Liu House self-building model were exposed. Therefore, in 1991, Zherong established the County Real Estate Exchange and the County Land Development Affairs Office, followed by the establishment of two county real estate development companies. Subsequently, the developer-led unified development model gradually began to replace the resident-led self-building residential model. By 2001, the Zherong government completely ceased the approval of new self-built Liu House residences, and the resident-led Liu House residential construction model was completely replaced by the unified development model. In this unified development model led by developers, the government is responsible for overall planning and infrastructure construction in the early stage (Figure 33), while developers are responsible for planning, design, actual construction, and housing sales within the plot and accept government supervision and constraints during the process. All the residents’ needs for the plot are realized through the developer’s commercial considerations.
Figure 33.
Dividing the plots of late Liu Houses.
- (ii)
- Unified Construction Led by Commercial Developers
In the later stage of Liu House residences, developers replaced residents as the dominant force in building construction (Figure 34). The unified construction model gave developers the ability to subjectively lead the architectural form, while also requiring them to adhere to government regulations and cater to the housing needs of buyers. In the actual design and construction process, as Liu House plots no longer directly reflect residents’ preferences and housing needs, government control over construction indicators generally focuses on the block level. Therefore, Liu House plots no longer have a direct impact on the architectural style and constraints. This results in Liu House residences of this type exhibiting strong uniformity and coordination in terms of volume, shape, planar facade, and details, but they fail to reflect the characteristic features related to the architectural style and Liu House plots.
Figure 34.
Construction process and influencing factors of late Liu Houses.
- (2)
- Summary on How Property Rights and Construction Processes Impact the Form of Liu Houses
Summarizing the regional and architectural features of the three types of Liu House neighborhoods:
Type 1: Irregular regional aesthetics with a strong correspondence between architectural style and Liu House plots.
Type 2: Relatively regular regional aesthetics with some correspondence between architectural style and Liu House plots.
Type 3: Highly regular regional aesthetics with weak correspondence between architectural style and Liu House plots.
Therefore, the evolution of Liu House morphology can be summarized as follows: from a regional perspective, the overall morphology and texture of blocks gradually evolve from irregular to regular, with the block-level three-tier division system becoming more stable, and the morphology of blocks and Liu House plots gradually becoming more uniform. The development model of Liu House residences tends to mature. From an architectural perspective, the outline of Liu House buildings transitions to uniform coordination, while the diversity of architectural styles gradually decreases, but architectural details still maintain a strong diversity. Overall, over time, the correlation between the architectural style of Liu House residences and the characteristics of Liu House plots decreases, while the correlation with block-level plots increases.
Comparing the causes of Liu House residential aesthetics in three periods, over time, the government gradually increased its control over regional and architectural morphology through planning, regulation, and selecting agents. Meanwhile, residents gradually lost their dominant role and eventually lost their direct bargaining position with the government. Therefore, the aesthetics of the three types of Liu Houses gradually strengthened in terms of regularity and overall coherence, while decreasing in terms of differentiation and diversity, and the correspondence between aesthetics and Liu House plot morphology gradually disappeared.
From a bargaining perspective, property-rights plots (i.e., Liu House plots) are undoubtedly the basis for the government’s bargaining with residents and tenants (Figure 35). Liu House plots have both physical attributes of plots and clear property-rights attributes. The physical attributes make Liu House plots the basic unit of blocks and neighborhoods at the macro-regional level and the basic constraint condition for the overall and detailed forms of buildings at the micro-architectural level. In the context of Zherong’s Liu House residential area, the property rights of Liu House plots mainly include the right to construction, renovation, and leasing of buildings. Residents, government, tenants, and developers all compete for and bargain over these rights. At the regional level, this bargaining mainly focuses on the right to construct buildings. The higher the degree of resident dominance over the right to construct, the higher the diversity of regional aesthetics, and vice versa. At the architectural level, the bargaining revolves around the right to construct, renovate, and lease buildings. The higher the degree of resident dominance over the right to construct, the higher the correspondence between architectural aesthetics and Liu House plot characteristics. Conversely, the higher the degree of resident dominance over the right to renovate and lease, the greater the diversity of architectural aesthetics will be strengthened in subsequent evolution, and vice versa. Therefore, as a summary, the government and residents’ bargaining based on property-rights plots at the macro-regional and micro-architectural levels is the most important factor affecting the aesthetics of Liu House residential areas, while the regularity of regional aesthetics and the correspondence between architectural aesthetics and Liu House plots are the most obvious features reflected in this bargaining.
Figure 35.
Relationship of residents and the government in the construction process of Liu Houses.
- (3)
- Shortcomings and Future Prospects of the Research
There are some shortcomings in this research, and, at the same time, there are also some directions that can be further explored in the future. First, due to time and resource constraints, the scope of the research was limited to the morphological and architectural features of the residential areas in Zherong and was not extended to other small towns along the southeastern coast of China, which may be supplemented in future research. In addition to this, the research considers comparing the features of Liu House residential area with that of Western cities in the future in order to compare whether similar self-built houses under different land ownership patterns have differentiated themselves in terms of form over time. In addition, a more detailed and in-depth version of the updating framework mentioned in the first half of Section 4 exists, and the effectiveness of this version of the practice needs to be followed up in the future.
5. Conclusions
After the Reform and Opening Up in China, the shackles on labor mobility were lifted, leading to an influx of millions of farmers into various towns and cities within an extremely short period. This triggered a rapid and aggressive wave of urban construction, during which a unique form of self-built, multi-story, high-density housing emerged. With its characteristics of being inexpensive, fast to construct, and easy to manage, this type of housing gradually became a hallmark of small- and medium-sized towns in Southeastern China. However, as economic development slowed down and urbanization construction entered a stable phase, this transitional housing aimed at quantity began to reveal deficiencies in safety, practicality, aesthetics, and other aspects.
This study selected Zherong County in Fujian Province as the research subject and combined the methods of urban landscape composition from the Kang Zhen School and the morphological subdivision method from Kahn Gehry’s architectural typology to observe representative residential areas in the county. The observations revealed that local Liu House residences could be divided into three categories: early independent Liu Houses, mid-term collectively built Liu Houses, and late-stage uniformly constructed Liu Houses. Among them, (1) early Liu House residences exhibited strong diversity in aesthetics, continuously evolving towards diversity; (2) mid-term Liu House residences showed strong coordination in regional form, retained a certain degree of diversity in architectural aesthetics, and evolved towards diversity on the basis of overall coordination; and (3) late-stage Liu House residences exhibited strong uniformity in aesthetics, with slight evolution towards diversity.
Based on this, this article, combined with the property-rights attributes of sample cases, used a graphical analysis to summarize the causes of the aesthetics of the three types of Liu House residential areas from the formation of regional planning, plot division, and construction and renovation of buildings. ① Early Liu Houses were greatly influenced by residents in planning, and construction and renovation were led by residents, enhancing the diversity of aesthetics; ② in the mid-term, the government had relatively dominant control over planning, conducted supervision during the construction and renovation processes, leading to a relatively balanced power between residents and the government; and, ③ in the late stage, Liu Houses were uniformly constructed and operated by developers, with residents no longer directly involved in construction and renovation, thus strengthening the uniformity of aesthetics. The study also found that, in the formation process of the aesthetics of Liu House residential areas, property-rights plots directly influenced aesthetics through their physical plot attributes and indirectly influenced aesthetics by becoming the basis for the government, residents, and the urban environment to engage in bargaining.
In future research, the observed residential types, their morphological characteristics, and their causes can serve as basic data to provide ideas and references for potential renewal projects in a large number of small towns and residential areas in China. Additional acknowledgements are made to the Architectural Design and Research Institute of Zhejiang University, the Center for Balance Architecture of Zhejiang University, and the local government of Zherong county for their support of this study in terms of materials, information, and personnel.
Author Contributions
Conceptualization, Z.C.; methodology, N.L. and K.W.; formal analysis, N.L.; resources, Z.C.; writing—original draft preparation, N.L.; writing—review and editing, K.W.; supervision, Z.C. and K.W.; project administration, Z.C. and K.W.; funding acquisition, Z.C. All authors have read and agreed to the published version of the manuscript.
Funding
This research was funded by [Center for Balance Architecture of Zhejiang University] grant number [K-20223284].
Data Availability Statement
Data can be shared.
Conflicts of Interest
The authors declare no conflict of interest.
References
- Zherong County Local Chronicles Compilation Committee. Zherong County Chronicle (1949–1995); Zhonghua Book Company: Beijing, China, 1995; pp. 78–79. [Google Scholar]
- Dong, W.; Gao, X.; Han, W.; Wang, J. Renewal Framework for Self-Built Houses in “Village-to-Community” Areas with a Focus on Safety and Resilience. Buildings 2023, 13, 3003. [Google Scholar] [CrossRef]
- Jiao, L.; Wu, Y.; Fang, K.; Liu, X. Typo-Morphological Approaches for Maintaining the Sustainability of Local Traditional Culture: A Case Study of the Damazhan and Xiaomazhan Historical Area in Guangzhou. Buildings 2023, 13, 2351. [Google Scholar] [CrossRef]
- Conzen, M.R.G. Alnwick, Northumberland: A Study in Town-Plan Analysis; Institute of British Geographers Publication: London, UK, 1960; Volume 27. [Google Scholar]
- Tian, Y.; Gu, K.; Tao, W. Urban Morphology and Conservation Planning. City Plan. Rev. 2010, 34, 21–26. [Google Scholar]
- Tian, Y. Management Units of Urban Morphology: Significance, Formation and Application. City Plan. Rev. 2021, 45, 9–16. [Google Scholar]
- Liang, J.; Sun, H. Parcel: An Important Factor for Urban Land Use Control Insights from the American Zoning System. City Plan. Rev. 2000, 6, 40–42. [Google Scholar]
- Ungureanu, T.; Șoimoșan, T.M. An Integrated Analysis of the Urban Form of Residential Areas in Romania. Buildings 2023, 13, 2525. [Google Scholar] [CrossRef]
- Duan, J.; Qiu, G. Burgage Cycle and Micro-Intervention Planning and Design. City Plan. Rev. 2010, 8, 24–28. [Google Scholar]
- Meng, Y.; Zhai, H.; Teoh, B.K.; Tiong, R.L.K.; Huang, S.; Cen, D.; Cui, C. A Data-Driven Method for Constructing the Spatial Database of Traditional Villages—A Case Study of Courtyard Residential Typologies in Yunnan, China. Buildings 2023, 13, 2956. [Google Scholar] [CrossRef]
- Muratori, S. Studi per una operante storia urbana di Venezia. In Quadro Generale Dalle Origini Agli Sviluppi Attuali, 2nd ed.; Istituto Poligrafico dello Stato: Roma, Italy, 1960. [Google Scholar]
- Muratori, S.; Bollati, R.; Bollati, S.; Marinucci, G. Studi per una Operante Storia Urbana di Roma; Centro Studi di Storia Urbanistica: Roma, Italy, 1963. [Google Scholar]
- Chen, J.; Yao, S.; Tian, Y. The Theory and Localization About Typo-morphological Approach. Urban Plan. Int. 2017, 32, 57–64. [Google Scholar] [CrossRef]
- Caniggia, G.; Maffei, G.L. Architectural Composition and Building Typology: Interpreting Basic Building; Alinea Editrice: Florence, Italy, 2001. [Google Scholar]
- El Moussaoui, M. Architectural Typology and Its Influence on Authentic Living. Buildings 2024, 14, 754. [Google Scholar] [CrossRef]
Disclaimer/Publisher’s Note: The statements, opinions and data contained in all publications are solely those of the individual author(s) and contributor(s) and not of MDPI and/or the editor(s). MDPI and/or the editor(s) disclaim responsibility for any injury to people or property resulting from any ideas, methods, instructions or products referred to in the content. |
© 2024 by the authors. Licensee MDPI, Basel, Switzerland. This article is an open access article distributed under the terms and conditions of the Creative Commons Attribution (CC BY) license (https://creativecommons.org/licenses/by/4.0/).


