Abstract
In this study, four-point load tests were conducted to evaluate the shear performance of factory-produced precast prestressed concrete hollow core slabs (HCS) assembled on-site. The test specimens were fabricated using compression molding and comprised six samples, with variables being the presence or absence of topping concrete and the shear reinforcement. According to the experimental variables, experiments were conducted using simple support beams to evaluate the shear performance and ultimate strength of HCSs. The results showed that HCSs, regardless of whether they included topping concrete or not, exhibited average values of shear strength more than 10% higher than the factored shear strength specified by concrete structure standards, confirming that these materials satisfy existing design standards. According to current standards, the overall reinforcement length should be increased to meet the minimum shear rebar placement requirements. However, the nominal shear strength of PS concrete hollow slabs exceeded the hollow design, with the ratio of experimental results ranging from 1.26 to 1.87 on average, satisfying the required performance.
1. Introduction
Prestressed concrete hollow core slabs (PS-HCS) are structurally optimized precast slab members designed to reduce the amount of concrete material and the self-weight by forming elliptical or polygonal hollow cavities in the slab. By introducing prestress at the top, bottom, and other required locations, these slabs achieve significantly improved stiffness compared to conventional reinforced concrete slabs. Since PS-HCS members are manufactured in precast form, they can be mass-produced in factories, ensuring much better quality than general cast-in-place concrete members. Additionally, PS-HCSs offer excellent economic advantages, such as reduced temporary construction costs during on-site installation, reduced construction time, and lower labor costs due to quick assembly. Moreover, HCSs minimize construction waste and enhance material efficiency for concrete and steel, making them an eco-friendly construction method [1,2,3,4,5,6,7].
HCSs were first developed in the 1950s and have since been used in various structural applications [8]. PS-HCSs, with top and bottom tension members, are widely used throughout North America and Europe due to their superior bending performance compared to that of reinforced concrete slabs [9,10,11,12]. Because HCSs are produced in factories and assembled on-site, they can be actively applied to architectural structures requiring long-span floors, such as parking lots, logistics centers, discount stores, and semiconductor factories. Their use reduces construction time and facilitates site management compared to general reinforced concrete structures; the reduction in self-weight due to hollowing is especially advantageous for long-span structures [13]. However, since HCSs are extruded by compressing and extruding high-strength concrete with low slump and without formwork, embedding shear reinforcement rods during manufacturing is almost impossible [14]. Therefore, at ends, where shear force is dominant, a structural review of shear strength is crucial due to stress concentration in the concrete caused by the introduction of prestress.
Previous research has found that the evaluation of the horizontal shear strength in pushover tests, with the manufacturing method and interface roughness as variables, is significantly affected by interface roughness, orientation, and the presence of laitance [15]. Researchers also compared prior work on shear friction and analyzed key factors influencing the interface, highlighting the need to consider shrinkage and stiffness at the topping concrete–concrete surface [16]. Most researchers have evaluated the shear strength of HCSs with topping concrete in terms of interface roughness. However, there is a lack of research on the shear behavior, including the ultimate shear capacity, of PS-HCSs with composite sections that include poured topping concrete. Compared to similar reinforced concrete slabs, PS-HCSs can lead to a 20–40% reduction in material [17,18]. They are typically designed to resist bending moments under equally distributed loads and are widely used in floor decks of office buildings, residential buildings, and parking structures. However, large, concentrated loads can cause shear failure in the web section. During the manufacturing process of prestressed concrete hollow core slabs, placing shear reinforcement is difficult, so shear stress is generally resisted by the concrete’s shear strength. Traditional methods involve planning deeper slabs or filling slab cores with concrete, but this reduces shear strength due to the size effect. Thus, research and development are needed to prevent shear failure while maintaining the advantages of PS-HCS.
The current ACI 318 and KDS 14 20 22 standards [19,20] specify that for HCS members with slab thicknesses greater than 315 mm and without minimum shear reinforcement, the factored load acting on the slab must not exceed half of the calculated abdominal shear capacity. Given the difficulty of reinforcing PS-HCS members against shear, the use of PS-HCSs with slab thicknesses greater than 315 mm may be limited by their shear capacity.
Therefore, this study aims to evaluate the shear performance of full-size PS-HCSs with section heights (h) of 350 mm. Shear reinforcement rods were placed at the ends to satisfy the shear reinforcement required by current standards. Shear experiments were conducted with the presence and absence of topping concrete and shear reinforcement as variables. The required structural performance was experimentally verified by comparing the results predicted by design criteria with the experimental outcomes.
2. Major Structural Design Criteria of PS-HCSs
Shear Strength
The design criteria for ACI 318-19 and shear and torsion of concrete structures (KDS 14 20 22) require that the shear strength of prestressed concrete members be at least equal to the factored shear strength, as shown in Equation (1).
Here, is the factored shear strength, and is the nominal shear strength.
The shear strength of HCS members without shear reinforcement is determined by two types of shear failure, as shown in Equations (2) and (3): shear cracking concrete shear strength () and abdominal shear cracking concrete shear strength (). The standards require using the smaller value between these two types.
where is the lightweight concrete coefficient, is the maximum compressive strength of the concrete, is the web width, is the distance from the compression edge to the center of the tension member’s cross-section, which should not be less than 0.8 h, is the shear force caused by dead load, is the factored shear force due to the applied load, is the cracking moment due to the applied load, is the maximum factored moment due to the applied load, is the compressive stress in the concrete at the centroid of the section resisting the applied load, considering the stress losses in prestress, and is the vertical component of the prestressing force when inclined tensioning is used.
For composite HCSs, where topping concrete is poured on top of PC HCS, the high-strength PC concrete and the relatively low-strength CIP concrete act together. In this case, the design criteria do not provide a clear design method, so the shear strength evaluation method presented by PCI (PCI 2017) [21] can be followed. The PCI method uses the elastic modulus ratio of the topping concrete to calculate the equivalent section. Then, the neutral axis location is determined for the equivalent section, and the shear strength is calculated based on the principal stress at that location. It is assumed that the topping concrete in the area where the HCS web is extended is integrated with the same strength as the HCS, and the web shear strength can be calculated as shown in Equation (4).
where is the distance (mm) from the compression edge of the composite section to the center of the tension material.
In HCSs, the shear strength is determined by the web shear cracking concrete shear strength because the web, due to hollowing, is the thinnest part. Since it is crucial to calculate a reasonably effective section for an HCS when evaluating shear strength, PCI uses only the web width to calculate the design section force.
HCSs should be used to prevent web shear cracking in spans in which the effective prestress does not sufficiently develop. The web shear cracking concrete shear strength derived from Equation (3) tends to decrease by about 30% when the reduction in effective prestress at the critical section is accounted for. Furthermore, Equation (3) is based on a previous experiment [22], which pointed out that HCS members taller than 380 mm show results of web shear cracking concrete shear strength in a range of 58% to 85%, indicating that applying Equation (3) to HCS members taller than 300 mm may overestimate the actual strength. Therefore, if minimum shear reinforcement is not provided, KDS 14 20 22 and ACI 318-19 require a minimum amount of shear reinforcement for heights exceeding 315 mm in order to reduce the web shear cracking concrete shear strength by half. KDS 14 20 22 recommend minimum shear reinforcement because high net cross-sectional heights in HCSs may overestimate the design strength. While the shear strength design for HCSs combines the contributions of concrete and shear reinforcement, the actual behavior may not align with the design assumptions. As can be seen in Figure 1, the locations for calculating Vc and Vs differ between the PC web and the CIP-filled cavity. For this reason, their arithmetic summation requires the PC web concrete and shear reinforcement to reach their maximum strengths simultaneously, necessitating fully composite behavior. However, since shear reinforcement is embedded throughout the CIP, it may be difficult to fully account for the contribution of shear reinforcement if the fill concrete does not act in unison with the PC HCS.
Figure 1.
Web shear strength of the composite hollow core slab.
An HCS is used in composite sections by pouring topping concrete on-site to ensure slab continuity according to structural application. For composite HCS members, the method suggested by PCI can be used to calculate the web shear cracking concrete shear strength after replacing the topping concrete with an equivalent section. Generally, the compressive strength of topping concrete poured on-site is lower than that of an HCS member’s concrete, so the elastic modulus ratio of concrete () is used to calculate the web shear cracking concrete shear strength.
3. Test Program
3.1. Materials
The material test results shown in Table 1 were determined to evaluate the maximum shear strength of prestressed hollow core slabs (PS-HCS). The design maximum compressive strength for the concrete was planned to be 49 MPa for PS-HCS and 27 MPa for cast-in-place (CIP) concrete. To ensure reliable test results, the tests were conducted in accordance with international standards ISO 1920-3:2019 and ISO 1920-4:2020 [23,24].
Table 1.
Concrete compressive strength test results.
Table 1 presents the compressive strength test results of hollow core slabs and topping concrete, measured in N/mm2. For the hollow core slabs, the design strength was specified at 49 N/mm2. The test results showed compressive strengths of 60.21 N/mm2, 60.56 N/mm2, and 63.96 N/mm2, yielding an average of 61.57 N/mm2. Similarly, for the topping concrete, the design strength was 27.0 N/mm2. The compressive strength test results were 30.20 N/mm2, 30.10 N/mm2, and 31.24 N/mm2, with an average of 30.51 N/mm2.
To evaluate the compressive strength of the concrete, three cylindrical specimens with dimensions φ100 mm × 200 mm were fabricated. The maximum compressive strength evaluation of the specimens was conducted immediately after the PS-HCS test. The stress–strain relationship of the concrete, depicted in Figure 2, was measured using concrete wire strain gauges attached to the longitudinal and transverse sides of the specimen during the maximum compressive strength test.
Figure 2.
Relationship of concrete strain and stress.
The prestressing steel samples used to evaluate the maximum shear capacity of PS-HCS were SWPC 7B with diameters of φ12.7 mm and φ9.5 mm. The physical properties included an elastic modulus (Eps) of 196 GPa, a yield strength (fpy) of 1581 MPa, a yield strain (εpy) of 0.0062, a tensile strength (fpu) of 1860 MPa, and a tensile strain (εpu) of 0.0800. The stress–strain relationship of the prestressing steel is shown in Figure 3 [25].
Figure 3.
Relationship of tendon strain and stress [25].
The results confirm that both the PS-HCS and CIP concrete exceeded their design compressive strengths, meeting all required performance criteria.
3.2. Design of Specimens
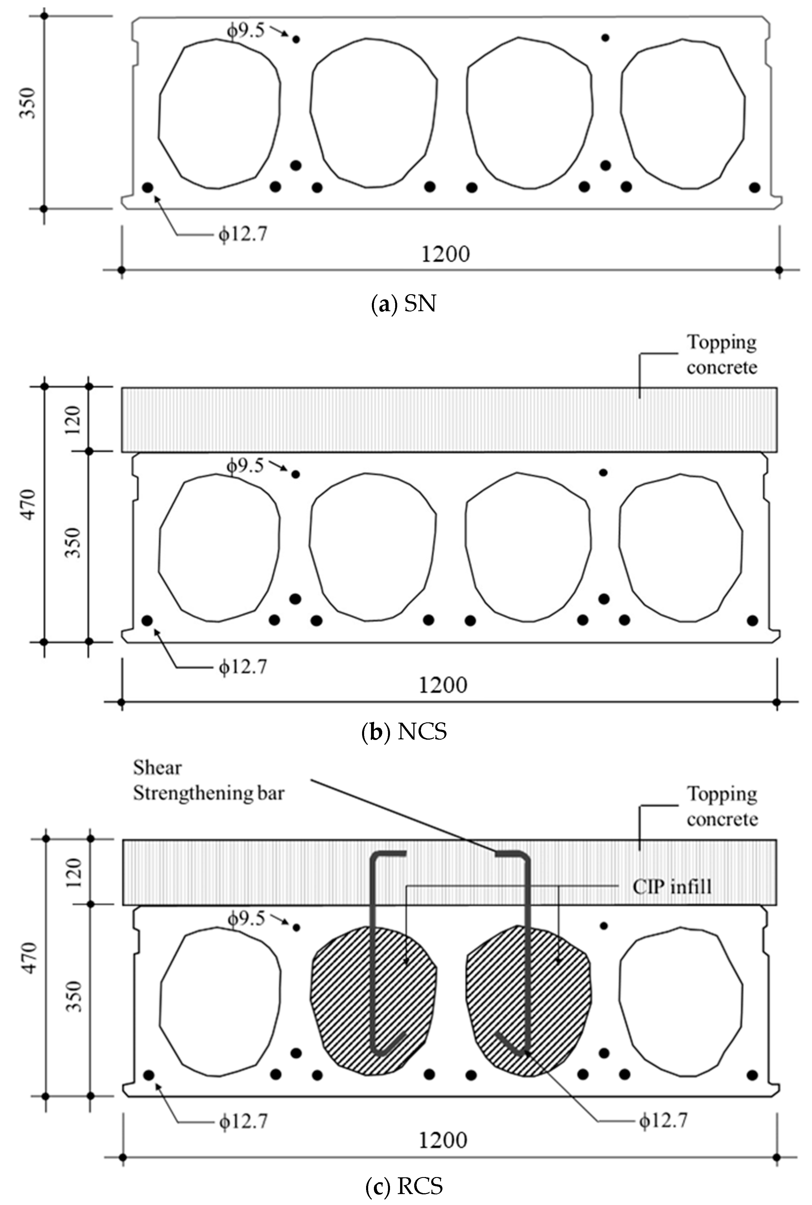
The specimens were selected to evaluate the maximum shear performance of PS-HCS with or without overlay concrete and shear reinforcement. There were six specimens in total, with a slab cross-sectional height of 350 mm and a width of 1200 mm. All specimens had the same length of 6000 mm. The shear span ratio (a/d) of the specimens was set at 3.5 for the unreinforced specimens and 2.5 for the reinforced specimens, depending on the effective depth of the members, ensuring that shear force was dominant.
In the specimen designations shown in Figure 4 and Table 2, S refers to the shear specimen, N refers to the unreinforced specimen, and R refers to the reinforced specimen. To plan the integration of the HCS, the pouring of the overlay concrete was performed with a rough finish on the upper surface of the specimen. The prestressing steel used to fabricate the specimens was SWPC 7BL, with 10-φ12.7 at the bottom and 2-φ9.5 at the top.
Figure 4.
Detail of specimens (unit: mm).
Table 2.
Design of specimens.
3.3. Test Setup
The specimen testing was conducted using a four-point bending test configured as a simply supported beam. This was performed with a universal testing machine (U.T.M) with a capacity of 3000 kN, as illustrated in Figure 5a. The load was applied continuously at a rate of 0.05 mm/s using the displacement control method. For the bending performance evaluation, the test continued until the load decreased after reaching its maximum shear strength. The specimen’s deflection under the applied force was recorded by placing two LVDTs at the bottom of the central section between the load application points, where the maximum deformation occurred, as shown in Figure 5b.
Figure 5.
Test setup (unit: mm).
Strain gauges were attached at the top of the concrete and prestressing steel of the specimen between the load-bearing points and at a point 30 mm below the top; the strain of the PS steel and concrete was measured using the fit condition of strain in a one-way slab.
4. Results and Discussion
4.1. Load–Displacement Relationship
The load–displacement relationships of the PS-HCS specimens are shown in Figure 6 and Figure 7. The load for each specimen was measured using a load cell attached to the UTM; the deflection was measured using the displacement of an LVDT installed at the bottom center of the specimen. All specimens exhibited linear load-deflection behavior until the initial bending crack occurred. For the SN and NCS specimens without shear reinforcement, linear behavior was observed as the shear force increased after the bending crack occurred. However, after reaching the maximum strength, a diagonal shear crack appeared, causing a rapid decrease in strength. For the RCS specimens with shear reinforcement, the bending stiffness decreased as the shear force increased after the occurrence of bending cracks, similar to the SN and NCS specimens. However, the load was transferred to the shear reinforcement due to the diagonal shear cracks, resulting in a stable increase in load without a sharp decrease in strength. Eventually, the diagonal shear cracks widened significantly, leading to final failure with a decrease in strength.
Figure 6.
Load–displacement relationship of FN-Series.
Figure 7.
Load–displacement relationship of RCF-Series.
The experimental results are summarized in Table 3. For the SN specimens with non-composite cross-sections, the maximum shear force was reached at an average of 343.2 kN, coinciding with the occurrence of shear cracks. The deflection at this point averaged 3.2 mm. For the composite cross-sections, the NCS specimens without shear reinforcement showed initial bending cracks at an average of 583.1 kN and a deflection of 2.6 mm, unlike the SN specimens. After the initial bending crack, the maximum shear force was reached at 625.2 kN, coinciding with the occurrence of diagonal shear cracks; the deflection was 3.8 mm. For the RCS specimens with shear reinforcement, similar to the NCS specimens, the initial bending crack occurred at an average of 573.1 kN, with an average deflection of 3.2 mm; the maximum shear capacity was reached at an average of 950.7 kN, with an average deflection of 18.2 mm.
Table 3.
Test result and comparison of maximum shear strength.
4.2. Crack Pattern
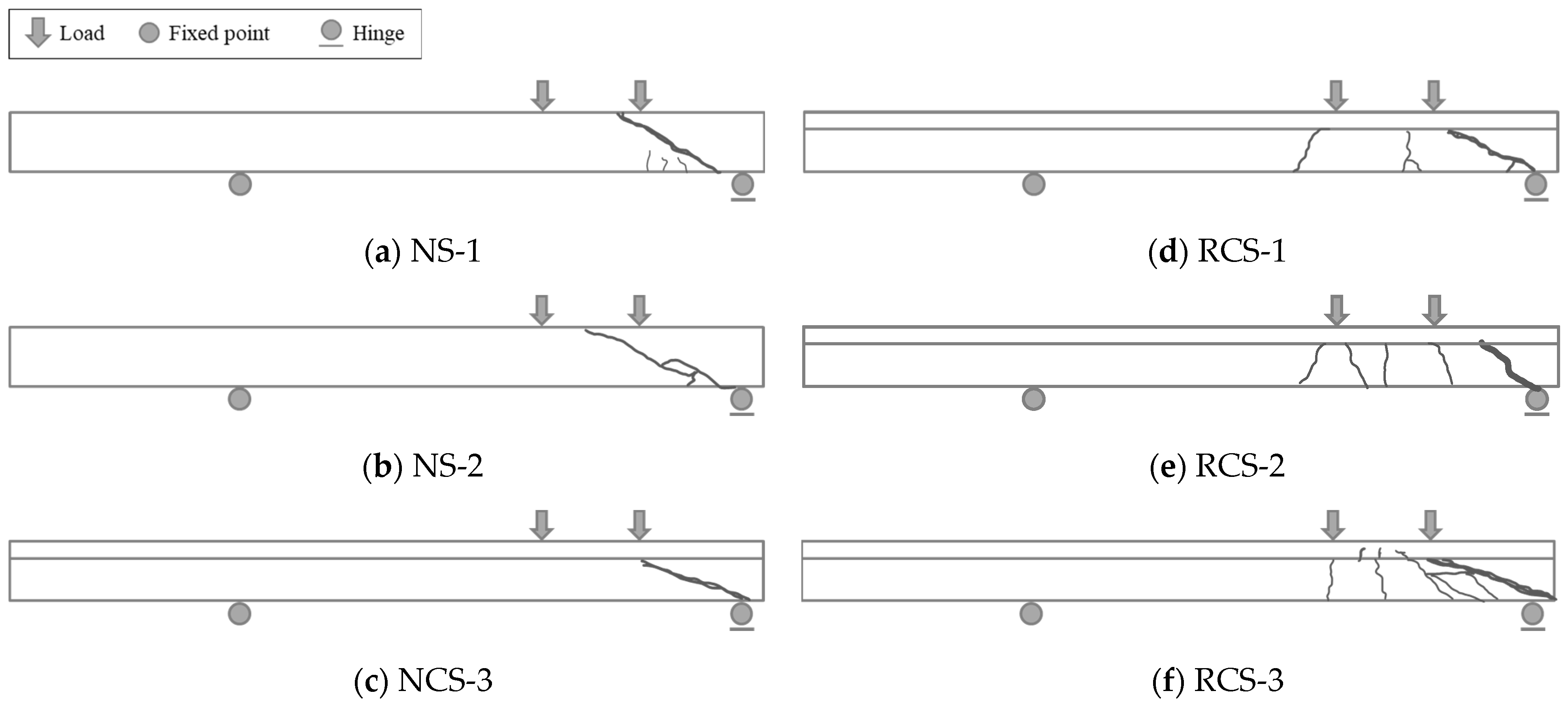
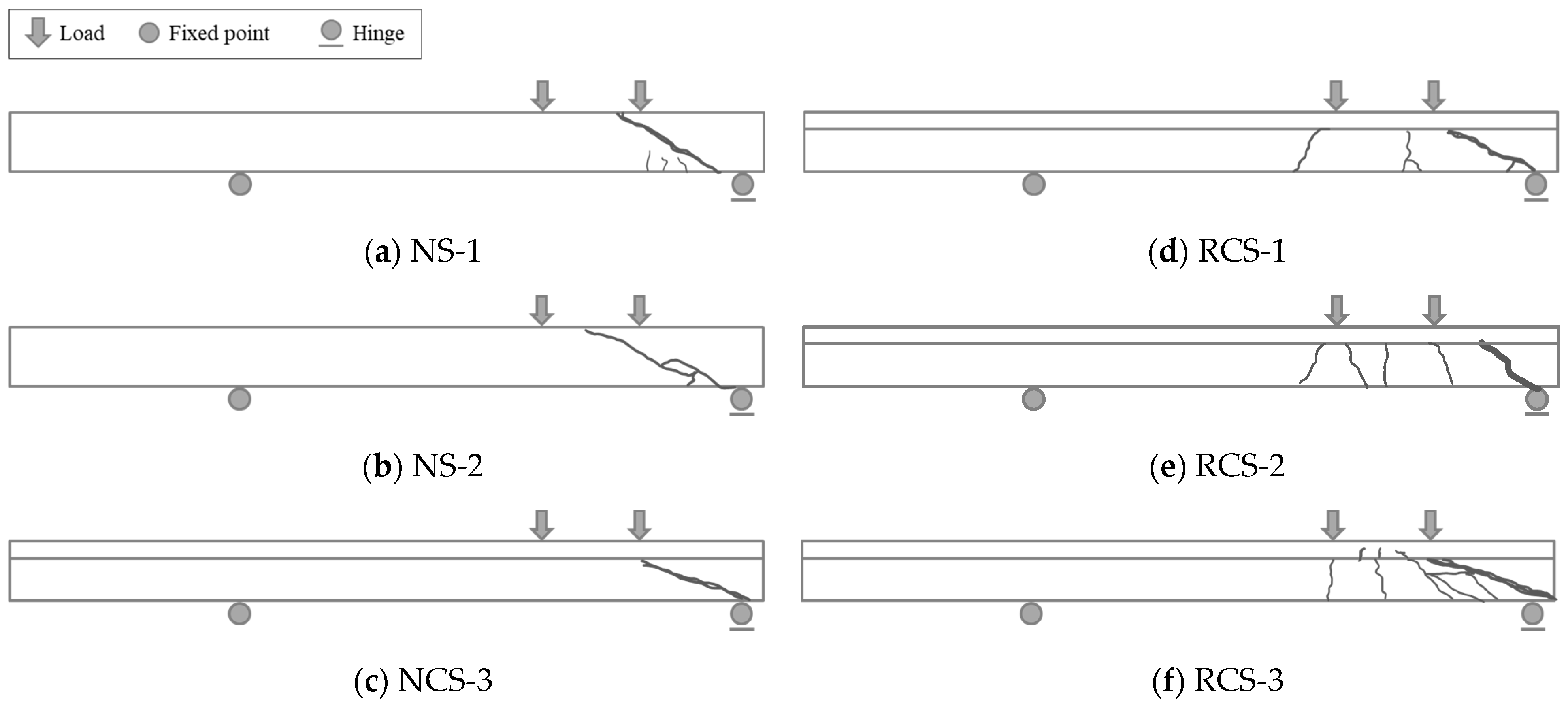
The crack patterns of the PS-HCS specimens at the maximum load are shown in Figure 8. Diagonal cracks occurred in the test section of the specimen at initial loading, regardless of reinforcement, and bending cracks were observed in the center of the test specimen at initial loading due to the lower load required for bending crack generation than for abdominal shear crack generation in the RCS specimens. The PS-HCS specimens showed a tendency in which the bending cracks in the test section propagated with increasing load; ultimately, specimens experienced shear failure due to abdominal shear cracks that occurred before the maximum load capacity was reached due to bending. The experimental results indicated that the crack angles were between 30 and 45 degrees.
Figure 8.
Shear crack patterns of PS-HCS.
The unreinforced SN specimen failed due to the occurrence of diagonal cracks in the test section at initial loading, while the RCS specimen reinforced with shear reinforcing bars showed growth of bending cracks in the pure bending section between the loading points as the load increased. The non-composite specimen failed due to the development of diagonal cracks; the composite specimen was characterized by the development of diagonal cracks, followed by an increase in strength and, finally, failure due to shear cracks in the web.
4.3. Shear Strength
The shear strength (Vn) proposed by KDS 14 20 60 and ACI 318-19 was predicted from the experimental results, and the results were analyzed. The concrete shear strength of prestressed concrete members is the smaller of the bending shear cracking concrete shear strength and the web shear cracking concrete shear strength, as mentioned in Section 2. The shear strength of the PS concrete hollow slab (HCS) specimen was obtained using the load cell attached to the UTM; the predicted shear strength of the specimen was obtained using Equation (4), shown in Section 2. Additionally, the shear strength of the PS-HCS specimen was calculated using only the width of the web, as suggested by the Precast Concrete Institute (PCI).
Table 3 shows a comparison of experimental results for nominal shear strength (Vn) of PS concrete hollow slab (HCS) specimens. As can be seen, the SN specimens with non-composite cross-sections had an average shear strength of 343.2 kN and a nominal shear strength (Vn) of 273.2 kN, indicating that the ratio of the experimental results was, on average, more than 1.26. For the NCS specimens with composite cross-sections, the average shear strength was 625.2 kN, and the nominal shear strength was 334.5 kN, resulting in a ratio 1.87 times higher. RCS specimens with shear reinforcement showed an average shear strength of 950.7 kN and a nominal shear strength of 711.7 kN, with an average ratio 1.34 times higher than that of the experimental results.
As mentioned in Section 2, current design criteria require that the shear strength of concrete in a hollow slab be divided into Vci, which considers the effect of bending, and Vcw, which considers the shear strength in the web only, with the shear strength Vc being the minimum of these two values. Additionally, if shear reinforcement is provided in the composite HCS, the same method is applied as the shear reinforcement design formula for flexural members.
Therefore, as shown in Table 3, the shear strength of the test specimens is 1.26 to 1.87 times that of KDS 14 20 60 without considering the strength reduction factor, sufficiently satisfying the required performance for shear strength. As mentioned in Section 2, the minimum shear reinforcement placement in KDS 14 20 22 is 1.7 to 1.8 m of the shear reinforcement at the end of a 350 mm section. In this test, 1.0 m of shear reinforcement was placed at the end, and since the performance exceeded the nominal shear strength, it is concluded that 1.0 m of shear reinforcement will provide the required structural performance.
4.4. Analysis of Influence Factors on the Web-Shear Capacity
As mentioned in Section 2, the shear performance of HCS is determined by the web shear cracking concrete shear strength rather than the bending shear cracking concrete shear strength due to the introduction of prestress and the hollowing effect in the web, which has a relatively weak structure. To objectively evaluate this, the main influencing factors were analyzed using the experimental results of previous researchers [6,14,15,16,17,18,19]. For comparison, 170 experimental data points were collected; these are summarized in Table 4. Figure 9 provides a comparison between the results of previous studies and the experimental results of HCS, with the shear strength normalized (νtest/fc′) for objective comparison of each major influence factor. Figure 9a,b illustrates the trend of the concrete compressive strength and the shear span ratio, indicating an increasing trend with a consistent slope as both factors increase. Figure 9c, which shows the concrete compressive stress while considering the stress loss of prestress at the center of the cross-section, reveals a significant increase in the concrete compressive stress compared to other variables, confirming the major impact of this variable on the web shear zone concrete shear strength. Figure 9d shows that, for member height, both HCS experimental results and previous studies exhibit a similar decreasing trend compared to other variables. However, when compared to the shear strength required for web shear zone concrete (0.29fc) in the standards, previous studies displayed a consistent trend, confirming that the size effect did not appear in HCS members, similar to the findings of Palmer and Schultz [25].
Table 4.
Summary of previous studies.

Figure 9.
Analysis of key influence factors on the web-shear capacity: (a) Concrete compressive strength; (b) shear span-to-depth ratio; (c) Height of members; (d) Prestress introduced in centroid of section.
5. Conclusions
In this study, the maximum shear capacity of PS concrete hollow slabs (HCS) produced by extrusion molding was evaluated, and the following conclusions were drawn:
- The PS concrete hollow slab (HCS) specimens with shear reinforcement exhibited increased strength and ductile behavior compared to specimens without shear reinforcement. After the occurrence of diagonal shear cracks, the shear reinforcement effectively resisted these cracks. For the unreinforced N-series specimens, the ratios of the nominal shear strength to peak shear strength were 1.02, 1.00, and 1.04, respectively. In contrast, for the reinforced RCS specimens, the ratios were 1.06, 1.07, and 1.06, demonstrating the enhanced strength and ductile behavior due to the shear reinforcement.
- The nominal shear strength of the PS concrete hollow slab exceeded the design values considering the hollow section, with experimental results showing ratios ranging from 1.26 to 1.87. This indicates that the required performance was met, largely due to the effects of shear reinforcement, topping concrete, and the compressive stress induced by prestressing at the section’s centroid, resulting in improved web shear performance.
- According to the design criteria, the shear reinforcement length should be increased. However, even the RCS specimens that did not meet the minimum shear reinforcement criteria exceeded the nominal shear strength. Therefore, the expected shear performance degradation for hollow slabs thicker than 315 mm, as restricted by the standard, was not observed in this experiment. The 350 mm section hollow slab verified in this study satisfied the current shear performance standards despite not meeting the minimum shear reinforcement criteria. While the concrete compressive strength and the shear span-to-depth ratio had some influence on web shear strength, the effect of size was found to be minimal.
Author Contributions
Conceptualization, D.-H.K. and K.-H.K.; data curation, M.-S.J. and S.-A.L.; formal analysis, D.-H.K. and S.-W.K.; funding acquisition, K.-H.K.; investigation, D.-H.K.; methodology, H.-G.K.; project administration, K.-H.K. and D.-H.K.; supervision, K.-H.K.; visualization, M.-S.J.; writing—original draft, D.-H.K.; writing—review and editing, K.-H.K. and H.-G.K. All authors have read and agreed to the published version of the manuscript.
Funding
This research was supported by the research grant of Kongju National University in 2024 and the Basic Science Research Program through the National Research Foundation of Korea (NRF) funded by the Ministry of Education (2019R1A6A1A03032988 and 2023R1A2C3002443). This research was supported by the Korea Basic Science Institute (National Research Facilities and Equipment Center) grant funded by the Ministry of Education (2022R1A6C101A741).
Data Availability Statement
The data presented in this study are available upon request from the corresponding author.
Acknowledgments
This research was conducted with experimental support from Hansung PCC.
Conflicts of Interest
The authors declare no conflicts of interest. The funders had no role in the study design, collection, analysis, and interpretation of data, the writing of the manuscript, or the decision to publish the results.
References
- Girhammar, U.A.; Pajari, M. Tests and Analysis on Shear Strength of Composite Slabs of Hollow Core Units and Concrete Topping. Constr. Build. Mater. 2008, 22, 1708–1722. [Google Scholar] [CrossRef]
- Bertagnoli, G.; Mancini, G. Failure Analysis of Hollow-Core Slabs Tested in Shear. Struct. Concr. 2009, 10, 139–152. [Google Scholar] [CrossRef]
- Palmer, K.D.; Schultz, A.E. Factors affecting web-shear capacity of deep hollow-core units. PCI J. 2010, 55, 123–146. [Google Scholar] [CrossRef]
- Walraven, J.C.; Mercx, W.P.M. The bearing capacity of prestressed hollow-core slabs. Heron 1983, 28, 1–46. [Google Scholar]
- Yang, L. Ein Haufwerksthe Oretisches Model der Restfestigkeit Grschadigter Betone. Ph.D. Thesis, The Technical University of Braunschweig, Braunschweig, Germany, 1978. (In German). [Google Scholar]
- Pajari, M. Design of Prestressed Hollow Core Slabs; Research Reports 657; Technical Research Centre of Finland (VTT): Espoo, Finland, 1989. [Google Scholar]
- Pajari, M. Resistance of Prestressed Hollow Core Slabs against Web Shear Failure; Technical Research Centre of Finland (VTT): Espoo, Finland, 2005. [Google Scholar]
- Becker, R.J.; Buettner, D.R. Shear tests of extruded hollow-core slabs. PCI J. 1985, 30, 40–54. [Google Scholar] [CrossRef]
- Mones, R.M.; Breña, S.F. Hollow-core slabs with cast-in-place concrete toppings: A study of interfacial shear strength. PCI J. 2013, 58, 124–141. [Google Scholar] [CrossRef]
- Pajari, M. Web shear failure in prestressed hollow core slabs. J. Struct. Eng. 2009, 42, 83–104. [Google Scholar]
- Im, J.H.; Park, M.K.; Lee, D.H.; Seo, S.Y.; Kim, K.S. Evaluation of horizontal shear strength of prestressed hollow-core slabs with cast-in-place topping concrete. J. Korea Concr. Inst. 2014, 26, 741–749. (In Korean) [Google Scholar] [CrossRef]
- Moon, J.H. Structural Performance for the Extruded Hollow Core Slabs with Prestressed Concretes; Hansung PCC & Hannam University Research Report; Hansung PCC & Hannam University: Daejeon, Republic of Korea, 2017. (In Korean) [Google Scholar]
- Lee, Y.J.; Kim, H.K.; Kim, M.J.; Lee, J.S.; Kim, K.H. Evaluation of structural performance for prestressed concrete hollow core slabs. J. Korea Concr. Inst. 2019, 31, 505–512. (In Korean) [Google Scholar] [CrossRef]
- Jang, H.J.; Ryu, J.H.; Kim, S.M.; Ju, Y.K.; Kim, S.D. An evaluation on the flexural capacity of void slabs with prestressed half PC. J. Archit. Inst. Korea 2012, 28, 11–18. (In Korean) [Google Scholar]
- Lee, Y.J.; Kim, H.K.; Kim, M.J.; Kim, D.H.; Kim, K.H. Shear Performance for Prestressed Concrete Hollow Core Slabs. Appl. Sci. 2020, 10, 1636. [Google Scholar] [CrossRef]
- Khalil, A.A.; El Shafiey, T.F.; Mahmoud, M.H.; Baraghith, A.T.; Etman, A.E. Shear Behavior of Innovated Composite Hollow Core Slabs. In Proceedings of the International Conference on Advanced in Structural and Geotechnical Engineering (ICASGE), Hurghada, Egypt, 25–28 March 2019; pp. 1–12. [Google Scholar]
- Araujo CA, M.; Loriggio, D.D.; Da Camara, J.M.M.N. Anchorage Failure and Shear Design of Hollow-core Slabs. Struct. Concr. 2011, 12, 109–119. [Google Scholar] [CrossRef]
- ACI Committee 318. Building Code Requirements for Structural Concrete (ACI 318-19) and Commentary (ACI 318R-19); American Concrete Institute (ACI): Farmington Hills, MI, USA, 2019; 623p. [Google Scholar]
- KDS 14 20 22; MOLIT Shear and Torsion Design Code for Concrete Structures. Ministry of Land, Infrastructure and Transport, MOLIT: Sejong, Republic of Korea, 2021. (In Korean)
- Precast/Prestressed Concrete Institute. PCI Manual for the Design of Hollow Core Slabs; PCI Hollow Core Slab Producers Committee: Chicago, IL, USA, 2017. [Google Scholar]
- Hawkins, N.M.; Ghosh, S.K. Shear strength of hollow-core slabs. PCI J. 2006, 51, 110–114. [Google Scholar]
- ISO 1920-3; Testing of Concrete-Part 3: Making and Curing Test Specimens. International Organization for Standardization: Geneva, Switzerland, 2019.
- ISO 1920-4; Testing of Concrete-Part 4: Strength of Hardened Concrete. International Organization for Standardization: Geneva, Switzerland, 2020.
- Kim, D.H.; Kim, M.J.; Jo, M.S.; Kim, H.G.; Yoon, Y.J.; Kim, K.H. Evaluation of Flexural Behavior of Prestressed Concrete (PSC) Hollow-Core Slabs (HCSs). Buildings 2023, 13, 2869. [Google Scholar] [CrossRef]
- Palmer, K.D.; Schultz, A.E. Experimental investigation of the web-shear strength of deep hollow-core units. PCI J. 2011, 56, 83–104. [Google Scholar] [CrossRef]
- TNO Building and Constructions Research. TNO Report: Standard Shear Tests on Prestressed Hollow Core Slabs According to EN 1168; TNO Building and Constructions Research: Hague, The Netherlands, 2005. [Google Scholar]
- Celal, M.S. Shear Behavior of Precast/Prestressed Hollow-Core Slabs. Master’s Thesis, University of Manitoba, Winnipeg, MB, Canada, 2011. [Google Scholar]
- Park, M.K.; Lee, D.H.; Han, S.J.; Kim, K.S. Web-shear capacity of thick precast prestressed hollow-core slab units produced by extrusion method. Int. J. Concr. Struct. Mater. 2019, 13, 19–32. [Google Scholar] [CrossRef]
Disclaimer/Publisher’s Note: The statements, opinions and data contained in all publications are solely those of the individual author(s) and contributor(s) and not of MDPI and/or the editor(s). MDPI and/or the editor(s) disclaim responsibility for any injury to people or property resulting from any ideas, methods, instructions or products referred to in the content. |
© 2024 by the authors. Licensee MDPI, Basel, Switzerland. This article is an open access article distributed under the terms and conditions of the Creative Commons Attribution (CC BY) license (https://creativecommons.org/licenses/by/4.0/).









