Next Article in Journal
Structural Condition Assessment of Steel Anchorage Using Convolutional Neural Networks and Admittance Response
Next Article in Special Issue
Theoretical Analysis of the Plastic Property for Equal Angle Sections Subjected to Axial Force and Biaxial Bending
Previous Article in Journal
Advances in Retrofitting Strategies for Energy Efficiency in Tropical Climates: A Systematic Review and Analysis
Previous Article in Special Issue
Investigation on Load Path of a Latticed Shell Structure under Localized Fire Based on Member Sensitivity
 
 
Font Type:
Arial Georgia Verdana
Font Size:
Aa Aa Aa
Line Spacing:
Column Width:
Background:
Article

Lateral Performance Analysis of Trapezoidal Orthogonal Stiffened Steel Plate Shear Walls

1
School of Civil Engineering, Chang’an University, Xi’an 710061, China
2
School of Civil Engineering, Central South University, Changsha 410075, China
*
Author to whom correspondence should be addressed.
Buildings 2024, 14(6), 1634; https://doi.org/10.3390/buildings14061634
Submission received: 13 April 2024 / Revised: 24 May 2024 / Accepted: 30 May 2024 / Published: 3 June 2024

Abstract

This paper introduces a trapezoidal orthogonal stiffener steel plate shear wall (TSW). The finite element model of the TSW was developed following the validation of low-cycle repeated tests conducted on a single-span double-layer steel plate shear wall. The paper studies the effects of the flat steel plate thickness, stiffener thickness, stiffener height, and stiffener bottom width on the seismic performance of TSW. Building upon these findings, a theoretical formula for the ultimate shear capacity of TSW was developed. The results prove the following: (1) By changing the flat steel plate thickness, the stiffener thickness, and the stiffener height, the seismic behavior of TSW can be enhanced. It is suggested that the flat steel plate thickness is 4~6 mm, the stiffener thickness is 4~6 mm, and the stiffener height is not more than 60 mm, while the effect of the stiffener bottom width on the seismic behavior of TSW can be neglected. (2) The maximum error is 22.16%, compared to the theoretical value of TSW ultimate shear capacity with the finite element simulation value. However, as the finite element results surpass the test results, it indicates that the formula-derived results are unsafe, necessitating a recommendation for correction.

1. Introduction

An edge column, edge beam, fishtail plate, and embedded steel plate compose a steel plate shear wall (SPSW). Compared with other structural systems, it has some merits [1]: (1) compared with the pure bending frame, under the same amount of steel, they have higher lateral stiffness, which can save the amount of steel; (2) compared with the buckling restrained brace, the structure, manufacture, and construction are relatively simple, with higher economy; and (3) compared with reinforced concrete walls, its thickness is very small, making it lightweight and has limited available space, and the production and installation time can be completed in advance in the factory.
SPSW can be divided into three types according to their height–thickness ratio λ: thick plate (λ < 100), moderate thick plate (100 ≤ λ ≤ 300), and thin plate (λ < 300) [2]. The height–thickness ratio of the shear wall plate has a significant influence on the hysteretic performance of the SPSW. As the height–thickness ratio of the shear wall plate increases, the wall plate easily buckles, the hysteresis loop inclines to pinch, and the energy dissipation capacity decreases [3]. The lateral stiffness of the thick SPSW is large. Although it has a good energy dissipation effect, there is a serious waste of steel during use. Therefore, most of the projects use thin steel plates. Under the serviceability limit state, the thin unstiffened SPSW may experience overall elastic buckling. The plate has a certain out-of-plane deformation and is accompanied by a huge noise of bang, which has a great impact on the normal use of the building [4]. However, setting stiffeners can solve the problem that the hysteretic loop of a thin wall is not fuller than that of a thick plate, enhancing the hysteretic performance of the structure. After setting stiffeners on the steel plate wall, the plate is broken up into multiple panels, the initial lateral stiffness of the structure is improved, the critical elastic buckling load is increased, and the seismic performance is better.
In engineering practice, the height of SPSW is too high. There will be great difficulties in the transportation process, and it is limited in the arrangement. The usual practice is to cut the steel plate wall into two parts and transport it to the construction site. To solve the problem of insufficient strength at the splicing, multichannel transverse slab stiffeners are generally placed at the splicing of two steel plates. In particular, contrasting to SPSW with only vertical stiffeners, the arrangement of transverse stiffeners can also restrict the outside surface deformation of vertical stiffeners.
SPSW has become a hot research topic in recent years due to the attention of researchers at home and abroad. Alinia and Dastfan [5,6] studied the mechanical properties of SPSW with stiffeners and proposed that it can conspicuously enhance energy dissipation capacity and ultimate bearing capacity. Chen et al. [7] and Chen and Guo [8] conducted experimental research on three forms of SPSW and proposed the greater the thickness of the plate, the stronger the constraint effect of the stiffener, which can not only increase the hysteresis loop area but also make the hysteresis curve fuller. Guo et al. [9] studied a semirigid connection frame cross-stiffened SPSW and proposed the structure not only has good plastic deformation ability but also has good ultimate bearing capacity. Haddad et al. [10] analyzed three stiffened and two unstiffened specimens and concluded that stiffened SPSW markedly enhanced shear stiffness and energy dissipation capacity. Mu and Yang [11] analyzed the seismic behavior of two single-span SPSW with obliquely stiffening and proposed that obliquely stiffening improved bearing capacity and stiffness. Alinia and Shirazi [12] analyzed the seismic behavior of a stiffened SPSW by changing the number and arrangement of stiffeners. It is concluded that the greater the number of stiffeners, the stronger the lateral resistance, but it will decrease the ductility of the structure. Compared with a unilateral arrangement, a bilateral arrangement of stiffeners is more effective. Nie [13] proposed that the buckling critical load of asymmetric cross diagonal stiffened SPSW is the largest and the least prone to instability through the characteristic buckling method of ANSYS for six kinds of stiffeners. Alavi [14] analyzed the mechanical properties of SPSW with diagonal stiffeners on both sides through experiments. It is concluded that the hysteretic curve of the SPSW with a diagonal stiffener is fuller, and other seismic performance is also improved. Sigariyazd [15] studied the hysteretic performance of SPSW with diagonal stiffeners and the proposed bearing capacity, energy dissipation, and ductility of the structure were significantly improved. Combined with the outcomes of the test and finite element analysis, the calculation formula of steel plate strength was proposed. Guo [16] studied the critical elastic buckling load and buckling mode of fully stiffened SPSW with slits on both sides and proposed its elastic buckling design formula. Jahanpour [17] introduces the semi-supported steel shear wall (SSSW) system and proposes new means to estimate the ultimate shear capacity of a given SSSW. Nie and Zhu [18] analyzed the seismic performance of two stiffened SPSW with openings and one stiffened SPSW without openings and proposed a simple formula for the shear strength reduction factor and a simplified devise means for computing the lateral bearing capacity of stiffened SPSW. Wang [19] analyzed the mechanic performances of vertical stiffened SPSW, studied the influence of stiffeners on the lateral stiffness of SPSW, and developed a computing formula for the lateral bearing capacity of SPSW. Refs. [20,21,22] proposed a lightweight design and structural optimization method for node dampers and sliders and an innovative MSB fully prefabricated lifted connection (FPLC), which can significantly reduce energy consumption and is of great significance for achieving green production. The interaction for rib-to-deck welded joints of orthotropic steel deck (OSD) is analyzed using the finite element method in Ref. [23]. The results show that the numerical results indicate that fatigue crack growth in welds is unstable due to inclusions. In Ref. [24], partially encased composite columns (PECCs) with different positions of shear studs are studied and analyzed. Test results illustrate that the position of studs is a considerable parameter for the shear performance. In Ref. [25], the flexural performance of composite beams with different materials was studied, and the SFRC layer thickness and steel rebar diameter had a great influence on the bearing capacity of the beam. The seismic performance of concrete-filled steel tubular (CFST) composite columns was studied and analyzed in Ref. [26]. The results show that the composite columns have good seismic performance.
Based on the above SPSW development background, this paper proposes a new type of SPSW—trapezoidal orthogonal stiffened steel plate shear wall (TSW). The structural form is revealed in Figure 1. The arrangement of TSW is different. One side is vertically arranged and the other side is horizontally arranged. The advantage of this construction method is that there is no cross connection when the stiffeners are arranged, and the structural measures at the joints are simplified, which is convenient for actual construction. The transverse stiffener will constrain the out-of-plane deformation of the vertical stiffener. The vertical stiffener near the column edge can limit the out-of-plane deformation of the steel plate edge under horizontal –, avoid premature buckling, and improve the ductility and energy dissipation capacity of the steel plate wall. The steel plate is divided into several high-thickness comparison grids under the combined action of stiffeners on both sides. The elastic initial stiffness of the steel plate is improved and the seismic performance is better. Variable parameters analysis of the TSW using ABAQUS 2016 and a formula for the shear capacity of TSW is developed. The formula error is within the acceptable range and the accuracy is good.

2. Numerical Modelling

2.1. Specimen Design

The TSW is composed of steel frame beams, flat steel plates, and vertical and transverse trapezoidal stiffeners. According to the American codes AISC360-16 [27], the section of the frame column is H350 × 350 × 12 × 19, the section of the upper and lower top beams is H350 × 250 × 10 × 16, and the mid-beam section is H300 × 200 × 9 × 14. The dimensions and materials of H-shaped steel are shown in Table 1, and the size of the trapezoidal stiffener is seen in Table 2. According to the Steel Plate Shear Wall Technical Specification5.4.1 provisions of the grid width–height ratio and the ratio of width to thickness, the design of the TSW division of the steel plate grid width–height ratio is close to 1, and the ratio of width to thickness is in line with regulatory requirements; the specific sizes of the TSW are seen in Figure 2 [28].

2.2. Finite Element Model (FEM)

This paper selects ABAQUS 2016 to model and analyze TSW. The material constitutive relationship adopts the three broken-line model. The frame beam and column adopt Q355 steel, the flat steel plate adopts Q235 steel, and the trapezoidal stiffener adopts Q235 steel. The mechanical properties of Q235 and Q355 steel are based on the standard design values of Q235 and Q355 steel in GB50017-2003 [29]. The specific indicators of the material mechanical properties are shown in Table 3.
The finite element model adopts the S4R shell element. The framework beams and columns are connected via bolted–welded joints using the Merge command in ABAQUS 2016. The embedded steel plates and stiffeners are welded together using the Tie command for connection, as seen in Figure 3. The iterative calculation step is 1 × 10−6. At the same time, all degrees of freedom at the bottom part of the column are limited to simulate the high-intensity bolt friction links at the bottom of the test, coupling the upper part of frame columns on both sides to the center of the top beam, as seen in Figure 4. In order to prevent local stress concentration at the loading position, the top of the frame columns on both sides is coupled to a positive reference point in the z-axis of the top beam center, and two analysis steps are set during the loading process: (1) apply vertical load to the model; (2) apply horizontal load to the model using displacement loading, because the embedded wallboard will produce obvious out-of-plane deformation during the loading process, and in order to ensure the convergence of the model calculation process, both analysis steps open the geometric nonlinearity. After adjusting the grid size according to the calculation results, the grid division of each component is finally determined as follows: the grid size of the embedded steel plate is 40 mm, and the grid size of the outer frame is 60 mm.

2.3. Validation of the FEM

In this paper, the steel frame-ribbed stiffened low yield point SPSW test in reference is selected for finite element verification [30]. The GLRBS specimen is selected. The specimen size and material attributes are seen in Table 4. The experiment structure is seen in Figure 5, and the loading system used in the experiment is seen in Figure 6.
This test was carried out according to the relevant provisions of the JGJ101-96 [31]. The loading process includes two stages: pre-loading and formal loading. In the pre-loading stage, a vertical load of 310 kN was applied synchronously on the top of the columns on both sides, and a horizontal load of 50 kN (about 10% of the yield load) was applied after the axial compression of the side frame column was ensured. The push–pull cycle ensures that the two actuators work synchronously. The specimen was ensured to be in good contact with the measuring device. After the test device worked normally, it was completely unloaded and entered the formal loading stage. The specimen GLRBS was verified with ABAQUS 2016. The shell element components were established according to the size of each part in Table 4. The material attributes of each part of the component were measured by the standard specimen using the standard method of the “metal material room temperature tensile test method” and averaged [32]. The steel three broken-line model was used as the constitutive relationship of the model material, and the FEM established by the above modeling method was used.
The load–displacement curves of the experiment and FEM are contrasted as seen in Figure 7. The hysteresis loops of the two have a similar change trend. The hysteresis curve of FEM is fuller than the pinch effect of the test, which indicates that FEM has a higher energy dissipation capacity. For the skeleton curve, the slope of FEE is larger than that of the test at the initial stage of loading, which indicates that the initial stiffness of FEM is larger than that of the test. Continue to load, the curve of the test specimen appears inflection point, and the specimen enters the buckling stage earlier; however, in the later stage of loading, the downward trend of the two is relatively close, and both show good ductility. The specific results are shown in Table 5. The maximum error is 17.90%. This is mainly because the finite element is too idealistic, resulting in errors in FEM and test.
The comparison between the specimen and the final failure mode of the FEM is seen in Figure 8. The comparison shows that the outer wall of the column bottom is seriously buckled, the weld at the beam–column connection joint is damaged and the plasticity hinge is shaped at the column bottom. The experiment and the FEM obtained failure patterns that are in good agreement. Therefore, the modeling method is acceptable and can be used for subsequent parameter analysis.

3. Parametric Analyses of TSW

To study the effects of the flat steel plate thickness tb, stiffener thickness tt, stiffener height h, and stiffener bottom width l on the hysteretic performance of TSW, this paper uses ABAQUS 2016 to establish four groups of finite element models for the TSW. The number of specimens in each group is four. The geometric parameters are shown in Figure 9. The parameter design of the specimen is shown in Table 6. The bottom width l of the trapezoidal stiffener is changed by changing the size of b. Then, by comparing the hysteresis curve, skeleton curve, and strength stiffness degradation curve, the reasonable value range of each design parameter is given.
The most important parameter to measure the influence of stiffeners on the out-of-plane restraint of wall panels is the rib stiffness ratio, that is, the ratio of the out-of-plane bending stiffness of the stiffener to the out-of-plane flexural stiffness of the steel plate. The rib stiffness ratio is expressed as η, and the calculation formula is shown in Equation (1) [28].
{ η = E s I s D c D = E t 3 12 ( 1 υ 2 ) I s = 2 3 t t h 3 + 1 12 b t t 3 + b t t h 2 c = ( c x + c y ) / 2
In the formula, Es—the elastic modulus of the stiffener is 2.06 × 10 5  N/mm2; Is—the inertial moment of the stiffener section parallel to the center of gravity axis of the stiffened plate section; D—cylindrical rigidity of stiffened plate; c—average spacing of stiffeners on both sides; E—the elastic modulus of flat steel plate s 2.06 × 10 5  N/mm2; υ—Poisson’s ratio of flat steel plate is 0.3.

3.1. Effects of Plate Thickness tb

In this section, four models are established. The FEM is named the TSW-BT series, and the specific size is shown in Table 7.
The load–displacement curves are given in Figure 10. The comparison shows that from TSW-BT2, the hysteresis curves of the subsequent specimens are by degrees transformed into an anti- “S” shape. The hysteresis loop area of TSW-BT3 and subsequent specimens gradually increases, and the shape is fuller. The hysteresis loop area gradually enlarges following the thickness of the flat steel plate. Comparing the skeleton curves, it can be seen that when entering the plasticity, the thicker the flat steel plate, the more the inflection point of the envelope curve occurs first, and the specimens enter the buckling stage earlier; at the later stage of loading, the envelope curves decreased gently, showing good ductility performance. The specific values are shown in Table 8. Compared with TSW-BT1, the yield load of TSW-BT2~TSW-BT4 increased by 24.57%, 21.91%, and 6.44%, respectively. The growth rates of the peak load are 18.29%, 16.87%, and 6.02%; the lateral stiffness increases by 34.11%, 17.97%, and 9.32%. The peak displacement decreased by 1.35%, 1.05%, and 31.7%. The greater the flat steel plate thickness is, the stronger its bearing capability and lateral stiffness.
The relative energy dissipation index is the equivalent viscous damping coefficient he, which reflects the fullness of the hysteresis loop (see Figure 11) and is calculated by Equation (2).
h e = S ( A B C + C D A ) 2 π × S ( O B E + O D F )
In the formula, S ( A B C + C D A ) —the area of hysteresis loop ABCD; S ( O B E + O D F ) —the sum of the area of triangles obe and odf.
The energy dissipation capacity is seen in Figure 12. With the increase in thickness, the absolute energy dissipation value is larger. The energy dissipation values of specimens TSW-BT1, TSW-BT2, and TSW-BT3 at each loading stage are greatly different, while the energy dissipation values of TSW-BT3 and TSW-BT4 at each loading stage are almost close. The equivalent viscous damping coefficient enlargements as increasing thickness of the steel plate before 5.0δy, and the equivalent viscous damping coefficient of the thinner steel plate is higher than rather thick after 5.0δy. A comprehensive comparison of various energy consumption performance indicators shows that the absolute index and relative index of TSW-BT3 (flat steel plate thickness of 6 mm) are better.
According to the given indicators, the thickness of TSW has a greater impact on its hysteretic capacity. This can effectively enhance the full degree of hysteretic curves and improve its energy dissipation ability. Additionally, the initial stiffness, yield load, and peak load of the specimen are improved to a certain extent. The steel plate thickness for the TSW is suggested to be in the range of 4 to 6 mm.

3.2. Effects of the Stiffener Thickness tt

In this section, four models are established. The FEM is named the TSW-TT series, and the specific variable parameter size is shown in Table 9.
The load–displacement curves are given in Figure 13. The comparison shows that the hysteresis curves of specimens TSW-TT1 and TSW-TT2 have an obvious “pinching” phenomenon. Starting from TSW-TT3, the hysteresis curves gradually become an anti- “S” shape, and the shape is fuller. The comparison of the envelope curves shows that the initial lateral stiffness and peak load increase gradually. In the middle of loading, the greater the thickness of the stiffener is, the greater the peak load. At the end of loading, the skeleton curves decreased gently and showed good ductility. The specific values are shown in Table 10. Compared with TSW-TT1, the yield load of TSW-TT2~TSW-TT4 increased by 13.13%, 15.71%, and 0.33%, respectively. The increase in peak load is 9.93%, 14.72%, and 0.98%. The increments of lateral stiffness are 6.01%, 9.18%, and 0.55%. The peak displacement decreased by 5.89%, 36.97%, and 2.66%. The larger the stiffener thickness is, the stronger its bearing capability and lateral stiffness.
Figure 14 shows the energy dissipation capacity. As the thickness of the trapezoidal stiffener increases, the absolute energy dissipation value is larger. The energy dissipation values TSW-TT1 and TSW-TT2 at each loading stage are larger, while the energy dissipation values TSW-TT3 and TSW-TT4 at each loading stage are smaller. The equivalent viscous damping coefficient between the 2.0δy and 5.0δy specimens is obviously different, and the numerical difference between the loading stages of TSW-TT3 and TSW-TT4 is not significant. At 6.0δy~7.0δy, the equivalent viscous damping coefficients are similar to each other, and the changing trend is basically the same. Increasing the thickness of the stiffener can significantly improve the energy dissipation performance of the specimens, and the effect is most obvious in the middle of loading, but the thickness of the stiffener is too large, and it will also increase the amount of steel used.
Based on the above indexes, trapezoidal stiffener thickness has an obvious effect on the hysteretic capacity of TSW. The increase in the thickness of the stiffener solves “pinching” phenomenon of the hysteresis curves and improves the energy dissipation ability. The initial stiffness, yield load, and peak load of the specimens are improved to a certain extent, and the stiffness and strength degeneration rate are slowed down. Therefore, this paper suggests a TSW trapezoidal stiffener thickness of 4~6 mm.

3.3. Effects of the Stiffener Height h

In this section, the variable parameter analysis is carried out for the height of the trapezoidal stiffener. This series also includes four specimens. The finite element model is named the TSW-TH series, and the specific variable parameter size is shown in Table 11.
The load–displacement comparison is given in Figure 15. Compared with the hysteresis curves, it shows that after entering the elastic–plastic stage, the hysteresis curves of TSW-TH1 and TSW-TH2 have an obvious “pinch” phenomenon. With the height of the trapezoidal stiffener increase, the shape of the hysteresis curve of the subsequent specimens gradually changes to the anti-“S” shape, and the shape is fuller. Comparing the skeleton curves, it can be seen that with the increases of the trapezoidal stiffener height when comparing the specimens TSW-TH1~TSW-TH4, the initial lateral stiffness gradually decreases, and the maximum stiffness of the wallboard also decreases. The concrete numerical values are shown in Table 12, and the yield load growth rates of TSW-TH1~TSW-TH4 are 6.99%, 5.00%, and 3.53%, respectively. The growth rates of the peak load are 7.19%, 4.96%, and 4.18%, and the peak displacement decreased by 7.61%, 17.86%, and 0.59%, respectively. The lateral stiffness changes little. Therefore, it is recommended that the height of the trapezoidal stiffener is 50 mm.
The energy dissipation capacity is seen in Figure 16. When the wallboard enters the yield stage, the opening degree of hysteretic curves is low and the energy dissipation is limited. Continuing to loading, as the height of the trapezoidal stiffener increases, the trend of the energy dissipation value of the specimen increases first and then decreases. The equivalent viscous damping coefficient between the 2.0δy and 5.0δy specimens is obviously different. At 6.0δy~7.0δy, the equivalent viscous damping coefficients are close to each other, and the variation trend is basically the same.
In summary, trapezoidal stiffener height has an obvious influence on the hysteretic capacity of TSW. Increasing the height of the stiffener can obviously solve the “pinching” phenomenon of the hysteretic curve. The trapezoidal stiffener plays an active role in enhancing the hysteretic properties of the specimen in the proper height range, but after exceeding a certain size, the height of the stiffener continues to increase, which will have a reverse effect on the hysteretic performance of the specimen. Therefore, it is suggested that the height of the stiffener should not exceed 60 mm.

3.4. Effects of the Stiffener Bottom Width l

In this section, four specimens are designed. The FEM is named the TSW-L series. The specific variable parameter size is shown in Table 13.
The load–displacement comparison is given in Figure 17. Compared with the hysteresis curves, it shows that the hysteresis curves of the series are close, and the hysteresis loop area is not much different. The influence of changing the bottom width of the trapezoidal stiffener on the hysteresis curves is not obvious. Compared with the previous three parameters, the bottom width of the stiffener has little impact on the hysteretic performance. The comparison of the skeleton curves shows that the envelope curves of this series are very similar during the whole loading process. In the middle stage of loading, the curves of all specimens were basically in a state of coincidence. The descending section of the skeleton curve is different at the end of loading. The larger the trapezoidal stiffener bottom width is, the gentler the downward trend is. This is because the wider the width of the bottom edge of the stiffener is, the better the effect of restraining the inelastic buckling of the flat steel plate is. Comparing the data in Table 14, it shows that with trapezoidal stiffener bottom width increases, the increase and decrease in each key indicator are not obvious, indicating that the bottom width of the trapezoidal stiffener does not affect the bearing capability and initial stiffness.
The energy dissipation capacity is given in Figure 18. The displacement loading is less than 3.0δy, and the energy dissipation values of this series are scarcely equal. After 3.0δy, the difference gradually appears. As the bottom width of the trapezoidal stiffener increases, the energy dissipation value of the specimen increases first and then decreases. The equivalent viscous damping coefficients of this series are almost the same before 3.0δy, and the difference appears after 3.0δy.
In summary, the TSW-L series specimens have preferable bearing capability stability, but the influence of the bottom width of the trapezoidal stiffener on the initial lateral stiffness, skeleton curve, and energy dissipation capacity is not obvious. Therefore, the influence of the trapezoidal stiffener bottom width on the key indicators of the specimens can be ignored.

4. Theoretical Calculation of the Ultimate Shear Capacity

The outer frame and the flat steel plate form the TSW. They, together, resist the action of lateral forces. When the shear yield member reaches the maximum horizontal bearing capacity, the upper and lower of the outer frame column and the beam end basically form plastic hinges, and the flat steel plate yields, but no out-of-plane buckling occurs, forming a plastic hinge mechanism [33,34,35].
According to the energy method in Ref. [33], TSW is composed of an embedded steel plate and outer frame, which resist the lateral force together. When the bearing capacity reaches the maximum, the plastic hinge is basically formed at the top and bottom of the outer frame column and the beam end of the frame beam. The embedded steel plate is uniformly yielded but no out-of-plane buckling occurs, forming a plastic hinge mechanism, as shown in Figure 19. The shear-bearing capacity of each layer of the TSW under the plastic hinge mechanism can be deduced. The calculation formula is shown in Equation (2).
i = 1 n F i H i = M P f + i = 1 n ( V w i V w i + 1 ) H i
In the formula, F i is the shear bearing capacity of the ith-layer structure, H i is the distance from the ith-layer structure to the ground, V w i is the shear bearing capacity of TSW in the i -layer structure, and M P f refers to the flexural bearing capacity of the outer frame. It requires a certain reduction. The reduction factor is 0.8.
M P f = 0.8 × 4 W P f y = 3.2 W P f y
In the formula, W P is the resistance moment of the column plastic section and f y is the yield strength. In Equation (4), there is only one unknown quantity V w i , and the embedded steel plate shear capacity is solved below.
When TSW yields, the steel plate and the stiffeners offer shear-bearing capacity. The calculation formula is shown in Equation (5):
V w = V C + V S
In the formula, V C refers to the shear capacity provided passes through steel plates, and V S refers to the shear capacity provided through stiffeners.
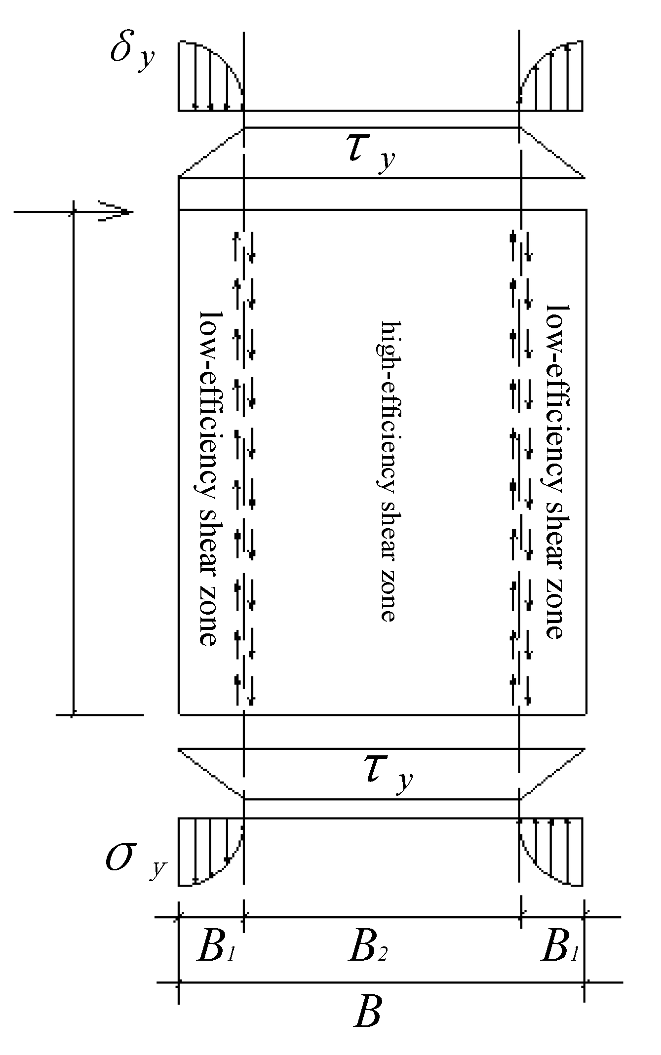
When calculating the maximum shear capacity of SPSW, according to the tension field model proposed, further analysis was carried out on the basis of Refs. [36,37,38]. Compared with the rectangular section beam, the SPSW on two-side connections has a wider shear section. When the wallboard is sheared and yielded, the shear stress distribution of the section can be boiled down to trapezoid, and the shear stress on both sides is 0, which is evenly distributed after reaching it. The stress distribution diagram is proposed, as given in Figure 20. The shear stress at different positions can be calculated according to Equation (6):
τ ( x ) = { x B 1 τ y               0 x B 1 τ y                           B 1 x B B 1 B x B 1 τ y     B B 1 x B
τ y refers to shear yield stress, B1 is the width of shear stress not reaching τ y , and steel plate width is B.
The integral is the shear capacity, as shown in Equation (7):
V C = t 0 B τ ( x ) d x = t ( B B 1 ) τ y
Steel plate thickness is t. Except for B1, the rest are known parameters. The following uses the method in reference to calculate B1 [39].
The distribution of stress is seen in Figure 21:
According to the von Mises yield equation, the relationship between the normal stress on the σ y ( x ) steel plate element and the shear stress can be obtained. Equation (8) is shown. In the main shear zone τ ( x ) = τ y , σ y ( x ) = 0 can be obtained by substituting Equation (8), so positive stress is primarily distributed within the secondary shear zone.
σ y ( x ) = f y 2 3 τ 2 ( x )
The secondary shear zone is isolated, and the equilibrium equation is established, as shown in Equation (9).
τ y t H = 2 0 B 1 σ y ( x ) t e d x
In the formula, the plate net height is H.
When the section area of the plate edge restraint member satisfies Equation (10), the “low-efficiency shear zone” will be completely transformed into the “high-efficiency shear zone”, that is, B1 = 0.
A s τ y t H 5 f y , s = A s , min
A s denotes the stiffener section area at the plate edge; A s , m i n represents the minimum cross-sectional area threshold that the edge restraint member can make the whole wallboard fully exert the shear efficiency; f y , s denotes the material yield stress of the plate-edge restraint member.
When 0 < A s < A s , min , only part of the “low-efficiency shear zone” is transformed into “high-efficiency shear zone”. The ratio of the section area of the edge restraint member to the minimum section area threshold of the edge constraint component is defined as ξ.
ζ = A s A s , min
Then, Equation (9) is changed to Equation (12):
( 1 ζ ) τ y t H = 2 0 B 1 δ = σ y ( x ) t e d x
By substituting Equations (6), (8), (11) and f y = 3 τ y into Equation (12), the B1 expression can be obtained, as shown in Equation (13):
B 1 = 2 3 H ( 1 ζ ) 3 π
Substituting Equation (13) into Equation (6), embedded steel plate shear-carrying capacity is attained, as shown in Equation (14).
V C = { t ( B 2 3 H ( 1 ζ ) 3 π ) τ y 0 < ζ < 1 t B τ y ζ 1
Under the action of lateral load, the stiffeners on both sides of the plate are subjected to tension and compression, respectively. Because the compression stiffeners experience easily inflectional instability, the influence of compression stiffeners is neglected when calculating V S . Since the tensile stiffener does not reach full yield when the component reaches the peak load, tensile strength is boiled down to 0.8 f y , and V S is calculated according to Equation (15):
V S = 5 A s × 0.8 f y cos θ s = 4 A s f y cos θ s
In the formula, the angle among the horizontal orientation and stiffeners is θ s .
In summary, substituting Equations (14) and (15) into Equation (5) can attain the shear bearing capacity of the TSW at shear yield. The expression is shown in Equation (16):
V w = { t ( B 2 3 H ( 1 ζ ) 3 π ) τ y + 4 A s f y cos θ s 0 < ζ < 1 t B τ y + 4 A s f y cos θ s ζ 1
Due to the FEM proposed in this paper being a double-layer structure, the parameters in Equation (3) are n = 2 , F 1 = 0 . Therefore, the ultimate shear capacity of TSW is computed by Equation (17):
V = F 2 = { 3.2 W p f y H 2 + t ( B 2 3 H ( 1 ζ ) 3 π ) τ y + 4 A s f y cos θ s 0 < ζ < 1 3.2 W p f y H 2 + t B τ y + 4 A s f y cos θ s ζ 1
To verify the accuracy of the above formula, ABAQUS 2016 was used to calculate the finite element of TSW with different sizes under cyclic loading, and the bearing capacity of each component was extracted. The theoretical and FEM bearing capacity comparison is shown in Table 15.
It can be seen from Table 15 that under different size parameters, the error between the theoretical bearing capacity calculated by Equation (17) and the experimental value is between 5.23% and 22.16%; both of them increase with increasing flat steel plate thickness, stiffener thickness, and stiffener height, and increase first and then decrease with increasing stiffener bottom width. This is because with the increase of the thickness of the flat steel plate and the stiffener, the utilization rate of the steel in the FEM gradually decreases and does not reach the maximum, resulting in the error of the ultimate bearing capacity of the theory and FEM gradually increases. With the increase of the stiffener height, the steel utilization of the FEM gradually increases, so that the error of the ultimate bearing capacity of the theory and FEM gradually decreases. However, because the finite element results are greater than the test results, this shows that the results obtained by the formula are not safe, and it is recommended to be appropriately modified for future applications.

5. Conclusions

In this paper, a trapezoidal orthogonal steel plate shear wall (TSW) is put forward. ABAQUS 2016 is applied to establish TSW and analyze its hysteretic performance. The conclusions are as follows:
(1) A single-span double-layer TSW FEM was built, and the FEM was contrasted with the test results of a steel frame-stiffened low yield point SPSW. The results show that the maximum error of peak load and initial stiffness among FEM and experiment result is 17.9%, which is within the acceptable range.
(2) The influence of flat steel plate thickness, stiffener thickness, stiffener height, and stiffener bottom on the hysteretic capability is analyzed. The results show that the flat steel plate thickness, stiffener thickness, and stiffener height can improve the seismic performance of the TSW. It is suggested that flat steel plate thickness should be 4~6 mm, stiffener thickness should be 4~6 mm and stiffener height should not exceed 60 mm. The influence of stiffener bottom width on the key indicators of TSW can be ignored.
(3) The ultimate shear capacity of the TSW is also analytically formulated and then compared with the FEM results. The results indicate maximum error of the ultimate shear capacity of TSW among theoretical calculation value and FEM calculation value is 22.16%, and most of the errors are within 20%. However, because the finite element results are greater than the test results, this shows that the results obtained by the formula are not safe, and it is recommended to correct.

Author Contributions

Methodology, Y.M.; Validation, J.Q.; Formal analysis, X.M.; Data curation, Z.S.; Writing—original draft, L.C.; Writing—review & editing, H.Z. and L.J. All authors have read and agreed to the published version of the manuscript.

Funding

This research was funded by the National Natural Science Foundation of China (52208224, 52008398, 51278061).

Data Availability Statement

Data is contained within the article.

Conflicts of Interest

This article no conflict of interest.

References

  1. Guo, Y.L.; Zhou, M. Categorization and Performance of Steel Plate Shear Wall. J. Archit. Civ. Eng. 2009, 26, 1–13. [Google Scholar] [CrossRef]
  2. Kharrazi, M.H.; Prion, H.G.; Ventura, C.E. Implementation of M-PFI method in design of steel plate walls. J. Constr. Steel Res. 2008, 64, 465–479. [Google Scholar] [CrossRef]
  3. Sun, G.H.; Gu, Q.; He, R.Q.; Fang, Y.Z. Energy dissipation capacity of steel plate shear walls. Chin. J. Comput. Mech. 2013, 30, 422–428. [Google Scholar]
  4. Li, N. Experimental Research on Seismic Behavior of Corrugated Steel Plate Shear Wall System; Tianjin University: Tianjin, China, 2016. [Google Scholar]
  5. Alinia, M.; Dastfan, M. Cyclic behaviour deformability and rigidity of stiffened steel shear panels. J. Constr. Steel Res. 2007, 63, 554–563. [Google Scholar] [CrossRef]
  6. Alinia, M.; Dastfan, M. Behaviour of thin steel plate shear walls regarding frame members. J. Constr. Steel Res. 2006, 62, 730–738. [Google Scholar] [CrossRef]
  7. Chen, G.D.; Guo, Y.L.; Fan, Z.; Han, Y. Cyclic test of steel plate shear walls. J. Build. Struct. 2004, 25, 19–26. [Google Scholar] [CrossRef]
  8. Chen, G.D.; Guo, Y.L. Ultimate shear-carrying capacity of steel plate shear wall with cross stiffeners. J. Build. Struct. 2004, 25, 71–78. [Google Scholar] [CrossRef]
  9. Guo, H.C.; Li, Y.L.; Liang, G.; Liu, Y.H. Experimental study of cross stiffened steel plate shear wall with semi-rigid connected frame. J. Constr. Steel Res. 2017, 135, 69–82. [Google Scholar] [CrossRef]
  10. Haddad, O.; Ramli Sulong, N.H.; Ibrahim, Z. Cyclic performance of stiffened steel plate shear walls with various configurations of stiffeners. J. Vibroeng. 2018, 20, 459–476. [Google Scholar] [CrossRef]
  11. Mu, Z.; Yang, Y. Experimental and numerical study on seismic behavior of obliquely stiffened steel plate shear walls with openings. Thin-Walled Struct. 2020, 146, 106457. [Google Scholar] [CrossRef]
  12. Alinia, M.; Shirazi, R.S. On the design of stiffeners in steel plate shear walls. J. Constr. Steel Res. 2009, 65, 2069–2077. [Google Scholar] [CrossRef]
  13. Nie, J.G.; Li, Y.X. Finite element research about the elastic buckling of six types of stiffening steel plate shear walls. Steel Constr. 2013, 28, 1–3. [Google Scholar] [CrossRef]
  14. Alavi, E.; Nateghi, F. Experimental study on diagonally stiffened steel plate shear walls with central perforation. J. Constr. Steel Res. 2013, 89, 9–20. [Google Scholar] [CrossRef]
  15. Sigariyazd, M.A.; Joghataie, A.; Attari, N.K.A. Analysis and design recommendations for diagonally stiffened steel plate shear walls. Thin-Walled Struct. 2016, 103, 72–80. [Google Scholar] [CrossRef]
  16. Guo, Y.L.; Miao, Y.W.; Dong, Q.L. Elastic buckling behavior of stiffened steel plate shear walls slotted at two edges. Prog. Steel Build. Struct. 2007, 16, 58–62. [Google Scholar] [CrossRef]
  17. Jahanpour, A.; Moharrami, H.; Aghakoochak, A. Evaluation of ultimate capacity of semi-supported steel shear walls. J. Constr. Steel Res. 2011, 67, 1022–1030. [Google Scholar] [CrossRef]
  18. Nie, J.G.; Zhu, L.; Fan, J.S.; Mo, Y.L. Lateral resistance capacity of stiffened steel plate shear walls. Thin-Walled Struct. 2013, 67, 155–167. [Google Scholar] [CrossRef]
  19. Wang, Y.S.; Jia, G.Q.; Wang, X.T.; Xie, C.D.; Liang, X.D. Investigation of lateral-resistant behaviour of thin steel plate shear walls with vertical stiffeners. J. Xian Univ. Arch. Tech. 2020, 52, 495–504. [Google Scholar] [CrossRef]
  20. Yang, L.; Ye, M.; Huang, Y.; Dong, J. Study on mechanical properties of displacement-amplified mild steel bar joint damper. Iran. J. Sci. Technol. Trans. Civ. Eng. 2023, 1–14. [Google Scholar] [CrossRef]
  21. Liang, F.; Wang, R.; Pang, Q.; Hu, Z. Design and optimization of press slider with steel-aluminum composite bionic sandwich structure for energy saving. J. Clean. Prod. 2023, 428, 139341. [Google Scholar] [CrossRef]
  22. Deng, E.F.; Wang, Y.H.; Zong, L.; Zhang, Z.; Zhang, J.F. Seismic behavior of a novel liftable connection for modular steel buildings: Experimental and numerical studies. Thin-Walled Struct. 2024, 197, 111563. [Google Scholar] [CrossRef]
  23. Luo, Y.; Liu, X.; Chen, F.; Zhang, H.; Xiao, X. Numerical simulation on crack–inclusion interaction for rib-to-deck welded joints in orthotropic steel deck. Metals 2023, 13, 1402. [Google Scholar] [CrossRef]
  24. Huang, H.; Yao, Y.; Zhang, W. A push-out test on partially encased composite column with different positions of shear studs. Eng. Struct. 2023, 289, 116343. [Google Scholar] [CrossRef]
  25. Zhang, W.; Zhang, S.; Wei, J.; Huang, Y. Flexural behavior of SFRC-NC composite beams: An experimental and numerical analytical study. In Structures; Elsevier: Amsterdam, The Netherlands, 2024; Volume 60, p. 105823. [Google Scholar] [CrossRef]
  26. Wei, J.; Ying, H.; Yang, Y.; Zhang, W.; Yuan, H.; Zhou, J. Seismic performance of concrete-filled steel tubular composite columns with ultra high performance concrete plates. Eng. Struct. 2023, 278, 115500. [Google Scholar] [CrossRef]
  27. Ansi, B. AISC 360-16; Specification for Structural Steel Buildings; Chicago AISC: Chicago, IL, USA, 2005. [Google Scholar]
  28. JGJ/T 380-2015; Technical Specification for Steel Plate Shear Wall. China Construction Industry Press: Beijing, China, 2015.
  29. GB50017-2003; Code for Design of Steel Structures. China Planning Press: Beijing, China, 2003.
  30. Guo, Z. Experimental Study and Numerical Analysis of Semi-Rigid Frame with Multi-ribbed Stiffening Low Yield Point Steel Plate Shear Walls. Xian Univ. Arch. Tech. 2015. [Google Scholar] [CrossRef]
  31. JGJ/101-96; Code for Seismic Test Methods of Buildings. China Planning Press: Beijing, China, 1996.
  32. GB/T 228-2010; Metallic Materials Tensile Testing at Ambient Temperature. China Standard Press: Beijing, China, 2010.
  33. Jiang, L.Q.; Ye, J.H.; Zheng, H. Macroscopic modelling of steel boundary frames equipped with bolt-connected reinforced concrete panel wall. Eng. Struct. 2020, 213, 110549. [Google Scholar] [CrossRef]
  34. Shi, G.; Gao, Y.; Wang, X.; Zhang, Y. Low Cycle Fatigue Properties of Low Yield Point Steels. China Civ. Eng. J. 2019, 52, 20–26+52. [Google Scholar] [CrossRef]
  35. Berman, J.; Bruneau, M. Plastic analysis and design of steel plate shear walls. J. Struct. Eng. 2003, 129, 1448–1456. [Google Scholar] [CrossRef]
  36. Hu, Y.; Zhao, J.H.; Zhang, D.F.; Zhang, H.Q. Cyclic tests of fully prefabricated concrete-filled double-skin steel tube/moment-resisting boundary frames with beam-only connected steel plate shear walls. Thin-Walled Struct. 2020, 146, 106272. [Google Scholar] [CrossRef]
  37. Guo, L.H.; Rong, Q.; Qu, B.; Liu, J.P. Testing of steel plate shear walls with composite columns and infill plates connected to beams only. Eng. Struct. 2017, 136, 165–179. [Google Scholar] [CrossRef]
  38. Wang, W. Research on Lateral Performance and Seismic Behavior of Asymmetric Cross-Stiffened Corrugated Steel Shear Wall; Chang’an University: Xi’an, China, 2021. [Google Scholar] [CrossRef]
  39. He, B.C. Cyclic Test and Mechanism of Vertically Corrugated Steel Plate Shear Walls with Various Openings; Tianjin University: Tianjin, China, 2021. [Google Scholar] [CrossRef]
Figure 1. Composition of TSW.
Figure 1. Composition of TSW.
Buildings 14 01634 g001
Figure 2. TSW structure and size.
Figure 2. TSW structure and size.
Buildings 14 01634 g002
Figure 3. Contact relationship.
Figure 3. Contact relationship.
Buildings 14 01634 g003
Figure 4. Boundary conditions and loads.
Figure 4. Boundary conditions and loads.
Buildings 14 01634 g004
Figure 5. Experiment specimen.
Figure 5. Experiment specimen.
Buildings 14 01634 g005
Figure 6. Experiment loading system.
Figure 6. Experiment loading system.
Buildings 14 01634 g006
Figure 7. Comparison of load–displacement curves.
Figure 7. Comparison of load–displacement curves.
Buildings 14 01634 g007
Figure 8. Comparison of experiment and the FEM failure modes.
Figure 8. Comparison of experiment and the FEM failure modes.
Buildings 14 01634 g008
Figure 9. Geometric parameters diagram.
Figure 9. Geometric parameters diagram.
Buildings 14 01634 g009
Figure 10. Comparison of the load–displacement curves of various specimens.
Figure 10. Comparison of the load–displacement curves of various specimens.
Buildings 14 01634 g010
Figure 11. Hysteresis loop area.
Figure 11. Hysteresis loop area.
Buildings 14 01634 g011
Figure 12. Comparison of energy dissipation capacity.
Figure 12. Comparison of energy dissipation capacity.
Buildings 14 01634 g012
Figure 13. Comparison of the load–displacement curves of various specimens.
Figure 13. Comparison of the load–displacement curves of various specimens.
Buildings 14 01634 g013
Figure 14. Comparison of energy dissipation capacity.
Figure 14. Comparison of energy dissipation capacity.
Buildings 14 01634 g014
Figure 15. Comparison of the load–displacement curves of various specimens.
Figure 15. Comparison of the load–displacement curves of various specimens.
Buildings 14 01634 g015
Figure 16. Comparison of energy dissipation capacity.
Figure 16. Comparison of energy dissipation capacity.
Buildings 14 01634 g016
Figure 17. Comparison of the load–displacement curves of various specimens.
Figure 17. Comparison of the load–displacement curves of various specimens.
Buildings 14 01634 g017
Figure 18. Comparison of energy dissipation capacity.
Figure 18. Comparison of energy dissipation capacity.
Buildings 14 01634 g018
Figure 19. Plastic hinge mechanism of TSW.
Figure 19. Plastic hinge mechanism of TSW.
Buildings 14 01634 g019
Figure 20. Distribution of shear stress of steel plate with two-side connection.
Figure 20. Distribution of shear stress of steel plate with two-side connection.
Buildings 14 01634 g020
Figure 21. Distribution of stress of steel plate with two-side connection.
Figure 21. Distribution of stress of steel plate with two-side connection.
Buildings 14 01634 g021
Table 1. H-beam section size and material.
Table 1. H-beam section size and material.
Buildings 14 01634 i001ItemsH (mm)B (mm)tw (mm)tf (mm)Steel Type
Frame column3503501219Q355B
Top and bottom beam3502501016
Section of H shape steelMiddle beam300200914
Table 2. Section size and material of trapezoidal stiffener.
Table 2. Section size and material of trapezoidal stiffener.
Buildings 14 01634 i002ItemsH (mm)B (mm)A (mm)T (mm)Steel Type
Trapezoidal stiffener50100606Q235B
Trapezoidal stiffener section
Table 3. Mechanical performances of materials.
Table 3. Mechanical performances of materials.
Steel TypeModulus of Elasticity E (MPa)Yield Strength fy (MPa)Poisson Ratio υεyεstεu
Q2352.06 × 1052350.30.00110.0250.20
Q3552.06 × 1053550.30.00170.0170.16
Table 4. Specimen dimensions and material properties.
Table 4. Specimen dimensions and material properties.
ItemSectional Size (mm)Length (mm)Steel Type
Frame column□ 180 × 180 × 10 × 103600Q235
Upper and lower top beamHN300 × 150 × 6.5 × 91200Q235
Mid-beamHN200 × 100 × 5.5 × 81200Q235
Flat steel plate1200 × 31200BLY160
Ribbed slab60 × 61000Q235
Table 5. Comparison of key indexes between test and finite element.
Table 5. Comparison of key indexes between test and finite element.
Yield LoadPeak LoadYield DisplacementPeak DisplacementInitial Stiffness
(kN)(kN)(mm)(mm)(kN/mm)
Experimental502.00687.8320.2181.4742.63
Finite element567.32715.4919.0872.1650.27
Error13.02%4.02%4.47%11.43%17.90%
Table 6. Parameter design of four groups of specimens.
Table 6. Parameter design of four groups of specimens.
Serial Numbertb (mm)tt (mm)H (mm)L (mm)
TSW-BTtb650220
TSW-TT6tt50220
TSW-TH66h220
TSW-L6650l
Table 7. Parameters of TSW-BT specimens.
Table 7. Parameters of TSW-BT specimens.
Serial Numbertb (mm)Rib Stiffness Ratio
TSW-BT125155.58
TSW-BT24644.45
TSW-BT36190.95
TSW-BT4880.56
Table 8. Comparison of key indicators of TSW-BT specimens.
Table 8. Comparison of key indicators of TSW-BT specimens.
Serial NumberYield LoadPeak LoadYield DisplacementPeak DisplacementLateral Stiffness
(kN)(kN)(mm)(mm)(kN/mm)
TSW-BT11872.842395.9645.47113.6374.52
TSW-BT22332.982834.1338.04112.1099.94
TSW-BT32844.063312.2436.23110.92117.90
TSW-BT43027.313511.7935.5675.76128.89
Table 9. Parameters of TSW-TT specimens.
Table 9. Parameters of TSW-TT specimens.
Serial Numbertt (mm)Rib Stiffness Ratio
TSW-TT1263.60
TSW-TT24127.23
TSW-TT36190.95
TSW-TT48254.77
Table 10. Comparison of key indicators of TSW-TT specimens.
Table 10. Comparison of key indicators of TSW-TT specimens.
Serial NumberYield LoadPeak LoadYield DisplacementPeak DisplacementLateral Stiffness
(kN)(kN)(mm)(mm)(kN/mm)
TSW-BT11872.842395.9645.47113.6374.52
TSW-BT22332.982834.1338.04112.1099.94
TSW-BT32844.063312.2436.23110.92117.90
TSW-BT43027.313511.7935.5675.76128.89
Table 11. Parameters of the TSW-TH specimens.
Table 11. Parameters of the TSW-TH specimens.
Serial Numberh (mm)Rib Stiffness Ratio
TSW-TH13061.98
TSW-TH240116.16
TSW-TH350190.95
TSW-TH460288.62
Table 12. Comparison of key indicators of TSW-TH specimens.
Table 12. Comparison of key indicators of TSW-TH specimens.
Serial NumberYield LoadPeak LoadYield DisplacementPeak DisplacementLateral Stiffness
(kN)(kN)(mm)(mm)(kN/mm)
TSW-TH12531.582944.1532.38146.17118.37
TSW-TH22708.543155.7334.46135.04118.13
TSW-TH32844.063312.2436.23110.92117.90
TSW-TH42944.363450.6538.38110.27117.65
Table 13. Parameters of the TSW-L specimens.
Table 13. Parameters of the TSW-L specimens.
Serial NumberL (mm)Rib Stiffness Ratio
TSW-L1180177.55
TSW-L2200184.00
TSW-L3220190.95
TSW-L4240198.44
Table 14. Comparison of key indicators of TSW-L specimens.
Table 14. Comparison of key indicators of TSW-L specimens.
Serial NumberYield LoadPeak LoadYield DisplacementPeak DisplacementLateral Stiffness
(kN)(kN)(mm)(mm)(kN/mm)
TSW-L12801.793261.7635.52109.17118.96
TSW-L22781.373263.1936.14110.83116.96
TSW-L32844.063312.2436.23110.92117.90
TSW-L42763.533245.1935.63112.13118.11
Table 15. Comparison of theoretical bearing capacity and FEM bearing capacity.
Table 15. Comparison of theoretical bearing capacity and FEM bearing capacity.
Parameterstb (mm)tt (mm)h (mm)L (mm)Theoretical Results/kNFEM Results/kNError
Thickness of the flat steel plate26502202710239613.10%
43315283416.96%
63895331217.59%
84154351218.28%
Thickness of the stiffener625022024892626−5.23%
43191288710.53%
63895331217.60%
83981334519.03%
Height of the stiffener66302203597294422.16%
403796315620.29%
503895331217.60%
604006345116.10%
Bottom width of the stiffener66501803664326212.32%
2003773326315.64%
2203895331217.60%
2403871324519.30%
Disclaimer/Publisher’s Note: The statements, opinions and data contained in all publications are solely those of the individual author(s) and contributor(s) and not of MDPI and/or the editor(s). MDPI and/or the editor(s) disclaim responsibility for any injury to people or property resulting from any ideas, methods, instructions or products referred to in the content.

Share and Cite

MDPI and ACS Style

Zheng, H.; Cai, L.; Qin, J.; Mi, Y.; Jiang, L.; Ma, X.; Sun, Z. Lateral Performance Analysis of Trapezoidal Orthogonal Stiffened Steel Plate Shear Walls. Buildings 2024, 14, 1634. https://doi.org/10.3390/buildings14061634

AMA Style

Zheng H, Cai L, Qin J, Mi Y, Jiang L, Ma X, Sun Z. Lateral Performance Analysis of Trapezoidal Orthogonal Stiffened Steel Plate Shear Walls. Buildings. 2024; 14(6):1634. https://doi.org/10.3390/buildings14061634

Chicago/Turabian Style

Zheng, Hong, Lele Cai, Jiawei Qin, Yuxi Mi, Liqiang Jiang, Xiaoming Ma, and Zhiwei Sun. 2024. "Lateral Performance Analysis of Trapezoidal Orthogonal Stiffened Steel Plate Shear Walls" Buildings 14, no. 6: 1634. https://doi.org/10.3390/buildings14061634

APA Style

Zheng, H., Cai, L., Qin, J., Mi, Y., Jiang, L., Ma, X., & Sun, Z. (2024). Lateral Performance Analysis of Trapezoidal Orthogonal Stiffened Steel Plate Shear Walls. Buildings, 14(6), 1634. https://doi.org/10.3390/buildings14061634

Note that from the first issue of 2016, this journal uses article numbers instead of page numbers. See further details here.

Article Metrics

Back to TopTop