Experimental Study on Bending Performance of High-Performance Fiber-Reinforced Cement Composite Prefabricated Monolithic Composite Beams
Abstract
:1. Introduction
2. Experiment Overview
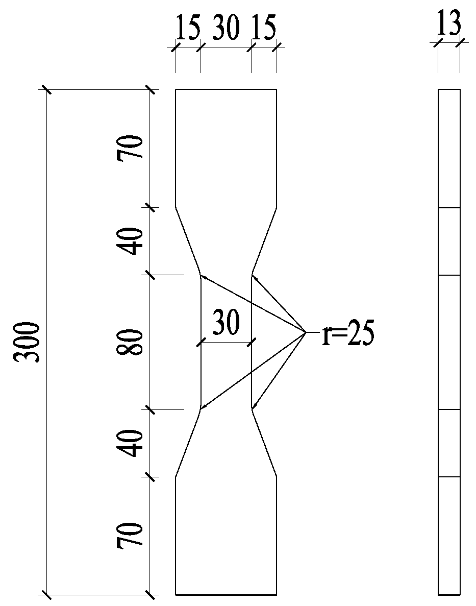
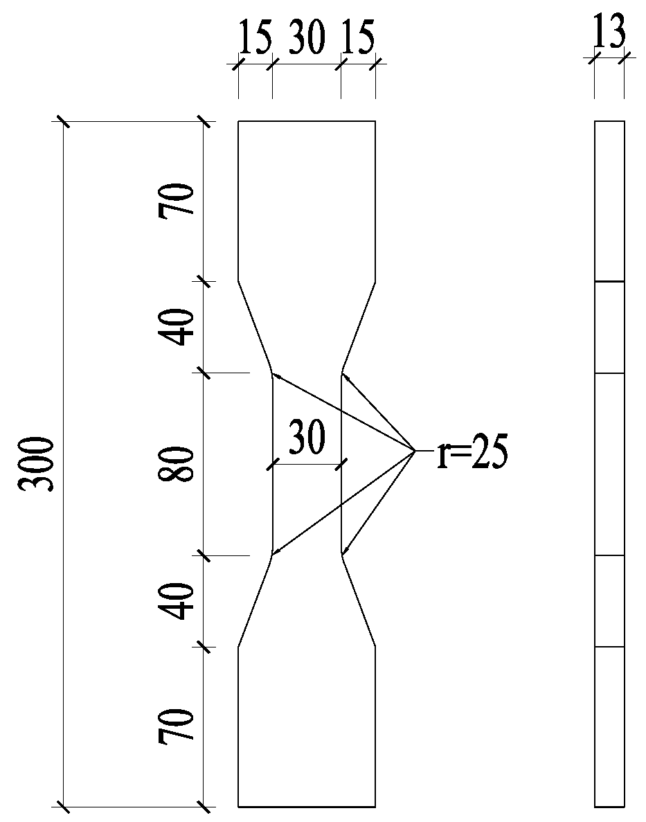
2.1. Specimen Design
2.2. Mechanical Properties of Materials
2.3. Test Loading Scheme and Measurement Point Arrangement
3. Experimental Results and Analysis
3.1. Failure Mode
3.1.1. Influences of Different Precast Shell Materials on Failure Mode
3.1.2. Failure Modes of Reversed-Loaded Composite Beams
3.1.3. Failure Modes of Forced Longitudinal Reinforcement with Mesh Transverse Reinforcement Composite Beams
3.2. Load–Deflection Curve Analysis at Midspan
3.2.1. Influences of Different Precast Shell Materials
- Before cracking, all test beams were in the elastic stage, exhibiting a linear relationship between load and displacement. The slope of the curve for specimen R-4 was slightly larger than that of specimen E-1, indicating that the initial stiffness of the ordinary RC (reinforced concrete) precast shell composite beam was greater than that of the HPFRCC precast shell composite beam. This was primarily due to the lower elastic modulus of the HPFRCC material compared to ordinary concrete.
- Before the yielding of the longitudinal reinforcement, the load–deflection curve of specimen R-4 had a greater slope compared to that of specimen E-1, indicating that the former had a higher stiffness than the latter. Because of the presence of fibers in the HPFRCC/RC composite beam in the tensile zone after cracking, compared with the RC composite beam, the HPFRCC can bear the load after cracking, and both sides of the cracked section are still pulled together by the fibers to restrain the development of the concrete crack. This indirectly improves the stiffness of the HPFRCC/RC composite beam, resulting in the stiffness of the R-4 specimen being only slightly higher than that of the E-1 specimen. Specimen E-1 had a higher yield load than specimen R-4, by 5.59%. This was attributed to the PVA fibers present in the composite beam shell, which could bear and transmit a portion of the tensile force and work in synergy with the steel reinforcement. This cooperation could delay the yielding of the tensioned longitudinal reinforcement to some extent, thus increasing the yield load of the beam.
- After the yielding of the longitudinal bars, it was observed that the deformation of specimen E-1 was significantly smaller than that of specimen R-4 under the same level of loading. Additionally, the peak load of specimen E-1 was 8.1% higher than that of specimen R-4. However, the increase in bearing capacity of specimen E-1 was not substantial compared to that of specimen R-4. Moreover, the spanwise vertical displacement of specimen E-1 was considerably smaller than that of the RC laminated beam under the same level of loading.
- Under the same longitudinal reinforcement ratio, the HPFRCC/RC composite beam exhibits a significant increase in load-bearing capacity compared to ordinary RC beams. The addition of fibers enhances the tensile performance of the beam, thereby improving its bending resistance to some extent.
- The peak load of specimen E-1 is consistently higher than that of the monolithically cast specimen Z-6. Specifically, specimen E-1 has an increased peak load and yield load, by 17.2% and 24.55%, respectively, compared to specimen Z-6. Under the same level of load, the deformation of specimen E-1 is much smaller than that of specimen Z-6, indicating that the inclusion of HPFRCC material improved the load-bearing capacity and deformation performance of the structure.
3.2.2. Analysis of Bending Performance of Composite Beams under Reversed Loading
- Under the same reverse loading conditions, specimen E-2 exhibits a significantly higher flexural load-carrying capacity compared to specimen R-5. Before the yielding of longitudinal reinforcement, due to the higher stiffness of concrete compared to HPFRCC, specimen R-5 has a steeper slope and larger gradient in the load–deflection curve. Under the same level of load, the deformation of specimen R-5 is smaller than that of specimen E-2. After the yielding of longitudinal reinforcement, specimen E-2 has a steeper slope and larger gradient in the load–deflection curve. This indicates that HPFRCC material improves the beam’s crack resistance and tensile performance.
- During reverse loading, the precast shell’s U-shaped notch is facing downward, and the HPFRCC shell is in the compressed zone. The yield load of specimen E-2 is 10.51% higher than that of specimen R-5, and the peak load is increased by 6.95%. HPFRCC material enhances the flexural load-bearing capacity and ductility of the beam.
3.2.3. Influence of Forced Longitudinal Reinforcement with Mesh Transverse Reinforcement on the Performance of Composite Beams
- By placing the longitudinal reinforcement in the form of a reinforcement mesh in the mold shell and subsequently pouring the concrete, the test beams exhibited a linear elastic stage before the yielding of the longitudinal reinforcement. Moreover, the load–deflection curves of each beam showed significant overlap, indicating the minimal influence of the reinforcement form on the mechanical properties of the beams before yielding.
- Before the yield of reinforcement, the stiffness of the beams before the yielding of the longitudinal reinforcement was higher in the case of the reinforcement mesh utilized in specimen EW-3 compared to the HPFRCC/RC laminated beam E-1 treated with direct placement of longitudinal reinforcement in the mold shell.
3.3. Moment–Curvature Curve Analysis
3.4. Load–Reinforcement Strain Curve Analysis
3.4.1. Analysis of the Performance of Composite Beams with Different Precast Shell Materials
- During the initial loading stage of the specimens, when the applied load was relatively small and the strain in the reinforcement was low, the load–reinforcement strain curves of the composite beams with different shell materials and the monolithic beams were nearly identical.
- After the specimens cracked, the concrete transferred part of the tensile force it originally carried to the reinforcement, resulting in a sudden increase in the strain of the reinforcement. This led to a decrease in the slope of the load–reinforcement strain curve compared to the first stage.
- After cracking, in the case of the conventional RC composite beam R-4, the concrete no longer contributed to the load-bearing capacity, and all the tensile forces were transferred to the reinforcement. However, due to the higher tensile strength of HPFRCC compared to ordinary concrete, the HPFRCC/RC composite beam E-1 exhibited a larger slope and higher flexural capacity in the load–reinforcement strain curve compared to the conventional RC composite beam R-4 and the integral cast-in-place RC beam Z-6. The transition to a flatter portion of the load–strain curve occurred more gradually.
- The reinforcement yielded in beam E-1 when loaded to 94.6 kN, in beam R-4 when loaded to 63.4 kN, and in beam Z-6 when loaded to 87.2 kN. The upper reinforcement experienced significant strain only after the gradual yielding of the lower longitudinal bars. Despite having the same reinforcement arrangement, the upper longitudinal bars showed a higher slope in the load–strain curve after the yield of the lower longitudinal bars due to the presence of HPFRCC.
3.4.2. Analysis of Bending Performance of Composite Beams under Reversed Loading
- During the initial loading stages of the test specimens, where the applied load was relatively small, the strain in the reinforcing bars was also small. As a result, the load–strain curves of the test beams subjected to different loading directions were nearly identical.
- However, once the test specimens cracked due to concrete cracking, a portion of the tensile force originally carried by the concrete was transferred to the reinforcing bars. This sudden increase in strain in the reinforcing bars led to a decrease in the slope of the load–strain curve compared to the first stage.
- After the occurrence of cracking in the test specimens, for composite beams with the same materials, the load–strain curve of the reinforcing bars subjected to reverse loading exhibited a larger slope, indicating a steeper curve. Before the yielding of the reinforcing bars, the load–strain curves of the HPFRCC/RC composite beam E-2 and the ordinary RC composite beam R-5 were almost identical. This suggested that the HPFRCC material did not exhibit significant performance advantages in the compressed region during the early stages.
- Reinforcement yielding occurred in beam E-2 when loaded to 133.6 kN and in beam R-5 when loaded to 140 kN. After the yielding of the reinforcement, the load–strain curve of the HPFRCC/RC composite beam E-2 showed a higher slope and stiffness compared to the ordinary RC composite beam R-5. This was because, after the occurrence of cracks, the presence of fibers in the tension zone of the HPFRCC/RC composite beam E-2 allowed the crack surfaces to remain bonded together, resulting in a lower neutral axis position and an increased height of the compressed zone compared to the ordinary RC composite beam R-5 under the same level of load. As a result, the sectional stiffness of the HPFRCC/RC beam E-2 was higher than that of the RC beam R-5.
- In the tested beams, the upper reinforcement exhibited significant strain only after the gradual yielding of the lower longitudinal reinforcement. Despite having the same reinforcement arrangement, the upper longitudinal reinforcement experienced a higher slope in the load–strain curve after the yielding of the lower reinforcement due to the presence of HPFRCC. This indicated that HPFRCC enhanced the load-carrying capacity and strain response of the upper longitudinal reinforcement after the yielding of the lower reinforcement.
3.4.3. Influence of Forced Longitudinal Reinforcement with Mesh Transverse Reinforcement on the Performance of Composite Beams
- The load–rebar strain curves of the test beams with different post-cast longitudinal reinforcement treatments were almost identical due to the small load and small reinforcement strain during the pre-load period of the specimens.
- After cracking of the HPFRCC/RC composite beam specimens, the tensile forces in the bending zone in the mid-span of the test beam are shared between the fibers and the reinforcement, and internal force redistribution occurs, causing a slight increase in the reinforcement strain, resulting in a decrease in the slope of the load–strain curve compared with that of the uncracked stage.
- When the specimens cracked, the load–strain curves of the lower longitudinal bars were almost the same due to the same reinforcement of the test beams with different posterior longitudinal treatments, and the load–strain curves tended to flatten after the bars yielded.
- After cracking of the specimen, beam EW-3 showed yielding of the reinforcement when loaded to 115.6 kN. The laminated beam EW-3, with posterior longitudinal reinforcement in the form of reinforcement mesh, had a greater slope and steeper curve in the load–strain curve of the posterior longitudinal reinforcement compared to the laminated beam E-1 without any treatment.
- The upper reinforcement exhibited significant strain only after the gradual yielding of the lower longitudinal reinforcement. Due to the presence of the rear longitudinal reinforcement in the form of steel mesh, the load–rebar strain curve of the composite beam EW-3 was steeper than that of the composite beam E-1 without any treatment of the rear longitudinal reinforcement, and the failure occurred slower.
3.5. Verification of the Assumption of Plane Sections
4. Conclusions
- Throughout the loading process until reaching the peak load, the HPFRCC/RC prefabricated monolithic composite beams exhibited bending failure with excellent ductility, characterized by the presence of multiple distributed cracks. Notably, no significant bond failure occurred before reaching the peak load, indicating the overall favorable bending performance and the joint behavior of the HPFRCC prefabricated monolithic composite beams.
- In comparison to conventional integral cast-in-place RC beams, the HPFRCC/RC prefabricated monolithic composite beams demonstrated a considerable increase of 17.2% and 24.55% in peak load and yield load, respectively. Moreover, when compared to standard RC prefabricated monolithic composite beams, the HPFRCC/RC prefabricated monolithic composite beams exhibited enhancements of 8.1% and 5.59% in peak load and yield load, respectively.
- In contrast to integral cast-in-place RC beams and RC prefabricated monolithic composite beams, the HPFRCC/RC prefabricated monolithic composite beams exhibited denser and narrower cracks, with slower crack propagation rates and reduced crack widths. These characteristics demonstrate the potential of HPFRCC materials to enhance the damage resistance of structural components. Furthermore, the use of HPFRCC formwork enables its application as factory prefabricated components in prefabricated structures.
- The load–strain curves of the reinforcing bars showed that the presence of PVA fibers in the HPFRCC material contributed to a reduction in strain growth, resulting in improved tensile properties and enhanced crack bridging capability. This led to a higher yield point of the reinforcement and a potential reduction in the required amount of longitudinal tensile reinforcement.
- Due to the different loading directions, the U-shaped shell bottom plate experienced compression. The increase in the reinforcement ratio in the compression and tension zones, along with the addition of fibers and the increased effective height of the cross-section under positive loading, significantly enhanced the bending capacity of the tested beams.
Author Contributions
Funding
Data Availability Statement
Acknowledgments
Conflicts of Interest
References
- Yuan, F.; Hu, R. Experimental study on the flexural behavior of ECC and ECC-concrete composite beams hybrid reinforced with steel and FRP bars. Concrete 2022, 77, 66–71. (In Chinese) [Google Scholar]
- Shi, F.W.; Sun, C.H.; Liu, X.G.; Wang, H.; Zong, L. Flexural behavior of prefabricated composite beam with cast-in-situ UHPC: Experimental and numerical studies. Structures 2022, 45, 670–684. [Google Scholar] [CrossRef]
- D’ambrisi, A.; Focacci, F. Flexural Strengthening of RC Beams with Cement-Based Composites. J. Compos. Constr. 2011, 15, 707–720. [Google Scholar] [CrossRef]
- Calabrese, A.S.; D’Antino, T.; Colombi, P.; Carloni, C.; Poggi, C. Fatigue Behavior of PBO FRCM Composite Applied to Concrete Substrate. Materials 2020, 13, 2368. [Google Scholar] [CrossRef] [PubMed]
- Calabrese, A.S.; D’antino, T.; Colombi, P.; Carloni, C.; Poggi, C. Fatigue Behavior of FRCM Strengthened RC Beams: State of the Art and Future Developments. In Proceedings of the 10th International Conference on FRP Composites in Civil Engineering, Istanbul, Turkey, 8–10 December 2021; pp. 201–212. [Google Scholar] [CrossRef]
- Calabrese, A.S.; D’antino, T.; Colombi, P.; Poggi, C. Study of the Bond Behavior of FRCM-Masonry Joints Using a Modified Beam Test. In Proceedings of the XXIV AIMETA Conference, Rome, Italy, 15–19 September 2019; pp. 455–471. [Google Scholar] [CrossRef]
- Calabrese, A.S.; D’antino, T.; Colombi, P.; Poggi, C. Study of the influence of interface normal stresses on the bond behavior of FRCM composites using direct shear and modified beam tests. Constr. Build. Mater. 2020, 262, 120029. [Google Scholar] [CrossRef]
- Calabrese, A.S.; D’antino, T.; Colombi, P. Experimental and analytical investigation of PBO FRCM-concrete bond behavior using direct and indirect shear test set-ups. Compos. Struct. 2021, 267, 113672. [Google Scholar] [CrossRef]
- Li, V.C.; Wang, S.X.; Wu, C. Tensile Strain-Hardening Behavior of Polyvinyl Alcohol Engineered Cementitious Composite (PVA-ECC). Mater. J. 2001, 98, 483–492. [Google Scholar] [CrossRef]
- Sirijaroonchai, K.; El-Tawil, S.; Parra-Montesinos, G. Behavior of high performance fiber reinforced cement composites under multi-axial compressive loading. Cem. Concr. Compos. 2010, 32, 62–72. [Google Scholar] [CrossRef]
- Siva, C.R.; Pankaj, A. Flexural behavior of reinforced concrete beams with high performance fiber reinforced cementitious composites. J. Cent. South Univ. 2019, 26, 2609–2622. [Google Scholar] [CrossRef]
- Nguyen, D.L.; Thai, D.K.; Nguyen, H.T.T.; Nguyen, T.Q.; Le-Trung, K. Responses of composite beams with high-performance fiber-reinforced concrete. Constr. Build. Mater. 2021, 270, 121814. [Google Scholar] [CrossRef]
- Tang, W.H.; He, X.X. Effect of engineered cementitious composite superimposed layer on flexural behavior of beams. Build. Struct. 2022, 52, 6. (In Chinese) [Google Scholar]
- Zhang, R.; Hu, P.; Zheng, X.H.; Cai, L.H.; Guo, R.; Wei, D.B. Shear behavior of RC slender beams without stirrups by using precast U-shaped ECC permanent formwork. Constr. Build. Mater. 2020, 260, 120430. [Google Scholar] [CrossRef]
- Liang, X.W.; Wang, P.; Xu, M.X.; Yu, J.; Li, L. Flexural behavior and capacity analysis of rc beams with permanent uhpc formwork. Eng. Mech. 2019, 36, 95–107. (In Chinese) [Google Scholar]
- Hu, Z.H.; Zhou, Y.W.; Hu, B.; Huang, X.X.; Guo, M.H. Local use of ECC to simultaneously enhance the shear strength and deformability of RC beams. Constr. Build. Mater. 2022, 353, 129085. [Google Scholar] [CrossRef]
- JC/T 2461-2018; Standard Test Method for the Mechanical Properties of Ductile Fiber Reinforced Cementitious Composites. Ministry of Industry and Information Technology of the People’s Republic of China: Beijing, China, 2018. (In Chinese)
” refers to the grade of HPB300 reinforcement in the Chinese standard, and the symbol “
” refers to the grade of HRB400 reinforcement.).
” refers to the grade of HPB300 reinforcement in the Chinese standard, and the symbol “
” refers to the grade of HRB400 reinforcement.).













| Beam Number | Does It Contain Formwork | Loading Direction | Formwork Material | Beam Longitudinal Reinforcement | Longitudinal Reinforcement Ratio/% | Stirrup | |
|---|---|---|---|---|---|---|---|
| Upper Longitudinal Reinforcement | Lower Longitudinal Reinforcement | ||||||
| E-1 | Yes | Forward | HPFRCC | 2 16 | 4 10/3 12 | 1.21 | 6@70 |
| E-2 | Yes | Reverse | HPFRCC | 3 12 | 4 10/3 16 | 1.46 | 6@70 |
| EW-3 | Yes | Forward | HPFRCC | 2 16 | 4 10/3 12 | 1.21 | 6@70 |
| R-4 | Yes | Forward | RC | 2 16 | 4 10/3 12 | 1.21 | 6@70 |
| R-5 | Yes | Reverse | RC | 3 12 | 4 10/3 16 | 1.46 | 6@70 |
| Z-6 | No | Forward | RC | 2 16 | 3 14 | 1.11 | 6@70 |
” refers to the grade of HPB300 reinforcement in the Chinese standard, and the symbol “
” refers to the grade of HRB400 reinforcement.| Material | Mix Proportion/(kg/m3) |
|---|---|
| cement | 659.71 |
| fly ash | 659.71 |
| water | 445.0 |
| quartz sand | 480.59 |
| water reducer | 16.00 |
| fiber | 26.00 |
| Length/mm | Diameter/μm | Tensile Strength/Mpa | Elastic Modulus/GPa | Elongation/% |
|---|---|---|---|---|
| 12 | 40 | 1560 | 41 | 6.5 |
| Material | HPFRCC | Plain Concrete |
|---|---|---|
| Cubic compressive strength/MPa | 50.9 | 49.3 |
| Axial compressive strength/MPa | 40.2 | 38.2 |
| Beam Number | Cracking Load/kN | Yield Load/kN | Yield Deflection/mm | Mid–Span Displacement 55 mm Peak Load/kN |
|---|---|---|---|---|
| E-1 | 18.0 | 219.2 | 11.30 | 256.6 |
| E-2 | 18.0 | 239.8 | 14.34 | 295.6 |
| EW-3 | 17.6 | 208.3 | 10.56 | 249.4 |
| R-4 | 28.2 | 207.6 | 11.22 | 237.4 |
| R-5 | 18.0 | 217.0 | 9.14 | 276.4 |
| Z-6 | 30.0 | 176.0 | 9.95 | 219.0 |
Disclaimer/Publisher’s Note: The statements, opinions and data contained in all publications are solely those of the individual author(s) and contributor(s) and not of MDPI and/or the editor(s). MDPI and/or the editor(s) disclaim responsibility for any injury to people or property resulting from any ideas, methods, instructions or products referred to in the content. |
© 2023 by the authors. Licensee MDPI, Basel, Switzerland. This article is an open access article distributed under the terms and conditions of the Creative Commons Attribution (CC BY) license (https://creativecommons.org/licenses/by/4.0/).
Share and Cite
Lu, T.; Guan, K.; Jin, H. Experimental Study on Bending Performance of High-Performance Fiber-Reinforced Cement Composite Prefabricated Monolithic Composite Beams. Buildings 2023, 13, 1744. https://doi.org/10.3390/buildings13071744
Lu T, Guan K, Jin H. Experimental Study on Bending Performance of High-Performance Fiber-Reinforced Cement Composite Prefabricated Monolithic Composite Beams. Buildings. 2023; 13(7):1744. https://doi.org/10.3390/buildings13071744
Chicago/Turabian StyleLu, Tingting, Kai Guan, and Haowei Jin. 2023. "Experimental Study on Bending Performance of High-Performance Fiber-Reinforced Cement Composite Prefabricated Monolithic Composite Beams" Buildings 13, no. 7: 1744. https://doi.org/10.3390/buildings13071744
APA StyleLu, T., Guan, K., & Jin, H. (2023). Experimental Study on Bending Performance of High-Performance Fiber-Reinforced Cement Composite Prefabricated Monolithic Composite Beams. Buildings, 13(7), 1744. https://doi.org/10.3390/buildings13071744

