Energy-Saving Design and Energy Consumption Analysis of a New Vacuum Refrigerator
Abstract
:1. Introduction
2. Energy Consumption of Refrigeration System of Vacuum Refrigerator
3. A Novel Energy-Saving Device of Vacuum Refrigerator
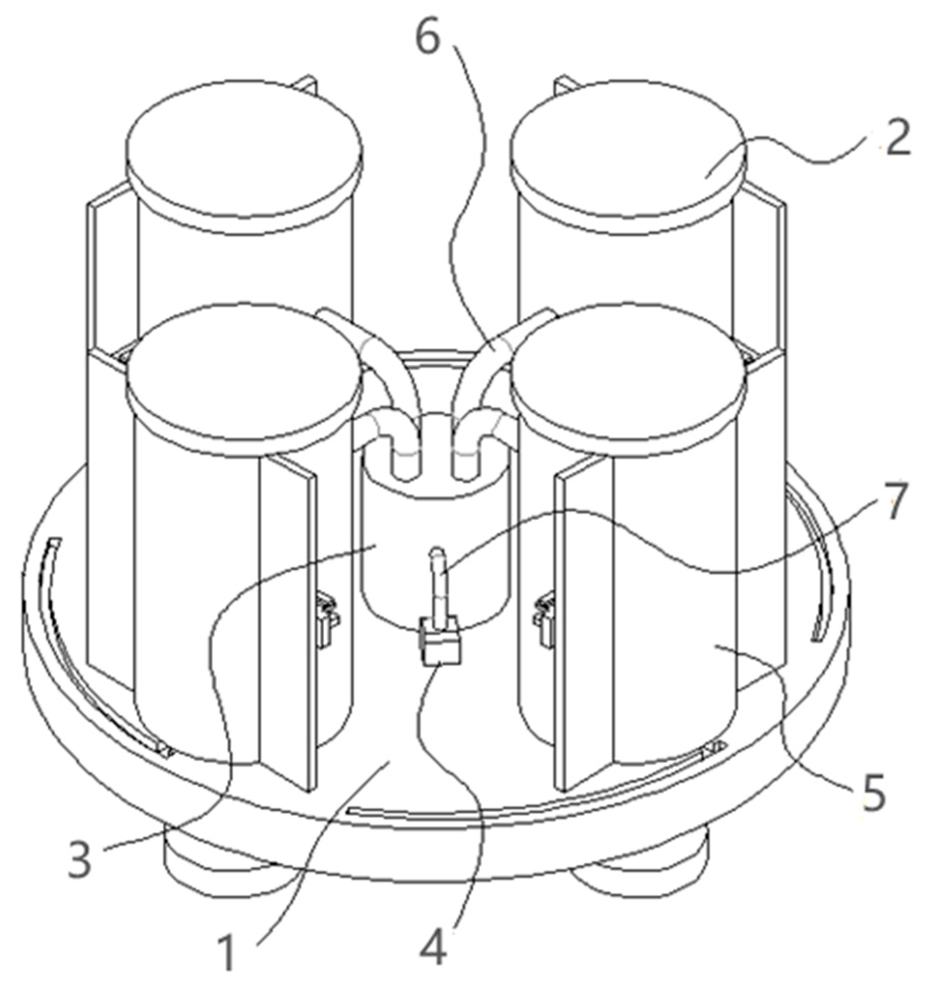
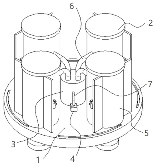
3.1. Composition of Energy-Saving Device
3.2. Connection Mode of Energy-Saving Device Components
3.3. Specific Embodiments of Energy-Saving Devices
3.4. Working Principle of Energy-Saving Device
4. Simulation Design of Energy Saving Device
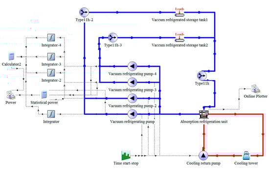
4.1. Simulation Modeling of Energy-Saving Device of Vacuum Freezer
4.2. Simulation Parameter Setting
4.3. Selection of Simulation Module
4.4. Simulation Running Results
- 1.
- According to the simulation Scheme 1 of TRNSYS 16 software, when the rated power of a vacuum refrigeration pump is 15 kW, it can be concluded that the annual cumulative energy consumption of a group of absorption refrigeration units corresponding to a single vacuum refrigeration pump is 54,750 kWh, as shown in Figure 9. At the same time, it can be concluded that the annual refrigerating capacity of a single vacuum refrigeration pump is 32,400 kW, as shown in Figure 10.
- 2.
- According to the simulation Scheme 2 of TRNSYS 16 software, when the rated power of one vacuum refrigeration pump is 15 kW, that is, the total power of the four vacuum refrigeration pumps is 60 kW, it can be concluded that the annual cumulative energy consumption of a group of absorption refrigeration units corresponding to the four vacuum refrigeration pumps is 219,000 kWh, as shown in Figure 11. At the same time, it can be concluded that the annual refrigerating capacity of several vacuum refrigeration pumps is 64,800 kW, as shown in Figure 12.
- 3.
- According to the simulation Scheme 3 of TRNSYS 16 software, when the rated power of a vacuum refrigeration pump is 15 kW, it can be concluded that the annual cumulative energy consumption of two groups of absorption refrigeration units corresponding to a single vacuum refrigeration pump is 54,750 kWh, as shown in Figure 13. At the same time, it can also be concluded that the annual refrigeration capacity of a single vacuum refrigeration pump is 64,800 kW, and its refrigeration capacity is the sum of refrigeration capacity 1 and refrigeration capacity 2, as shown in Figure 14.
- 4.
- According to the simulation Scheme 4 of TRNSYS 16 software, when the rated power of one vacuum refrigeration pump is 15 kW, that is, when the total power of the two vacuum refrigeration pumps is 30 kW, it can be concluded that the annual cumulative energy consumption of a group of absorption refrigeration units corresponding to the two vacuum refrigeration pumps is 109,500 kWh, as shown in Figure 15. At the same time, it can be concluded that the annual refrigerating capacity of several vacuum refrigeration pumps is 64,800 kW, as shown in Figure 16.
4.5. Analogue Data Analysis
5. Discussions
- According to the simulation of the whole-year operation of the energy-saving device of the vacuum refrigerator by TRNSYS 16 software, it can be seen from the simulated data that compared with the original existing technology, when the rated power is 15 kW, the energy consumption accumulated by a single vacuum refrigeration pump in the whole year is the same as that accumulated by each vacuum refrigeration pump averaged by a number of vacuum refrigeration pumps, which is 54,750 kWh. However, the refrigerating capacity of a single vacuum refrigeration pump is 50% higher than the average refrigerating capacity of each vacuum refrigeration pump, which is 32,400 kW. Therefore, the vacuum freezer avoids the waste of energy taste and can achieve the effect of saving energy and reducing consumption.
- Comparing the third scheme with the first scheme, it can be seen that when a single vacuum refrigeration pump corresponds to two refrigeration units, the refrigeration capacity provided is 64,800 kW, and cold air is provided for four vacuum refrigeration tanks. For comparison, Scheme 1 of two groups need two vacuum refrigeration pumps to supply cold air to four vacuum refrigeration tanks. It can be seen from the comparison between Scheme 1 and Scheme 3 that only one vacuum refrigeration pump is needed in Scheme 3 to supply refrigeration to four vacuum refrigeration storage tanks, which effectively reduces the use of vacuum refrigeration pumps and greatly reduces the energy consumption in operation.
- Comparing Scheme 4 with Scheme 2, in Scheme 4, only two vacuum refrigeration pumps are needed, which can provide refrigeration for four vacuum refrigeration storage tanks under the condition of reaching the same refrigeration capacity of 64,800 kW. So it can be seen that in Scheme 2, two of the four vacuum refrigeration pumps operating all year round are in a no-load state, which undoubtedly increases the operation energy consumption and working cost. However, there is also a problem in Scheme 4 that the average distribution of refrigeration capacity of each vacuum freezing storage tank is not as much as that in Scheme 2, which may result in the technological requirements of frozen materials not being able to be met. Therefore, the relationship between advantages and disadvantages in Scheme 4 still needs to be judged separately.
- In today’s technology, each vacuum refrigerator, i.e., vacuum refrigeration storage tank, has a separate refrigeration system. However, when multiple vacuum refrigeration storage tanks are required for production at the same time, multiple refrigeration systems need to be independently connected with multiple vacuum refrigeration pumps to transport chilled water to achieve the purpose of refrigeration. In this way, increasing the use of multiple refrigeration pumps will lead to high energy consumption. The refrigeration capacity of the system is provided by the chilled water of the absorption refrigeration unit, and the vacuum refrigeration pump is used to transport the chilled water to the vacuum refrigeration storage tank. Compared with Scheme 1 and Scheme 3, although Scheme 3 can meet the premise of reducing energy consumption with one vacuum refrigeration pump, the refrigeration capacity provided is twice that of Scheme 1. However, there is the question as to whether increasing the use of pumps will really affect the cooling capacity. According to Schemes 1, 2, and 4, it is not that increasing the number of vacuum refrigeration pumps can affect the rate of conveying chilled water and improve the refrigeration capacity. On the contrary, it may make the transportation speed of chilled water too fast and affect the heat exchange with the materials in the vacuum refrigeration storage tank. The contact time is too short, resulting in poor refrigeration effect, futile increase in the number of refrigeration pumps and increased energy consumption.
6. Conclusions
- Compared with the prior art, the energy-saving device can realize the refrigeration of a number of vacuum freezers at the same time with only one vacuum refrigeration pump, thereby greatly reducing the use of the vacuum refrigeration pump, greatly reducing the energy consumption and meeting the environmental protection concept of energy conservation and emission reduction.
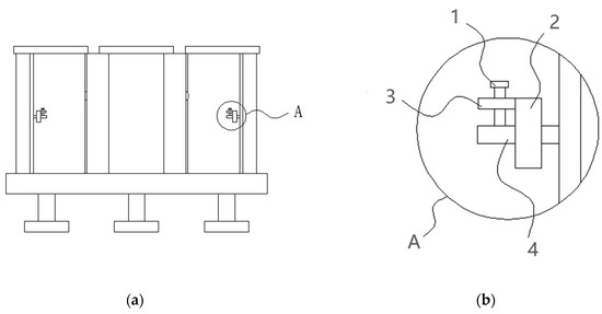
- According to the device, the sealing door can slide along the circumferential chute and the radial chute through the design of the circumferential chute, the radial chute, the sealing door, the second limiting hole, the first limiting hole and the limiting clamping strip, so that the flexible movement of the sealing door on the base is realized, the occupied space of the sealing door is greatly reduced and the utilization rate of space is greatly improved.
- Compared with conventional devices, the energy-saving device has remarkable energy-saving effect and can save energy and reduce consumption and refrigeration operation cost by reducing the use of vacuum refrigeration pumps put into operation.
- The limitation of this work is that it is currently in the stage of simulation theory experiment. At present, there are few relevant studies on reducing energy consumption by driving multiple vacuum refrigeration storage tanks by a single vacuum refrigeration pump. The simulation content of this paper may have some deviation in the actual situation, and the results need to be verified through further research, analysis and practice.
Author Contributions
Funding
Institutional Review Board Statement
Informed Consent Statement
Data Availability Statement
Conflicts of Interest
References
- Xi Jinping’s Special Speech at the World Economic Forum’s Davos Agenda Dialogue. Available online: Https://baijiahao.baidu.com/s?id=1689862031132475454&wfr=spider&for=pc (accessed on 25 January 2021).
- Huang, J.; Jiao, F. Research on the coupling relationship between energy consumption and carbon emission in view of high-quality development of economy. Ecol. Econ. 2021, 37, 22–27+34. [Google Scholar]
- BP Statistical Review of World Energy; BP: London, UK, 2020.
- Hu, X. Energy Management; Aerospace Press: Beijing, China, 1993; pp. 6–8. [Google Scholar]
- Wu, Y. Energy-the motive force of human society’s production and life. Econ. Geogr. 1983, 1, 72–76. [Google Scholar]
- Du, M.; Chen, J. Validation method of vacuum freeze dryer. Metrol. Meas. Technol. 2018, 45, 51–53. [Google Scholar]
- Ren, H. Vacuum freeze drying technology and its application in the field of traditional Chinese medicine. Mech. Electr. Inf. 2016, 4, 12–21. [Google Scholar]
- Zhou, Z.; Guo, Y.; Lin, Y. Energy-saving evaluation of a solar integrated vacuum freeze-dryer and building air conditioning system. Energy Explor. Exploit. 2021, 39, 608–619. [Google Scholar] [CrossRef] [Green Version]
- Zhang, S.; Luo, J.; Chen, G.; Wang, Q. Thermodynamic analysis of a freeze-dryer utilizing hygroscopic solution. Dry. Technol. 2018, 36, 697–708. [Google Scholar]
- Liu, Y.; Zhao, Y.; Feng, X. Exergy analysis for a freeze-drying process. Appl. Therm. Eng. 2007, 28, 675–690. [Google Scholar] [CrossRef]
- Luo, N.; Shu, H. Analysis of Energy Saving during Food Freeze Drying. Procedia Eng. 2017, 205, 3763–3768. [Google Scholar] [CrossRef]
- Rahman, S.M.A.; Saidur, R. A novel atmospheric freeze dryer using simultaneous application of subzero and hot air streams using a vortex chiller. Dry. Technol. 2016, 34, 1406–1413. [Google Scholar] [CrossRef]
- Han, H. Energy Consumption Analysis and Energy Saving Technology Research of Vacuum Refrigeration Equipment. Chin. J. Refrig. Technol. 1994, 4, 16–21. [Google Scholar]
- Yan, G.; Liu, Y.; Qian, S.; Yu, J. Theoretical study on a vapor compression refrigeration system with cold storage for freezer applications. Appl. Therm. Eng. 2019, 160, 114091. [Google Scholar] [CrossRef]
- Ana, G.R.G.; Pieter, J.V.B.; Steven, D.M.; Thomas, D.B.; Jos, C.; Jo, D. Analysis of a pharmaceutical batch freeze dryer: Resource consumption, hotspots, and factors for potential improvement. Dry. Technol. 2019, 37, 1563–1582. [Google Scholar]
- Wang, J.; Wang, W.; Ren, X.; Jia, Y. Exergy analysis of the vapor compression refrigeration. J. Hebei Univ. Eng. Nat. Sci. Ed. 2008, 4, 71–73+80. [Google Scholar]
- Ma, L. Design and structural optimization of sealing trolley in liquid batching line. Wuhan Polytech. Univ. 2018. [Google Scholar]
- Yuan, Y. Study on energy saving of vacuum cooling device. Mech. Electr. Equip. 2008, 4, 23–26+31. [Google Scholar]
- He, T.; Chen, P. Analysis and treatment of common faults in refrigeration system of freeze dryer. Mech. Electr. Inf. 2021, 9, 20–21. [Google Scholar]
- Wang, J. Analysis of common problems in refrigeration system of freeze dryer. Sci. Techno. Vis. 2014, 4, 91. [Google Scholar]
- Bai, X.; Sun, C.; Guo, L.; Wang, H. Tests and analysis on energy consumption of heating ventilating and air-conditioning systems in commercial buildings. J. Chongqing Univ. 2008, 6, 637–641. [Google Scholar]
- Xie, Z.; Gong, Y.; Ye, C.; Yao, Y.; Liu, Y. Numerical Analysis and Optimization of Solar-Assited Heat Pump Drying System with Waste Heat Recovery Based on TRNSYS. Processes 2021, 9, 1118. [Google Scholar] [CrossRef]
















Publisher’s Note: MDPI stays neutral with regard to jurisdictional claims in published maps and institutional affiliations. |
© 2022 by the authors. Licensee MDPI, Basel, Switzerland. This article is an open access article distributed under the terms and conditions of the Creative Commons Attribution (CC BY) license (https://creativecommons.org/licenses/by/4.0/).
Share and Cite
Zhang, N.; Guo, Y.; Yuan, W.; Lin, Y. Energy-Saving Design and Energy Consumption Analysis of a New Vacuum Refrigerator. Buildings 2022, 12, 203. https://doi.org/10.3390/buildings12020203
Zhang N, Guo Y, Yuan W, Lin Y. Energy-Saving Design and Energy Consumption Analysis of a New Vacuum Refrigerator. Buildings. 2022; 12(2):203. https://doi.org/10.3390/buildings12020203
Chicago/Turabian StyleZhang, Nuonan, Yun Guo, Weijian Yuan, and Yaolin Lin. 2022. "Energy-Saving Design and Energy Consumption Analysis of a New Vacuum Refrigerator" Buildings 12, no. 2: 203. https://doi.org/10.3390/buildings12020203
APA StyleZhang, N., Guo, Y., Yuan, W., & Lin, Y. (2022). Energy-Saving Design and Energy Consumption Analysis of a New Vacuum Refrigerator. Buildings, 12(2), 203. https://doi.org/10.3390/buildings12020203

