Next Article in Journal
Experimental Study on Bismuth Removal from Lead with Auxiliary Calcium Magnesium
Next Article in Special Issue
Numerical Simulation of the Hot Isostatic Pressing Densification Behavior of Ti6Al4V Powder for a Thin-Walled Tubular Component with Non-Axisymmetric Inner Ribs
Previous Article in Journal
Selection of Trajectories to Improve Thermal Fields During the Electric Arc Welding Process Using Hybrid Model CFD-FNN
Previous Article in Special Issue
Aluminum and Inorganic Natural Pigment Colored Composites by Powder Metallurgy Forming
 
 
Font Type:
Arial Georgia Verdana
Font Size:
Aa Aa Aa
Line Spacing:
Column Width:
Background:
Article

Magnetic Pulse Powder Compaction

1
Faculty of Civil and Mechanical Engineering, Riga Technical University, 6B Kipsalas Str., LV-1048 Riga, Latvia
2
Faculty Automotive and Mechanical Engineering, University of Applied Science Zwickau, Äußere Schneeberger Str. 17, 08056 Zwickau, Germany
*
Author to whom correspondence should be addressed.
Metals 2025, 15(2), 155; https://doi.org/10.3390/met15020155
Submission received: 15 October 2024 / Revised: 7 January 2025 / Accepted: 24 January 2025 / Published: 4 February 2025
(This article belongs to the Special Issue Powder Metallurgy of Metallic Materials)

Abstract

Powder metallurgy (PM) offers several advantages over conventional melt metallurgy, including improved homogeneity, fine grain size, and pseudo-alloying capabilities. Transitioning from conventional methods to PM can result in significant enhancements in material properties and production efficiency by eliminating unnecessary process steps. Dynamic compaction techniques, such as impulse and explosive compaction, aim to achieve higher powder density without requiring sintering, further improving PM efficiency. Among these techniques, magnetic pulse compaction (MPC) has gained notable interest due to its unique process mechanics and distinct advantages. MPC utilizes the rapid discharge of energy stored in capacitors to generate a pulsed electromagnetic field, which accelerates a tool to compress the powder. This high-speed process is particularly well-suited for compacting complex geometries and finds extensive application in industries such as powder metallurgy, welding, die forging, and advanced material manufacturing. This paper provides an overview of recent advancements and applications of MPC technology, highlighting its capabilities and potential for broader integration into modern manufacturing processes.

1. Introduction

Powder metal materials (PMM) offer numerous advantages due to their manufacturing process, including homogeneity, fine grain structure, and pseudo-alloying capabilities. The shift from conventional metallurgy to powder metallurgy has significantly improved material properties while providing remarkable cost savings by eliminating traditionally necessary process steps [1]. Dynamic compaction processes primarily aim to achieve higher powder density than conventional compaction methods (without sintering) [2]. Impulse compaction refers to powder compaction under pulse loads [3].
Explosive compaction exemplifies this process [4]. In this method, a pressure wave is generated by detonating explosives directly on the powder. The powder can be compacted through three approaches: direct explosive compaction on active tool elements accelerated by the explosion energy, indirect compaction using an explosive-powered hammer, or indirect hydrodynamic explosive compression employing a liquid pressure transmission medium. The compaction outcomes depend on several factors, including powder properties (chemical composition, particle fracture, bulk density), driver unit specifications (material and dimensions), explosive characteristics (type and mass), and the technological setup. Explosive compaction achieves sintered densities of 70–95%, with certain conditions enabling nearly 100% density—1.5 to 1.8 times higher than those achieved through static pressing methods [2].
Explosive compression generates substantially higher pressures than alternative compression methods, reaching up to 5000 MPa compared to approximately 1500 MPa with isostatic compaction. This intense pressure enables particle smashing, plastic deformations in fine material construction, phase transformations, chemical reactions, thermal dissociations, and enhanced sintering activation, allowing the actual sintering process to occur at lower temperatures.
The relationship between the relative density of the compacted powder by different compression processes depends on the used energy [5,6].
An example of impulse compaction is explosive compaction, where a pressure wave is generated by detonating explosives directly on the powder. In direct explosive compaction, this pressure wave accelerates active tool elements, which compress the powder under the explosion’s energy. In indirect methods, such as compaction using an explosive-powered hammer or hydrodynamic explosive compression, either the hammer strikes the powder, or a liquid transmission medium is used to apply pressure to compact the powder. The success of compaction is influenced by various factors, including the chemical composition of the powder, particle fracture characteristics, bulk density, the material and dimensions of the driver unit, the type and mass of explosives used, and the specific technological arrangement. With explosive compaction, sintered densities of 70% to 95% have been achieved, and under optimal conditions, near full densities (close to 100%) can be realized—up to 1.5 to 1.8 times higher than those achieved with static pressing [2].
Explosive compaction technology produces unique hard alloys from refractory metal carbides—combinations impossible through traditional methods. However, its applications remain limited, primarily serving to create large powder blanks that need mechanical processing afterwards. The process demands strict safety protocols [7].
The explosive compaction technique achieves a considerably higher pressure compared to conventional powder metallurgy. The method of explosive compaction of mixtures of silicon carbide powders with titanium provides material consolidation and deposition on the surface of a metal substrate [8].
This study of explosive compaction using shock waves generated by high-energy load from emulsion explosives to improve the hardness of aluminum 6061 provides insights for further research on the mechanical properties of materials and the potential of explosive compaction for enhancing other mechanical properties of materials. The average micro-hardness values of the specimens were also found to be significantly improved [9].
Dynamic methods include direct powder forging (DPF) [10,11], which offers the potential to overcome the limitations of traditional casting and PM processes. Olsson et al. [12] introduced this technology in the 1970s to consolidate tool steel powder into bar stock without using isostatic compaction. They achieved full density by forging and rolling a filled and sealed canister and used titanium as an oxygen getter to prevent oxidation. Direct powder forging is a near-net-shape manufacturing process that combines powder metallurgy with forging techniques. In this method, metal powders are directly consolidated and shaped into the final component through a single-step forging operation. This approach bypasses several intermediate steps typically required in traditional powder metallurgy or casting processes, leading to significant cost and time savings. Implementing direct powder forging for TiAl alloys represents a substantial advancement in manufacturing technology [13].
Scientists are exploring alternative pulsed energy sources, such as impact energy from accelerated solid bodies, electrical discharge, and electromagnetic fields. Among these approaches, powder forging has demonstrated notable success in consolidating pre-sintered powder blanks [11,14]. The main types of dynamic compaction processes of powdered materials are shown in Figure 1.
Current research in the field strongly emphasizes the development and implementation of combined pulsed compaction technologies, which represent a significant advancement in materials processing methods. These innovative approaches, as documented in multiple recent studies [10,15,16], demonstrate promising results in improving material properties and processing efficiency.
Additive Manufacturing (AM) methods have recently emerged as a promising alternative to traditional powder metallurgy processes [17]. While AM offers significant advantages in material efficiency and processing flexibility [18], its adoption in the powder metallurgy industry remains limited. This presents both challenges and opportunities for researchers and engineers to explore the integration of AM techniques into existing powder metallurgy workflows.

2. Magnetic Pulse Powder Compaction Method in Powder Metallurgy

Magnetic pulse powder compaction (MPC) is a technique in powder metallurgy that employs the application of high-intensity magnetic pulses to consolidate powdered materials into dense and complex shapes. This method offers several advantages over conventional powder compaction techniques, making it a promising avenue for advancements in materials science and manufacturing.
The MPC method (Figure 2) is based on the principle of electromagnetic induction. When a high-intensity magnetic pulse is applied to a conductive powder, it induces eddy currents within the powder particles. These eddy currents, in turn, create repulsive forces between the particles, resulting in their rapid and forceful compaction. The magnetic pulse is typically generated by discharging a high-energy capacitor bank through a coil surrounding the powder mold. The duration of the pulse is typically in the microsecond range. The electromagnetism is generated by a capacitor and discharged by coils, which enclose or are enclosed by an electrically conductive material and placed directly on the powder to be compacted using a shell [19,20]. An active tool element, accelerated by the magnetic force, can compress the powder by pressing it [5,21,22].
The advantages of MPC over conventional compaction methods, such as pressing and sintering, are numerous. First, the high-energy pulses can generate significantly higher pressures compared to conventional methods, leading to higher densities and improved mechanical properties in the final product. Second, MPPC allows for the compaction of complex shapes that are difficult to achieve with traditional techniques, as the magnetic field can penetrate the powder bed and compact it uniformly without the need for mechanical tooling. Third, the process is relatively fast and can be automated, making it suitable for large-scale production [23,24,25,26,27,28].
Figure 2 shows the methods of magnetic pulse processing in powder metallurgy: pressing, powder coatings, assembly of the powder parts, moving and conveying of the powder materials, and combinations of these methods with other technologies. The method of magnetic pulse processing (MPP) is based on the use of electric power stored in storage capacitors or other kinds of capacitors accumulating energy in the range from 1 to 100 kJ. Its discharge to the coil (working tool) produces a short pulsed electro-magnetic field (PEMF) of 50–200 A/m at the discharge frequency of 20–250 kHz [5,23,29,30,31].
One of the first reports about the application of PEMF for the compaction of powder materials was published by D. Sandstrom in the USA [32]. Following that, similar reports have been published in Germany [20,29,33,34] and the SU [19,21,35,36,37]. These papers describe an electrodynamic powder compaction technique, where torques arise due to the repulsive force of parallel plates or tubular jackets while the pulsed reverse discharge currents move through them [38]. This technique failed to develop due to relatively low process efficiency. In the 1980s, a range of new papers on the research in magnetic pulse compaction (MPC) of powders [25,33,35,36,39,40] were published. It was forced by the rapid development of powder metallurgy and the increased interest researchers had in all pulsed processes at that time. The powder compaction methods such as compaction in the shell and magnetic hammering have been developed most actively [19,25,33,40,41,42].
In recent years, the interest in the application of PEMF in powder metallurgy has grown, owing to the achievements in the field of welding [27,31,34,43,44], assemblage operations, and die forging of thin-walled metal sheets [27,38,45] and tubular parts [31,46,47,48]. Examples include the manufacturing of press-molded matrices for molding plastics and powder compaction [39,49,50,51,52], electrodes for electro-erosion treatment [53], and powder filters for vacuum metallization, bimetallic worm gear wheels, etc. [54,55,56,57]. Significant progress has already been made in creating non-detachable joints for components [27,48], and these advancements could be extended to assembling powdered parts.
Fast and low-cost manufacturing of parts for small batch production with a ratio of length to diameter >2.5 is one of the main benefits of MPC. It is crucial to apply pulsed magnetic fields to specific powder material treatment techniques, which differ from the ordinary compaction of nanopowders in particular, as well as the possibilities to extend the integration of MPC with other process technologies [58,59]. The development of MPC technologies has had a significant impact on the elaboration and production of gamma pulse generators by several companies in Germany, the USA and SU [25,31,41,52,60,61], and other countries.
Interest in magnetic pulse compaction (MPC) is growing due to advancements and improvements in the process itself, as well as in related industrial fields. This primarily includes enhancing the efficiency of pulse current generators [26,27,51,61], which are the key components of the equipment, and improving the reliability of coil systems [23,24,41,46]. For example, studies [23,27] have demonstrated that the coil–coil design is a critical part of electromagnetic forming technology. These studies discuss various coil failure modes and propose measures to prevent them [23,27].
Traditional electromagnetic drives typically use coils with spiral configurations, which create uneven pressure distribution. This limits the types of parts that can be formed and reduces their quality. In electromagnetic stamping, however, a new type of electromagnetic drive has been developed. This innovation enables the uniform and efficient acceleration of conductive metallic elements to speeds of approximately 200 m/s [23,61]. This method could also be effectively applied to powder compaction, as well as to accelerating and transporting powders in an electromagnetic field.
The use of combined methods, which integrate dynamic and static loading, shows great promise [27,28,62,63]. For manufacturing long powdered components, the MPC method offers significant potential due to its ability to enable step-by-step processing [31,42,48,64]. In traditional manufacturing, these components are produced by extrusion molding, which involves pressing powder mixed with a plasticizer through a die, followed by pre-sintering to remove the plasticizer. The high pressure achieved with MPC eliminates the need for this additional step. The development of MPC is further supported by modern mathematical modelling methods for optimizing process parameters [41,42,50,65,66]. Mathematical modelling also proves highly effective in optimizing and accelerating processes involving pulsed electromagnetic fields [67].
It is also worth noting that MPC is being increasingly applied to emerging fields, such as the densification of nanomaterials [66,68], and influencing liquid metals before powder atomization [65,66], among others.
This paper provides an overview of the state-of-the-art in MPC applications and capabilities.

3. Types of Magnetic Pulse Compaction of Powder Materials

All powder materials, including metal powders, have low electrical conductivity in their bulk state. In these materials, the current is induced by a very small magnetic flow in each powder particle. Due to high electrical resistance between particles, the current loops within each particle, causing slight volume compression without reciprocal particle deflection. This makes direct compaction of bulk powder materials practically impossible. To achieve the required product shape and sufficient powder compression pressures, special technological cases are used in magnetic pulse compaction (MPC)—either containers made of highly conductive materials (copper, aluminum) or punches with conductive surfaces facing the coil [19,23,31,37,57].
MPC techniques can be classified by these basic technological and electro-physical parameters:
  • Type of electromagnetic interactions: inductive and electrodynamic.
  • Direction of pressure application: unilateral, bilateral, or stepwise.
  • Part shapes: simple cylindrical parts (solid and hollow), axisymmetric parts with complex geometry, and plates.
  • Mutual bracing of press mold and coil: shell compaction, shell expansion, and axial compaction “magnetic hammer” usage.
  • Thermal mode: cold compaction or compaction with heating.
  • The intermediary agent between coil and powder: steel mold, electrically conductive metal shell, or interim medium between shell and powder.
The final density of parts depends on several factors: powder particle properties and size, technological shell properties (electrical and mechanical) and dimensions, capacitor bank electrical parameters, discharge power, and working tool parameters (coils and magnetic field concentrator). For tubular parts, the central mandrel plays an essential role in the compaction process.

4. Compression of Powders in an Electrically Conductive Driver Unit

Many studies specifically addressed the inductive MPC methods. The inductive MPC methods are based on the interaction between the PEMF coil and the magnetic field of eddy currents, induced to the conducting shell that contains the powder.
MPC with powder compaction in a shell (Figure 3a) can be performed with one or repeated impulses without moving its axis. This technique demonstrates a range of advantages over other methods due to a simpler design and higher coil durability. The density of a powder part is distributed more evenly lengthwise. This technique has a lot in common with isostatic powder compaction in steel or elastic driver units, as well as with explosive and hydrodynamic pressing of pipes and bars [2,7]. Production and shell removal are performed by etching, melting down, or mechanical treatment. However, this makes the process more complex and costlier. In the case of commercialization, such advantages of the MPC with driver unit powder compaction as simplicity of the technological equipment used, easy changeover, the accuracy of energy dosing, the opportunity to perform the whole set of operations in the same equipment, as well as material sealing and vacuuming, should be considered [30].
When using the МРС with shell expansion (Figure 3b), the coil is subject to increased requirements. In this case, it has a smaller size, and its casing is not durable enough, but the heat dissipation is obstructed.
Nevertheless, this technique can be applied in the production of parts with a complex outer surface as well as large-diameter rings.
The achieved compaction density increases as the discharge energy grows, approaching the limit value, although not reaching 100% of the theoretical density. According to [22], it is explained by the formation and destruction of “bridges” and the complexity of cavity filling during pulsed loading [65]. Powders of irregularly shaped particles and sufficient plasticity are particularly well suited to magnetic pulsed compaction. Sufficient cohesion between particles is not reached during compaction of a small grain and solid powders (for example, Al2O3) with single pulsed loading. The MPC technique can still be beneficial during compaction of low plasticity powders, provided that repeated loading is applied.
The MPC process primarily depends on PEMF characteristics: maximal density of the field, frequency, and damping mode. In particular, in the MPC course, the same as in other MPP processes, the selection of the amplitude, frequency, and form of the impulse going through the discharge current coil is of primary importance [19,53]. Certainly, shell material and thickness, the physical properties of the powder, and the level of its preliminary compaction do significantly impact the process.
It is demonstrated in [36,61] that the highest value of pulse current will be reached under periodic damped vibration conditions. Consequently, to enhance the process efficiency, it is necessary to have a low active resistance oscillating circuit [69]. At the same time, the shell length (l) must be much longer than its outer radius (ro), but the radius (re) is much larger than its thickness (b).
Cumulative pressure on a working piece (p) is equal to the difference between PEMF pressures upon the shell wall being applied from one and the other side [19,34]:
p = 1 2   ·   μ a   ·   ( H 1 2 H 2 2 ) ,
where H1—PEMF intensity in the gap between the coil and the shell; H2—PEMF intensity on the inner shell wall; and µa—magnetic constant.
The value of backpressure conditioned by the magnetic field on the inner driver unit wall depends mostly on the frequency and rate-of-rise in the magnetic flux and the shell material’s electric conductivity. For instance, during the copper driver unit’s compression at the discharge frequency of approximately 10 kHz, the depth of field penetration (∆) is 0.7 mm. At the same time, for the driver unit thickness (τ), being equal to the depth of penetration (τ = ∆), the amplitude of magnetic induction (Bmax) decreases to 37% of its initial value on the outer surface. In case of an evident surface effect (τ ≥ ∆), the formula of necessary magnetic pressure can be expressed as follows:
p ( t ) = H m 2 μ 2 e β t s i n 2 ω t ,
where Hm—the maximal value of PEMF intensity in the coil; µ—magnetic constant; β—damping decrement; and ω—circular frequency of discharge current.
The values most frequently used in the estimation of the compaction process efficiency on the equipment with the known parameters include the value of power capacity (W) and the reached relative density (p) of a pressed piece, which is higher in the case of ductile powder materials (Figure 4a). Relative density decreases as the volume of powder in the shell (s) increases (Figure 4b).
The power capacity of the unit (Wg) is calculated as follows:
W g = C · U 2 2 ,
where C—capacity of the impulse generator capacitors and U—discharge voltage. The energy consumption of the unit (Wg) can be calculated using the Formula (4):
W g = a m a x · ( ρ n ρ n ) · V 0 · ρ n ,
where V0—an initial volume of the powder; ρ n —relative density of the powder before compaction; and amax—maximal compaction work required to reach 100% density.
Paper [70] suggests the MPC model based on the experimental research results in high-rate compaction of powders. Figure 5 presents the tubular parts produced using single compaction in the copper shell. This technique’s major weakness is that it is necessary to remove the shell before the final sintering. The shell is removed mechanically. It is much more efficient to place an intermediate layer of rapidly melting materials between the powder and the shell, such as a polyethylene foil layer.
During MPC, the presence of a thin-wall conducting shell can play a positive role, for instance, during hot powder compaction or compaction of active materials [33]. The shell itself can also be used in the production of parts [19,37].
The paper [36] offers a technique where a pressed piece with the shell undergoes sintering at a temperature that exceeds the shell material’s melting point. Assisted by capillary forces, the forming liquid metal of the melted shell fills the pressed piece’s pores. This technique’s application allows the labour-intensive procedure of shell removal to be avoided, improving the density of the parts and decreasing their net cost. In this case, shells become integral parts of the component.
The infiltration temperature has to be close to the melting point of an infiltrating material [19,71]. Some cases require that it exceeds the melting point by 80–100 °C. However, a more considerable increase in the heating temperature can lead to a sharp rise in the reciprocal solubility of components. Some photographs of microstructures of iron powder pressed pieces before and after infiltration of the molten copper driver unit are shown in Figure 6.
The MPC method holds significant potential in modern powder metallurgy technologies, such as additive manufacturing methods or high-energy synthesis techniques like SPS (Spark Plasma Sintering) or PPS (Pulse Plasma Sintering). Additive manufacturing in the field of powder metallurgy continues to face challenges such as thermal limitations, inconsistent material properties, and low production efficiency [72].
The process of producing a component using 3D printing is only one part of a labour-intensive workflow. Initially, an alloy must be prepared, with its chemical composition tailored to meet the requirements of the final product. Following this, metallic powder is produced from the alloy, which then undergoes the sintering process. Subsequently, the resulting component is subjected to additional processing [72].
To enhance density and achieve more uniform properties throughout the volume, additional deformation is often applied. In such cases, using compression in a pulsed electromagnetic field can be an effective approach. A notable advantage of this technique over other methods is its non-contact application, where the surface of the product is manipulated using electromagnetic forces.

5. Axial Compaction of Powders in a Matrix

The MPC using the magnetic hammer in a rigid press mold has attracted considerable interest lately [32]. The material is poured into a press mold and compacted with one or repeated impact impulses of the moving plate (Figure 7). The plate with the punch is driven by the energy of a pulsed electromagnetic field (PEMF). The value of electromagnetic pressure (p) greatly depends on the pulsed current generator and coil parameters, as well as on the mass of the impact plate [53]. An opportunity to change the value of the impulse pressure Pmax in a sufficiently wide range, as well as to perform repeated loading, are the main benefits of this method.
Compaction density can be improved by increasing the specific compaction pressure Pmax by increased working pressure on the coil U and increased amplitude of the impulse discharge current Imax. However, it should be noted that in this case, the durability of the equipment is reduced and the power consumption W increases. Additionally, a concentrator for the electromagnetic field can be used, which allows for increasing the plate area exposed to the coil field, which enhances the durability of the coil. A limited range of part forms and sizes, as well as heterogeneous properties regarding height, are among the disadvantages of this technique. The bilateral MPC allows for achieving higher density and more uniform properties of the powder parts [71,73]. Even higher density can be provided using repeated MPC, this specifically applies to ceramic powders. However, in some cases, structural heterogeneity cannot be eliminated in such a way.
To increase density and produce the required forms and sizes, the combined MPC technique was suggested. Figure 8 demonstrates the setup, consisting of a hydraulic press and a magnetic-pulse unit.

6. Manufacturing of Long-Length Parts

Powder metallurgy is a versatile manufacturing process used to create a wide range of parts, including long parts. While powder metallurgy is commonly used for smaller components, its application extends to producing long parts, commonly used in the automotive and aerospace industries and medical devices. These parts are often characterized by their complex shapes, intricate designs, and demanding performance requirements.
The production of long parts from powders presents unique challenges compared to conventional machining methods. The primary obstacle is ensuring uniform density and mechanical properties across the entire length of the part, as well as controlling the final shape and dimensions. This requires careful control over various process parameters, including powder characteristics, compaction pressure, and sintering conditions.
Two main methods are employed for producing long parts from powders: the hydrostatic method [74] and mechanical presses (screw presses) [75]. The hydrostatic method involves using a hydraulic press to compact the powder in an elastic container, offering a more uniform density distribution throughout the part. On the other hand, mechanical presses (screw presses) are used for extruding materials [75].
The MPS compaction diagram is shown in Figure 9 for the fabrication of tubular and solid long-length components. This procedure is particularly advantageous when the outer metal shells form an integral part of the component and are not intended to be removed.
The shell can be moved either cyclically or continuously. In the case of continuous movement, it is essential to use high-frequency pulse generators operating at 30–60 pulses per minute.

7. Processing and Joining of Sintered Powder Parts by a Pulsed Electromagnetic Field

The MPC technique is an efficient treatment technology for sintered powder parts of materials with high conductivity and magnetic permeability. First of all, these are materials based on Fe-C-Cu. MPC can be used for extra compaction of the parts to increase their density or perform local deformation [37,39]. In the latter case, using an electromagnetic field concentrator [22,76] (Figure 10) is expedient. Sintered powder materials display specific properties like a residual porosity of 5–15%. However, this enhances the ductility of the part during impulse loading but reduces its stability, which can lead to its destruction [77]. The residual porosity’s presence reduces the powder parts’ conductivity and magnetic permeability. This requires an increase in the electromagnetic pressure during its treatment in contrast to the treatment of a molded or fabricated piece.
MPC can be recommended for the production of permanent joints of powder parts. Applications are illustrated in Figure 11.

8. Combined Methods of Pulsed Electromagnetic Compaction of Metal Powders

Within the methods of PMC of powder materials, a pulsed electromagnetic field is used to move a punch or shell. The advantages of these methods include a micro or millisecond range for the application of additional dynamic load, the possibility of obtaining long-length products, and the opportunity to integrate pulse-magnetic equipment into a processing line. The implementation of such technology is made possible by the use of resistant coils, connected with the pulse-magnetic installation, and devices for continuous feeding of the powder material. Design features and application of effective re-usable coils are considered in [31,43].
Experimental studies were conducted using a laboratory setup that included a hydraulic press with a force of 100 kN and an electromagnetic pulse generator with a charge energy of 2.5 kJ (Figure 12). The studies were carried out on the powders NC 100.24 and ASC 100.29 Höganäs AB [5]. During mixing, the lubricant Kennolube (0.6%) was added. A steel mold, 10 mm in diameter, was placed on the frame of the press. The depth of the filling chamber was 20 mm.
The density resulting from the compaction (p) was estimated by measuring the degree of a settlement of the punch into the die. The results of the experiments are shown in Figure 13, Figure 14 and Figure 15. The experiments were performed for all powder compositions under the same parameters of compaction.
The combination of pulse compaction and axisymmetric extrusion for long-length parts production offers a promising alternative to conventional powder pressing in a shell using a magnetic field. This process was described for the first time in [78].
The MPC method using extrusion was applied for manufacturing lengthy workpieces. Multi-layer specimens, 200–500 mm long with an outer diameter of 10–80 cm, were produced (Figure 16a). The external shell was made of an 8 mm-thick copper tube. To form the inner hole, a steel mandrel was used, which was removed prior to sintering. The basic filling was a powder mixture based on iron ASC100.29, containing 2% Cu and 0.5% S. Additionally, Kennolube was used as a lubricant. A 5 kJ energy discharge performed pulsed treatment. Sintering was carried out in an endogas atmosphere (40% H2, 20% CO2) at a temperature of 900 °C. The residual porosity after a single compression and drawing was within 3–5%.
As another experimental task, the manufacturing of a two-layered part was chosen. The outer part was made of a material on the base of iron ASC100.29, containing 8% Cu and 0.5% C, and the inner part was made of the sintered hard WC-Co alloy (Figure 16b). Sintering in an endogas atmosphere (40% H2 + 20% CO2 + 40%N2) was carried out in two stages—the preliminary stage at 900 °C and the final one at 1150 °C—with the technological copper driver unit melting and the molten copper infiltrating the compacted layer of the iron-copper composition. There was no notable porosity. To increase the cohesion between the iron–copper frame and hard alloy insert, the outer surface of the insert was made with increased roughness.
The experiments showed that the MPC method’s compression level depends mainly on the level of pulse energy. An increase in the discharge energy from 3 to 5 kJ leads to an increase in the density of the material by 20–30%. The second important factor is the number of repeated pulses of discharge. However, implementation of this technique requires lowering the shell movement’s speed in the axial direction, which is not efficient from the production point of view.
The experiments demonstrated that using the combined methods of static–dynamic compaction helps increase the density of powder material. For small-height products, the method of compacting the powder in a rigid die due to the treatment with electromagnetic pulses is the most convenient. With step-type compaction, the quality of the obtained product depends on many factors: the density of the prior filling of the powder into the tube, the magnitude of the angle of the draw die, the plasticity of the material, and the properties of the powder. With the simultaneous start of the tube drawing and the MPC process, both operations (pulse-magnetic pressing at one end and pulling the tube through the draw die) are performed in a single setup and by one operation. As a result, productivity increases, but total energy consumption decreases.

9. Movement and Conveying of Powder Materials by PEMF

Mironov et al. [68,79] demonstrated the possibility of using PEMF for moving and transporting powder materials. Based on these studies, experimental devices were subsequently developed that allow 1–2 kg of iron powder to be lifted to a height of up to 2 m in one pulse. One such installation is shown in Figure 17. The main advantage of such a device is the possibility of the contactless movement of powder, including in a vacuum. However, there are unsolved problems associated with the possibility of powder stratification during transportation, and the need to improve the reliability and efficiency of the equipment.
In the research on the compaction of powder materials by pulsed electromagnetic field [80], it is demonstrated that the efficiency of the process—determined by the mass of the displaced powder, the height of its rise, and overall productivity—depends on numerous process factors. These include the amplitude, duration, and shape of the electric current waveform passing through the coil, as well as the properties of the powder material. This limits the practical application of this method since each material’s movement requires considering the effect of a combination of factors. It has been noted that the most efficient movement and conveying is possible for ferromagnetic materials [80]. The mentioned limitation should be considered when moving a mixture of powders from different materials, since delamination is possible due to the difference in the electrical and magnetic properties of the components.
To implement the pulsed movement of powder materials, irrespective of their magnetic properties or electrical conductivity, a method involving the movement of powder on an electrically conductive pallet may be suitable. When the pallet is impulsively accelerated and subsequently decelerated upon striking a stopper, the powder continues its motion due to inertia. A well-established method employs high-energy electromagnetic field pulses to accelerate powder particles or mixtures. This process can be conducted in a vacuum or a protective atmosphere using the appropriate equipment. To facilitate this method, the authors propose a device comprising a vertically positioned pipe and a tray. The invention [81] is designed to accelerate and transport powders with low electrical conductivity and low magnetic permeability.
This method is particularly useful for producing composite materials, such as forming coatings on the surfaces of metallic and ceramic substrates. Studies [67,79] have demonstrated that a single pulse can transport over 1 kg of iron powder to heights of 3 m or more. In these experiments, iron powder ASC 110.29 mixed with 0.2% carbon was used as the material.

10. Conclusions

Magnetic pulse processing (MPP) shares many characteristics with explosive and electrohydraulic pressing, primarily due to their high loading rates. These dynamic powder compaction processes typically occur within microseconds to milliseconds, allowing for rapid and efficient material processing. The similarity in loading rates contributes to comparable material behaviors and outcomes across these techniques.
Key schemes for utilizing MPP in powder metallurgy involve powder compaction using pulsed electromagnetic fields within a conductive shell or via flat pressing techniques. These methods leverage the intense magnetic fields generated by pulsed currents to compact powder materials rapidly and efficiently. The conductive shell acts as a medium for transmitting the electromagnetic force to the powder, while flat pressing techniques apply the force directly to the powder surface.
Single-stage pressing in PEMF requires a significant increase in the operating voltage of the pulsed generator to achieve high density, potentially affecting the stability of the coil. The use of conductive shells introduces challenges related to their subsequent removal. These factors necessitate a focus on processes where these limitations become less critical, such as utilizing the shell as a material for impregnating the porous body after compaction.
MPC shows great potential in producing elongated parts by sequentially compacting powder within a hermetically sealed conductive shell. Flat MPC techniques could be effectively applied in combined processes, such as coupling with powder electro-sintering. Currently, the most suitable industrial applications involve processing pre-sintered conductive metallic components using MPC to create permanent joints and calibrate parts.
The future of MPP in powder metallurgy heavily depends on the development of compact, safe, reliable, and high-performance MPP equipment and tools. Significant potential exists in developing MPC methods for transporting powdered materials, although these processes remain largely experimental. Advancing research in these areas could lead to broader adoption of MPP techniques in industrial settings and expand their applications in materials science and engineering.
In conclusion, while magnetic pulse processing in powder metallurgy faces certain challenges, it offers unique advantages and potential applications that warrant further research and development. The key to broader adoption lies in addressing the limitations of current techniques and developing more efficient and reliable equipment. As the field progresses, MPP could become an increasingly valuable tool in the arsenal of powder metallurgy processes, offering new possibilities for material processing and manufacturing.

Author Contributions

Conceptualization, V.M., I.B. and M.K.; methodology, V.M. and M.K.; validation, V.M., I.B. and J.N.; formal analysis, J.N.; investigation, J.N.; resources, V.M., I.B. and M.K.; data curation, V.M.; writing—original draft preparation, V.M., I.B. and M.K.; writing—review and editing, V.M., I.B., J.N., Y.U. and M.K.; visualization, Y.U., J.N.; supervision, V.M.; project administration, V.M., M.K. and J.N.; funding acquisition V.M. and Y.U. All authors have read and agreed to the published version of the manuscript.

Funding

This study was funded with the support of the European Regional Development Fund within Activity 1.1.1.2 “Post-doctoral Research Aid” of the Specific Aid Objective 1.1.1 “To increase the research and innovative capacity of scientific institutions of Latvia and the ability to attract external financing, investing in human resources and infrastructure” of the Operational Program “Growth and Employment” (No. 1.1.1.2/VIAA/2/18/335). RTU Project ID 3886.

Data Availability Statement

Data supporting the results presented can be provided upon request to the respective author.

Conflicts of Interest

The authors declare no conflict of interest.

References

  1. Schatt, W. Powder Metallurgy, Sintered and Composite Materials, 2nd ed.; Pulvermetallurgie Sinter- und Verbundwerkstoffe; VEB Deutscher Verlag fuer Grundstoffindustrie: Leipzig, Germany, 1985. [Google Scholar]
  2. Prummer, R. Explosive Compaction of Powders and Composites; CRC Press: Boca Raton, FL, USA, 2006; ISBN 978-1-4822-9433-0. [Google Scholar]
  3. Sethi, G.; Myers, N.S.; German, R.M. An Overview of Dynamic Compaction in Powder Metallurgy. Int. Mater. Rev. 2008, 53, 219–234. [Google Scholar] [CrossRef]
  4. González, A.C.; Cuyás, J.C.; Cusminsky, G. Analysis of Direct Explosive Powder Compaction Parameters. Powder Metall. 1984, 27, 212–216. [Google Scholar] [CrossRef]
  5. Neubauer, A.; Stroppe, H.; Wolf, H. Hochgeschwindigkeitstechnologie Der Metallbearbeitung; Verlag Technik: Berlin, Germany, 1988; ISBN 3-341-00441-6. [Google Scholar]
  6. Grigoryev, E.G.; Olevsky, E.A. Thermal Processes during High-Voltage Electric Discharge Consolidation of Powder Materials. Scr. Mater. 2012, 66, 662–665. [Google Scholar] [CrossRef]
  7. Prümmer, R. Prospects of Hot Explosive Pressing in Powder Metallurgy. Mater. Sci. Forum 2004, 465–466, 85–92. [Google Scholar] [CrossRef]
  8. Krokhalev, A.; Kharlamov, V.; Kuz’min, S.; Lysak, V. SiC-Based Materials Produced by Explosive Compaction of Powders without Sintering. J. Korean Ceram. Soc. 2023, 60, 845–855. [Google Scholar] [CrossRef]
  9. Azamudin, M.E.; Abdul Manan, M.S.; Hilmi, A.H.; Mohd Dawi, M.S.I.; Ahmad, R.N.; Hussin, M.S. Explosive Compaction Using Shock Wave Generated by High-Energy Load from Emulsion Explosive to Improve Hardness of Aluminum 6061. In Intelligent Manufacturing and Mechatronics; Hamidon, R., Bahari, M.S., Sah, J.M., Zainal Abidin, Z., Eds.; Lecture Notes in Mechanical Engineering; Springer Nature: Singapore, 2024; pp. 547–556. ISBN 978-981-9701-68-1. [Google Scholar]
  10. Germain Careau, S.; Tougas, B.; Ulate-Kolitsky, E. Effect of Direct Powder Forging Process on the Mechanical Properties and Microstructural of Ti-6Al-4V ELI. Materials 2021, 14, 4499. [Google Scholar] [CrossRef]
  11. Germain Careau, S.; Ulate-Kolitsky, E.; Tougas, B. Direct Powder Forging—A New Approach for near Net Shape Processing of Titanium Powders. Powders 2023, 2, 21–31. [Google Scholar] [CrossRef]
  12. Olsson, L.R.; Lampe, V.; Fischmeister, H. Direct forging of high-alloy steel powders to bar stock. Powder Metall. 1974, 17, 347–362. [Google Scholar] [CrossRef]
  13. Wang, L.; Fan, X.; Lu, F.; Liang, Y.; Li, S. Improving the Formability and Mechanical Properties of TiAl Alloy by Direct Forging of Uncondensed Powder. Mater. Sci. Eng. A 2024, 890, 145890. [Google Scholar] [CrossRef]
  14. Afanas’eva, S.A.; Belov, N.N.; Burkin, V.V.; Dudarev, E.F.; Ishchenko, A.N.; Rogaev, K.S.; Dudarev, E.F.; Ishchenko, A.N.; Rogaev, K.S. Simulation of the Action of a Shock Wave on Titanium Alloy. J. Eng. Phys. Thermophy 2017, 90, 24–34. [Google Scholar] [CrossRef]
  15. Vinogradov, V.; Strizhakov, E.; Nescoromniy, S. Pulsed Powder Technologies for the Production of Permanent Compounds from Heterogeneous Materials. IOP Conf. Ser. Mater. Sci. Eng. 2020, 1005, 012019. [Google Scholar] [CrossRef]
  16. Olevsky, E.A.; Dudina, D.V. Magnetic Pulse Compaction. In Field-Assisted Sintering; Springer International Publishing: Cham, Switzerlands, 2018; pp. 293–313. ISBN 978-3-319-76031-5. [Google Scholar]
  17. Childerhouse, T.; Jackson, M. Near Net Shape Manufacture of Titanium Alloy Components from Powder and Wire: A Review of State-of-the-Art Process Routes. Metals 2019, 9, 689. [Google Scholar] [CrossRef]
  18. Wang, H.; Fang, Z.Z.; Sun, P. A Critical Review of Mechanical Properties of Powder Metallurgy Titanium. Int. J. Powder Metall. 2010, 46, 45–57. [Google Scholar]
  19. Mironov, V.A. Magnetic Pulse Pressing of Powders; Zinatne: Riga, Latvia, 1980. [Google Scholar]
  20. Jacobi, S.; Schneider, R.; Tradowsky, K. Elektrotechnische Zeitschrif. Neues Elektr. Verfahr. Zur Verdicht. Tech. Pulver 1971, 92, 486–488. [Google Scholar] [CrossRef]
  21. Mironov, V. Pulververdichtung Mit Magnetimpulsen. Planseebrichte Für Pulvermetall. 1976, 24, 175–190. [Google Scholar]
  22. Ivanov, V.V.; Kaygorodov, A.S.; Khrustov, V.R.; Paranin, S.N. Fine Grained Alumina-Based Ceramics Produced Using Magnetic Pulsed Compaction. In Ceramic Materials—Progress in Modern Ceramics; Shi, F., Ed.; InTech: Houston, TX, USA, 2012; ISBN 978-953-51-0476-6. [Google Scholar]
  23. Golovashchenko, S.F. Material Formability and Coil Design in Electromagnetic Forming. J. Mater. Eng. Perform. 2007, 16, 314–320. [Google Scholar] [CrossRef]
  24. Li, J.; Li, T.; Zeng, Y.; Chen, C.; Guo, H.; Lei, B.; Zhang, P.; Feng, Z.; Meng, G. A Novel Sol-Gel Coating via Catechol/Lysine Polymerization for Long-Lasting Corrosion Protection of Mg Alloy AZ31. Colloids Surf. A Physicochem. Eng. Asp. 2023, 656, 130361. [Google Scholar] [CrossRef]
  25. Thirupathi, N.; Kore, S.D. Electromagnetic Powder Compaction: An Experimental Study of Its Effects on Titanium Powder. In High Voltage–Energy Storage Capacitors and Their Applications; Sharma, A., Ed.; Lecture Notes in Electrical Engineering; Springer Nature: Singapore, 2024; Volume 1143, pp. 271–280. ISBN 978-981-9703-36-4. [Google Scholar]
  26. Yuan, X.; Zhang, Y.; Qu, X.; Yin, H. Investigations of Impact Force of the Al–Fe–Cr–Ti Alloy by High-Velocity Compaction. J. Mater. Res. Technol. 2024, 32, 1937–1945. [Google Scholar] [CrossRef]
  27. Kaushik, D.; Thomas, M.J. Development of Tooling Coils for Electromagnetic Manufacturing Applications. In High Voltage–Energy Storage Capacitors and Their Applications; Sharma, A., Ed.; Lecture Notes in Electrical Engineering; Springer Nature: Singapore, 2024; Volume 1143, pp. 11–20. ISBN 978-981-9703-36-4. [Google Scholar]
  28. Graham, S.J.; Azakli, Y.; Withey, J.; Jackson, M. CIP-FAST: Assessing the Production of Complex Geometry Titanium Components from Powders by Combining Cold Isostatic Pressing (CIP) and Field Assisted Sintering Technology (FAST). Powder Metall. 2023, 66, 482–492. [Google Scholar] [CrossRef]
  29. Winkler, R. Hochgeschwindigkeitsbearbeitung: Grundlagen Und Technische Anwendung Elektrisch Erzeugter Schockwellen Und Impulsmagnetfelder; Verlag Technik: Berlin, Germany, 1973. [Google Scholar]
  30. Mironovs, V.; Boiko, I.; Kolbe, M. The Application of the Pulsed Electromagnetic Field for Joining Powder Parts. Solid State Phenom. 2015, 220–221, 864–870. [Google Scholar] [CrossRef]
  31. Glushchenkov, V.; Karpuhin, V. Magnetic Pulse Material Processing Technology; Izdatelskiy dom «Fedorov»: Samara, Russia, 2014. [Google Scholar]
  32. Sandstrom, D.J. Magnetic Compaction. In New Methods for the Consolidation of Metal Powders; Springer: Boston, MA, USA, 1967; pp. 75–81. ISBN 978-1-4899-6209-6. [Google Scholar]
  33. Wolf, H. Pulververdichten Durch Elektromagnetische Kräfte Herstellunsmöglichkeit für Werkzeugaktivelements. Fert. Betr. 1980, 9, 558–560. [Google Scholar]
  34. Jablonski, J.; Winkler, R. Analysis of the Electromagnetic Forming Process. Int. J. Mech. Sci. 1978, 20, 315–325. [Google Scholar] [CrossRef]
  35. Mironov, V.; Maksimov, J. Magnetic-Pulse Pressing of Ceramics. Mach. Tool. 1973, 44, 54–55. [Google Scholar]
  36. Mironov, V.A.; Roman, O.V.; Rotbaum, Y.M. Use of a Processing Sheath in Magnetic Pulse Pressing. Powder Metall. Met. Ceram. 1974, 13, 9–11. [Google Scholar] [CrossRef]
  37. Dorozhkin, N.; Mironov, V.; Kot, A. Electrophysical Methods for Obtaining Coatings from Metal Powders; Zinatne: Riga, Latvia, 1985. [Google Scholar]
  38. Psyk, V.; Risch, D.; Kinsey, B.L.; Tekkaya, A.E.; Kleiner, M. Electromagnetic Forming—A Review. J. Mater. Process. Technol. 2011, 211, 787–829. [Google Scholar] [CrossRef]
  39. Mamalis, A.; Manolakos, D.; Kladas, A.; Koumoutsos, A. Electromagnetic Forming and Powder Processing: Trends and Developments. Appl. Mech. Rev. 2004, 57, 299–324. [Google Scholar] [CrossRef]
  40. Mironov, V.; Stankevich, P.; Beljaeva, I.; Glushenkov, V. Static-Dynamic Powder Material Compaction Methods. In Proceedings of the 15th International Scientific Conference Engineering for Rural Development, Latvia University of Life Sciences and Technologies, Jelgava, Latvia, 25–27 May 2016; pp. 1128–1132. [Google Scholar]
  41. Golowin, S.; Kamal, M.; Shang, J.; Portier, J.; Din, A.; Daehn, G.S.; Bradley, J.R.; Newman, K.E.; Hatkevich, S. Application of a Uniform Pressure Actuator for Electromagnetic Processing of Sheet Metal. J. Mater. Eng. Perform 2007, 16, 455–460. [Google Scholar] [CrossRef]
  42. Olevsky, E.A.; Bokov, A.A.; Boltachev, G.S.; Volkov, N.B.; Zayats, S.V.; Ilyina, A.M.; Nozdrin, A.A.; Paranin, S.N. Modeling and Optimization of Uniaxial Magnetic Pulse Compaction of Nanopowders. Acta Mech. 2013, 224, 3177–3195. [Google Scholar] [CrossRef]
  43. Karpuhin, V.F.; Glouschenkov, V.A. Pulsed-Magnetic Technology of Joining Materials. In Proceedings of the JOM-International Conference, Helsingor, Denmark, 27–28 April 2016; 2001; Volume 10, pp. 226–230. [Google Scholar]
  44. Chernikov, D.G.; Yusupov, P.Y.; Glushchenkov, V.A.; Karpukhin, V.F.; Belyaeva, I.A.; Prokofiev, A.B. Magnetic Pulse Processing of Materials (MIOM) (In Russian); SNC Publishing House: Samara, Russia, 2019; ISBN 978-5-604-35934-1. [Google Scholar]
  45. Shribman, V.; Stren, A. Take Advantage of the New Magnetic Pulse Welding Process. Svetsaren A Weld. Rev. 2001, 14–16. [Google Scholar]
  46. Huang, S.Y. Investigation on the density uniformity of pressed parts by low-voltage electromagnetic compaction. Acta Metall. Sin. (Engl. Lett.) 2004, 17, 805–811. [Google Scholar]
  47. Cui, X.; Mo, J.; Fang, J.; Li, J. Deep Drawing of Cylindrical Cup Using Incremental Electromagnetic Assisted Stamping with Radial Magnetic Pressure. Procedia Eng. 2014, 81, 813–818. [Google Scholar] [CrossRef]
  48. Cui, X.; Mo, J.; Li, J. Research on Homogeneous Deformation of Electromagnetic Incremental Tube Bulging. In Proceedings of the 6th International Conference on High Speed Forming, Daejeon, Republic of Korea, 27–29 March 2014. [Google Scholar] [CrossRef]
  49. Knoth, E.A.; Chelluri, B. Powder Forming Using Dynamic Magnetic Compaction. In Proceedings of the International Conference on High Speed Forming, Columbus, OH, USA, 9–10 March 2010; Volume 2010, pp. 26–34. [Google Scholar]
  50. Thirupathi, N.; Kumar, R.; Kore, S.D. Experimental and Numerical Investigations on Electromagnetic Powder Compaction of Aluminium 6061 Alloy Powder. Powder Technol. 2022, 406, 117579. [Google Scholar] [CrossRef]
  51. Strizhakov, E.; Neskoromniy, S.; Rachkov, M. Device for Electric Pulse Sintering. Russian Federation Patent 96515 В22F 3/087, 20 January 2014. [Google Scholar]
  52. Mironov, V.; Boyko, I.; Lapkovsky, V. Composite Details from Fe–Cu Powder Materials. Mater. Sci. (Medziagotyra) 2008, 15, 444. [Google Scholar]
  53. Mironovs, V.; Lapkovskis, V.; Kolbe, M.; Zemcenkovs, V.; Shishkin, A. Applications of Pulsed Electromagnetic Fields in Powder Materials High Speed Forming; Universitätsbibliothek Dortmund: Daejeon, Republic of Korea, 2014; pp. 61–67. [Google Scholar]
  54. Belyaeva, I.; Mironov, V. Combined Magnetic Pulsed Compaction of Powder Materials. Key Eng. Mater. 2017, 746, 235–239. [Google Scholar] [CrossRef]
  55. Dolgushin, D.M.; Dubsky, G.A.; Nefedev, A.A.; Rive, V.V.; Dolgushina, O.V.; Kayper, A. Effect of Pulsed Magnetic Field on Paramagnetic Melt during Crystallization. VNMSTU 2018, 16, 57–66. [Google Scholar] [CrossRef]
  56. Belyavin, K.E.; Min’ko, D.V.; Kuznechik, O.O. Modeling of the Process of Electric-Discharge Sintering of Metal Powders. J. Eng. Phys. Thermophys. 2004, 77, 628–637. [Google Scholar] [CrossRef]
  57. Neskoromniy, S.V.; Lemeshev, S.V.; Ageyev, S.O.; Strizhakov, E.L. Discharge-Pulse Compression of Composite Materials. Vestn. Donskogo Gos. Teh. Univ. 2015, 15, 76–81. [Google Scholar] [CrossRef][Green Version]
  58. Lomayeva, S.F.; Yazovskikh, K.A.; Maratkanova, A.N.; Syugaev, A.V.; Timoshenkova, O.R.; Kaygorodov, A.S.; Zayats, S.V.; Paranin, S.N.; Ivanov, V.V. Bulk Fe-TiC-Fe3C Nanocomposites Formed by Mechanical Alloying in Liquid Organic Media and by Magnetic Pulse Compaction. Inorg. Mater. Appl. Res. 2013, 4, 138–145. [Google Scholar] [CrossRef]
  59. Krutikov, V.; Paranin, S.; Spirin, A.; Kazakov, A.; Aleksandrov, E. Fabrication of Thin-Walled Iridium Tubular Articles by Radial Magnetic Pulsed Compaction and Sintering of Nanopowder. Lett. Mater. 2019, 9, 334–338. [Google Scholar] [CrossRef]
  60. Belyy, I.; Fertik, S.; Khimenko, L. Electromagnetic Metal Forming Handbook; Vishcha School: Kharkov, Ukraine, 1977. [Google Scholar]
  61. Boltachev, G.S.; Volkov, N.B.; Ivanov, V.V.; Kaygorodov, A.S. Shock-Wave Compaction of the Granular Medium Initiated by Magnetically Pulsed Accelerated Striker. Acta Mech. 2009, 204, 37–50. [Google Scholar] [CrossRef]
  62. Nadimetla, T.; Kore, S.D. Non-Coupled Finite Element Modelling of Electromagnetic Compaction of Al 6061 Powder in Al 6063 Tube. Mater. Today Proc. 2022, 67, 377–384. [Google Scholar] [CrossRef]
  63. Mironovs, V.; Boiko, I.; Kuzmina, J. Features of Magnetic-Pulse Pressing of Powders in an Electrically Conductive Shell; Belarusskaya Navuka: Minsk, Belarus, 2021; pp. 260–269. [Google Scholar]
  64. Kim, J.H.; Raihanuzzaman, R.M.; Rhee, C.K.; Lee, J.G.; Lee, M.K.; Hong, S.-J. Fabrication and Densification Behavior Analysis of Metalizing Targets Using ZrO2 Nanopowders by Magnetic Pulsed Compaction. Mater. Trans. 2011, 52, 1156–1162. [Google Scholar] [CrossRef]
  65. Mostofi, T.M.; Sayah-Badkhor, M.; Rezasefat, M.; Babaei, H.; Ozbakkaloglu, T. High-Velocity Powder Compaction: An Experimental Investigation, Modelling, and Optimization. Struct. Eng. Mech. Int’L J. 2021, 78, 145–161. [Google Scholar]
  66. Bokov, A.A.; Boltachev, G.S.; Volkov, N.B.; Zayats, S.V.; Il’ina, A.M.; Nozdrin, A.A.; Paranin, S.N.; Olevskii, E.A. Uniaxial Compaction of Nanopowders on a Magnetic-Pulse Press. Tech. Phys. 2013, 58, 1459–1468. [Google Scholar] [CrossRef]
  67. Mironov, V.; Viba, J.; Shtals, L. Use of Electromagnetic Impulse System for Transportation of Dry Materials and Solid Bodies. SSP 2009, 147–149, 474–479. [Google Scholar] [CrossRef]
  68. Anisimov, A.G.; Mali, V.I. Possibility of Electric-Pulse Sintering of Powder Nanostructural Composites. Combust. Explos. Shock Waves 2010, 46, 237–241. [Google Scholar] [CrossRef]
  69. Gafri, O.; Izhar, A.; Livshitz, Y.; Shribman, V. Magnetic Pulse Acceleration; Universitätsbibliothek Dortmund: Dortmund, Germany, 2006; pp. 33–41. [Google Scholar]
  70. Mironov, V.; Zemchenkov, V.; Lapkovsky, V. Model of the Magnetic Packings of Dispersed Materials. Trans. VŠB-Tech. Univ. Ostrav. 2009, 249–253. [Google Scholar]
  71. Kolbe, M.; Mironov, V.; Shishkin, A.; Zemchenkov, V. Investigation of Magnetic Pulse Deformation of Powder Parts. In Proceedings of the 5th International Conference on High Speed Forming, Dortmund, Germany, 24–26 April 2012; Technische Universität Dortmund: Dortmund, Germany, 2012. [Google Scholar] [CrossRef]
  72. Shanthar, R.; Chen, K.; Abeykoon, C. Powder-Based Additive Manufacturing: A Critical Review of Materials, Methods, Opportunities, and Challenges. Adv. Eng. Mater. 2023, 25, 2300375. [Google Scholar] [CrossRef]
  73. Lapkovsky, V.; Mironovs, V.; Kolbe, M. Vjaceslavs Zemchenkovs Application of Metallic Powder Materials for Pulsed Electromagnetic Field Shielding. In Proceedings of the Euro PM2014—PM Functional Materials, Salzburg, Austria, 21–24 September 2014; EPMA: Salzburg, Austria, 2014. [Google Scholar] [CrossRef]
  74. Attia, U.M. Cold-Isostatic Pressing of Metal Powders: A Review of the Technology and Recent Developments. Crit. Rev. Solid State Mater. Sci. 2021, 46, 587–610. [Google Scholar] [CrossRef]
  75. Fedorov, S.V.; Ladov, S.V.; Nikol’skaya, Y.M. Numerical Analysis of Explosive Formation of High-Velocity Metal Particles from Hemisphere-Cylinder Combined Shaped-Charge Liners for the Objects Testing on Anti-Meteoric Resistance. AIP Conf. Proc. 2021, 2318, 150016. [Google Scholar] [CrossRef]
  76. Spirin, A.V.; Boltachev, G.S.; Krutikov, V.I.; Paranin, S.N.; Russkikh, P.A.; Koleukh, D.S. Surface Modification of Steel Inductor as an Attempt to Enhance Its Durability in High Pulsed Magnetic Fields; AIP Publishing: Ekaterinburg, Russia, 2019; p. 020163. [Google Scholar]
  77. Uhlmann, E.; König, C.; Ziefle, A.; Prasol, L. Coining of Micro Structures with an Electromagnetically Driven Tool. 2012. Available online: https://eldorado.tu-dortmund.de/items/0bd9eb8d-3f2f-4686-9d4e-ca8ecdd8c37b (accessed on 14 October 2024).
  78. Mironov, V.; Indriksone, E.; Beljaeva, I.; Glushchenkov, V.; Korjakins, A. Combined Magnetic Pulsed Compaction of Oxide Ceramic Powder Materials. Key Eng. Mater. 2016, 674, 88–93. [Google Scholar] [CrossRef]
  79. Lapkovsky, V.; Mironov, V.; Shishkin, A.; Zemchenkov, V. Conveying of Ferromagnetic Powder Materials by Pulsed Electromagnetic Field. In Proceedings of the Euro PM2011 Powder Metallurgy World Congress & Exhibition, Barcelona, Spain, 9–12 October 2011; European Powder Metallurgy Association: Barcelona, Spain, 2011; pp. 253–258. [Google Scholar]
  80. Usherenko, Y.; Mironovs, V.; Lapkovskis, V.; Usherenko, S.; Gluschenkov, V. Powder Particle Flow Acceleration Methods for Simulation of Interaction with Materials Used in Spacecrafts. Agron. Res. 2019, 17, 2445–2454. [Google Scholar] [CrossRef]
  81. Baroniņš, J.; Mironov, V.; Usherenko, Y. Method and Apparatus for Treatment of Materials with the Help of Pulsed Electromagnetic Field. Latvian Patent 15633 A B22F9/02, 20 June 2022. [Google Scholar]
Figure 1. Principle options of impulse compression processes: 1—detonator; 2—explosive; 3—driver unit; 4—powder; 5—plate; 6—punch; 7—liquid; 8—coil; 9—capacitor battery; 10—electrode.
Figure 1. Principle options of impulse compression processes: 1—detonator; 2—explosive; 3—driver unit; 4—powder; 5—plate; 6—punch; 7—liquid; 8—coil; 9—capacitor battery; 10—electrode.
Metals 15 00155 g001
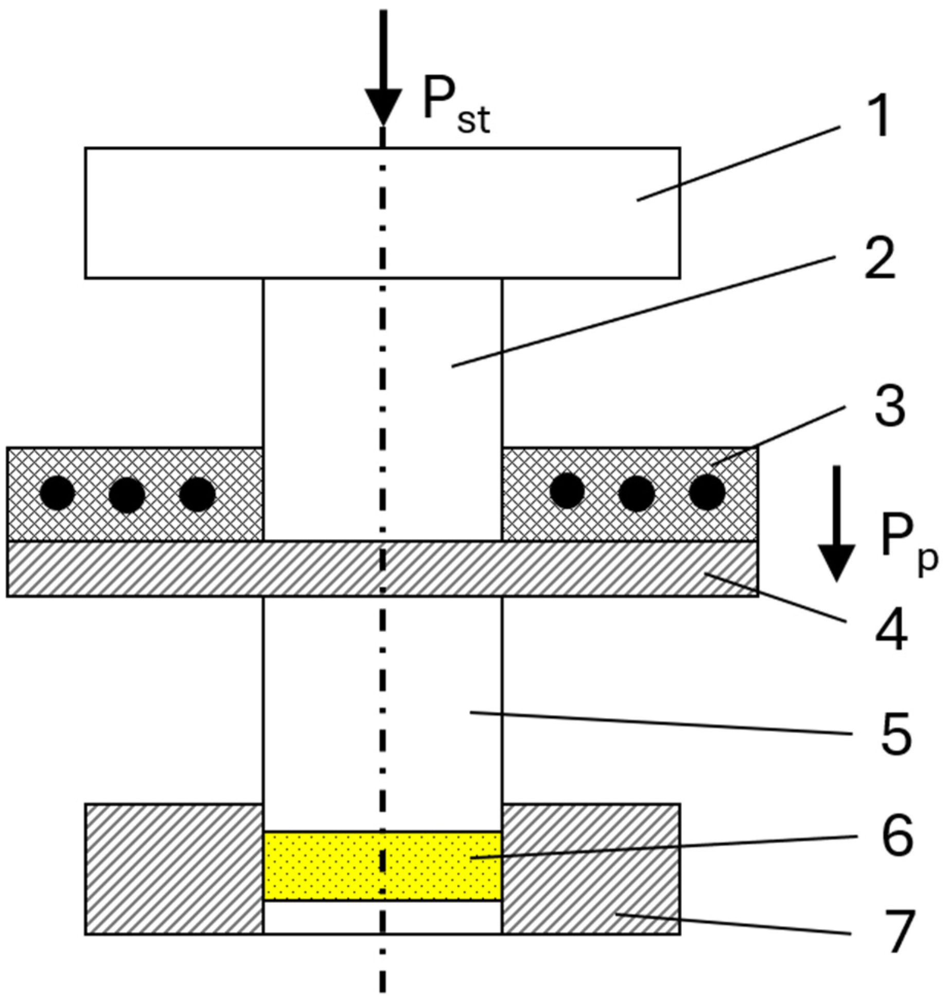
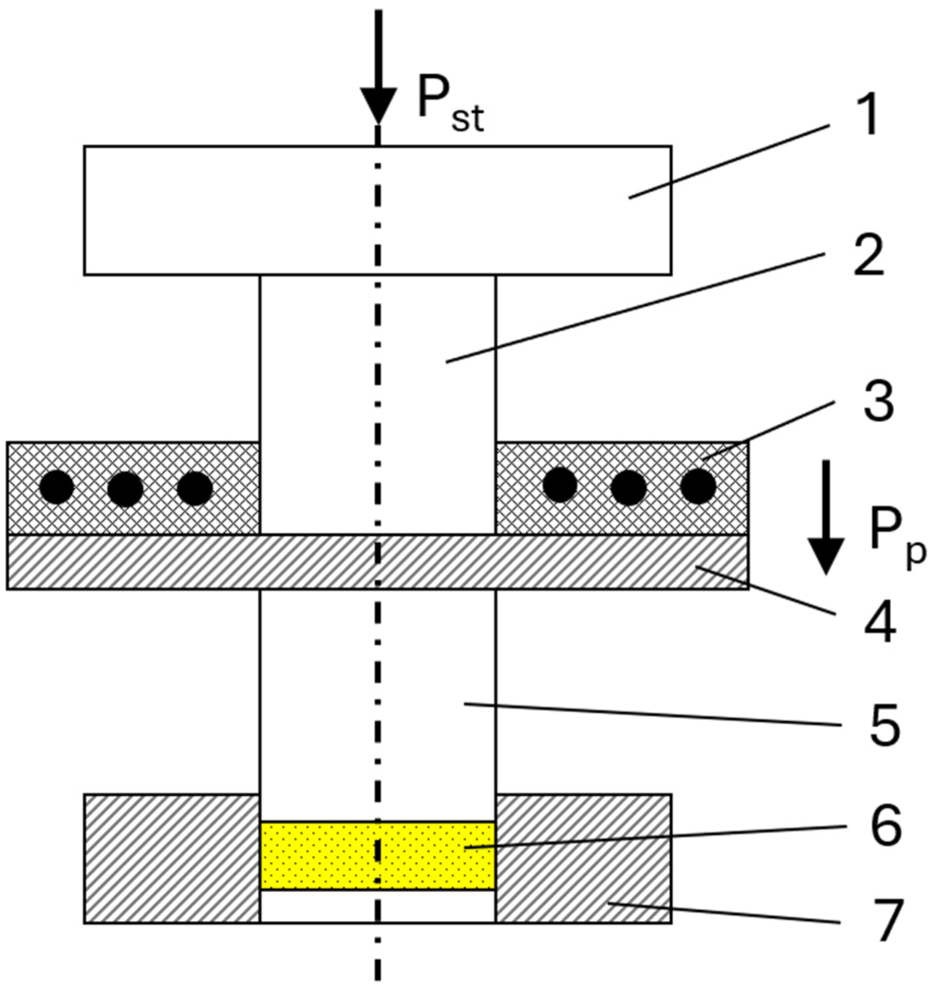
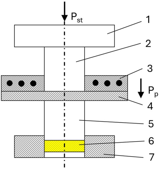
Figure 2. Principle options of magnetic pulse processing in powder metallurgy, where 1—coil (working tool); 2—capacitor battery; 3—shell; 4—powder (or sintered par); 5—punch; 6—mandrel; 7—compression mold; 8—drawing die; 9—tube.
Figure 2. Principle options of magnetic pulse processing in powder metallurgy, where 1—coil (working tool); 2—capacitor battery; 3—shell; 4—powder (or sintered par); 5—punch; 6—mandrel; 7—compression mold; 8—drawing die; 9—tube.
Metals 15 00155 g002
Figure 3. Principle schemes of using a shell: (a)—shell compaction; (b)—shell expansion; 1—coil; 2—shell; 3—powder; 4—seal ring; 5—die.
Figure 3. Principle schemes of using a shell: (a)—shell compaction; (b)—shell expansion; 1—coil; 2—shell; 3—powder; 4—seal ring; 5—die.
Metals 15 00155 g003
Figure 4. Change in relative density p of a pressed piece made from various powders depending on the level of the stored energy of equipment W (a) 1—Pb; 2—Sn, 3—Al, 4—Zn, 5—Ni electrolytic, 6—Ni-carbonyl, 7—Cu, 8—Fe, and on the feed chamber volume (b) s—powder filling thickness; ∆—Fe + 2%Cu + 0.35% C; ×—Fe + 0.5% C.
Figure 4. Change in relative density p of a pressed piece made from various powders depending on the level of the stored energy of equipment W (a) 1—Pb; 2—Sn, 3—Al, 4—Zn, 5—Ni electrolytic, 6—Ni-carbonyl, 7—Cu, 8—Fe, and on the feed chamber volume (b) s—powder filling thickness; ∆—Fe + 2%Cu + 0.35% C; ×—Fe + 0.5% C.
Metals 15 00155 g004
Figure 5. Parts produced from (a) Fe-C powder composition (residual porosity 5–10%) and (b) titanium powder-based (residual porosity 15–30%) using the MPC technique.
Figure 5. Parts produced from (a) Fe-C powder composition (residual porosity 5–10%) and (b) titanium powder-based (residual porosity 15–30%) using the MPC technique.
Metals 15 00155 g005
Figure 6. Microstructure of the iron powder ASC100.29 after MPC and sintering (a,b). After MPC, sintering, and copper melt infiltration (c,d). Sintering was performed in endogas (T = 1120 °C, t = 30 min).
Figure 6. Microstructure of the iron powder ASC100.29 after MPC and sintering (a,b). After MPC, sintering, and copper melt infiltration (c,d). Sintering was performed in endogas (T = 1120 °C, t = 30 min).
Metals 15 00155 g006
Figure 7. Principal diagrams of (a) unilateral and (b) bilateral PEMF of powders in the rigid mold: 1—coil (coil); 2—punch; 3—mold; 4—powder; 5—shock plate; I—pulsed current in the generator-coil circuit; J—current in the conductive plate; F—force.
Figure 7. Principal diagrams of (a) unilateral and (b) bilateral PEMF of powders in the rigid mold: 1—coil (coil); 2—punch; 3—mold; 4—powder; 5—shock plate; I—pulsed current in the generator-coil circuit; J—current in the conductive plate; F—force.
Metals 15 00155 g007
Figure 8. Schematic diagram of combined static-pulse pressing of powders: 1—press plate; 2—plunger; 3—coil; 4—plate with electrically conductive coating; 5—piston; 6—powder; 7—mold.
Figure 8. Schematic diagram of combined static-pulse pressing of powders: 1—press plate; 2—plunger; 3—coil; 4—plate with electrically conductive coating; 5—piston; 6—powder; 7—mold.
Metals 15 00155 g008
Figure 9. Principal Scheme of Stepped MPC + Static Compaction: (a) 1—coil; 2—copper tube; 3—powder (b) cross-section of solid form; (c) cross-section with a hole.
Figure 9. Principal Scheme of Stepped MPC + Static Compaction: (a) 1—coil; 2—copper tube; 3—powder (b) cross-section of solid form; (c) cross-section with a hole.
Metals 15 00155 g009
Figure 10. Schemes of MPC application for (a) extra compaction; (b) calibration; (c) local deformation of powder parts. 1—coil; 2—pressed powder part; 3—simple male punch; 4—electromagnetic field concentrator.
Figure 10. Schemes of MPC application for (a) extra compaction; (b) calibration; (c) local deformation of powder parts. 1—coil; 2—pressed powder part; 3—simple male punch; 4—electromagnetic field concentrator.
Metals 15 00155 g010
Figure 11. Parts produced by MPC: (a) mold block from WC-Co alloy with the Fe-C-Cu ring; (b) copper ring crimping on the filtering sintered bronze element, and (c) threading on the Fe-C-Cu sleeve.
Figure 11. Parts produced by MPC: (a) mold block from WC-Co alloy with the Fe-C-Cu ring; (b) copper ring crimping on the filtering sintered bronze element, and (c) threading on the Fe-C-Cu sleeve.
Metals 15 00155 g011
Figure 12. Scheme (a) and the pilot (b) unit for the combined MPC: 1—upper punch; 2—press mold; 3—powder; 4—lower punch; 5—coil; P—hydraulic press force; Q—electromagnetic pressure force.
Figure 12. Scheme (a) and the pilot (b) unit for the combined MPC: 1—upper punch; 2—press mold; 3—powder; 4—lower punch; 5—coil; P—hydraulic press force; Q—electromagnetic pressure force.
Metals 15 00155 g012
Figure 13. Change in density of different powder compositions under static and static–dynamic compaction. (The powders NC 100.24 Höganäs AB and the lubricant Kennolube (0.6%) 1-NC100.24 + 0.5%P; 2-NC 100.24 + 2%Cu; 3-NC 100.24 + 4% Cu + 0.6% C; 4-NC100.24 + 0.45%P + 0.2%C).
Figure 13. Change in density of different powder compositions under static and static–dynamic compaction. (The powders NC 100.24 Höganäs AB and the lubricant Kennolube (0.6%) 1-NC100.24 + 0.5%P; 2-NC 100.24 + 2%Cu; 3-NC 100.24 + 4% Cu + 0.6% C; 4-NC100.24 + 0.45%P + 0.2%C).
Metals 15 00155 g013
Figure 14. Change in compaction density (not sintered) depending on the specific energy of the discharge W: 0.8; 0.9; 1.0 and 1.2 kJ/sm3.
Figure 14. Change in compaction density (not sintered) depending on the specific energy of the discharge W: 0.8; 0.9; 1.0 and 1.2 kJ/sm3.
Metals 15 00155 g014
Figure 15. Change in compaction density (not sintered) depending on the number of pulses and the specific energy of discharge 0.9 kJ/sm3 (The powders NC 100.24 Höganäs AB and the lubricant Kennolube (0.6%)).
Figure 15. Change in compaction density (not sintered) depending on the number of pulses and the specific energy of discharge 0.9 kJ/sm3 (The powders NC 100.24 Höganäs AB and the lubricant Kennolube (0.6%)).
Metals 15 00155 g015
Figure 16. Experimental products using MPC: (a)—a copper tube with inner powder coating (outer diameter 18 mm, length 300 mm); (b)—a cross-section of a two-layered part with an inner piece of WC-Co alloy and an external frame of Fe-C-Cu alloy.
Figure 16. Experimental products using MPC: (a)—a copper tube with inner powder coating (outer diameter 18 mm, length 300 mm); (b)—a cross-section of a two-layered part with an inner piece of WC-Co alloy and an external frame of Fe-C-Cu alloy.
Metals 15 00155 g016
Figure 17. Device for the movement of powder materials: general view (a), powder loading unit (b). 1—pulse generator; 2—fuse; 3—guide pipe; 4—inductor; 5—powder container; 6—feed pipe; 7—feeder.
Figure 17. Device for the movement of powder materials: general view (a), powder loading unit (b). 1—pulse generator; 2—fuse; 3—guide pipe; 4—inductor; 5—powder container; 6—feed pipe; 7—feeder.
Metals 15 00155 g017
Disclaimer/Publisher’s Note: The statements, opinions and data contained in all publications are solely those of the individual author(s) and contributor(s) and not of MDPI and/or the editor(s). MDPI and/or the editor(s) disclaim responsibility for any injury to people or property resulting from any ideas, methods, instructions or products referred to in the content.

Share and Cite

MDPI and ACS Style

Mironovs, V.; Nikitina, J.; Kolbe, M.; Boiko, I.; Usherenko, Y. Magnetic Pulse Powder Compaction. Metals 2025, 15, 155. https://doi.org/10.3390/met15020155

AMA Style

Mironovs V, Nikitina J, Kolbe M, Boiko I, Usherenko Y. Magnetic Pulse Powder Compaction. Metals. 2025; 15(2):155. https://doi.org/10.3390/met15020155

Chicago/Turabian Style

Mironovs, Viktors, Jekaterina Nikitina, Matthias Kolbe, Irina Boiko, and Yulia Usherenko. 2025. "Magnetic Pulse Powder Compaction" Metals 15, no. 2: 155. https://doi.org/10.3390/met15020155

APA Style

Mironovs, V., Nikitina, J., Kolbe, M., Boiko, I., & Usherenko, Y. (2025). Magnetic Pulse Powder Compaction. Metals, 15(2), 155. https://doi.org/10.3390/met15020155

Note that from the first issue of 2016, this journal uses article numbers instead of page numbers. See further details here.

Article Metrics

Back to TopTop