Preparation Method and Properties of Q235/5083 Composite Plate with 1060 Interlayer by Differential Temperature Rolling with Induction Heating
Abstract
:1. Introduction
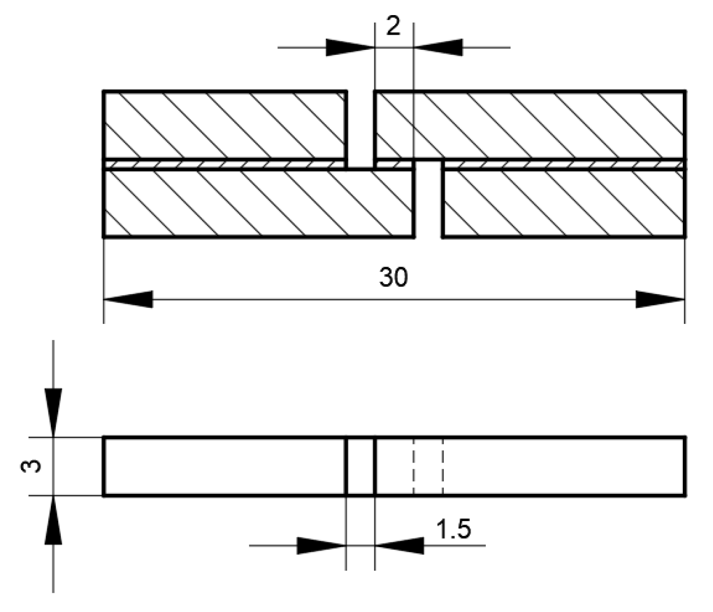
2. Materials and Methods
3. Results
3.1. Shear Strength of Composite Plates
3.1.1. Strength of Carbon-Steel/Pure-Aluminum/Aluminum-Alloy Composite Plates
3.1.2. Strength of Carbon-Steel/Pure-Aluminum/Aluminum-Alloy Composite Plate without Interlayer
3.2. Microscopic Characterization of Bonding Interfaces
4. Conclusions
- A high-temperature carbon steel, molten pure aluminum, and low-temperature aluminum alloy billet can be formed by induction heating, and then effective bonding can be formed through rolling. However, without the addition of a pure aluminum interlayer, carbon steel and aluminum alloys cannot be bonded under the same process conditions;
- When the intermediate frequency induction heating power is 30 kW and the heating time is 10–18 s, a good bonding effect can be achieved under a 31% reduction rate. The interfacial shear strength of carbon-steel/pure-aluminum /aluminum-alloy composite plates is more than 68 MPa, and the shear fracture occurs at the pure-aluminum interlayer;
- When the induction heating time exceeds 20 s, a large number of compounds will be generated at the carbon-steel/pure-aluminum bonding interface, seriously weakening the bonding strength of the composite plate.
Author Contributions
Funding
Institutional Review Board Statement
Informed Consent Statement
Data Availability Statement
Conflicts of Interest
References
- Manesh, H.D.; Taheri, A.K. The effect of annealing treatment on mechanical properties of aluminum clad steel sheet. Mater. Des. 2003, 24, 617–622. [Google Scholar] [CrossRef]
- Yang, Y.; Zhang, F.; He, J.; Qin, Y.; Liu, B.; Yang, M.; Yin, F. Microstructure, growth kinetics and mechanical properties of interface layer for roll bonded aluminum-steel clad sheet annealed under argon gas protection. Vacuum 2018, 151, 196–198. [Google Scholar] [CrossRef]
- Deng, Z.; Xiao, H.; Yu, C. Effect of intermetallic compounds distribution on bonding strength of steel–aluminum laminates. Mater. Des. 2022, 222, 111106. [Google Scholar] [CrossRef]
- Wilson Dhileep Kumar, C.; Saravanan, S.; Raghukandan, K. Numerical and experimental investigation on aluminum 6061-V-grooved stainless steel 304 explosive cladding. Def. Technol. 2022, 18, 249–260. [Google Scholar] [CrossRef]
- Deng, Z.; Yu, C.; Xiao, H. Effect of surface treatment on bonding strength of hot rolled steel aluminum clad plate. IOP Conf. Ser. Mater. Sci. Eng. 2022, 1270, 012016. [Google Scholar] [CrossRef]
- Guo, X.; Wang, H.; Liu, Z.; Wang, L.; Ma, F.; Tao, J. Interface and performance of CLAM steel/aluminum clad tube prepared by explosive bonding method. Int. J. Adv. Manuf. Technol. 2016, 82, 543–548. [Google Scholar] [CrossRef]
- Chen, G.; Li, J.; Yu, H.; Su, L.; Xu, G.; Pan, J.; You, T.; Zhang, G.; Sun, K.; He, L. Investigation on bonding strength of steel/aluminum clad sheet processed by horizontal twin-roll casting, annealing and cold rolling. Mater. Des. 2016, 112, 263–274. [Google Scholar] [CrossRef]
- Chen, G.; Xu, G. Interfacial reaction in twin-roll cast AA1100/409L clad sheet during different sequence of cold rolling and annealing. Met. Mater. Int. 2021, 27, 3013–3025. [Google Scholar] [CrossRef]
- Yang, Y.; Wei, C.; Yao, Y.; Chen, X.; Li, W.; Jia, Y.; Chen, Z.; Hu, J. Explosive cladding of Monel alloy tube and copper rod. Int. J. Mech. Sci. 2023, 247, 108173. [Google Scholar] [CrossRef]
- Balasubramanian, V.; Rathinasabapathi, M.; Raghukandan, K. Modelling of process parameters in explosive cladding of mildsteel and aluminium. J. Mater. Process. Technol. 1997, 63, 83–88. [Google Scholar] [CrossRef]
- Kovacs-Coskun, T.; Volgy, B.; Sikari-Nagl, I. Investigation of aluminum-steel joint formed by explosion welding. J. Phys. Conf. Ser. 2013, 602, 012026. [Google Scholar] [CrossRef]
- Tricarico, L.; Spina, R.; Sorgente, D.; Brandizzi, M. Effects of heat treatments on mechanical properties of Fe/Al explosion-welded structural transition joints. Mater. Des. 2009, 30, 2693–2700. [Google Scholar] [CrossRef]
- Saravanan, S.; Raghukandan, K. Microstructure, strength and welding window of aluminum-alloy−stainless steel explosive cladding with different interlayers. Trans. Nonferrous Met. Soc. China 2022, 32, 91–103. [Google Scholar] [CrossRef]
- Chen, Z.; Xu, J.; Zhou, H.; Chen, D.; Yang, M.; Ma, H.; Shen, Z.; Zhang, B. Experimental and numerical investigation on fabricating multiple plates by an energy effective explosive welding technique. J. Mater. Res. Technol. 2021, 14, 3111–3122. [Google Scholar] [CrossRef]
- Yang, M.; Ma, H.; Shen, Z. Study on explosive welding of Ta2 titanium to Q235 steel using colloid water as a covering for explosives. J. Mater. Res. Technol. 2019, 8, 5572–5580. [Google Scholar] [CrossRef]
- Zhang, H.; Chen, G. Fabrication of Cu/Al compound materials by solid-liquid bonding method and interface bonding mechanism. Chin. J. Nonferrous Met. 2008, 18, 414–420. [Google Scholar]
- Mao, A.; Zhang, J.; Yao, S.; Wang, A.; Wang, W.; Li, Y.; Qiao, C.; Xie, J.; Jia, Y. The diffusion behaviors at the Cu-Al solid-liquid interface: A molecular dynamics study. Results Phys. 2020, 16, 102998. [Google Scholar] [CrossRef]
- Grydin, O.; Gerstein, G.; Nürnberger, F.; Schaper, M.; Danchenko, V. Twin-roll casting of aluminum-steel clad strips. J. Manuf. Process. 2013, 15, 501–507. [Google Scholar] [CrossRef]
- Cook, R.; Grocock, P.; Thomas, P.; Edmonds, D.; Hunt, J. Development of the twin-roll casting process. J. Mater. Process. Technol. 1995, 55, 76–84. [Google Scholar] [CrossRef]
- Ren, Z.; Guo, X.; Liu, X.; Ma, X.; Jiang, S.; Bian, L.; Wang, T.; Huang, Q. Effect of pulse current treatment on interface structure and mechanical behavior of TA1/304 clad plates. Mater. Sci. Eng. A 2022, 850, 143583. [Google Scholar] [CrossRef]
- Zixuan, L.; Shahed, R.; Tao, W.; Han, J.; Shu, X.; Pater, Z.; Huang, Q. Recent advances and trends in roll bonding process and bonding model: A review. Chin. J. Aeronaut. 2023, 36, 36–74. [Google Scholar]
- Li, J.; Jiang, F.; Li, Y.; Zhang, M.; Chen, C.; Yang, Z.; Zhang, F. Effect of warm-rolling on the strength and ductility of multilayered composite steel. Mater. Sci. Eng. A 2022, 841, 143043. [Google Scholar] [CrossRef]
- Nie, J.; Wang, F.; Li, Y.; Liu, Y.; Liu, X.; Zhao, Y. Microstructure and mechanical properties of Al-TiB2/TiC in situ composites improved via hot rolling. Trans. Nonferrous Met. Soc. China 2017, 27, 2548–2554. [Google Scholar] [CrossRef]
- Rahmatabadi, D.; Tayyebi, M.; Hashemi, R.; Faraji, G. Evaluation of microstructure and mechanical properties of multilayer al5052–cu composite produced by accmulative roll bonding. Powder Metall. Met. Ceram. 2018, 57, 144–153. [Google Scholar] [CrossRef]
- Zhu, Z.; Liu, Y.; Gou, G.; Gao, W.; Chen, J. Effect of heat input on interfacial characterization of the butter joint of hot-rolling CP-Ti/Q235 bimetallic sheets by Laser +CMT. Sci. Rep. 2021, 11, 10020. [Google Scholar] [CrossRef]
- Manesh, H.D.; Taheri, A.K. Bond Strength and Formability of an Aluminum-Clad Steel Sheet. J. Alloys Compd. 2003, 361, 138–143. [Google Scholar] [CrossRef]
- Movahedi, M.; Kokabi, A.H.; Reihani, S.M.S. Investigation on the Bond Strength of Al-1100/St-12 Roll Bonded Sheets, Optimization and Characterization. Mater. Des. 2011, 32, 3143–3149. [Google Scholar] [CrossRef]
- Nezhad, M.S.A.; Ardakani, A.H. A Study of Joint Quality of Aluminum and Low Carbon-steel Strips by Warm Rolling. Mater. Des. 2009, 30, 1103–1109. [Google Scholar] [CrossRef]
- Xiao, H.; Xu, P.; Qi, Z.; Wu, Z.; Zhao, Y. Preparation of steel/aluminum laminated composites by differential temperature rolling with induction heating. Acta Metall. Sin. 2020, 56, 231–239. [Google Scholar]
- Sadeghipour, K.; Dopkin, J.A.; Li, K. A computer aided finite element/experimental analysis of induction heating process of steel. Comput. Ind. 1996, 28, 195–205. [Google Scholar] [CrossRef]












| Materials | Element | ||||||
|---|---|---|---|---|---|---|---|
| Q235 | C | S | P | Mn | Si | Fe | |
| 0.05 | 0.01 | 0.015 | 0.35 | 0.12 | Bal. | ||
| 5083 | Si | Fe | Cu | Mg | Cr | Zn | Al |
| 0.21 | 0.25 | 0.06 | 0.75 | 0.11 | 0.12 | Bal. | |
| 6061 | Si | Fe | Ti | Al | |||
| 0.08 | 0.26 | 0.013 | Bal. | ||||
Disclaimer/Publisher’s Note: The statements, opinions and data contained in all publications are solely those of the individual author(s) and contributor(s) and not of MDPI and/or the editor(s). MDPI and/or the editor(s) disclaim responsibility for any injury to people or property resulting from any ideas, methods, instructions or products referred to in the content. |
© 2023 by the authors. Licensee MDPI, Basel, Switzerland. This article is an open access article distributed under the terms and conditions of the Creative Commons Attribution (CC BY) license (https://creativecommons.org/licenses/by/4.0/).
Share and Cite
Yu, C.; Zhang, W.; Jiang, R.; Wu, Y.; Xiao, H. Preparation Method and Properties of Q235/5083 Composite Plate with 1060 Interlayer by Differential Temperature Rolling with Induction Heating. Metals 2023, 13, 1501. https://doi.org/10.3390/met13091501
Yu C, Zhang W, Jiang R, Wu Y, Xiao H. Preparation Method and Properties of Q235/5083 Composite Plate with 1060 Interlayer by Differential Temperature Rolling with Induction Heating. Metals. 2023; 13(9):1501. https://doi.org/10.3390/met13091501
Chicago/Turabian StyleYu, Chao, Wenzhe Zhang, Runwu Jiang, Yuhua Wu, and Hong Xiao. 2023. "Preparation Method and Properties of Q235/5083 Composite Plate with 1060 Interlayer by Differential Temperature Rolling with Induction Heating" Metals 13, no. 9: 1501. https://doi.org/10.3390/met13091501
APA StyleYu, C., Zhang, W., Jiang, R., Wu, Y., & Xiao, H. (2023). Preparation Method and Properties of Q235/5083 Composite Plate with 1060 Interlayer by Differential Temperature Rolling with Induction Heating. Metals, 13(9), 1501. https://doi.org/10.3390/met13091501

