Open-Access Experiment Dataset for Fatigue Damage Accumulation and Life Prediction Models
Abstract
1. Introduction
2. Materials and Methods
2.1. Basic Material Characterization
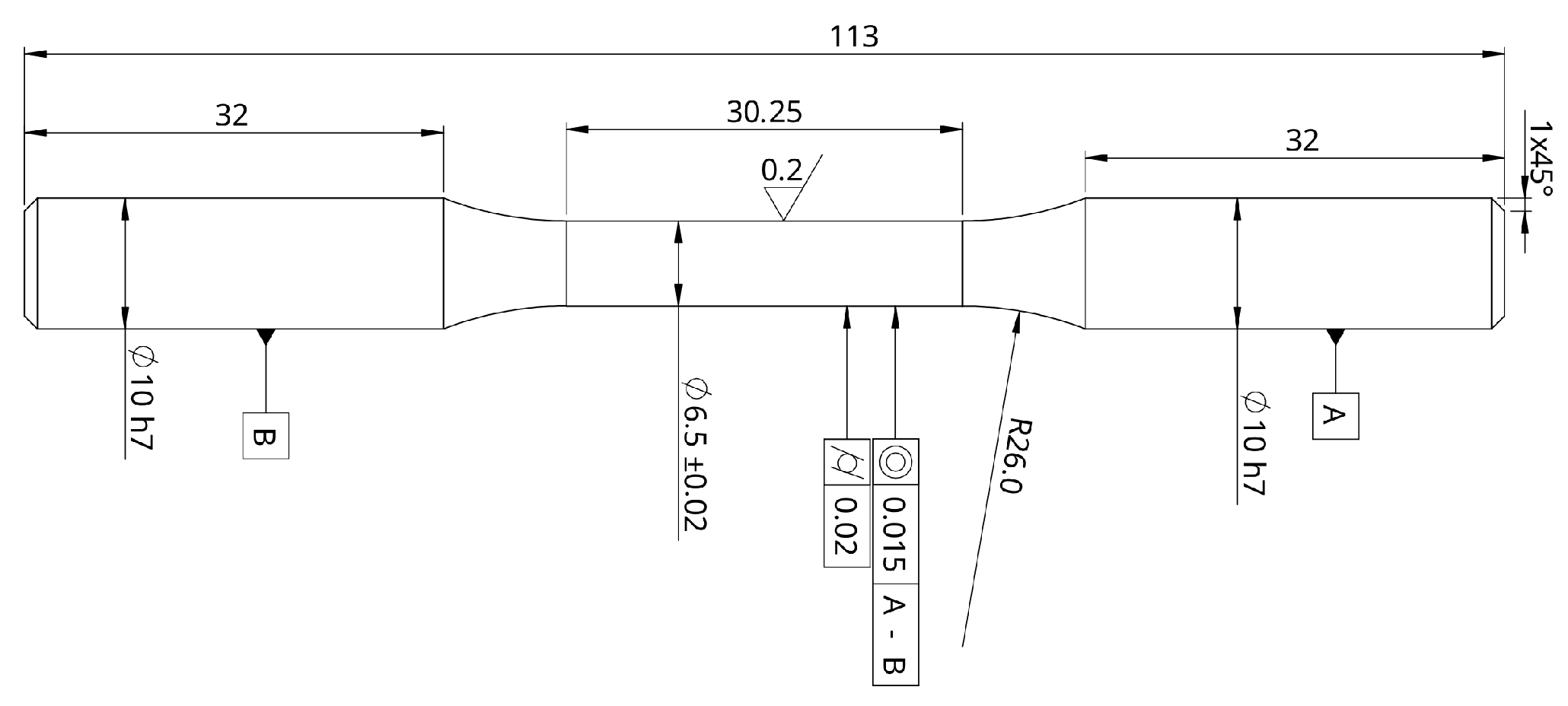
2.2. Fatigue Testing Setup and Specimen Configuration
2.3. Constant Amplitude Fatigue Properties
2.4. Block Loading Experiments
2.4.1. Test Program
2.4.2. Two-Level Block Loading: Results & Discussion
2.4.3. Three-Level Block Loading: Results and Discussion
3. Model Comparison
3.1. Overview
3.2. Two-Level Block Loading Comparison
3.3. Three Level Block Loading
4. Conclusions
- The two- and three-level block loading experiments showed that, even accounting for scatter on fatigue life by using the upper and lower bound 95% confidence intervals of the S-N curves, Miner’s linear damage accumulation rule is not able to adequately describe the observed damage accumulation behavior, resulting in both conservative and non-conservative predictions.
- A comparative study of five prominent fatigue damage accumulation models showed that Miner’s rule is consistently the worst performing model. It was found that for two-level block loading, the damage curve approach of Manson and Halford performed best. For three-level block loading, the DSM model of Mesmacque et al., which was one of the worst performing models for two-level block loading, performed best. This indicates that future experimental research should focus on multi-level block loading compared to two-level block loading. The latter, however, remains an important benchmark for gaining insight into the fundamental understanding of load sequence and load interaction effects.
- The main objective of this study was to create a comprehensive and reliable open-access database comprising high-quality data. Access to all the raw experimental data is available via the link provided in the data availability statement at the end of this paper. The authors plan to continue augmenting this dataset with additional experimental findings in the future, thereby aiding the development of data-driven methods for fatigue life prediction. While the size of dataset currently presented is still insufficient, the authors intend to set a precedent for data collection and reporting standards.
Author Contributions
Funding
Data Availability Statement
Acknowledgments
Conflicts of Interest
Appendix A. Experimental Results Constant Amplitude Loading
| Stress Amplitude [MPa] | Cycles to Failure | Test Frequency [RPM] |
|---|---|---|
| 186.06 | Run-out | 4000 |
| 230.02 | Run-out | 4000 |
| 230.09 | Run-out | 4000 |
| 232.39 | Run-out | 4000 |
| 232.40 | Run-out | 4000 |
| 232.44 | 1,727,054 | 4000 |
| 232.48 | Run-out | 4000 |
| 232.48 | Run-out | 4000 |
| 232.64 | Run-out | 4000 |
| 232.76 | Run-out | 4000 |
| 234.83 | 2,077,810 | 4000 |
| 234.84 | 1,328,522 | 4000 |
| 234.98 | 1,072,703 | 4000 |
| 235.02 | 502,629 | 4000 |
| 235.13 | 7,292,489 | 4000 |
| 235.21 | Run-out | 4000 |
| 235.31 | 918,216 | 4000 |
| 235.61 | 705,992 | 4000 |
| 237.80 | 1,655,916 | 4000 |
| 240.08 | 1,068,136 | 4000 |
| 242.53 | 956,867 | 4000 |
| 245.35 | 495,745 | 3000 |
| 246.43 | 607,824 | 2000 |
| 247.38 | 384,489 | 4000 |
| 250.21 | 425,629 | 4000 |
| 252.35 | 659,037 | 1500 |
| 255.19 | 603,090 | 2000 |
| 260.15 | 288,380 | 2000 |
| 265.12 | 105,487 | 4000 |
| 273.02 | 87,287 | 3000 |
| 282.26 | 67,402 | 3000 |
| 311.15 | 36,145 | 500 |
| Stress Amplitude [MPa] | Cycles to Failure | Test Frequency [RPM] |
|---|---|---|
| 222.67 | Run-out | 4000 |
| 224.86 | 1,634,316 | 4000 |
| 224.97 | Run-out | 4000 |
| 224.99 | Run-out | 4000 |
| 225.19 | Run-out | 4000 |
| 227.26 | 1,411,137 | 4000 |
| 227.26 | Run-out | 4000 |
| 227.46 | Run-out | 4000 |
| 227.53 | Run-out | 4000 |
| 227.55 | 3,407,330 | 4000 |
| 229.93 | 2,468,304 | 4000 |
| 229.95 | Run-out | 4000 |
| 229.95 | Run-out | 4000 |
| 230.00 | 1,241,237 | 4000 |
| 230.00 | 3,099,455 | 4000 |
| 232.43 | 1,755,321 | 4000 |
| 234.80 | 2,323,842 | 4000 |
| 234.98 | 904,263 | 4000 |
| 236.99 | 424,037 | 4000 |
| 237.36 | 812,867 | 4000 |
| 239.25 | 802,647 | 4000 |
| 243.26 | 693,499 | 4000 |
| 256.02 | 216,364 | 4000 |
| 260.59 | 414,138 | 1500 |
| 265.33 | 175,072 | 1500 |
| 269.98 | 226,824 | 1000 |
| 274.72 | 127,698 | 1000 |
| 279.69 | 124,317 | 500 |
Appendix B. Experimental Results Two-Level Block Loading
| [MPa] | [MPa] | [Cycles] | [Cycles] | |||
|---|---|---|---|---|---|---|
| 260 | 235 | 73,001 | 678,288 | 0.25 | 0.51 | 0.76 |
| 260 | 235 | 145,370 | 396,487 | 0.50 | 0.30 | 0.80 |
| 260 | 235 | 218,053 | 160,192 | 0.75 | 0.12 | 0.87 |
| 254 | 235 | 103,219 | 477,423 | 0.25 | 0.36 | 0.61 |
| 254 | 235 | 136,246 | 282,973 | 0.33 | 0.21 | 0.55 |
| 254 | 235 | 206,433 | 280,271 | 0.50 | 0.21 | 0.71 |
| 254 | 235 | 309,651 | 66,195 | 0.75 | 0.05 | 0.80 |
| 247 | 235 | 157,057 | Run-out | 0.25 | N/A | N/A |
| 247 | 235 | 314,115 | 2,016,315 | 0.50 | 1.52 | 2.00 |
| 247 | 235 | 471,171 | 619,827 | 0.75 | 0.47 | 1.22 |
| 242 | 235 | 213,537 | 416,096 | 0.25 | 0.31 | 0.57 |
| 242 | 235 | 427,070 | 229,793 | 0.50 | 0.17 | 0.67 |
| 242 | 235 | 640,604 | 253,396 | 0.75 | 0.19 | 0.94 |
| [MPa] | [MPa] | [Cycles] | [Cycles] | |||
|---|---|---|---|---|---|---|
| 245 | 235 | 75,045 | 675,049 | 0.11 | 0.56 | 0.67 |
| 260 | 235 | 33,135 | 864,860 | 0.11 | 0.72 | 0.83 |
| 245 | 235 | 150,092 | 2,433,365 | 0.22 | 2.03 | 2.26 |
| 260 | 235 | 66,266 | 772,804 | 0.22 | 0.65 | 0.87 |
| 245 | 235 | 225,134 | Run-out | 0.33 | N/A | N/A |
| 260 | 235 | 99,399 | 380,673 | 0.33 | 0.32 | 0.65 |
| 245 | 235 | 300,179 | 921,984 | 0.44 | 0.77 | 1.22 |
| 260 | 235 | 132,531 | 487,419 | 0.56 | 0.41 | 0.97 |
| 245 | 235 | 375,223 | 173,245 | 0.56 | 0.15 | 0.70 |
| 245 | 235 | 450,268 | 507,730 | 0.67 | 0.42 | 1.09 |
| 260 | 235 | 198,797 | 146,335 | 0.67 | 0.12 | 0.78 |
| 245 | N/A | 343,558 * | N/A | 0.78 | N/A | 0.51 |
| 245 | N/A | 177,815 * | N/A | 0.78 | N/A | 0.26 |
| 260 | N/A | 218,995 * | N/A | 0.78 | N/A | 0.73 |
| 260 | N/A | 159,496 * | N/A | 0.78 | N/A | 0.54 |
| [MPa] | [MPa] | [Cycles] | [Cycles] | |||
|---|---|---|---|---|---|---|
| 235 | 260 | 331,857 | 199,470 | 0.25 | 0.69 | 0.94 |
| 235 | 260 | 663,712 | 344,260 | 0.50 | 1.18 | 1.69 |
| 235 | 260 | 995,571 | 340,910 | 0.75 | 1.17 | 1.92 |
| 235 | 254 | 331,857 | 268,888 | 0.25 | 0.65 | 0.90 |
| 235 | 254 | 663,713 | 258,245 | 0.50 | 0.63 | 1.13 |
| 235 | 254 | 995,569 | 282,793 | 0.75 | 0.68 | 1.44 |
| 235 | 247 | 331,856 | 432,468 | 0.25 | 0.69 | 0.94 |
| 235 | 247 | 663,712 | 469,699 | 0.50 | 0.75 | 1.24 |
| 235 | 247 | 995,570 | 963,602 | 0.75 | 1.53 | 2.27 |
| 235 | 242 | 331,858 | 944,726 | 0.25 | 1.11 | 1.36 |
| 235 | 242 | 663,713 | 654,593 | 0.50 | 0.77 | 1.26 |
| 235 | 242 | 995,571 | 605,047 | 0.75 | 0.71 | 1.47 |
| [MPa] | [MPa] | [Cycles] | [Cycles] | |||
|---|---|---|---|---|---|---|
| 235 | 245 | 133,002 | 438,514 | 0.11 | 0.65 | 0.76 |
| 235 | 260 | 133,002 | 210,924 | 0.11 | 0.71 | 0.82 |
| 235 | 245 | 266,288 | 667,807 | 0.22 | 0.99 | 1.21 |
| 235 | 260 | 266,285 | 181,286 | 0.22 | 0.61 | 0.83 |
| 235 | 245 | 399,429 | 983,971 | 0.33 | 1.45 | 1.79 |
| 235 | 260 | 399,429 | 95,080 | 0.33 | 0.32 | 0.65 |
| 235 | 245 | 532,574 | 530,954 | 0.44 | 0.79 | 1.23 |
| 235 | 260 | 532,573 | 171,816 | 0.44 | 0.58 | 1.02 |
| 235 | 245 | 665,714 | 1,259,287 | 0.56 | 1.87 | 2.43 |
| 235 | 260 | 665,714 | 168,263 | 0.56 | 0.57 | 1.12 |
| 235 | 245 | 798,859 | 199,786 | 0.67 | 0.30 | 0.96 |
| 235 | 260 | 798,859 | 168,169 | 0.67 | 0.56 | 1.23 |
| 235 | 245 | 932,002 | 552,328 | 0.78 | 0.82 | 1.59 |
| 235 | 260 | 932,003 | 187,170 | 0.78 | 0.63 | 1.41 |
Appendix C. Experimental Results Three-Level Block Loading
| Type | ||||||||||
|---|---|---|---|---|---|---|---|---|---|---|
| H–L–M | 260 | 235 | 242 | 95,945 | 438,050 | 187,988 | 0.33 | 0.33 | 0.22 | 0.88 |
| H–L–M | 260 | 235 | 254 | 95,943 | 438,050 | 252,269 | 0.33 | 0.33 | 0.61 | 1.27 |
| H–M–L | 260 | 254 | 235 | 95,945 | 136,246 | 540,687 | 0.33 | 0.33 | 0.41 | 1.07 |
| H–M–L | 260 | 242 | 235 | 95,945 | 235,057 * | N/A | 0.33 | 0.28 | N/A | 0.61 |
| H–M–L | 260 | 242 | 235 | 95,945 | 281,866 | 430,011 | 0.33 | 0.33 | 0.32 | 0.98 |
| L–M–H | 235 | 254 | 260 | 438,052 | 136,246 | 89,913 | 0.33 | 0.33 | 0.31 | 0.97 |
| L–M–H | 235 | 242 | 260 | 483,053 | 281,866 | 107,603 | 0.36 | 0.33 | 0.37 | 1.06 |
| L–H–M | 235 | 260 | 242 | 438,050 | 95,943 | 161,885 | 0.33 | 0.33 | 0.19 | 0.85 |
| L–H–M | 235 | 260 | 254 | 438,050 | 95,943 | 165,100 | 0.33 | 0.33 | 0.40 | 1.06 |
| M–H–L | 254 | 260 | 235 | 136,246 | 95,945 | 1,532,312 | 0.33 | 0.33 | 1.15 | 1.82 |
| M–H–L | 242 | 260 | 235 | 281,867 | 95,945 | 57,539 | 0.33 | 0.33 | 0.04 | 0.70 |
| M–L–H | 254 | 235 | N/A | 136,246 | 282,973 * | N/A | 0.33 | 0.22 | N/A | 0.55 |
| M–L–H | 242 | 235 | 260 | 281,869 | 438,050 | 129,246 | 0.33 | 0.33 | 0.44 | 1.11 |
| Type | ||||||||||
|---|---|---|---|---|---|---|---|---|---|---|
| H–L–M | 260 | 235 | 251 | 98,405 | 367,498 * | N/A | 0.33 | 0.31 | N/A | 0.64 |
| H–L–M | 260 | 235 | 242 | 98,405 | 176,340 * | N/A | 0.33 | 0.15 | N/A | 0.48 |
| H–M–L | 260 | 243 | 235 | 98,405 | 249,490 | 561,935 | 0.33 | 0.33 | 0.47 | 1.14 |
| H–M–L | 260 | 251 | 234 | 98,405 | 159,776 | 201,720 | 0.33 | 0.33 | 0.17 | 0.83 |
| L–H–M | 235 | 260 | 251 | 395,435 | 98,405 | 31 158 | 0.33 | 0.33 | 0.06 | 0.72 |
| L–H–M | 235 | 260 | 242 | 395,435 | 98,405 | 247 761 | 0.33 | 0.33 | 0.33 | 0.99 |
| L–M–H | 243 | 251 | 260 | 249,490 | 159,776 | 212,263 | 0.33 | 0.33 | 0.71 | 1.37 |
| L–M–H | 235 | 251 | 260 | 395,435 | 159,776 | 254,015 | 0.33 | 0.33 | 0.85 | 1.51 |
| L–M–H | 235 | 243 | 260 | 395,435 | 249,490 | 208,317 | 0.33 | 0.33 | 0.70 | 1.35 |
| M–H–L | 243 | 260 | 235 | 249,490 | 98,405 | 138,319 | 0.33 | 0.33 | 0.12 | 0.78 |
| M–H–L | 251 | 260 | 234 | 159,776 | 98,405 | 492,782 | 0.33 | 0.33 | 0.41 | 1.07 |
| M–L–H | 243 | 235 | 260 | 249,490 | 395,435 | 72,283 | 0.33 | 0.33 | 0.24 | 0.90 |
| M–L–H | 251 | 243 | 260 | 159,776 | 249,490 | 106,540 | 0.33 | 0.33 | 0.36 | 1.02 |
| M–L–H | 251 | 235 | 260 | 159,776 | 395,435 | 275,069 | 0.33 | 0.33 | 0.92 | 1.59 |
References
- Palmgren, A.G. Die Lebensdauer von Kugellagern (Life Length of Roller Bearings or Durability of Ball Bearings). Z. Vereines Dtsch. Ingenieure (ZVDI) 1924, 68, 339–341. [Google Scholar]
- Miner, M.A. Cumulative damage in Fatigue. J. Appl. Mech. 1945, 12, A159–A164. [Google Scholar] [CrossRef]
- Schütz, W. A history of fatigue. Eng. Fract. Mech. 1996, 54, 263–300. [Google Scholar] [CrossRef]
- Manson, S.S.; Halford, G.R. Practical implementation of the double linear damage rule and damage curve approach for treating cumulative fatigue damage. Int. J. Fract. 1981, 17, 169–192. [Google Scholar] [CrossRef]
- Porter, T.R. Method of analysis and prediction for variable amplitude fatigue crack growth. Eng. Fract. Mech. 1972, 4, 717–736. [Google Scholar] [CrossRef]
- Fatemi, A.; Yang, L. Cumulative fatigue damage and life prediction theories: A survey of the state of the art for homogeneous materials. Int. J. Fatigue 1998, 20, 9–34. [Google Scholar] [CrossRef]
- Bandara, C.S.; Siriwardane, S.C.; Dissanayake, U.I.; Dissanayake, R. Fatigue failure predictions for steels in the very high cycle region—A review and recommendations. Eng. Fail. Anal. 2014, 45, 421–435. [Google Scholar] [CrossRef]
- Santecchia, E.; Hamouda, A.M.S.; Musharavati, F.; Zalnezhad, E.; Cabibbo, M.; El Mehtedi, M.; Spigarelli, S. A Review on Fatigue Life Prediction Methods for Metals. Adv. Mater. Sci. Eng. 2016, 2016, 1–26. [Google Scholar] [CrossRef]
- Jimenez-Martinez, M. Fatigue of offshore structures: A review of statistical fatigue damage assessment for stochastic loadings. Int. J. Fatigue 2020, 132. [Google Scholar] [CrossRef]
- Hectors, K.; De Waele, W. Cumulative damage and life prediction models for high-cycle fatigue of metals: A review. Metals 2021, 11, 204. [Google Scholar] [CrossRef]
- Pavlou, D. A deterministic algorithm for nonlinear, fatigue-based structural health monitoring. Comput. Aided Civ. Infrastruct. Eng. 2022, 37, 809–831. [Google Scholar] [CrossRef]
- Bjørheim, F.; Pavlou, D.G.; Siriwardane, S.C. Nonlinear fatigue life prediction model based on the theory of the S-N fatigue damage envelope. Fatigue Fract. Eng. Mater. Struct. 2022, 45, 1480–1493. [Google Scholar] [CrossRef]
- Yu, A.; Huang, H.Z.; Li, Y.F.; Yang, W.; Deng, Z. A modified nonlinear fatigue damage accumulation model for life prediction of rolling bearing under variable loading conditions. Fatigue Fract. Eng. Mater. Struct. 2022, 45, 852–864. [Google Scholar] [CrossRef]
- Zhu, D.; Zhang, W.; Ding, Z. A modified fatigue damage model considering loading sequence effect. Int. J. Damage Mech. 2022, 31, 1027–1056. [Google Scholar] [CrossRef]
- Patil, N.; Mahadevan, P.; Chatterjee, A. A constructive empirical theory for metal fatigue under block cyclic loading. Proc. R. Soc. A Math. Phys. Eng. Sci. 2008, 464, 1161–1179. [Google Scholar] [CrossRef]
- Hectors, K.; Van Hecke, T.; De Waele, W. Method for statistical evaluation of cumulative damage models applied to block loading. Fatigue Fract. Eng. Mater. Struct. 2022, 45, 3319–3332. [Google Scholar] [CrossRef]
- Gautham, B.P.; Kumar, R.; Bothra, S.; Mohapatra, G.; Kulkarni, N.; Padmanabhan, K.A. More efficient ICME through materials informatics and process modeling. In Proceedings of the 1st World Congress on Integrated Computational Materials Engineering, San-Francisco, CA, USA, 15 July 2011; John Library: Hoboken, NJ, USA, 2011; pp. 35–42. [Google Scholar] [CrossRef]
- Agrawal, A.; Deshpande, P.D.; Cecen, A.; Basavarsu, G.P.; Choudhary, A.N.; Kalidindi, S.R. Exploration of data science techniques to predict fatigue strength of steel from composition and processing parameters. Integr. Mater. Manuf. Innov. 2014, 3, 90–108. [Google Scholar] [CrossRef]
- Agrawal, A.; Choudhary, A. An online tool for predicting fatigue strength of steel alloys based on ensemble data mining. Int. J. Fatigue 2018, 113, 389–400. [Google Scholar] [CrossRef]
- Bock, F.E.; Aydin, R.C.; Cyron, C.J.; Huber, N.; Kalidindi, S.R.; Klusemann, B. A review of the application of machine learning and data mining approaches in continuum materials mechanics. Front. Mater. 2019, 6, 110. [Google Scholar] [CrossRef]
- Sparks, T.D.; Kauwe, S.K.; Parry, M.E.; Tehrani, A.M.; Brgoch, J. A review of machine learning for structural materials. Annu. Rev. Mater. Res. 2020, 50, 27–48. [Google Scholar] [CrossRef]
- Gan, L.; Zhao, X.; Wu, H.; Zhong, Z. Estimation of remaining fatigue life under two-step loading based on kernel-extreme learning machine. Int. J. Fatigue 2021, 148, 106190. [Google Scholar] [CrossRef]
- Gao, J.; Wang, C.; Xu, Z.; Wang, J.; Yan, S.; Wang, Z. Gaussian process regression based remaining fatigue life prediction for metallic materials under two-step loading. Int. J. Fatigue 2022, 158, 106730. [Google Scholar] [CrossRef]
- Karniadakis, G.E.; Kevrekidis, I.G.; Lu, L.; Perdikaris, P.; Wang, S.; Yang, L. Physics-informed machine learning. Nat. Rev. Phys. 2021, 3, 422–440. [Google Scholar] [CrossRef]
- Gan, L.; Wu, H.; Zhong, Z. On the use of data-driven machine learning for remaining life estimation of metallic materials based on Ye-Wang damage theory. Int. J. Fatigue 2022, 156, 106666. [Google Scholar] [CrossRef]
- Hectors, K.; Chaudhuri, S.; Waele, W.D. Fracture mechanics and hot spot stress-based fatigue life calculation: Case study for a crane runway girder. Fatigue Fract. Eng. Mater. Struct. 2022, 45, 2662–2675. [Google Scholar] [CrossRef]
- ASTM E8/E8M-21; Standard Test Methods for Tension Testing of Metallic Materials. ASTM International: West Conshohocken, PA, USA, 2021. [CrossRef]
- Lord, J.D.; Morrell, R. Elastic Modulus Measurement; Measurement Good Practice Guide No. 98; National Physical Laboratory: Teddington, UK, 2016. [Google Scholar]
- Technical Committee ISE/101/6. BS ISO 1143:2010 Metallic Materials—Rotating Bar Bending Fatigue Testing, 2nd ed.; British Standards Institution: London, UK, 2010. [Google Scholar]
- Technical Committee ISO/TC 213. ISO 3274:1996/COR 1:1998: Geometrical Product Specifications (GPS)—Surface Texture: Profile Method—Nominal Characteristics of Contact (Stylus) Instruments; British Standards Institution: London, UK, 1998. [Google Scholar]
- Technical Committee ISO/TC 164/SC 4. ISO12107: Metallic Materials—Fatigue Testing—Statistical Planning and Analysis of Data, 2nd ed.; International Organization for Standardization: Geneva, Switzerland, 2012. [Google Scholar]
- Gao, H.; Huang, H.Z.; Zhu, S.P.; Li, Y.F.; Yuan, R. A modified nonlinear damage accumulation model for fatigue life prediction considering load interaction effects. Sci. World J. 2014, 2014, 164378. [Google Scholar] [CrossRef]
- Kwofie, S.; Rahbar, N. A fatigue driving stress approach to damage and life prediction under variable amplitude loading. Int. J. Damage Mech. 2013, 22, 393–404. [Google Scholar] [CrossRef]
- Mesmacque, G.; Garcia, S.; Amrouche, A.; Rubio-Gonzalez, C. Sequential law in multiaxial fatigue, a new damage indicator. Int. J. Fatigue 2005, 27, 461–467. [Google Scholar] [CrossRef]









| C | Mn | Si | P | S | Cu | Ni |
|---|---|---|---|---|---|---|
| 0.09 | 0.66 | 0.14 | 0.027 | 0.013 | 0.02 | 0.04 |
| Cr | Mo | Ti | V | Al | Nb | |
| 0.02 | <0.01 | 0.005 | <0.001 | 0.035 | <0.001 |
| Tensile Property | Mean and Standard Deviation |
|---|---|
| Ultimate strength, | 388.4 ± 6.5 MPa |
| Yield strength (0.2% offset, ) | 272.1 ± 5.7 MPa |
| Upper yield point | 294.5 ± 11.7 MPa |
| % Area reduction | 56.8 ± 1.3% |
| Young’s modulus, E | 207.4 ± 1.8 GPa |
| Palmgren–Miner | DCA | Mod. DCA | FDS | DSM | |
|---|---|---|---|---|---|
| L–H | 30.77 | 42.31 | 42.31 | 34.62 | 34.62 |
| H–L | 80.77 | 69.23 | 73.08 | 76.92 | 76.92 |
| Model | PM | DCA | Mod. DCA | FDS | DSM |
|---|---|---|---|---|---|
| Max | 8.91 | 5.97 | 6.22 | 8.03 | 7.42 |
| Mean | 1.50 | 1.29 | 1.31 | 1.44 | 1.39 |
| std | 1.49 | 0.99 | 1.03 | 1.34 | 1.22 |
| RMSE | 0.48 | 0.44 | 0.44 | 0.47 | 0.46 |
| Mean absolute error [cycles] | 315,998 | 256,369 | 260,029 | 294,885 | 287,407 |
| Max. absolute error [cycles] | 1,503,473 | 1,599,966 | 1,595,884 | 1,541,720 | 1,529,970 |
| RMSE [cycles] | 439,351 | 404,956 | 406,566 | 424,709 | 420,337 |
| Metric | Miner | DCA | Mod. DCA | FDS | DSM |
|---|---|---|---|---|---|
| Max | 4.69 | 4.22 | 4.33 | 4.89 | 4.02 |
| Mean | 1.75 | 1.57 | 1.59 | 1.76 | 1.55 |
| std | 1.55 | 1.31 | 1.33 | 1.55 | 1.24 |
| RMSE | 0.29 | 0.31 | 0.30 | 0.29 | 0.29 |
| Mean absolute error [cycles] | 150,056 | 179,794 | 176,271 | 158,482 | 155,694 |
| Max. absolute error [cycles] | 1,082,126 | 1,219,470 | 1,204,285 | 1,108,759 | 1,187,200 |
| RMSE() | 265,102 | 303,412 | 299,319 | 274,531 | 282,386 |
Disclaimer/Publisher’s Note: The statements, opinions and data contained in all publications are solely those of the individual author(s) and contributor(s) and not of MDPI and/or the editor(s). MDPI and/or the editor(s) disclaim responsibility for any injury to people or property resulting from any ideas, methods, instructions or products referred to in the content. |
© 2023 by the authors. Licensee MDPI, Basel, Switzerland. This article is an open access article distributed under the terms and conditions of the Creative Commons Attribution (CC BY) license (https://creativecommons.org/licenses/by/4.0/).
Share and Cite
Hectors, K.; Vanspeybrouck, D.; Plets, J.; Bouckaert, Q.; De Waele, W. Open-Access Experiment Dataset for Fatigue Damage Accumulation and Life Prediction Models. Metals 2023, 13, 621. https://doi.org/10.3390/met13030621
Hectors K, Vanspeybrouck D, Plets J, Bouckaert Q, De Waele W. Open-Access Experiment Dataset for Fatigue Damage Accumulation and Life Prediction Models. Metals. 2023; 13(3):621. https://doi.org/10.3390/met13030621
Chicago/Turabian StyleHectors, Kris, Dennis Vanspeybrouck, Jelle Plets, Quinten Bouckaert, and Wim De Waele. 2023. "Open-Access Experiment Dataset for Fatigue Damage Accumulation and Life Prediction Models" Metals 13, no. 3: 621. https://doi.org/10.3390/met13030621
APA StyleHectors, K., Vanspeybrouck, D., Plets, J., Bouckaert, Q., & De Waele, W. (2023). Open-Access Experiment Dataset for Fatigue Damage Accumulation and Life Prediction Models. Metals, 13(3), 621. https://doi.org/10.3390/met13030621

