On the Transferability of Fatigue and Cyclic Deformation Data to 100 µm Thin Structures
Abstract
1. Introduction
- Transferability of fatigue data to 100 µm thin structures:
- Transferability of cyclic deformation data to 100 µm thin structures:The suitability of a standard constitutive model for thin structures is discussed. For this purpose, the structure is specifically plastically deformed and then the calculated and measured displacements are compared.
2. Material and Methods
2.1. Material
2.2. Fatigue Testing and Assessment
2.2.1. Experimental Procedure
2.2.2. Test Evaluation and Processing
2.2.3. FE Simulation
2.2.4. Local Fatigue Strength Assessment Concept (FKM Guideline)
2.2.5. Theory of Critical Distance
2.3. Testing and Modelling of the Cyclic Deformation Behaviour
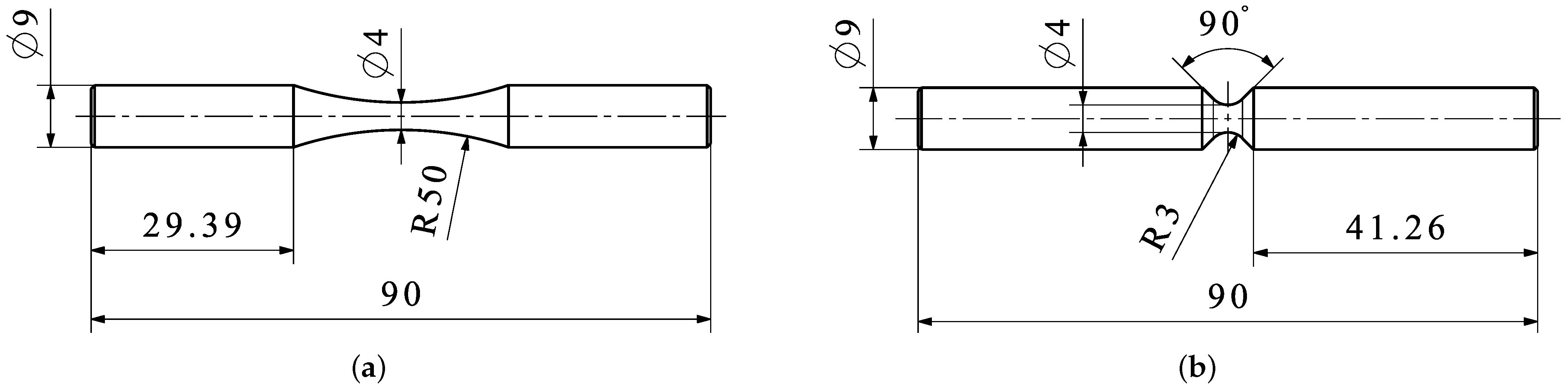
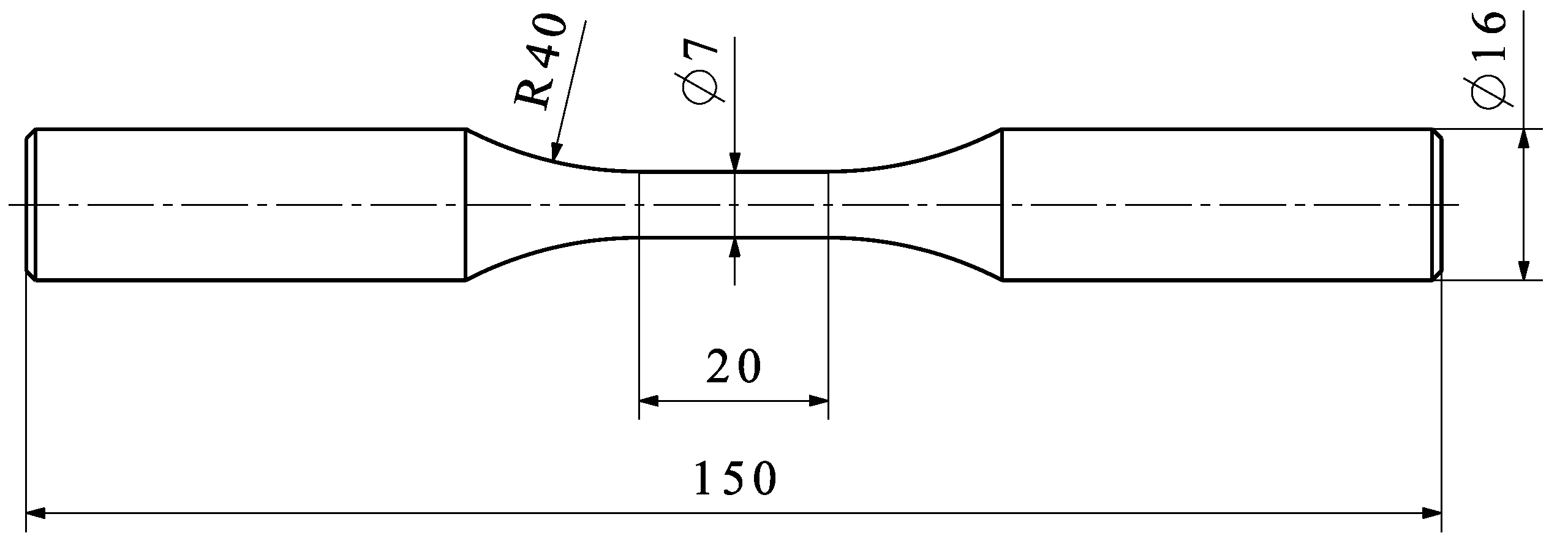
2.3.1. Experimental Procedure: Specimens
2.3.2. Modelling of the Cyclic Deformation Behaviour
2.3.3. Experimental Procedure: Structures
2.3.4. FE Simulation of the Thin Structure
3. Results
3.1. Fatigue Strength: Specimen Results
3.2. Fatigue Strength: Transferability to Structures
3.3. Deformation Behaviour: Specimen Results
3.4. Deformation Behaviour: Transferability to Structures
4. Discussion
4.1. Applicability of the TCD for Thin-Walled Structures
4.2. Transferability of the Deformation Behaviour
5. Conclusions
- If only unnotched and notched specimens were examined, the material would be classified as fully notch-sensitive, i.e., no support effect. However, the tested local fatigue strength of thin-walled structures is approximately 7% higher than that of the unnotched specimens.
- Both the local assessment concept according to the FKM guideline, based on the material-mechanical support factor, and the point method of the Theory of Critical Distance (TCD), describe this fatigue behaviour of the specimens and the structure well. The FKM approach is conservative, while the TCD overestimates the fatigue strength of the structure by a maximum of 5%.
- The TCD calculations for the 100 µm thin structure are only feasible because the material parameter is a few micrometres. As this only applies to very high-strength materials, support factor concepts based on the relative stress gradient are more preferable for these kinds of thin-walled structures.
- Regarding the cyclic deformation behaviour, the material shows a very high initial yield strength with subsequent ideal plastic flow during initial loading and distinctly different flow characteristics during reverse loading. A combined hardening approach models this behaviour superbly.
- The numerical simulation of a plastic deformation of the thin structure requires not only the non-linear material behaviour but also the consideration of geometric non-linearity, suitable friction conditions and a realistic mapping of the component dimensions. Geometric influences seem to have a dominant impact and thus obscure the effect of the material model.
- In conclusion, even 100 µm thin structures can be evaluated using conventional specimen fatigue tests and suitable, established fatigue assessment methods. The transferability of the cyclic deformation behaviour appears to be given in principle. This saves future expensive and time-consuming tests of the real structures.
Author Contributions
Funding
Institutional Review Board Statement
Informed Consent Statement
Data Availability Statement
Acknowledgments
Conflicts of Interest
References
- Fröschl, J. Fatigue Behaviour of Forged Components: Technological Effects and Multiaxial Fatigue. Ph.D. Thesis, Montanuniversität Leoben, Leoben, Austria, 2006. [Google Scholar]
- Gänser, H.P. Strength Assessment of Components Subjected to High-Cycle Fatigue Loading: Linking the Mechanics of Materials and Structures. Habilitation Thesis, Montanuniversität Leoben, Leoben, Austria, 2008. [Google Scholar]
- Javidi, A. Influence of Machining on the Surface Integrity and Fatigue Strength of 34CrNiMo6 Steel. Ph.D. Thesis, Montanuniversität Leoben, Leoben, Austria, 2008. [Google Scholar]
- Leitner, M. Local Fatigue Assessment of Welded and High Frequency Mechanical Impact Treated Joints. Ph.D. Thesis, Montanuniversität Leoben, Leoben, Austria, 2013. [Google Scholar]
- Stoschka, M. Contribution towards Fatigue Strength of Thermo-Mechanically Processed Metallic Components. Habilitation Thesis, Montanuniversität Leoben, Leoben, Austria, 2014. [Google Scholar]
- Leitner, M. Technological Aspects in Fatigue Design. Habilitation Thesis, Montanuniversität Leoben, Leoben, Austria, 2019. [Google Scholar]
- Rennert, R.; Kullig, E.; Vormwald, M.; Esderts, A.; Siegele, D. FKM Guideline: Analytical Strength Assessment of Components in Mechanical Engineering Made of Steel, Cast Iron and Aluminium Materials, 6th ed.; VDMA: Frankfurt, Germany, 2012. [Google Scholar]
- Wu, J.H.; Lin, C.K. Tensile and fatigue properties of 17-4 PH stainless steel at high temperatures. Metall. Mater. Trans. A 2002, 33, 1715–1724. [Google Scholar] [CrossRef]
- Schönbauer, B.M.; Yanase, K.; Endo, M. VHCF properties and fatigue limit prediction of precipitation hardened 17-4PH stainless steel. Int. J. Fatigue 2016, 88, 205–216. [Google Scholar] [CrossRef]
- Milošević, I.; Renhart, P.; Winter, G.; Grün, F.; Kober, M. Validation of a new high frequency testing technique in the VHCF regime—Fatigue properties of a 42CrMoS4 and X5CrNiCuNb16-4 steel. Int. J. Fatigue 2018, 112, 198–205. [Google Scholar] [CrossRef]
- Milošević, I.; Garb, C.; Winter, G.; Grün, F.; Kober, M. Effects of Inclusions on the Very High Cycle Fatigue Properties of a High Strength Martensitic Steel within the Transition Area. Procedia Struct. Integr. 2017, 7, 327–334. [Google Scholar] [CrossRef]
- Nie, D.; Mutoh, Y. Fatigue Limit Prediction of the Matrix of 17-4PH Stainless Steel Based on Small Crack Mechanics. J. Press. Vessel. Technol. 2013, 135, 397. [Google Scholar] [CrossRef]
- Hsu, K.C.; Lin, C.K. High-temperature fatigue crack growth behavior of 17-4 PH stainless steels. Metall. Mater. Trans. A 2004, 35, 3018–3024. [Google Scholar] [CrossRef][Green Version]
- Hsu, K.C.; Lin, C.K. Influence of Frequency on the High-Temperature Fatigue Crack Growth Behavior of 17-4 PH Stainless Steels. Mater. Trans. 2007, 48, 490–499. [Google Scholar] [CrossRef]
- Schönbauer, B.M.; Yanase, K.; Endo, M. Influence of intrinsic and artificial defects on the VHCF properties of 17-4PH stainless steel. Procedia Struct. Integr. 2016, 2, 1149–1155. [Google Scholar] [CrossRef][Green Version]
- Schönbauer, B.M.; Yanase, K.; Endo, M. The influence of various types of small defects on the fatigue limit of precipitation-hardened 17-4PH stainless steel. Theor. Appl. Fract. Mech. 2017, 87, 35–49. [Google Scholar] [CrossRef]
- Schönbauer, B.M.; Mayer, H. Effect of small defects on the fatigue strength of martensitic stainless steels. Int. J. Fatigue 2019, 127, 362–375. [Google Scholar] [CrossRef]
- Wu, J.H.; Lin, C.K. Influence of Frequency on High-Temperature Fatigue Behavior of 17-4 PH Stainless Steels. Mater. Trans. 2003, 44, 713–721. [Google Scholar] [CrossRef][Green Version]
- Milošević, I.; Winter, G.; Grün, F.; Kober, M. Influence of Size Effect and Stress Gradient on the High-cycle Fatigue Strength of a 1.4542 Steel. Procedia Eng. 2016, 160, 61–68. [Google Scholar] [CrossRef]
- Himmelbauer, F.; Winter, G.; Grün, F.; Kiesling, C. VHCF properties and assessment of specimens and thin-walled component-like structures made of high-strength steel X5CrNiCuNb16-4. Int. J. Fatigue 2022, 156, 106645. [Google Scholar] [CrossRef]
- Schönbauer, B.M.; Stanzl-Tschegg, S.E.; Perlega, A.; Salzman, R.N.; Rieger, N.F.; Turnbull, A.; Zhou, S.; Lukaszewicz, M.; Gandy, D. The influence of corrosion pits on the fatigue life of 17-4PH steam turbine blade steel. Eng. Fract. Mech. 2015, 147, 158–175. [Google Scholar] [CrossRef]
- Carneiro, L.; Jalalahmadi, B.; Ashtekar, A.; Jiang, Y. Cyclic deformation and fatigue behavior of additively manufactured 17-4 PH stainless steel. Int. J. Fatigue 2019, 123, 22–30. [Google Scholar] [CrossRef]
- Concli, F.; Fraccaroli, L.; Nalli, F.; Cortese, L. High and low-cycle-fatigue properties of 17-4 PH manufactured via selective laser melting in as-built, machined and hipped conditions. Prog. Addit. Manuf. 2022, 7, 99–109. [Google Scholar] [CrossRef]
- Leitner, M.; Schneller, W.; Springer, S.; Grün, F. Effect of Surface Layer on the Fatigue Strength of Selectively Laser Melted 17-4 PH Steel. J. Mater. Eng. Perform. 2021, 30, 5383–5391. [Google Scholar] [CrossRef]
- Eichlseder, W. Fatigue analysis by local stress concept based on finite element results. Comput. Struct. 2002, 80, 2109–2113. [Google Scholar] [CrossRef]
- Taylor, D. Geometrical effects in fatigue: A unifying theoretical model. Int. J. Fatigue 1999, 21, 413–420. [Google Scholar] [CrossRef]
- Berto, F.; Lazzarin, P. A review of the volume-based strain energy density approach applied to V-notches and welded structures. Theor. Appl. Fract. Mech. 2009, 52, 183–194. [Google Scholar] [CrossRef]
- Liao, D.; Zhu, S.P. Energy field intensity approach for notch fatigue analysis. Int. J. Fatigue 2019, 127, 190–202. [Google Scholar] [CrossRef]
- Branco, R.; Costa, J.D.; Borrego, L.P.; Macek, W.; Berto, F. Notch fatigue analysis and life assessment using an energy field intensity approach in 7050-T6 aluminium alloy under bending-torsion loading. Int. J. Fatigue 2022, 162, 106947. [Google Scholar] [CrossRef]
- Liu, X.; Wang, R.; Hu, D.; Mao, J. A calibrated weakest-link model for probabilistic assessment of LCF life considering notch size effects. Int. J. Fatigue 2020, 137, 105631. [Google Scholar] [CrossRef]
- He, J.C.; Zhu, S.P.; Taddesse, A.T.; Niu, X. Evaluation of critical distance, highly stressed volume, and weakest-link methods in notch fatigue analysis. Int. J. Fatigue 2022, 162, 106950. [Google Scholar] [CrossRef]
- Wu, Z.R.; Hu, X.T.; Li, Z.X.; Xin, P.P.; Song, Y.D. Probabilistic fatigue life prediction methodology for notched components based on simple smooth fatigue tests. J. Mech. Sci. Technol. 2017, 31, 181–188. [Google Scholar] [CrossRef]
- Liao, D.; Zhu, S.P.; Keshtegar, B.; Qian, G.; Wang, Q. Probabilistic framework for fatigue life assessment of notched components under size effects. Int. J. Mech. Sci. 2020, 181, 105685. [Google Scholar] [CrossRef]
- Spaggiari, A.; Castagnetti, D.; Dragoni, E.; Bulleri, S. Fatigue life prediction of notched components: A comparison between the theory of critical distance and the classical stress-gradient approach. Procedia Eng. 2011, 10, 2755–2767. [Google Scholar] [CrossRef]
- Mei, J.; Xing, S.; Vasu, A.; Chung, J.; Desai, R.; Dong, P. The fatigue limit prediction of notched components—A critical review and modified stress gradient based approach. Int. J. Fatigue 2020, 135, 105531. [Google Scholar] [CrossRef]
- Ye, W.L.; Zhu, S.P.; Niu, X.P.; He, J.C.; Wang, Q. Fatigue life prediction of notched components under size effect using stress gradient-based approach. Int. J. Fract. 2021, 126, 165. [Google Scholar] [CrossRef]
- Leitner, M.; Vormwald, M.; Remes, H. Statistical size effect on multiaxial fatigue strength of notched steel components. Int. J. Fatigue 2017, 104, 322–333. [Google Scholar] [CrossRef]
- Souto, C.; Gomes, V.; Figueiredo, M.; Correia, J.; Lesiuk, G.; Fernandes, A.A.; de Jesus, A. Fatigue behaviour of thin-walled cold roll-formed steel sections. Int. J. Fatigue 2021, 149, 106299. [Google Scholar] [CrossRef]
- He, J.C.; Zhu, S.P.; Liao, D.; Niu, X.P. Probabilistic fatigue assessment of notched components under size effect using critical distance theory. Eng. Fract. Mech. 2020, 235, 107150. [Google Scholar] [CrossRef]
- Luo, P.; Yao, W.; Li, P. A notch critical plane approach of multiaxial fatigue life prediction for metallic notched specimens. Fatigue Fract. Eng. Mater. Struct. 2019, 42, 854–870. [Google Scholar] [CrossRef]
- Miwa, Y.; Jitsukawa, S.; Hishinuma, A. Development of a miniaturized hour-glass shaped fatigue specimen. J. Nucl. Mater. 1998, 258–263, 457–461. [Google Scholar] [CrossRef]
- Nozaki, M.; Sakane, M.; Fujiwara, M. Low cycle fatigue testing using miniature specimens. Int. J. Fatigue 2020, 137, 105636. [Google Scholar] [CrossRef]
- Procházka, R.; Džugan, J. Low cycle fatigue properties assessment for rotor steels with the use of miniaturized specimens. Int. J. Fatigue 2022, 154, 106555. [Google Scholar] [CrossRef]
- Shin, C.S.; Lin, S.W. Evaluating fatigue crack propagation properties using miniature specimens. Int. J. Fatigue 2012, 43, 105–110. [Google Scholar] [CrossRef]
- Chandran, K.R.; Cao, F.; Newman, J.C. Fatigue crack growth in miniature specimens: The equivalence of ΔK-correlation and that based on the change in net-section strain energy density. Scr. Mater. 2016, 122, 18–21. [Google Scholar] [CrossRef]
- Blasón, S.; Werner, T.; Kruse, J.; Madia, M.; Miarka, P.; Seitl, S.; Benedetti, M. Determination of fatigue crack growth in the near-threshold regime using small-scale specimens. Theor. Appl. Fract. Mech. 2022, 118, 103224. [Google Scholar] [CrossRef]
- Chaboche, J.L. A review of some plasticity and viscoplasticity constitutive theories. Int. J. Plast. 2008, 24, 1642–1693. [Google Scholar] [CrossRef]
- Chaboche, J.L. Time-independent constitutive theories for cyclic plasticity. Int. J. Plast. 1986, 2, 149–188. [Google Scholar] [CrossRef]
- ASTM A564; Standard Specification for Hot-Rolled and Cold-Finished Age-Hardening Stainless Steel Bars and Shapes. ASTM International: West Conshohocken, PA, USA, 2013.
- DIN EN 10088-3; Nichtrostende Stähle—Teil 3: Technische Lieferbedingungen für Halbzeug, Stäbe, Walzdraht, Gezogenen Draht, Profile und Blankstahlerzeugnisse aus korrosionsbeständigen Stählen für allgemeine Verwendung. Beuth Verlag: Berlin, Germany, 2005.
- Himmelbauer, F.; Tillmanns, M.; Winter, G.; Gruen, F.; Kiesling, C. A novel high-frequency fatigue testing methodology for small thin-walled structures in the HCF/VHCF regime. Int. J. Fatigue 2021, 146, 106146. [Google Scholar] [CrossRef]
- Milošević, I.; Renhart, P.; Winter, G.; Grün, F.; Kober, M. A new high frequency testing method for steels under tension/compression loading in the VHCF regime. Int. J. Fatigue 2017, 104, 150–157. [Google Scholar] [CrossRef]
- Dengel, D. Die arc sin √P-Transformation—Ein einfaches Verfahren zur grafischen und rechnerischen Auswertung geplanter Wöhlerversuche [The arc sin √P transformation—A simple method for graphical and computational evaluation of planned Wöhler tests]. Mater. Und Werkst. 1975, 6, 253–261. [Google Scholar] [CrossRef]
- Dengel, D. Empfehlungen für die statistische Abschätzung des Zeit-und Dauerfestigkeitsverhaltens von Stahl [Recommendations for the statistical estimation of the fatigue strength behavior of steel]. Mater. Und Werkst. 1989, 20, 73–81. [Google Scholar] [CrossRef]
- Bellett, D.; Taylor, D.; Marco, S.; Mazzeo, E.; Guillois, J.; Pircher, T. The fatigue behaviour of three-dimensional stress concentrations. Int. J. Fatigue 2005, 27, 207–221. [Google Scholar] [CrossRef]
- El Haddad, M.H.; Topper, T.H.; Smith, K.N. Prediction of non propagating cracks. Eng. Fract. Mech. 1979, 11, 573–584. [Google Scholar] [CrossRef]
- Halama, R.; Sedlák, J.; Šofer, M. Phenomenological Modelling of Cyclic Plasticity. In Numerical Modelling; Miidla, P., Ed.; IntechOpen: London, UK, 2012; pp. 329–354. [Google Scholar] [CrossRef]
- Seisenbacher, B.; Winter, G.; Grün, F. Improved Approach to Determine the Material Parameters for a Combined Hardening Model. Mater. Sci. Appl. 2018, 9, 357–367. [Google Scholar] [CrossRef][Green Version]
- Zienkiewicz, O.C.; Taylor, R.L. The Finite Element Method for Solid and Structural Mechanics, 6th ed.; Elsevier: Amsterdam, The Netherlands, 2006; Volume 2. [Google Scholar]
- Peksen, M. Multiphysics Modelling of Structural Components and Materials. In Multiphysics Modelling; Elsevier: Amsterdam, The Netherlands, 2018; pp. 105–138. [Google Scholar] [CrossRef]
- Schönbauer, B.M.; Yanase, K.; Endo, M. Influences of small defects on torsional fatigue limit of 17-4PH stainless steel. Int. J. Fatigue 2017, 100, 540–548. [Google Scholar] [CrossRef]
- Taylor, D.; Wang, G. The validation of some methods of notch fatigue analysis. Fatigue Fract. Eng. Mater. Struct. 2000, 23, 387–394. [Google Scholar] [CrossRef]
- Atzori, B.; Meneghetti, G.; Susmel, L. Material fatigue properties for assessing mechanical components weakened by notches and defects. Fatigue Fract. Eng. Mater. Struct. 2005, 28, 83–97. [Google Scholar] [CrossRef]
- Susmel, L.; Taylor, D. The Theory of Critical Distances as an alternative experimental strategy for the determination of KIc and ΔKth. Eng. Fract. Mech. 2010, 77, 1492–1501. [Google Scholar] [CrossRef]
- Askes, H.; Livieri, P.; Susmel, L.; Taylor, D.; Tovo, R. Intrinsic material length, Theory of Critical Distances and Gradient Mechanics: Analogies and differences in processing linear-elastic crack tip stress fields. Fatigue Fract. Eng. Mater. Struct. 2013, 36, 39–55. [Google Scholar] [CrossRef]















| C | Si | Mn | P | S | Cr | Mo | Ni | Cu | Nb | |
|---|---|---|---|---|---|---|---|---|---|---|
| min. | - | - | - | - | - | 15.0 | - | 3.0 | 3.0 | 5 × C |
| max. | 0.07 | 0.7 | 1.5 | 0.04 | 0.03 | 17.0 | 0.6 | 5.0 | 5.0 | 0.45 |
| Test Series | Notch Radius in mm | Stress Concentration Factor | Rel. Stress Gradient in mm−1 | Number of Tested Specimens |
|---|---|---|---|---|
| Ø4.0, unnotched | 50 | 1.02 | 0.03 | 21 |
| Ø4.0, mildly notched | 3 | 1.28 | 0.56 | 13 |
| Ø4.0, sharply notched | 0.5 | 2.32 | 3.88 | 12 |
| Ø7.5, unnotched | 50 | 1.03 | 0.03 | 17 |
| Ø7.5, mildly notched | 5.6 | 1.28 | 0.31 | 14 |
| Ø7.5, sharply notched | 0.5 | 3.01 | 3.97 | 16 |
| Ø2.5, mildly notched | 4.5 | 1.11 | 0.37 | 35 |
| Thin structure | 0.25 | not definable | 26.00 | 12 |
| E in GPa | in g cm | |
|---|---|---|
| 200 | 0.3 | 7.8 |
Publisher’s Note: MDPI stays neutral with regard to jurisdictional claims in published maps and institutional affiliations. |
© 2022 by the authors. Licensee MDPI, Basel, Switzerland. This article is an open access article distributed under the terms and conditions of the Creative Commons Attribution (CC BY) license (https://creativecommons.org/licenses/by/4.0/).
Share and Cite
Himmelbauer, F.; Winter, G.; Grün, F.; Kiesling, C. On the Transferability of Fatigue and Cyclic Deformation Data to 100 µm Thin Structures. Metals 2022, 12, 1524. https://doi.org/10.3390/met12091524
Himmelbauer F, Winter G, Grün F, Kiesling C. On the Transferability of Fatigue and Cyclic Deformation Data to 100 µm Thin Structures. Metals. 2022; 12(9):1524. https://doi.org/10.3390/met12091524
Chicago/Turabian StyleHimmelbauer, Florian, Gerhard Winter, Florian Grün, and Constantin Kiesling. 2022. "On the Transferability of Fatigue and Cyclic Deformation Data to 100 µm Thin Structures" Metals 12, no. 9: 1524. https://doi.org/10.3390/met12091524
APA StyleHimmelbauer, F., Winter, G., Grün, F., & Kiesling, C. (2022). On the Transferability of Fatigue and Cyclic Deformation Data to 100 µm Thin Structures. Metals, 12(9), 1524. https://doi.org/10.3390/met12091524

