Fatigue Improvement of Additive Manufactured Ti–TiB Material through Shot Peening
Abstract
:1. Introduction
2. Experimental Procedure and Materials
2.1. Material & Microstructural Characterization
2.2. Tensile Testing
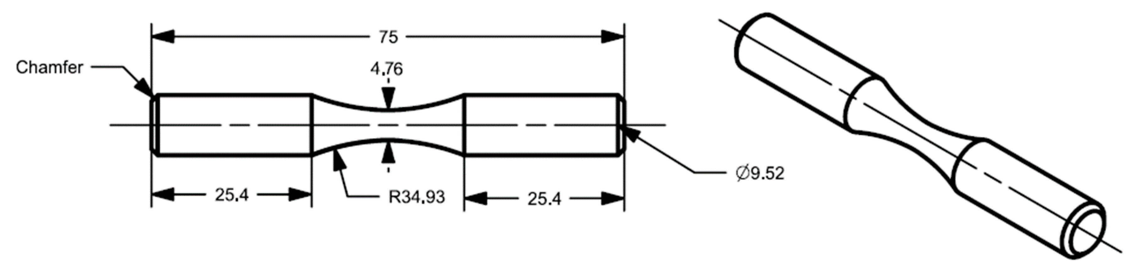
2.3. Fatigue Testing
2.4. Shot-Peening Surface Treatment
3. Experimental Results
3.1. Microstructure Analysis
3.2. Tensile Testing
3.3. Surface Study of the Influence of Shot Peening
3.4. Fatigue Testing
4. Discussion
5. Conclusions
- Directionally aimed tensile testing of AM PTA-SFFF blocks exhibited a near-isotropic behavior within the structure, despite AM-layering strategies used to produce samples. This was attributed to the fully dense AM-produced samples (or blocks) and the proper fusion of AM layers.
- Overall, the fatigue performance of shot-peened samples was superior to untreated samples in both the low- and high-cycle fatigue regimes. The 107 high-cycle fitted fatigue endurance of shot-peened samples was found to be 318.3 MPa versus 247.8 MPa for the untreated samples, leading to an increase in fatigue resistance of approximately 28%. This improvement in mechanical behavior is attributed to the localized surface hardening and related microstructural changes from shot peening, which helped mitigate and impede crack initiation and initial crack propagation.
- For untreated AM Ti–TiB samples, fatigue cracks were found to originate at the surface of fatigue samples, where surface defects such as microscratches were the likely cause of crack initiation.
- Shot-peened AM Ti–TiB samples contained crack initiation sites at the subsurface and exhibited void nucleation at these regions, which were approximately situated 0.7 to 1.5 mm in depth from the surface of the samples. Based on similar observations in literature [24,38], this is attributed to tensile residual stresses in the area below the compressive residual stresses introduced through shot peening.
Author Contributions
Funding
Institutional Review Board Statement
Informed Consent Statement
Data Availability Statement
Acknowledgments
Conflicts of Interest
References
- Peters, J.O.; Lutjering, G. Comparison of the fatigue and fracture of alpha + beta and beta titanium alloys. Metall. Mater. Trans. A 2001, 32A, 2805–2818. [Google Scholar] [CrossRef]
- Donachie, M.J.J. A Primer on Titanium and Its Alloys. In Titanium—A Technical Guide; ASM International Materials Park: Almere, The Netherlands, 2000; pp. 1–3. [Google Scholar]
- Niknam, S.A.; Khettabi, R.; Songmene, V. Machinability and Machining of Titanium Alloys: A Review. In Machining of Titanium Alloys; Davim, J.P., Ed.; Springer: Berlin/Heidelberg, Germany; New York, NY, USA, 2014; pp. 1–10. ISBN 978-3-662-43901-2. [Google Scholar]
- Arrazola, P.J.; Garay, A.; Iriarte, L.M.; Armendia, M.; Marya, S.; Le Maître, F. Machinability of titanium alloys (Ti6Al4V and Ti555.3). J. Mater. Process. Technol. 2009, 209, 2223–2230. [Google Scholar] [CrossRef] [Green Version]
- Nickels, L. Additive manufacturing: A user’s guide. Met. Powder Rep. 2016, 71, 100–105. [Google Scholar] [CrossRef]
- Dutta, B.; Froes, F.H. The Additive Manufacturing (AM) of titanium alloys. Met. Powder Rep. 2017, 72, 96–106. [Google Scholar] [CrossRef]
- Singamneni, S.; Yifan, L.V.; Hewitt, A.; Chalk, R.; Thomas, W.; Jordison, D. Additive Manufacturing for the Aircraft Industry: A Review. J. Aeronaut. Aerosp. Eng. 2019, 8. [Google Scholar] [CrossRef] [Green Version]
- Anna, A.; Palermo Augusto, I.B. The Role of 3D Printing in Medical Applications: A State of the Art. J. Healthc. Eng. 2019, 201, 10. [Google Scholar] [CrossRef] [Green Version]
- Attar, H.; Bönisch, M.; Calin, M.; Zhang, L.C.; Scudino, S.; Eckert, J. Selective laser melting of in situ titanium-titanium boride composites: Processing, microstructure and mechanical properties. Acta Mater. 2014, 76, 13–22. [Google Scholar] [CrossRef]
- Banerjee, R.; Collins, P.C.; Fraser, H.L. Laser Deposition of In Situ Ti–TiB Composites. Adv. Eng. Mater. 2002, 4, 847–851. [Google Scholar] [CrossRef]
- Hu, Y.; Cong, W.; Wang, X.; Li, Y.; Ning, F.; Wang, H. Laser deposition-additive manufacturing of TiB-Ti composites with novel three-dimensional quasi-continuous network microstructure: Effects on strengthening and toughening. Compos. Part B Eng. 2018, 133, 91–100. [Google Scholar] [CrossRef]
- Ozerov, M.; Povolyaeva, E.; Stepanov, N.; Ventzke, V.; Dinse, R.; Kashaev, N.; Zherebtsov, S. Laser Beam Welding of a Ti-15Mo/TiB Metal—Matrix Composite. Met. Basel 2021, 11, 506. [Google Scholar] [CrossRef]
- Dubey, S.; Lederich, R.J.; Soboyejo, W.O. Fatigue and Fracture of Damage-Tolerant In Situ Titanium Matrix Composites. Metall. Mater. Trans. A 1997, 28, 2037–2047. [Google Scholar] [CrossRef]
- Kooi, B.J.; Pei, Y.T.; De Hosson, J.T.M. The evolution of microstructure in a laser clad TiB-Ti composite coating. Acta Mater. 2003, 51, 831–845. [Google Scholar] [CrossRef]
- Ma, F.; Liu, P.; Li, W.; Liu, X.; Chen, X.; Zhang, K.; Pan, D.; Lu, W. The mechanical behavior dependence on the TiB whisker realignment during hot-working in titanium matrix composites. Sci. Rep. 2016, 6, 1–9. [Google Scholar] [CrossRef]
- Cai, C.; Song, B.; Qiu, C.; Li, L.; Xue, P.; Wei, Q.; Zhou, J.; Nan, H.; Chen, H.; Shi, Y. Hot isostatic pressing of in-situ TiB/Ti-6Al-4V composites with novel reinforcement architecture, enhanced hardness and elevated tribological properties. J. Alloys Compd. 2017, 710, 364–374. [Google Scholar] [CrossRef] [Green Version]
- Debroy, T.; Wei, H.L.; Zuback, J.S.; Mukherjee, T.; Elmer, J.W.; Milewski, J.O.; Beese, A.M.; Wilson-heid, A.; De, A.; Zhang, W. Progress in Materials Science Additive manufacturing of metallic components—Process, structure and properties. Prog. Mater. Sci. 2018, 92, 112–224. [Google Scholar] [CrossRef]
- Singh, S.; Ramakrishna, S.; Singh, R. Material issues in additive manufacturing: A review. J. Manuf. Process. 2017, 25, 185–200. [Google Scholar] [CrossRef]
- Clark, D.; Whittaker, M.T.; Bache, M.R. Microstructural Characterization of a Prototype Titanium Alloy Structure Processed via Direct Laser Deposition (DLD). Metall. Mater. Trans. B 2011, 43B, 388–396. [Google Scholar] [CrossRef] [Green Version]
- Kobryn, P.A.; Semiatin, S.L. Microstructure and texture evolution during solidification processing of Ti-6Al-4V. J. Mater. Process. Technol. 2003, 135, 330–339. [Google Scholar] [CrossRef]
- Carroll, B.E.; Palmer, A.; Beese, A.M. Anisotropic tensile behavior of Ti-6Al-4V components fabricated with directed energy deposition additive manufacturing. Acta Mater. 2015, 87, 309–320. [Google Scholar] [CrossRef]
- Chan, K.S.; Koike, M.; Mason, R.L.; Okabe, T. Fatigue Life of Titanium Alloys Fabricated by Additive Layer Manufacturing Techniques for Dental Implants. Metall. Mater. Trans. A 2013, 44A, 1010–1023. [Google Scholar] [CrossRef]
- Boudreau, D.B.; DiCecco, L.-A.; Gali, O.A.; Edrisy, A. Fatigue Behaviour of Additive Manufactured Ti-TiB. MRS Adv. 2018, 3, 3641–3653. [Google Scholar] [CrossRef]
- Wagner, L.; Luetjeringe, G. Influence of Shot Peening on the Fatigue Behavior of Titanium Alloys. In Proceedings of the International Conference on Shot Peening, Paris, France, 14–17 September 1981; International Scientific Committee for Shot Peening. pp. 453–460. [Google Scholar]
- Slawik, S.; Bernarding, S.; Lasagni, F.; Navarro, C.; Periñán, A.; Boby, F.; Migot-Choux, S.; Domínguez, J.; Mücklich, F. Microstructural analysis of selective laser melted Ti6Al4V modified by laser peening and shot peening for enhanced fatigue characteristics. Mater. Charact. 2021, 173, 110935. [Google Scholar] [CrossRef]
- ASTM International. ASTM E8/E8M-16a Standard Test Methods for Tension Testing of Metallic Materials; ASTM International: West Conshohocken, PA, USA, 2016; pp. 1–27. [Google Scholar]
- ASTM International. ASTM F3122-14 Standard Guide for Evaluating Mechanical Properties of Metal Materials Made via Additive Manufacturing Processes; ASTM International: West Conshohocken, PA, USA, 2014; pp. 1–6. [Google Scholar]
- Farokhzadeh, K.; Qian, J.; Edrisy, A. Effect of SPD surface layer on plasma nitriding of Ti–6Al–4V alloy. Mater. Sci. Eng. A 2014, 589, 199–208. [Google Scholar] [CrossRef]
- DiCecco, L.A.; Mehdi, M.; Edrisy, A. Dry-Sliding Wear Mechanisms of Shot-Peened Additive Manufactured Alpha Titanium Featuring TiB Particles. Tribol. Lett. 2021, 69, 1–15. [Google Scholar] [CrossRef]
- Nervo, L.; King, A.; Fitzner, A.; Ludwig, W.; Preuss, M. Acta Materialia a study of deformation twinning in a titanium alloy by X-ray diffraction contrast tomography. Acta Mater. 2016, 105, 417–428. [Google Scholar] [CrossRef] [Green Version]
- Bozzolo, N.; Chan, L.; Rollett, A.D. Misorientations induced by deformation twinning in titanium research papers. J. Appl. Crystallogr. 2010, 43, 596–602. [Google Scholar] [CrossRef]
- Bonnet, R.; Cousineau, R.; Warrington, D.H. Determination of Near-Coincident Cells for Hexagonal Crystals. Related DSC Lattices. Acta Crystallogr. 1981, 37, 184–189. [Google Scholar] [CrossRef]
- Song, S.G.; Gray, G.T., III. Structural interpretation of the nucleation and growth of deformation twins in Zr and Ti—I. Application of the coincidence site lattice (CSL) theory to twinning problems in hcp structures. Acta Metall. Mater. 1995, 43, 2339–2350. [Google Scholar] [CrossRef]
- Kurita, H.; Suzuki, S.; Kikuchi, S.; Yodoshi, N.; Gourdet, S.; Narita, F. Strengthening mechanism of titanium boride whisker-reinforced Ti-6Al-4V alloy matrix composites with the TiB orientation perpendicular to the loading direction. Mater. Basel 2019, 12, 2401. [Google Scholar] [CrossRef] [Green Version]
- Barro, Ó.; Arias-González, F.; Lusquiños, F.; Comesaña, R.; Del Val, J.; Riveiro, A.; Badaoui, A.; Gómez-Baño, F.; Pou, J. Improved commercially pure titanium obtained by laser directed energy deposition for dental prosthetic applications. Met. Basel 2021, 11, 70. [Google Scholar] [CrossRef]
- Abdollahi, A.; Huda, A.S.A.; Kabir, A.S. Microstructural characterization and mechanical properties of fiber laser welded CP-Ti and Ti-6Al-4V similar and dissimilar joints. Met. Basel 2020, 10, 747. [Google Scholar] [CrossRef]
- Fitzner, A.; Palmer, J.; Gardner, B.; Thomas, M.; Preuss, M.; da Fonseca, J.Q. On the work hardening of titanium: New insights from nanoindentation. J. Mater. Sci. 2019, 54, 7961–7974. [Google Scholar] [CrossRef] [Green Version]
- Petit-Renaud, F. Optimization of the Shot Peening Parameters. In Shot Peening—Proceedings of the 8th International Conference on Shot Peening; Wagner, L., Ed.; Wiley-VCH Verlag GmbH & Co. KGaA: Weinheim, Germany, 2003. [Google Scholar]

















| Sample Microstructure Orientation | Percent Area Covered by TiB Particles (%) | Aspect Ratio (Height/Width) | TiB Width (µm) | TiB Height (µm) | TiB Size (µm2) |
|---|---|---|---|---|---|
| Longitudinal | 9.2 ± 0.7 | 3.3 ± 1.4 | 1.6 ± 0.7 | 4.6 ± 2.2 | 6.2 ± 1.6 |
| Lateral | 9.2 ± 1.4 | 3.3 ± 1.5 | 1.5 ± 0.9 | 4.5 ± 1.7 | 6.6 ± 1.2 |
| Sample Orientation | Ultimate Tensile Strength (MPa) | Elastic Modulus (GPa) | Percent Elongation (%) | Percent Reduced Area (%) | 0.2% Offset Yield Strength (MPa) | Fracture Stress (MPa) |
|---|---|---|---|---|---|---|
| Longitudinal | 614.1 ± 20.3 | 98.3 ± 7.1 | 9.5 ± 1.3 | 8.9 ± 1.0 | 480.7 ± 15.5 | 605.3 ± 17.4 |
| Lateral | 609.2 ± 7.4 | 97.4 ± 3.9 | 8.1 ± 0.8 | 7.1 ± 1.4 | 480.0 ± 5.3 | 603.4 ± 7.7 |
| Diagonal | 593.0 ± 18.8 | 99.9 ± 2.8 | 9.3 ± 0.5 | 8.0 ± 0.4 | 460.0 ± 20.9 | 581.7 ± 22.8 |
| Overall Testing Average | 605.4 ± 17.7 | 98.5 ± 4.6 | 8.9 ± 1.1 | 8.0 ± 1.2 | 473.6 ± 17.1 | 596.8 ± 19.1 |
Publisher’s Note: MDPI stays neutral with regard to jurisdictional claims in published maps and institutional affiliations. |
© 2021 by the authors. Licensee MDPI, Basel, Switzerland. This article is an open access article distributed under the terms and conditions of the Creative Commons Attribution (CC BY) license (https://creativecommons.org/licenses/by/4.0/).
Share and Cite
DiCecco, L.-A.; Mehdi, M.; Edrisy, A. Fatigue Improvement of Additive Manufactured Ti–TiB Material through Shot Peening. Metals 2021, 11, 1423. https://doi.org/10.3390/met11091423
DiCecco L-A, Mehdi M, Edrisy A. Fatigue Improvement of Additive Manufactured Ti–TiB Material through Shot Peening. Metals. 2021; 11(9):1423. https://doi.org/10.3390/met11091423
Chicago/Turabian StyleDiCecco, Liza-Anastasia, Mehdi Mehdi, and Afsaneh Edrisy. 2021. "Fatigue Improvement of Additive Manufactured Ti–TiB Material through Shot Peening" Metals 11, no. 9: 1423. https://doi.org/10.3390/met11091423
APA StyleDiCecco, L.-A., Mehdi, M., & Edrisy, A. (2021). Fatigue Improvement of Additive Manufactured Ti–TiB Material through Shot Peening. Metals, 11(9), 1423. https://doi.org/10.3390/met11091423

