A New Parameter Identification Method for Industrial Robots with Friction
Abstract
:1. Introduction
2. Experimental Data Acquisition
2.1. Friction Torque Sampling Principle
2.2. Experimental Data Acquisition
- (1)
- Set the trajectory of the robot in the joint space through a demonstrator.
- (2)
- Move the robot at a uniform speed in the space according to instructions of the trainer while obtaining information on its frictional torque through the servo drive.
- (3)
- The sampled data on the robot’s joint and frictional torque in it are read by the controller.
- (4)
- Repeat the above steps by moving the robot in the space at different speeds.
- (5)
- Record and process the data.
2.3. Friction Modeling
3. Related Work
3.1. RWSAVSBAS Algorithm Principle
3.1.1. “Wandering Antennae”
3.1.2. Metropolis Guidelines
3.1.3. Variable Step Length
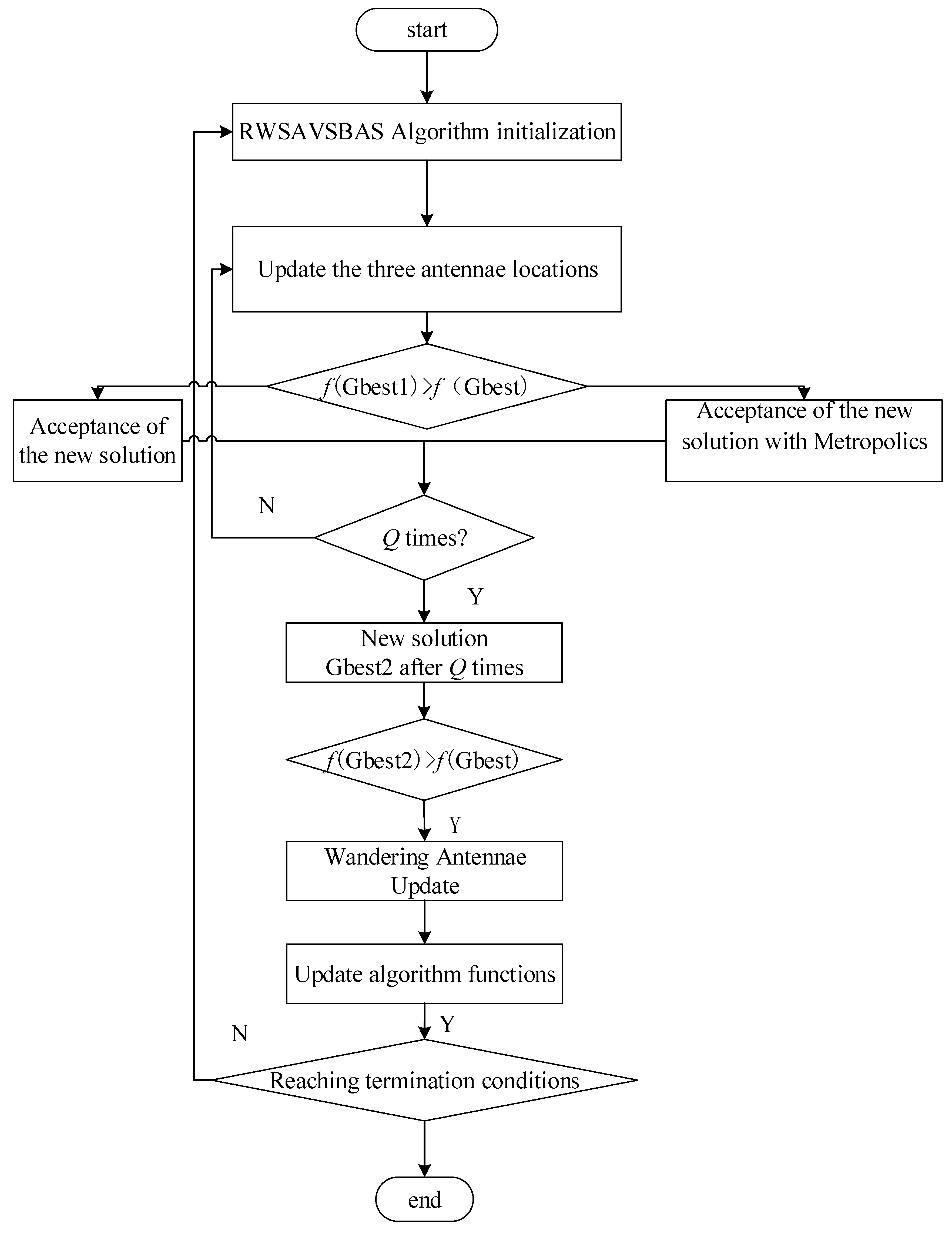
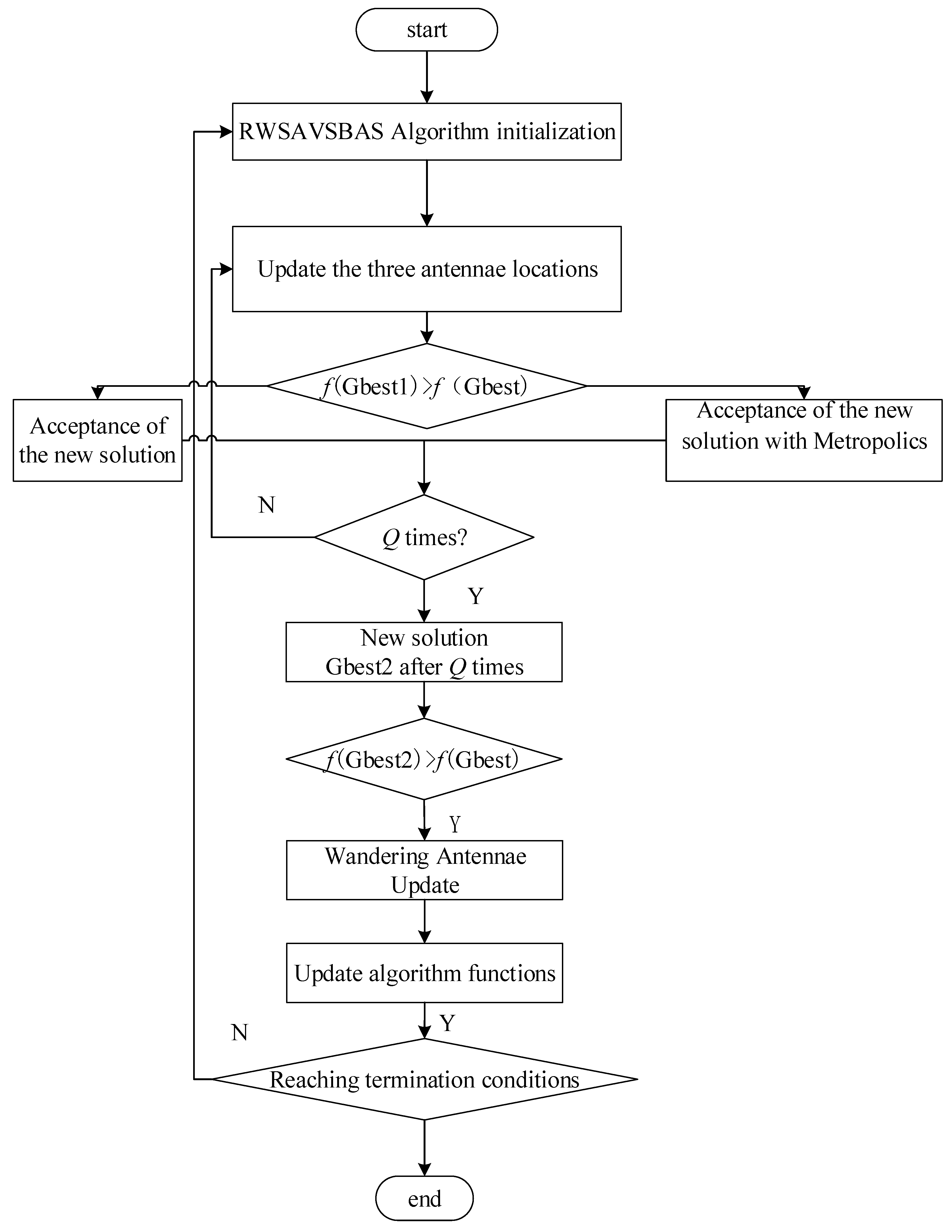
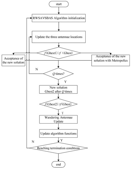
3.2. RWSAVSBAS Algorithm Flow
- A: Initialize the relevant parameters.
- B: Obtain the fitness values of the three antennae of the algorithm.
- C: Search for the optimal solution of the algorithm in the inner loop and select it according to the metropolis criterion Q times.
- D: Once the iteration of the inner loop is complete, use the outer loop to update the step size of the algorithm as well as the optimal solution.
- E: If the algorithm does not satisfy the termination condition, go to step B. Otherwise, stop the iterations, and use the obtained parameters to identify frictional parameters of the industrial robot.
4. Experimental Results and Analysis
4.1. Experimental Parameter Setting
4.2. Adaptation Function
4.3. Experimental Results
4.3.1. Iterative Optimization Curve Comparison
4.3.2. Frictional Torque Error Comparison
4.3.3. Comparison of Predicted Friction Moments
5. Conclusions
- (1)
- In order to improve the accuracy of the friction parameter identification of industrial robots, this paper firstly establishes the friction moment of the robot by demonstration, and then uses the Stribeck model to establish the friction model of industrial robots. In this paper, a new Beetle Antennae search algorithm, RWSAVSBAS, is used to identify the friction model parameters of industrial robots. The experimental results show that the RWSAVSBAS algorithm maintains the advantage of BAS algorithm with fewer parameters, and at the same time has better recognition accuracy compared with other common improved Beetle Antennae search algorithm algorithms.
- (2)
- This study did not consider the effects of temperature, load, and other factors when measuring the frictional force. Future work in this area should focus on the effects of these external factors on the frictional force. Moreover, the RWSAVSBAS algorithm was used here only to identify the frictional parameters of industrial robots in series. Subsequent work should consider this task for industrial robots operating in parallel.
- (3)
- The friction model identified by RWSAVSBAS will be written into the controller, and the torque feedforward is sent down from the software algorithm layer for control. The torque feedforward can effectively improve the following performance of the robot, and the theoretically derived robot dynamics generally ignore the effect of friction, so for the actual robot control, getting an accurate friction model can also improve the robot control performance, which includes dragging and dragging demonstration and collision detection of various human–robot collaboration functions that are inseparable from friction compensation.
Author Contributions
Funding
Institutional Review Board Statement
Informed Consent Statement
Data Availability Statement
Conflicts of Interest
References
- Kermani, M.R.; Wong, M.; Patel, R.V.; Moallem, M.; Ostojic, M. Friction compensation in low and high-reversal-velocity manipulators. In Proceedings of the IEEE International Conference on Robotic and Automation, New Orleans, LA, USA, 26 April–1 May 2004; pp. 4320–4325. [Google Scholar]
- Iwatani, M.; Kikuuwe, R. An identification procedure for rate-dependency of friction in robotics joints with limited motion ranges. Mechatronics 2016, 36, 36–44. [Google Scholar] [CrossRef]
- Guo, Y.T.; Min, B.; Chen, B. Study on adaptive friction compensation of turntable servo systems based on Lucre friction model. Aerosp. Shanghai 2017, 34, 65–69. [Google Scholar]
- Naser, M.F.M. Hysteresis Loop of the Lucre Model; Pergamon Press, Inc.: Oxford, UK, 2015. [Google Scholar]
- Liu, L.L.; Liu, H.Z.; Wu, Z.Y.; Wang, Z.M. An overview of friction models in mechanical systems. Adv. Mech. 2008, 38, 201–213. [Google Scholar]
- Chen, C. Research on High-Performance Motion Control Method for Serial Robotic Manipulator. Ph.D. Thesis, Shandong University, Jinan, China, 2019. [Google Scholar]
- Zhang, J. Research on Friction Compensation Strategy of Industrial Robot Joint. Master’s Thesis, Xiamen University, Xiamen, China, 2019. [Google Scholar]
- Zhang, J.; Sanderson, A.C. JADE: Adaptive Differential Evolution With Optional External Archive. IEEE Trans. Evol. Comput. 2009, 13, 945–958. [Google Scholar] [CrossRef]
- Ding, L.; Wu, H.; Yao, Y.; Li, Y.; Xie, B.H.; Chen, B. Parameters Identification of Industrial Robots Based on WLS-ABC Algorithm. J. South China Univ. Technol. (Nat. Sci. Ed.) 2016, 44, 90–95. [Google Scholar]
- Wu, X.; Liu, D.; He, M.; Gao, F.; Shao, G. Research on friction modeling and compensation of robot manipulator. Chin. J. Sci. Instrum. 2018, 39, 44–50. [Google Scholar]
- Cao, F. Application of Improved BP-LM Algorithm in Chinese Population-aging Ratio Forecasting. J. Guangxi Univ. Financ. Econ. 2012, 25, 64–69. [Google Scholar]
- Kou, B.; Ren, D.; Guo, S. Geometric Parameter Identification of Medical Robot Based on Improved Beetle Antennae Search Algorithm. Bioengineering 2022, 9, 58. [Google Scholar] [CrossRef] [PubMed]
- Jiang, X.Y.; Li, S. BAS: Beetle antennae search algorithm for optimization problems. arXiv 2018, arXiv:1710.10724v1. [Google Scholar] [CrossRef]
- Jiang, X.Y.; Li, S. Beetle antennae search without parameter tun-ing (BAS WPT) for multi-objective optimization. arXiv 2017, arXiv:1711.02395v1. [Google Scholar]
- Marton, L.; Lantos, B. Modeling, Identification, and Compensation of Stick-Slip Friction. IEEE Trans. Ind. Electron. 2007, 54, 511–521. [Google Scholar] [CrossRef]
- Wu, H.S.; Zhang, F.M.; Wu, Q.S. New swarm intelligence algorithm-wolf pack algorithm. Syst. Eng. Electron. 2013, 35, 2430–2438. [Google Scholar]
- Haber, R.; Strzelczak, S.; Miljkovic, Z.; Castaño, F.; Fumagalli, L.; Petrović, M. Digital twin-based Optimization on the basis of Grey Wolf Method. A Case Study on Motion Control Systems. In Proceedings of the 2020 IEEE Conference on Industrial Cyberphysical Systems (ICPS), Tampere, Finland, 10–12 June 2020. [Google Scholar]
- Kirkpatrick, S. Optimization by simulated annealing: Quantitative studies. J. Stat. Phys. 1984, 34, 975–986. [Google Scholar] [CrossRef]
- Zhou, T.; Qian, Q.; Fu, Y. Fusion Simulated Annealing and Adaptive Beetle Antennae Search Algorithm. Commun. Technol. 2019, 52, 1626–1631. [Google Scholar]
- Gao, S. Research on annealing strategy in Simulated Annealing Algorithm. Aeronaut. Comput. Technol. 2002, 32, 20–22. [Google Scholar]
- Wang, H.B.; Peng, X.; Xia, X.Y.; Zhou, S.Y. Path Planning of Automated Guided Vehicle Based on Improved Beetle Antennae Search. Mach. Des. Res. 2021, 37, 27–30. [Google Scholar]








| Algorithms | Average Fitness | Fitness (Max) | Fitness (Min) |
|---|---|---|---|
| VSBAS | 0.60 | 1.86 | 0.10 |
| IBAS | 0.42 | 0.83 | 0.09 |
| RWSAVSBAS | 0.00013 | 0.00014 | 0.00013 |
| Parameters | τc | τs | ws | τv |
|---|---|---|---|---|
| Identifying value | 0.084 | 0.641 | 0.066 | 0.0026 |
Publisher’s Note: MDPI stays neutral with regard to jurisdictional claims in published maps and institutional affiliations. |
© 2022 by the authors. Licensee MDPI, Basel, Switzerland. This article is an open access article distributed under the terms and conditions of the Creative Commons Attribution (CC BY) license (https://creativecommons.org/licenses/by/4.0/).
Share and Cite
Kou, B.; Huang, Y.; Wang, P.; Ren, D.; Zhang, J.; Guo, S. A New Parameter Identification Method for Industrial Robots with Friction. Machines 2022, 10, 349. https://doi.org/10.3390/machines10050349
Kou B, Huang Y, Wang P, Ren D, Zhang J, Guo S. A New Parameter Identification Method for Industrial Robots with Friction. Machines. 2022; 10(5):349. https://doi.org/10.3390/machines10050349
Chicago/Turabian StyleKou, Bin, Yao Huang, Pengpeng Wang, Dongcheng Ren, Jie Zhang, and Shijie Guo. 2022. "A New Parameter Identification Method for Industrial Robots with Friction" Machines 10, no. 5: 349. https://doi.org/10.3390/machines10050349
APA StyleKou, B., Huang, Y., Wang, P., Ren, D., Zhang, J., & Guo, S. (2022). A New Parameter Identification Method for Industrial Robots with Friction. Machines, 10(5), 349. https://doi.org/10.3390/machines10050349

