Next Article in Journal
Application of Fractional Grey Forecasting Model in Economic Growth of the Group of Seven
Next Article in Special Issue
A MULTIMOORA-Based Risk Evaluation Approach for CCUS Projects by Utilizing D Numbers Theory
Previous Article in Journal
Some Iterative Approximation Results of F Iteration Process in Banach Spaces
Previous Article in Special Issue
Comparative Analysis of the Simple WISP and Some Prominent MCDM Methods: A Python Approach
 
 
Font Type:
Arial Georgia Verdana
Font Size:
Aa Aa Aa
Line Spacing:
Column Width:
Background:
Article

Selection of Cold Chain Logistics Service Providers Based on a Grey AHP and Grey COPRAS Framework: A Case Study in Vietnam

by
Ngoc-Ai-Thy Nguyen
1,
Chia-Nan Wang
1,
Le-Thanh-Hieu Dang
1,*,
Le-Thanh-Tuyen Dang
2,* and
Thanh-Tuan Dang
1,3,*
1
Department of Industrial Engineering and Management, National Kaohsiung University of Science and Technology, Kaohsiung 807618, Taiwan
2
Department of Banking and Finance, Banking University Ho Chi Minh City, Ho Chi Minh 71307, Vietnam
3
Department of Logistics and Supply Chain Management, Hong Bang International University, Ho Chi Minh 72320, Vietnam
*
Authors to whom correspondence should be addressed.
Axioms 2022, 11(4), 154; https://doi.org/10.3390/axioms11040154
Submission received: 23 February 2022 / Revised: 17 March 2022 / Accepted: 25 March 2022 / Published: 27 March 2022

Abstract

Choosing the most suitable cold chain logistics service providers (CLPs) is a vital strategic decision for businesses aiming to achieve an effective and sustainable cold supply chain. A sustainable CLP is one that integrates sustainable practices across its whole operation cycle to achieve product quality, on-time deliveries, and satisfied customer requirements, while preventing products from going to waste, which is especially important in the context of a developing country. This study aims to evaluate and select the best CLP regarding their sustainability performance. For this evaluation, a multi-criteria decision making (MCDM)-based framework is proposed that integrates the grey analytic hierarchy process (G-AHP) and grey complex proportional assessment (G-COPRAS) methodologies, in which grey numbers are used to express the linguistic evaluation statements of experts. Initially, the evaluation criteria based on service level, economic, environmental, and social dimensions were determined by means of a literature review and experts’ opinions to employ the MCDM approach. The G-AHP was utilized to identify the criteria weights, and then, G-COPRAS was used to select the best CLP among the alternatives. A case illustration in Vietnam is presented to exhibit the presented approach’s applicability. From the G-AHP findings, product quality, logistics costs, innovation, and effectiveness of cold chain processes, customer experience, and CO emissions of refrigerated vehicle were ranked as the five most important criteria. From the G-COPRAS analysis, Yoshida Saigon Cold Logistic (CPL-05) is the best CLP. The robustness of the applied integrated MCDM approach was also tested by conducting a comparative analysis, in which the priority rankings of the best CLPs were very similar. The assessment in this study is directed towards enabling managers, practitioners, and stakeholders of cold chain businesses to assess the most efficient CLP in the supply chain in the market and also to devise suitable strategies toward sustainable development.

1. Introduction

The term “cold supply chain” refers to a process in which all of the operations involved, from raw material storage through to final product distribution, are temperature controlled. An increase in the volume of imported meat and other related products and exported seafood are the main factors has led to the good performance of cold chain logistics service providers. Due to the instability of the COVID-19 pandemic, more and more customers are choosing to use the online market, boosting the demand for cold storage for food and other essential items. However, the driving force behind the cold logistics industry is not only that but also special healthcare products, most notably, vaccines against COVID-19 and other vaccines in the future. In recent years, Vietnam’s logistics has made positive changes as more and more manufacturing enterprises have successfully applied cold supply chains to production [1]. There has been more focus on food preservation, transportation, and storage. Enterprises have moved to build, expand, and upgrade cold storage systems to meet their storage requirements. The demand for cold storage rental services is also more than before. Thanks to improving the efficiency of the cold supply chains, businesses have reduced waste, improved productivity, as well as competitiveness in the domestic and international markets. Market analysts expect that Vietnam’s logistics industry will experience more favorable steps in the coming years, along with the important role of cold supply chains. The country’s cold chain logistics is expected to reach a value of 295 million USD by 2025, with a growth rate of 12% per year [2].
Currently, Vietnam is still a country with significant advantages in agricultural, forestry, and fishery production, with several export commodities ranking at the top of the world market in terms of quantity and varieties. Vietnam’s agriculture, in particular, relies heavily on the cold chain to maintain its shift from a subsistence-based economy to a top exporter of agricultural products [3]. However, many businesses are aware of a paradox, i.e., domestic logistics costs are frequently higher than those of imported goods. The fundamental reason for this and the problem in Vietnam is that very few domestic firms use cold chains in their production. From the supply of raw materials for production to the distribution of goods to customers, goods have to pass through too many intermediaries, increasing transaction costs and selling prices [4]. The cold chain plays a very important role in the distribution and pricing of a business’s products. Thanks to this system, goods and materials of enterprises can be transported to the right place where customers need on-time delivery with the lowest cost. The cold chain reduces the loss of goods to the lowest level, taking advantage of the internal advantages of the business (such as capital) or the cold storage partners (i.e., transportation, warehousing, human resources) to form a supply chain with high-quality standards. In addition to key markets such as urban areas and big cities, cold supply chains help goods reach more customers through the arrangement of retail networks scattered throughout potential markets such as in rural areas, villages, mountainous areas, or islands—where the demand is high, but the supply is lacking.
The cold supply chain will become the competitive potential of Vietnamese enterprises in all markets. However, some domestic production and distribution corporations are still hesitant to invest in warehouses because they are costly, and lack administrative personnel, who are highly qualified with expertise in goods preservation and temperature control [1]. Moreover, the location of the warehouse is also a significant factor that determines transportation costs for a business. Allocating and building warehouses becomes a difficult problem for businesses, taking more time and adding to costs. In addition, not all enterprises have enough resources to invest in many primary warehouses. Thus, finding a solution to satisfy all requirements is what businesses are looking for today. Among solutions, choosing third-party logistics (3PL) cold chain suppliers to carry out the transportation and distribution of a business’s cold supply chain is a practical solution that helps reduce transportation costs and losses for businesses. However, research on Vietnam’s cold supply chain has mainly been unorganized; the sector lacks modern supply chain practices, are not well researched in the Vietnamese scenario, especially, sustainable 3PL selection for the cold supply chain is totally lacking.
Choosing the most suitable 3PL in the cold chain context, or so-called cold chain logistics service providers (CLPs), from the available lot is, therefore, of strategic importance for any organization aiming to achieve an effective and sustainable cold supply chain. The selection process is regarded as a complicated multi-criteria decision making (MCDM) problem as it involves various criteria according to the requirements and specifications of the outsourcing firm [5]. Considering the sustainability concept with the various dimensions involved, MCDM approaches are effective and practical strategies for analyzing various criteria and assisting specialists and managers in balancing and weighing different elements in order to simplify and clarify managerial decisions [6]. Using MCDM techniques allows for a clear understanding of the impact of subjective factors on the final ranking of alternatives and provides insight into the priorities and sensitivities of the various stakeholders. Important ideas for using MCDM approaches include handling complicated challenges with few resources and a poor data system [7]. Moreover, in real-world applications and decision making, the selection is further complicated by the existence of uncertainty which is an unavoidable feature due to the vagueness of human judgments and imprecise information. Unquantifiable, incomplete, and non-accessible information, as well as partial ignorance, are examples of imprecise sources [8]. In this direction, the two major methodologies for incorporating uncertainty and ambiguity into the evaluation process are fuzzy sets theory [9] and grey systems theory [10]. Crisp or conventional methodologies are less effective in handling imprecision or vagueness, while fuzzy sets theory and grey systems theory provide a useful paradigm for analyzing systems with imprecise data and successfully dealing with uncertainty.
In view of the above discussion, the following research objectives for this present study are generated:
  • To understand and identify the evaluation criteria responsible for the feasible and sustainable implementation of the CLP in a developing country’s perspective.
  • To determine the most sustainable CLP in Vietnam, a CLP that has employed sustainable practices in its procedures.
In order to achieve these objectives, we apply a grey-based multi-criteria method for the evaluation and selection of CLPs. The method is a two-stage MCDM framework that integrates the grey analytic hierarchy process (G-AHP) and the grey complex proportional assessment (G-COPRAS). A case study in Vietnam is deliberated to exhibit the presented framework’s applicability. Initially, evaluation criteria are identified through a literature review and experts’ opinions to implement the MCDM approach. The G-AHP is used for obtaining the weights of evaluation criteria. Finally, G-COPRAS is applied for ranking the CLP alternatives.
The remainder of the paper is structured as follows: In Section 2, we provide a literature review for the applications of MCDM methods in the area of 3PL selection, selecting CLPs, and research gaps; in Section 3, primarily, we explain the methodologies applied to the case study attempted in this work; in Section 4, the case illustration is described and the results of the method are discussed; in Section 6, the comparative analysis is conducted to check the robustness of the applied integrated method; in Section 6, we further discuss the managerial implications of the present work; in Section 7, we include concluding remarks as well as recommendations for future study.

2. Literature Review

2.1. Literature Review on 3PL and Selecting CLPs

The selection of third-party logistics (3PL) providers is the most significant issue in any type of business, industry, or supply chain, and numerous studies have been undertaken to develop an effective framework for selecting the best providers in logistics service scopes. Soh [11] employed fuzzy AHP to determine the most potential 3PL provider. The decision making model included four evaluation criteria: investment, service level, communications, and infrastructure, each with its own subcriteria. Ho et al. [12] applied quality function deployment (QFD) and fuzzy AHP to evaluate and select the optimal 3PLs regarding respecting promises, meeting operational and qualitative requirements, creative management, on-time distribution, price, financial stability, error rate, senior manager’s availability, and appropriate reaction. To dissect the interrelationships of risks faced by 3PL providers and their customers, Govindan and Chaudhuri [13] employed an MCDM approach called decision making trial and evaluation laboratory (DEMATEL), and concluded that the 3PLs’ improvement on internal processes mainly depended on quality management, operational flexibility, and geographic coverage of their services. To achieve well-rounded sustainable 3PLs, Raut et al. [14] indicated the importance of considering ecological, social, and economic dimensions. The authors suggested a hybrid MCDM model that used data envelopment analysis (DEA) and analytic network process (ANP) to assist decision-makers in assessing and obtaining the optimal 3PLs from the perspective of environmental sustainability. Pamucar et al. [15] used the interval rough numbers to handle uncertainty occurring in MCDM problems; the authors presented an integrated interval rough number (IRN) approach based on the best worst method (BWM) and the weighted aggregated sum product assessment (WASPAS) method along multi-attributive border approximation area comparison (MABAC) to evaluate 3PL providers. Jamali and Rasti-Barzoki [16] proposed a game theoretical approach to evaluate 3PLs in a sustainable supply chain by reducing delivery time and carbon emissions. Toward the green logistics outsourcing problem, Vazifehdan and Darestani [17] developed an integrated approach using QFD, fuzzy analytic network process (ANP) method based on fuzzy DEMATEL, and the superiority and inferiority ranking method (SIR) in the petrochemical industry. The 3PL alternatives were evaluated under the most significant factors of flexibility, work experience, quality, green (operation) management of company, logistics green industry, and governments green decision making. Wang et al. [18] developed a hybrid MCDM framework of fuzzy AHP and fuzzy vlsekriterijumska optimizacija i kompromisno resenje (FVIKOR) to select the best 3PL providers in a case study in Vietnam toward sustainability criteria, i.e., service level, economic, environmental, social, and risk dimensions.
In terms of the 3PL selection for cold chain management, Saravanan and Anubama [19] used the AHP to rank CLPs in India’s pharmaceutical industry under quality, time delivery, responsiveness, price, flexibility, and technology. Han [20] combined AHP and the technique for order preference by the level of similarity to ideal solution (TOPSIS) method to evaluate CLPs in the fresh food industry, the criteria including logistics level (refrigeration infrastructure, cold chain transportation efficiency, and refrigerated truck utilization), business status (technique level, financial status, and staff level), and service level (customer experience, on-time delivery, and product quality). For managing the value chain of perishable food items or pharmaceutical drugs, known as cold chain management, Singh et al. [21] developed a hybrid model of fuzzy AHP and fuzzy TOPSIS to select an appropriate 3PL to outsource logistics activities of perishable products. Liao et al. [22] implemented the process of evaluating the green levels of CLPs with a hesitant fuzzy linguistic thermodynamic method integrating the cumulative prospect theory and the preference ranking organization method for enrichment evaluation (PROMETHEE) method. The authors used resource, growth ability, performance, and environmental dimensions for the evaluation of the green CLPs. Khan and Ali [23] solved a sustainable supplier selection for the cold supply chain in the context of a developing country, utilizing the interpretive structural modeling (ISM) and fuzzy VIKOR to analyze eight suppliers based on fifteen distinct criteria. Liao et al. [24] conducted a CLP selection in the pharmaceutical industry by a rough set-based gained and lost dominance score method. The authors considered the following criteria for the selection: cost, service performance, infrastructure equipment, and personnel quality.
Based on literature review, the criteria selected for the CLP selection process in this study are summarized in Table 1.

2.2. Research Gaps

Based on the preceding discussion and a thorough analysis of the literature, it is deduced that research into the selection of CLPs in the Vietnamese context is limited, with essentially no studies being conducted to propose and ensure sustainable development. With this in mind, attempts have been made in this study to consider the merits of the grey theory, AHP, and COPRAS approaches for CLP selection, and in a broader sense, for 3PL selection. The AHP, widely accepted in MCDM, has been successfully applied to the ranking process of decision making problems. The method’s key benefits include its natural capacity to manage intangibles present in any decision making process and assisting decision-makers in organizing the essential components of an issue in a hierarchical structure [32]. The AHP can be integrated with well-known operation research techniques to solve increasingly challenging situations to measure the proportional significance of all criteria. The characteristics of the AHP are flexibility and its capacity to inspect inconsistencies which enables decision-makers to incorporate subjectivity, experience, and knowledge into the decision process [33]. The AHP provides a proven, efficient means of handling difficult decision making and expediting weights’ computations.
In addition to the AHP method, the VIKOR, TOPSIS, and COPRAS methods have been increasingly used to quantitatively evaluate complicated economic, social, and environmental processes. The evaluations aim to choose the best alternatives, ranking the alternatives in the order of their significance. Among these, the COPRAS method was firstly introduced by Zavadskas et al. [34] in 1994. This method compares the alternatives and determines their priorities under the conflicting criteria by considering the criteria weights. Chatterjee et al. [35] conducted a comparative analysis on different methods such as AHP, VIKOR, TOPSIS, and COPRAS regarding computational procedures, effortlessness, probability of visual understanding, and type of the data and concluded that the COPRAS strategy outperformed the other methods. The COPRAS method allows calculating the values to be maximized and minimized independently among the criteria, and a typical sample distribution is not required [36]. In the results, the determined utility degree expresses how much better the best choice is, in percentage terms, as compared with other MCDM methods. Based on its successful history in decision making research [37,38] and the fact that there are very few studies on 3PL evaluation in the most recent years (from 2018) [39,40,41], we believe COPRAS is a practical and effective technique for selection and evaluation of alternatives.
In many actual settings, however, the human preference model is ambiguous, and experts may be hesitant or unable to assign accurate numerical values to comparison judgments. According to the literature, most studies have used fuzzy sets theory to handle uncertainty in evaluation. However, the totally grey theory has not been developed with MCDM techniques and used in this research area. One advantage of the grey set over the fuzzy sets is the simplified calculation method and the ability to provide more reliable results [42]. Thus, one of our study’s purposes is to demonstrate the applicability of grey-based multi-criteria methods other than fuzzy MCDM techniques for choosing the best CLPs, in which the grey approach can also eliminate the vagueness of experts’ judgments. The uncertain evaluations were expressed as grey numbers to generate a more accurate and robust ranking for the alternatives [43]. The AHP with the grey theory has been successfully applied for specific problems in [44,45,46], and COPRAS with the grey theory presented in [36,41,47,48,49,50]. However, the combination of the G-AHP and the G-COPRAS for decision making problems has never been reported, at least for 3PL selection.
Devoted to bridging the gap of the existing literature, one of the study’s innovations is its evaluation of logistics providers for the cold supply chain in Vietnam, which has never been done before. When evaluating the alternatives in terms of sustainability, a wide range of aspects are taken into consideration after being identified by means of a literature review and experts’ opinions, which is a significant advantage of the proposed study. The combination of AHP, COPRAS, and the grey theory, established as relevant and successful approaches for the cold chain industry evaluation, is another innovation. The proposed research provides decision-makers and practitioners information on business performance to aid in the development of sustainability.

3. Methodology

3.1. Research Framework

This study applied an integrated MCDM method for evaluating cold chain logistics services providers with the case study in Vietnam. The grey system theory is involved in the presented method to handle the uncertainty and vagueness in the decision making process. First, grey AHP is used to estimate the weights of criteria. The weight scores of the evaluation criteria are conducted based on logistics experts’ assessments. Then, the grey COPRAS is applied to rank the alternatives through the utility degree percentage. The comparative analysis is conducted to show the effectiveness and applicability of the integrated method. The findings of the applied grey MCDM method provides reliable and robust results for assessing and improving opportunities for decision-makers and stakeholders in the cold supply chain industry. Figure 1 depicts the research framework of this study.

3.2. Grey System Theory

The grey system theory was first introduced by Julong-Deng [51] to solve uncertain decision making problems. In the grey theory, the information degree can be separated into three categories which are “black system”, “white system”, and “grey system” concerning information which is “unknown”, “fully known”, and “partially known”, respectively. Figure 2 shows the framework of the grey system theory.
A grey number is called by x = [ x _ , x ¯ ] where x _ and x ¯ represent the lower bound and the upper bound of the membership function. The grey number’s exact value is unknown, but the interval range within which it falls is known. Let x 1 = [ x _ 1 , x ¯ 1 ] and x 2 = [ x _ 2 , x ¯ 2 ] be two grey numbers, k is a positive real number, and L is the length of grey numbers. The basic arithmetic operations are presented in Equations (1)–(6) as follows:
x 1 + x 2 = [ x _ 1 + x _ 2 , x ¯ 1 + x ¯ 2 ]
x 1 x 2 = [ x _ 1 x ¯ 2 , x ¯ 1 x _ 2 ]
x 1 x 2 = [ min   ( x _ 1 x _ 2 , x _ 1 x ¯ 2 , x ¯ 1 x _ 2 , x ¯ 1 x ¯ 2 ) , max ( x _ 1 x _ 2 , x _ 1 x ¯ 2 , x ¯ 1 x _ 2 , x ¯ 1 x ¯ 2 ) ]
x 1 / x 2 = [ min   ( x _ 1 / x _ 2 , x _ 1 / x ¯ 2 , x ¯ 1 / x _ 2 , x ¯ 1 / x ¯ 2 ) , max   ( x _ 1 / x _ 2 , x _ 1 / x ¯ 2 , x ¯ 1 / x _ 2 , x ¯ 1 / x ¯ 2 ) ]
k x 1 = k [ x _ 1 , x ¯ 1 ] = [ k x _ 1 , k x ¯ 1 ]
L ( x 1 ) = [ x ¯ 1 x _ 1 ]

3.3. Grey Analytical Hierarchy Process (G-AHP)

The grey analytical hierarchy process (G-AHP) combines the grey theory with the AHP to reduce subjective judgments in decision making. In this paper, the G-AHP is deployed to estimate the grey weights of criteria, in which grey numbers are used, instead of the classical AHP. The G-AHP used in this study is introduced step by step below [52].
Step 1: Identify the research problem, construct the hierarchical tree and pairwise comparison matrix using experts’ evaluations with grey numbers. Table 2 shows the linguistic scale with grey numbers used in the G-AHP. Following that, build the integrated grey comparison matrix using the geometrical aggregation, Equation (7) as follows:
D = [ x 11 x 1 n x m 1 x m n ] = [ [ x _ 11 , x ¯ 11 ] [ x _ 1 n , x ¯ 1 n ] [ x _ m 1 , x ¯ m 1 ] [ x _ m n , x ¯ m n ] ]
Step 2: Calculate the normalized grey comparison matrix. The normalization for the grey numbers is given in Equations (8)–(10) as follows:
D * = [ x 11 * x 1 n * x m 1 * x m n * ] = [ [ x _ 11 * , x ¯ 11 * ] [ x _ 1 n * , x ¯ 1 n * ] [ x _ m 1 * , x ¯ m 1 * ] [ x _ m n * , x ¯ m n * ] ]
x _ i j * = x _ i j 1 2 ( i = 1 m x _ i j + i = 1 m x ¯ i j ) = 2 x _ i j i = 1 m x _ i j + i = 1 m x ¯ i j
x ¯ i j * = x ¯ i j 1 2 ( i = 1 m x _ i j + i = 1 m x ¯ i j ) = 2 x ¯ i j i = 1 m x _ i j + i = 1 m x ¯ i j
where x i j   is the pairwise comparison concerning the i th criterion over the j th criterion.
Step 3: Calculate the grey weight of each criterion by taking averages of the rows using Equation (11) as follows:
w i = j = 1 n x i j * n
where n = { 1 ,   2 ,   , N } is the criterion set.
Step 4: Calculate the whitenization of the grey weight to interpret and analyze them easier and better using Equation (12). The whited value of an interval grey weight is a crisp number whose potential value is between the interval grey weight’s upper and lower bounds, as follows:
M i = ( 1 λ ) w _ i + λ w ¯ i
where λ is the whitening coefficient and λ [ 0 ,   1 ] .

3.4. Grey Complex Proportional Assessment (G-COPRAS)

Zavadskas et al. [53] first introduced the grey complex proportional assessment (G-COPRAS) to reduce the subjective judgments in the decision making problem. The G-COPRAS method prioritizes the alternative based on the calculation of the utility degree. The G-COPRAS method consists of six steps as follows [54]:
Step 1 Determine the important weight of each criterion. In this study, the relative importance of each criterion (i.e., grey weights of each criterion) is estimated by using the G-AHP.
Step 2 Determine the relevant criteria, alternatives, and identify the decision matrix. Suppose that A = { A 1 , A 2 , , A m } is a discrete set of m   a l t e r n a t i v e s , which are ranked by a discrete set C = { C 1 , C 2 , , C n } of n criteria.
The performance ratings of the alternatives with respect to criteria is assessed using the linguistic scale with grey numbers in Table 3. Suppose that there are k experts, and the value of alternative h in the criterion g is calculated using Equation (13). Then, the grey decision matrix is built, Equation (14), as follows:
G h g = 1 k ( G h g 1 + G h g 2 + + G h g k )
G = [ G 11 G 12 G 21 G 22 G 1 n G 2 n G m 1 G m 2 G m n ]
where G h g represents the importance of alternative h in the criterion g .
Step 3 Calculate the normalized decision matrix, Equations (15)–(17) as follows:
G * = [ G 11 * G 12 * G 21 * G 22 * G 1 n * G 2 n * G m 1 * G m 2 * G m n * ]
G _ h g * = G _ h g 1 2 ( h = 1 m G _ h g + h = 1 m G ¯ h g ) = 2 G _ h g h = 1 m G _ h g + h = 1 m G ¯ h g
G ¯ h g * = G ¯ h g 1 2 ( h = 1 m G _ h g + h = 1 m G ¯ h g ) = 2 G ¯ h g h = 1 m G _ h g + h = 1 m G ¯ h g
where G h g   is the pairwise comparison concerning the h th alternative in the g th criterion.
Step 4 Then, the weighted normalized grey decision matrix is calculated, Equation (18), as follows:
X = [ X 11 X 12 X 21 X 22 X 1 n X 2 n X m 1 X m 2 X m n ]   where   X h g = G h g * × w g
where w g is the grey weight of each criterion from the G-AHP.
Step 5 Calculate the relative significance of each alternative. First, we calculate the sums P h of the criterion values, i.e., the larger values are more preferable), Equation (19), as follows:
P h = 1 2 g = 1 o ( X _ h g + X ¯ h g ) , h = 1 ,   2 , , m ; g = 1 , 2 , , o
Then, we calculate the sums R h of the criterion value, i.e., the smaller values are more preferable, Equation (20), as follows:
R h = 1 2 g = o + 1 n ( X _ h g + X ¯ h g ) , h = 1 ,   2 , , m ; g = o + 1 ,   o + 2 , , n
Following that, the relative significance of each alternative is computed, as can be seen in Equation (21):
Q h = P h + h = 1 m R h R h h = 1 m 1 R h , h = 1 ,   2 , , m
Step 6 Determine the utility degree of each alternative.
First, the optimality criterion K is calculated using Equation (22). Next, the utility degree of each alternative N h is determined by comparing the alternatives under consideration with the best alternative (i.e., 100% for the best alternative), Equation (23), as follows:
K = M a x h Q h , h = 1 ,   2 , , m
N h = Q h Q m a x × 100 % ,   h = 1 ,   2 , , m

4. Case Study and Results

4.1. A Case Study in Vietnam

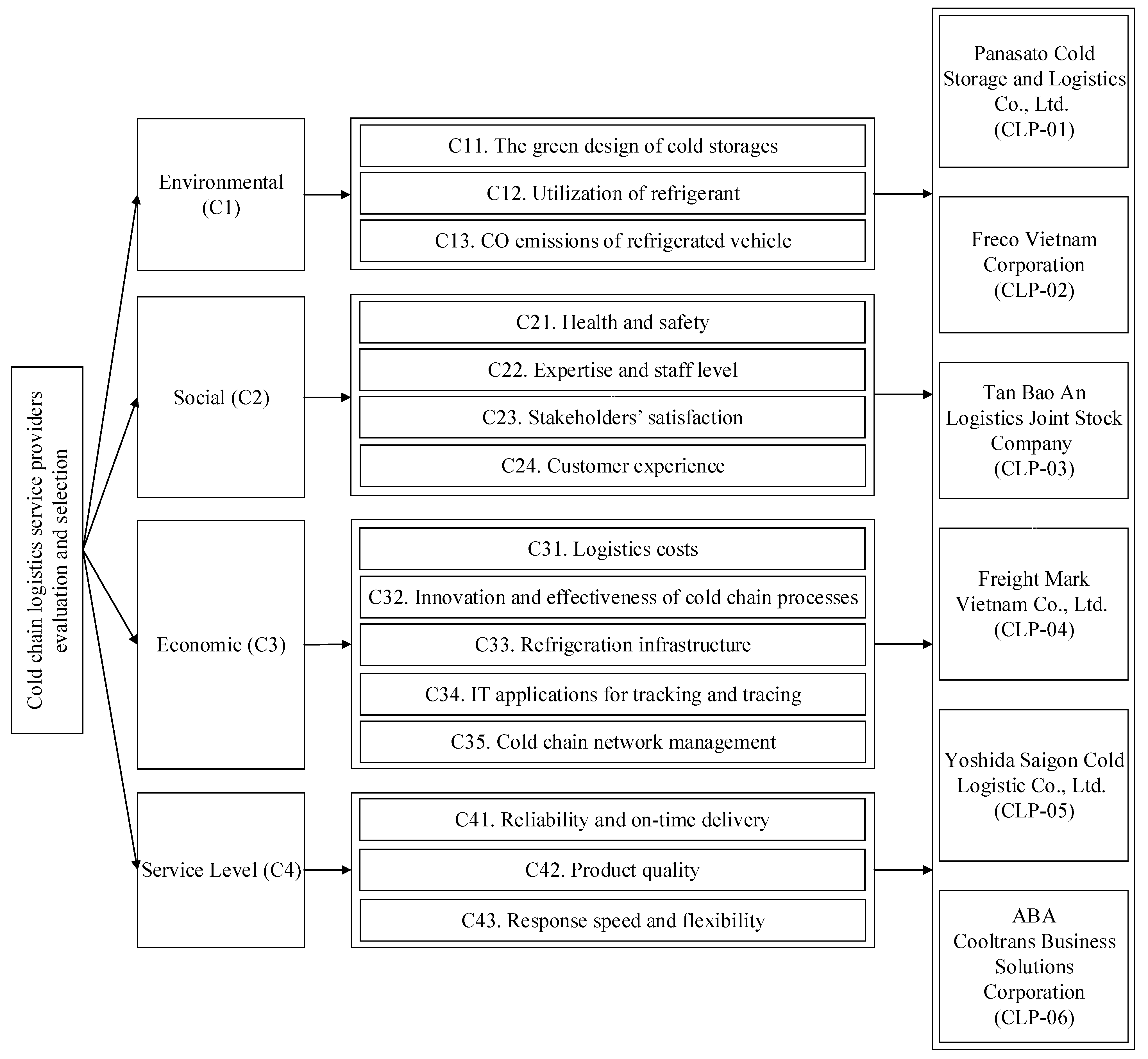
In this study, the two-stage grey MCDM method is applied to conduct a case study of six cold chain logistics companies in Vietnam, which are Panasato Cold Storage and Logistics Co., Ltd. (CLP-01; Song Than industrial park, Binh Duong, Vietnam); Freco Vietnam Corporation (CLP-02; Ba Dinh, Hanoi, Vietnam); Tan Bao An Logistics Joint Stock Company (CLP-03; Nha Be, Ho Chi Minh, Vietnam); Freight Mark Vietnam Co., Ltd. (CLP-04; district 3, Ho Chi Minh, Vietnam); Yoshida Saigon Cold Logistic Co., Ltd. (CLP-05; Thu Duc district, Ho Chi Minh, Vietnam); and ABA Cooltrans Business Solutions Corporation (CLP-06; district 5, Ho Chi Minh, Vietnam), as can be seen in Table 4. A panel of 15 experts who had been working in the area of cold chains industry for the past ten years was invited to determine potential alternatives and essential criteria for the evaluation to increase the objectivity of the results as much as possible. They were cold supply managers, supply chain managers in different industries, industrial engineers, and academicians. There was a session in which the committee discussed the factors and potential alternatives in the cold chain sector of Vietnam; many vital considerations were referenced and discussed between experts and specialists to determine critical factors for evaluating and selecting possible options. After discussions, the evaluation indicator system was constructed and finalized as the suitable and comprehensive set of criteria responsible for the feasible implementation of the CLPs from a developing country’s perspective. Finally, four evaluation dimensions and 15 criteria were shown; the hierarchical tree for the evaluation of cold chain logistics service providers is presented in Figure 3.

4.2. Calculation of Grey Weights with the G-AHP

In this section, G-AHP is applied to compute the grey weight of the evaluation criteria for the selection of cold chain logistics service providers. A total of four dimensions are considered, including environmental (C1), social (C2), economic (C3), and service level (C4), which are decomposed into 15 criteria.
The following procedure shows how to calculate the weight of the eigenvector of four dimensions and the process of the consistency ratio calculation. The initial comparison matrix with grey numbers of G-AHP is shown in Table 5 below.
The grey number is transformed to the crisp number to check the consistency ratio (CR) of the performance rating from experts’ opinions. The crisp matrix of four dimensions is shown in Table 6.
The normalized matrix of G-AHP is, then, obtained by dividing each value in a column of the matrix by its column sum to obtain the priority vector. As shown in Table 7, the priority vector is constructed by averaging the row elements in the normalized matrix.
The largest eigenvector ( λ m a x ) is computed to determine the consistency index (CI), the random index (RI), and the consistency ratio (CR), as follows:
[ 1.0000 1.1979 0.4363 0.1547 0.8348 1.0000 0.2973 0.3059 2.2920 3.3634 1.0000 0.5051 6.4635 3.2693 1.9797 1.0000 ] × [ 0.1066 0.1069 0.2809 0.5056 ] = [ 0.4352 0.4341 1.1402 2.1001 ] ;
[ 0.4352 0.4341 1.1402 2.1001 ] / [ 0.1066 0.1069 0.2809 0.5056 ] = [ 4.0860 4.0591 4.0592 4.1537 ]
In this paper, there are four dimensions including environmental, social, economic, and service level. Therefore, we have n = 4. Subsequently, λ m a x and CI are calculated as follows:
λ m a x = 4.0860 + 4.0591 + 4.0592 + 4.1537 4 = 4.0895
C I = λ m a x n n 1 = 4.0895 4 4 1 = 0.0298
such that n = 4 , we have R I = 0.9 , and the consistency ratio (CR) is calculated below.
C R = C I R I = 0.0298 0.9 = 0.0332
As shown in C R = 0.0332 < 0.1 , the result was satisfactory, and the pairwise comparison matrix was consistent. The same procedure is used to determine 15 criteria. Table A1 shows the integrated grey comparison matrix of the 15 criteria (Appendix A).
As the results from the G-AHP calculation, the grey weights and their transformed crisps are shown in Table 8. From the results, for example, the grey weight of criteria “the green design of cold storages” (C11) has the lowest weight (lower bound) at 0.0563 and the highest weight (upper bound) at 0.0981. Similar to the procedure, the grey weight of criteria “utilization of refrigerant” (C12) has the lowest weight at 0.0367 and the highest weight of 0.0648. The significance levels of 15 criteria of the G-AHP are displayed in Figure 4. The results indicate that the five most significant criteria are C42 (product quality), C31 (logistics costs), C32 (innovation and effectiveness of cold chain processes), C24 (customer experience), and C13 (CO emissions of refrigerated vehicle) with significance levels of 9.53%, 9.18%, 9.18%, 8.52%, and 8.08%, respectively. Meanwhile, C35 (cold chain network management) is specified as the least significant criterion, with a value of 4.10% as compared with other considered criteria. The findings suggest that decision-makers focus on “C42”, “C31”, “C32”, “C24”, and “C13” for improving the performance of the cold chain logistics service.

4.3. Ranking Alternatives with the G-COPRAS

In this step, the G-COPRAS ranks the alternatives. The preference grey weight of each criterion is obtained from the G-AHP. According to the process of the G-COPRAS, the integrated grey decision matrix of alternative concerning criteria is presented in Table A2 (Appendix A).
Through a numerical example, we demonstrated the calculation process of the G-COPRAS for C1 (environmental) including C11 (the green design of cold storages), C12 (utilization of refrigerant), and C13 (CO emissions of refrigerated vehicle). The calculation for C2 (social), (C3) (economic), and (C4) (service level) is conducted as the same procedures.
The important weight of each criterion is determined. The grey weights of all criteria are obtained from the G-AHP result, as can be seen in Table 9.
The integrated grey decision matrix is identified. There are 15 experts used for CLP performance evaluation ( k = 15 ). Table 10 shows the initial evaluation matrix of C1 (environmental). The integrated grey decision matrix of C1 (environmental) is calculated in Table 11 using Equations (13) and (14) in Section 3.4, example for CLP-01 as follows:
Example for CLP-01:
G _ C L P 01 = 1 15 ( 3 × 7 + 4 × 5 + 5 × 2 + 6 × 1 ) = 3.8000 G ¯ C L P 01 = 1 15 ( 4 × 7 + 5 × 5 + 6 × 2 + 9 × 1 ) = 4.9333
The normalized decision matrix is calcualted using Equations (15)–(17) in Section 3.4. The results are presented in Table 12, example for CLP-01 as follows:
Example for CLP-01:
G _ C L P 01 * = 2   ×   3.8000 ( 3.8000   +   2.8667   +   1.9333   +   4.2667   +   4.3333   +   3.3333 )   +   ( 4.9333   +   4.0667   +   3.1333   +   5.5333   +   5.6000   +   4.5333 ) = 0.1572
G ¯ C L P 01 * = 2   ×   4.9333 ( 3.8000   +   2.8667   +   1.9333   +   4.2667   +   4.3333   +   3.3333 )   +   ( 4.9333   +   4.0667   +   3.1333   +   5.5333   +   5.6000   +   4.5333 ) = 0.2041
Then, the weighted normalized grey decision matrix is calculated using Equation (18) in Section 3.4, as can be seen in Table 13, example for CLP-01 as follows:
Example for CLP-01:
X _ C L P 01 = 0.1572 × 0.0563 = 0.0089 X ¯ C L P 01 = 0.2041 × 0.0981 = 0.0200
Next the relative significance of each alternative is calculated according to benefit criteria and cost criteria using Equations (19)–(21) in Section 3.4. Finally, the utility degree of each alternative is determined using Equations (22) and (23) in Section 3.4.
The evaluation of the utility degree of the G-COPRAS is shown in Table 14. From the result, Yoshida Saigon Cold Logistic Co., Ltd. (CLP-05) achieves the highest performance with a utility degree of 100%. ABA Cooltrans Business Solutions Corporation (CLP-06) ranks second, with a utility degree of 94.96%, and Panasato Cold Storage and Logistics Co., Ltd. (CLP-01) ranks third with a utility degree of 93.69%. Meanwhile, Tan Bao An Logistics Joint Stock Company (CLP-03) has the lowest performance with a utility degree of 66.38%. The ranking performance is visualized in Figure 5.

5. Comparative Analysis

In this section, a comparison among MCDM methods is performed to illustrate the applicability and rationale of the provided G-AHP and G-COPRAS methodologies. COPRAS [55], G-EDAS [56], and G-TOPSIS [57] methodologies are used to rank the alternatives in this work. Table 15 displays the ranking results of the compared methods, which are also depicted in Figure 6. According to the comparative findings, the rating of the cold chain logistics providers with a case study in Vietnam produced the same results as the methods provided in this work, which is the integration of the G-AHP and G-TOPSIS, G-AHP and G-EDAS, and G-AHP and G-COPRAS methodologies. The rankings of the G-AHP and COPRAS methods deviate somewhat from the suggested method. There is a slight distinction between Freight Mark Vietnam Co., Ltd. (CLP-04), Yoshida Saigon Cold Logistic Co., Ltd. (CLP-05), and ABA Cooltrans Business Solutions Corporation (CLP-06). These results show the effectiveness of the applied techniques for evaluating and selecting the cold chain supplier selection with a case study in Vietnam. As a consequence of the above comparison research, it is reasonable to conclude that the ranking orders of the considered alternatives are credible and may serve as a valuable reference for users or decision-makers in picking the appropriate cold chain suppliers, particularly during the COVID-19 pandemic.

6. Research Implications

The research findings were discussed with experts to analyze the issues related to sustainability-focused CLP initiatives and there was good agreement with the results. In this sense, this study has several beneficial implications for managers who both outsource and offer logistics activities, stakeholders, as well as academicians, as follows:
For managers who intend to outsource their cold logistics activities, this study reveals some challenges in evaluating and selecting the right logistics providers for sustainability in the cold supply chain context, which has managerial implications for managers to support their businesses while remaining competitive in the market. Especially for a developing country, sustainable 3PL decisions have become necessary as organizations are aware of society and environment protection and increasingly compete on environmental, economic, and social supply chain capabilities. Important criteria and dimensions of criteria related to CLP selection have been recognized. The proper understanding of these criteria and dimensions can help in managing the challenges or barriers in developing sustainability-focused CLP selection criteria and evaluation decisions. All criteria considered in this research are helpful in addressing various challenges among organizations in developing sustainability aspects in 3PL-related decisions.
From the academic point of view, this study presents an integrated approach based on the G-AHP and G-COPRAS methods for CLP selection under limited or no quantitative information. Expert committees and grey theory are particularly suitable to address the challenge of assessing sustainability practices while minimizing the effects of imprecise or missing data. The G-AHP successfully provided consistent criteria ratings, whereas the G-COPRAS generates alternative rankings based on utility degree in the form of percentages. The comparative analysis will allow practitioners to test the observation stability.
Further, from the presented case study, this study provides a scientific means for managers who provide their logistics services in the cold supply chain to determine their strengths and weaknesses and to also improve their sustainable processes. The important benefit that this study offers is the development of evaluation criteria using literature and feedback from experts. For the whole society in the supply chain context, applying a comprehensive selection method (as presented in this paper based on G-AHP and G-COPRAS methods) can make the supply chain more transparent for internal and external stakeholders, therefore, helping businesses gain more accountability and decrease their vulnerability.

7. Conclusions and Future Studies

Outsourcing cold chain logistics services is a growing trend that brings businesses a number of undeniable benefits. Specifically, CLPs assist businesses in the cold supply chain in Vietnam and many other countries in thriving and ensuring a more efficient goods distribution process and a complete supply chain that can meet the criteria of sustainable development (service and product quality, technology, environmentally friendly innovations, etc.) to satisfy customers’ requirements. Thus, choosing a suitable CLP is a vital strategic decision. In this paper, a grey-based MCDM method for CLP selection in a developing country is presented. The suggested method allows the G-AHP to determine the weights of the assessment criteria and subsequently the G-COPRAS to rank the alternatives. A case study in Vietnam is used to demonstrate the reliability of the suggested integrated framework. Fifteen evaluation criteria were chosen from the literature after consulting with industry experts. Product quality, logistics costs, innovation and effectiveness of cold chain processes, customer experience, and CO emissions of refrigerated vehicle are the five evaluation criteria that obtained the highest weight priority in the analysis. The final ranking indicates that Yoshida Saigon Cold Logistic company (CPL-05) is the best CLP among alternatives. A comparative analysis was conducted to test the robustness of the approach, with the results illustrating that the applied methods reach common CLP rankings. This shows that the applied approach is practical in nature.
The contributions of the present study are three-fold. First, our study aims to evaluate cold supply chain logistics providers in the context of Vietnam, which has never been investigated before in the literature. While evaluating the alternatives, a set of sustainability criteria is examined, which is a significant advantage of this study. Second, in terms of method, the combination of AHP, COPRAS, and the grey theory is proposed to solve the problem that has been identified as appropriate and effective methodologies for the cold chain industry evaluation. The application of grey-based MCDM methods for the evaluation of 3PL in general and selecting CLPs, in particular, is limited. Thus, this study shows the applicability of other grey-based multi-criteria methods for the logistics providers evaluation in an integrated manner. The presented approach was applied for Vietnam to show its effectiveness and the applicability. On the one hand, compared to the classical AHP, the introduced G-AHP method can solve intricate problems in uncertain conditions, which makes it a very effective technique and provides more information on specific elements of experts’ preferences. In addition, very few studies have used the integration of the G-COPRAS tool for 3PL evaluation. The grey relationship in G-COPRAS makes it more practical when dealing with uncertain factors and the method creates results with higher accuracy, fewer computation steps, and a shorter calculation time. Third, for managerial implications, the assessments presented in this research offer valuable materials for managers, practitioners, and stakeholders of cold chain businesses not only to assess the most efficient CLP in the supply chain in the market but also to devise suitable strategies toward sustainable development.
Although the methodology adopted in this study has been conducted successfully in prioritizing different alternatives and factors, it was not without some limitations. One limitation can be the use of the AHP method. Although the consistency check in the present study has been fulfilled, it is inconceivable to neglect the inconsistency in the pairwise comparison matrix that might occur in practice for other problems. The best worst method (BWM) can overcome this drawback as it unburdens decision-makers by requiring fewer pairwise comparisons than the conventional AHP procedure [58] or the multi-level parsimonious analytic hierarchy process (PAHP) method, which can significantly reduce survey [59]. The analytic network process (ANP) method can also be a better option to avoid the interrelationship of factors. Hence, these methods are recommended for future studies. Another limitation is that the evaluation process of CLPs depends on the involvement of experts; thus, the results are based on personal opinions, knowledge, and judgment. To avoid this limitation, 15 experts were utilized to provide different preferences. Thus, different multi-criteria evaluation techniques such as VIKOR, TOPSIS, WASPAS, PROMETHEE, and MACBETH (measuring attractiveness by a categorical based evaluation technique) could be employed to achieve the same goal, and findings could be compared.
The methodology used in this study can also be extended within the dynamic and uncertain environment in future research by integrating novel criteria factors responsible for coordination in the supply chain, especially those regarding the current crisis. In addition, the present study could be applied to specific supply chain scenarios in different industries and countries with other multi-criteria methods as outlined earlier to see if the findings are generalizable.

Author Contributions

Conceptualization, T.-T.D.; data curation, L.-T.-T.D.; formal analysis, N.-A.-T.N.; funding acquisition, C.-N.W.; investigation, L.-T.-T.D.; methodology, L.-T.-H.D.; project administration, C.-N.W.; software, N.-A.-T.N.; validation, T.-T.D.; writing—original draft, T.-T.D. and L.-T.-H.D.; writing—review and editing, C.-N.W. and N.-A.-T.N. All authors have read and agreed to the published version of the manuscript.

Funding

This research received no external funding.

Institutional Review Board Statement

Not applicable.

Informed Consent Statement

Not applicable.

Data Availability Statement

Not applicable.

Acknowledgments

The authors appreciate the support from the National Kaohsiung University of Science and Technology, Taiwan; Banking University Ho Chi Minh City, Vietnam; and Hong Bang International University, Vietnam.

Conflicts of Interest

The authors declare no conflict of interest.

Appendix A

Table A1. The integrated grey comparison matrix of the G-AHP.
Table A1. The integrated grey comparison matrix of the G-AHP.
CriteriaC11C12C13C21C22
x _ x ¯ x _ x ¯ x _ x ¯ x _ x ¯ x _ x ¯
C11. The green design of cold storages1.00001.00001.44732.68080.67251.29441.23602.27150.66731.2125
C12. Utilization of refrigerant0.37300.69101.00001.00000.79371.58740.59681.06761.25992.2109
C13. CO emissions of refrigerated vehicle0.77251.48690.63001.25991.00001.00001.83783.18611.14872.0158
C21. Health and safety0.44020.80910.93671.67560.31390.54411.00001.00000.37300.6725
C22. Expertise and staff level0.82471.49860.45230.79370.49610.87061.48692.68081.00001.0000
C23. Stakeholders’ satisfaction0.38320.68560.58551.12690.34940.64220.59681.12691.14872.0873
C24. Customer experience1.26992.31551.39282.49150.63001.25991.96203.36311.97753.3776
C31. Logistics costs1.41982.52881.78883.16381.31952.39771.78882.94841.04731.8029
C32. Innovation and effectiveness of cold chain processes0.99221.76871.29442.37900.48290.87061.18022.14271.63092.8845
C33. Refrigeration infrastructure0.37300.67251.09681.97750.31010.54410.86371.53970.75191.3928
C34. IT applications for tracking and tracing0.22710.38320.93671.75480.91171.72150.48290.91170.69101.3819
C35. Cold chain network management0.34010.63000.62501.10550.31390.54410.63001.25990.32730.5968
C41. Reliability and on-time delivery1.35572.44411.06761.93990.63001.25991.59992.74011.39282.5397
C42. Product quality0.52960.96241.07602.01581.29442.37902.49154.04591.96203.3631
C43. Response speed and flexibility0.84731.59990.62501.10550.40140.72360.87061.63090.69881.2457
CriteriaC23C24C31C32C33
C11. The green design of cold storages1.45872.60930.43190.78750.39540.70430.56541.00791.48692.6808
C12. Utilization of refrigerant0.88741.70800.40140.71800.31610.55900.42040.77250.50570.9117
C13. CO emissions of refrigerated vehicle1.55722.86190.79371.58740.41710.75791.14872.07101.83783.2251
C21. Health and safety0.88741.67560.29730.50970.33920.55900.46670.84730.64951.1578
C22. Expertise and staff level0.47910.87060.29610.50570.55470.95480.34670.61320.71801.3299
C23. Stakeholders’ satisfaction1.00001.00000.79371.58740.58091.04730.67251.31952.37904.0633
C24. Customer experience0.63001.25991.00001.00000.79371.58740.56991.09681.64382.8274
C31. Logistics costs0.95481.72150.63001.25991.00001.00000.79371.58742.31554.0633
C32. Innovation and effectiveness of cold chain processes0.75791.48690.91171.75480.63001.25991.00001.00002.80764.5235
C33. Refrigeration infrastructure0.24610.42040.35370.60840.24610.43190.22110.35621.00001.0000
C34. IT applications for tracking and tracing0.55471.04730.48290.91170.34670.63000.27730.48291.23602.2715
C35. Cold chain network management0.27730.48290.27850.47370.52960.98100.36590.65460.51961.0000
C41. Reliability and on-time delivery0.88741.64380.73761.41980.75791.48690.60151.20301.04731.9775
C42. Product quality1.35572.37901.26992.31550.93671.78880.66731.18951.00001.8378
C43. Response speed and flexibility0.29610.51960.39370.71800.38320.72360.27730.49610.37300.6910
CriteriaC34C35C41C42C43
C11. The green design of cold storages2.60934.40291.58742.94040.40910.73761.03911.88820.62501.1802
C12. Utilization of refrigerant0.56991.06760.90461.59990.51550.93670.49610.92940.90461.5999
C13. CO emissions of refrigerated vehicle0.58091.09681.83783.18610.79371.58740.42040.77251.38192.4915
C21. Health and safety1.09682.07100.79371.58740.36490.62500.24720.40140.61321.1487
C22. Expertise and staff level0.72361.44731.67563.05530.39370.71800.29730.50970.80271.4310
C23. Stakeholders’ satisfaction0.95481.80292.07103.60580.60841.12690.42040.73761.92473.3776
C24. Customer experience1.09682.07102.11113.59030.70431.35570.43190.78751.39282.5397
C31. Logistics costs1.58742.88451.01941.88820.67251.31950.55901.06761.38192.6093
C32. Innovation and effectiveness of cold chain processes2.07103.60581.52772.73270.83121.66250.84071.49862.01583.6058
C33. Refrigeration infrastructure0.44020.80911.00001.92470.50570.95480.54411.00001.44732.6808
C34. IT applications for tracking and tracing1.00001.00000.54411.04730.66731.12690.84731.55721.66252.9404
C35. Cold chain network management0.95481.83781.00001.00000.40630.73760.34670.61321.55722.8076
C41. Reliability and on-time delivery0.88741.49861.35572.46141.00001.00000.79371.58741.38192.6093
C42. Product quality0.64221.18021.63092.88450.79371.58741.00001.00002.49154.2555
C43. Response speed and flexibility0.34010.60150.35620.64221.38192.60930.23500.40141.00001.0000
Table A2. The integrated grey decision matrix of the G-COPRAS.
Table A2. The integrated grey decision matrix of the G-COPRAS.
CriteriaC11C12C13C21C22
x _ x ¯ x _ x ¯ x _ x ¯ x _ x ¯ x _ x ¯
CLP-013.80004.93334.33335.66674.13335.40005.73337.13333.53334.7333
CLP-022.86674.06672.40003.46672.00003.33332.46673.80001.80003.1333
CLP-031.93333.13331.73333.00001.86673.53331.60002.80001.80003.2000
CLP-044.26675.53334.66676.06673.93335.26676.13337.66674.53335.9333
CLP-054.33335.60004.46675.86674.60006.13333.60004.66674.20005.8667
CLP-063.33334.53332.46673.73331.93333.26672.93334.26675.26676.6667
CriteriaC23C24C31C32C33
CLP-012.86674.06673.73334.80004.53336.06675.26676.66674.80006.4667
CLP-022.20003.26671.86673.13333.20004.53332.26673.33331.00002.4000
CLP-031.66673.00001.40002.80001.46672.86671.86673.13332.33333.5333
CLP-042.60004.00003.46674.66674.60006.13333.60004.66674.20005.8667
CLP-053.33334.53333.73335.00004.46675.86675.66677.06675.26676.6667
CLP-063.53334.80004.73336.13335.60007.00004.40005.80005.00006.5333
CriteriaC34C35C41C42C43
CLP-016.06677.86674.40005.80003.20004.53333.73334.93333.80005.0000
CLP-022.80003.86673.20004.33334.26675.93333.26674.40003.53334.7333
CLP-031.86673.40001.40002.80002.06673.20001.80003.06671.73333.0000
CLP-044.00005.33333.86675.26673.20004.53334.06675.40002.60003.8000
CLP-054.26675.53334.66676.06673.93335.26676.13337.66674.53335.9333
CLP-064.33335.60004.46675.86674.60006.13333.60004.66674.20005.8667

References

  1. Role of Cold Supply Chain In Vietnam Logistics Development. Available online: https://chothuekholanh.vn/tin-tuc/phat-trien-logistics-viet-nam.html (accessed on 23 February 2022).
  2. Cold Supply Chain—The Hottest Segment of the Logistics Industry. Available online: https://vtv.vn/kinh-te/chuoi-cung-ung-lanh-phan-khuc-nong-nhat-cua-nganh-logictics-20211129153135579.htm (accessed on 23 February 2022).
  3. Gligor, D.; Tan, A.; Nguyen, T.N.T. The Obstacles to Cold Chain Implementation in Developing Countries: Insights from Vietnam. Int. J. Logist. Manag. 2018, 29, 942–958. [Google Scholar] [CrossRef]
  4. Pham, T.H.; Doan, T.D.U. Supply Chain Relationship Quality, Environmental Uncertainty, Supply Chain Performance and Financial Performance of High-Tech Agribusinesses in Vietnam. Uncertain Supply Chain. Manag. 2020, 8, 663–674. [Google Scholar] [CrossRef]
  5. Aguezzoul, A. Third-Party Logistics Selection Problem: A Literature Review on Criteria and Methods. Omega 2014, 49, 69–78. [Google Scholar] [CrossRef]
  6. Çelikbilek, Y.; Tüysüz, F. An Integrated Grey Based Multi-Criteria Decision Making Approach for the Evaluation of Renewable Energy Sources. Energy 2016, 115, 1246–1258. [Google Scholar] [CrossRef]
  7. Arce, M.E.; Saavedra, Á.; Míguez, J.L.; Granada, E. The Use of Grey-Based Methods in Multi-Criteria Decision Analysis for the Evaluation of Sustainable Energy Systems: A Review. Renew. Sustain. Energy Rev. 2015, 47, 924–932. [Google Scholar] [CrossRef]
  8. Tseng, M.L. A Causal and Effect Decision Making Model of Service Quality Expectation Using Grey-Fuzzy DEMATEL Approach. Expert Syst. Appl. 2009, 36, 7738–7748. [Google Scholar] [CrossRef]
  9. Zadeh, L.A. Fuzzy Sets. Inf. Control. 1965, 8, 338–353. [Google Scholar] [CrossRef]
  10. Deng, J. Control Problems of Grey Systems. Syst. Control. Lett. 1982, 1, 288–294. [Google Scholar]
  11. Soh, S. A Decision Model for Evaluating Third-Party Logistics Providers Using Fuzzy Analytic Hierarchy Process. Afr. J. Bus. Manag. 2010, 4, 339–349. [Google Scholar] [CrossRef]
  12. Ho, W.; He, T.; Lee, C.K.M.; Emrouznejad, A. Strategic Logistics Outsourcing: An Integrated QFD and Fuzzy AHP Approach. Expert Syst. Appl. 2012, 39, 10841–10850. [Google Scholar] [CrossRef]
  13. Govindan, K.; Chaudhuri, A. Interrelationships of Risks Faced by Third Party Logistics Service Providers: A DEMATEL Based Approach. Transp. Res. Part E Logist. Transp. Rev. 2016, 90, 177–195. [Google Scholar] [CrossRef]
  14. Raut, R.; Kharat, M.; Kamble, S.; Kumar, C.S. Sustainable Evaluation and Selection of Potential Third-Party Logistics (3PL) Providers. Benchmarking Int. J. 2018, 25, 76–97. [Google Scholar] [CrossRef]
  15. Pamucar, D.; Chatterjee, K.; Zavadskas, E.K. Assessment of Third-Party Logistics Provider Using Multi-Criteria Decision-Making Approach Based on Interval Rough Numbers. Comput. Ind. Eng. 2019, 127, 383–407. [Google Scholar] [CrossRef]
  16. Jamali, M.B.; Rasti-Barzoki, M. A Game Theoretic Approach to Investigate the Effects of Third-Party Logistics in a Sustainable Supply Chain by Reducing Delivery Time and Carbon Emissions. J. Clean. Prod. 2019, 235, 636–652. [Google Scholar] [CrossRef]
  17. Vazifehdan, M.N.; Darestani, S.A. Green Logistics Outsourcing Employing Multi Criteria Decision Making and Quality Function Deployment in the Petrochemical Industry. Asian J. Shipp. Logist. 2019, 35, 243–254. [Google Scholar] [CrossRef]
  18. Wang, C.-N.; Nguyen, N.-A.-T.; Dang, T.-T.; Lu, C.-M. A Compromised Decision-Making Approach to Third-Party Logistics Selection in Sustainable Supply Chain Using Fuzzy AHP and Fuzzy VIKOR Methods. Mathematics 2021, 9, 886. [Google Scholar] [CrossRef]
  19. Saravanan, S.; Anubama, B. Selection of Cold Chain Logistics Service Providers in Pharmaceutical Industry with Reference to India. Int. J. Manag. Value Supply Chain. 2017, 8, 1–12. [Google Scholar] [CrossRef]
  20. Han, Y. Research on Selection of Fresh Cold Chain Logistics Service Providers Based on AHP-TOPSIS. Int. J. Sci. 2020, 7, 39–46. [Google Scholar]
  21. Singh, R.K.; Gunasekaran, A.; Kumar, P. Third Party Logistics (3PL) Selection for Cold Chain Management: A Fuzzy AHP and Fuzzy TOPSIS Approach. Ann. Oper. Res. 2018, 267, 531–553. [Google Scholar] [CrossRef]
  22. Liao, H.; Wu, D.; Huang, Y.; Ren, P.; Xu, Z.; Verma, M. Green Logistic Provider Selection with a Hesitant Fuzzy Linguistic Thermodynamic Method Integrating Cumulative Prospect Theory and PROMETHEE. Sustainability 2018, 10, 1291. [Google Scholar] [CrossRef]
  23. Khan, A.U.; Ali, Y. Sustainable Supplier Selection for the Cold Supply Chain (CSC) in the Context of a Developing Country. Environ. Dev. Sustain. 2021, 23, 13135–13164. [Google Scholar] [CrossRef]
  24. Liao, H.; Chang, J.; Zhang, Z.; Zhou, X.; Al-Barakati, A. Third-Party Cold Chain Medicine Logistics Provider Selection by a Rough Set-Based Gained and Lost Dominance Score Method. Int. J. Fuzzy Syst. 2020, 22, 2055–2069. [Google Scholar] [CrossRef]
  25. Kannan, D.; Khodaverdi, R.; Olfat, L.; Jafarian, A.; Diabat, A. Integrated Fuzzy Multi Criteria Decision Making Method and Multi-Objective Programming Approach for Supplier Selection and Order Allocation in a Green Supply Chain. J. Clean. Prod. 2013, 47, 355–367. [Google Scholar] [CrossRef]
  26. Ghadimi, P.; Heavey, C. Sustainable Supplier Selection in Medical Device Industry: Toward Sustainable Manufacturing. Procedia Cirp 2014, 15, 165–170. [Google Scholar] [CrossRef]
  27. Mehregan, M.R.; Hashemi, S.H.; Karimi, A.; Merikhi, B. Analysis of Interactions among Sustainability Supplier Selection Criteria Using ISM and Fuzzy DEMATEL. Int. J. Appl. Decis. Sci. 2014, 7, 270. [Google Scholar] [CrossRef]
  28. Hong, G.H.; Park, S.C.; Jang, D.S.; Rho, H.M. An Effective Supplier Selection Method for Constructing a Competitive Supply-Relationship. Expert Syst. Appl. 2005, 28, 629–639. [Google Scholar] [CrossRef]
  29. Flint, D.J.; Larsson, E.; Gammelgaard, B.; Mentzer, J.T. Logistics Innovation: A Customer Value-Oriented Social Process. J. Bus. Logist. 2005, 26, 113–147. [Google Scholar] [CrossRef]
  30. Zokaee, S.; Jabbarzadeh, A.; Fahimnia, B.; Sadjadi, S.J. Robust Supply Chain Network Design: An Optimization Model with Real World Application. Ann. Oper. Res. 2017, 257, 15–44. [Google Scholar] [CrossRef]
  31. Agrawal, S.; Singh, R.K.; Murtaza, Q. Outsourcing Decisions in Reverse Logistics: Sustainable Balanced Scorecard and Graph Theoretic Approach. Resour. Conserv. Recycl. 2016, 108, 41–53. [Google Scholar] [CrossRef]
  32. Javanbarg, M.B.; Scawthorn, C.; Kiyono, J.; Shahbodaghkhan, B. Fuzzy AHP-Based Multicriteria Decision Making Systems Using Particle Swarm Optimization. Expert Syst. Appl. 2012, 39, 960–966. [Google Scholar] [CrossRef]
  33. Abdel-Basset, M.; Gamal, A.; Chakrabortty, R.K.; Ryan, M. A New Hybrid Multi-Criteria Decision-Making Approach for Location Selection of Sustainable Offshore Wind Energy Stations: A Case Study. J. Clean. Prod. 2021, 280, 124462. [Google Scholar] [CrossRef]
  34. Zavadskas, E.K.; Kaklauskas, A.; Sarka, V. The New Method of Multicriteria Complex Proportional Assessment of Projects. Technol. Econ. Dev. Econ. 1994, 1, 131–139. [Google Scholar]
  35. Chatterjee, P.; Athawale, V.M.; Chakraborty, S. Materials Selection Using Complex Proportional Assessment and Evaluation of Mixed Data Methods. Mater. Des. 2011, 32, 851–860. [Google Scholar] [CrossRef]
  36. Kayapinar Kaya, S.; Aycin, E. An Integrated Interval Type 2 Fuzzy AHP and COPRAS-G Methodologies for Supplier Selection in the Era of Industry 4.0. Neural Comput. Appl. 2021, 33, 10515–10535. [Google Scholar] [CrossRef]
  37. Toloie-Eshlaghy, A.; Homayonfar, M. MCDM Methodologies and Applications: A Literature Review from 1999 to 2009. Res. J. Int. Stud. 2011, 21, 86–137. [Google Scholar]
  38. Mardani, A.; Jusoh, A.; Nor, K.; Khalifah, Z.; Zakwan, N.; Valipour, A. Multiple Criteria Decision-Making Techniques and Their Applications—A Review of the Literature from 2000 to 2014. Econ. Res. Ekon. Istraživanja 2015, 28, 516–571. [Google Scholar] [CrossRef]
  39. Zarbakhshnia, N.; Soleimani, H.; Ghaderi, H. Sustainable Third-Party Reverse Logistics Provider Evaluation and Selection Using Fuzzy SWARA and Developed Fuzzy COPRAS in the Presence of Risk Criteria. Appl. Soft Comput. 2018, 65, 307–319. [Google Scholar] [CrossRef]
  40. Yuan, Y.; Xu, Z.; Zhang, Y. The DEMATEL–COPRAS Hybrid Method under Probabilistic Linguistic Environment and Its Application in Third Party Logistics Provider Selection. Fuzzy Optim. Decis. Mak. 2022, 21, 137–156. [Google Scholar] [CrossRef]
  41. Raut, R.D.; Gardas, B.B.; Pushkar, S.; Narkhede, B.E. Third-Party Logistics Service Providers Selection and Evaluation: A Hybrid AHP-DEA-COPRAS-G Group Decision-Making Approach. Int. J. Procure Manag. 2019, 12, 632. [Google Scholar] [CrossRef]
  42. Alkharabsheh, A.; Moslem, S.; Oubahman, L.; Duleba, S. An Integrated Approach of Multi-Criteria Decision-Making and Grey Theory for Evaluating Urban Public Transportation Systems. Sustainability 2021, 13, 2740. [Google Scholar] [CrossRef]
  43. Wang, C.N.; Dang, T.T.; Nguyen, N.A.T.; Wang, J.W. A Combined Data Envelopment Analysis (DEA) and Grey Based Multiple Criteria Decision Making (G-MCDM) for Solar PV Power Plants Site Selection: A Case Study in Vietnam. Energy Rep. 2022, 8, 1124–1142. [Google Scholar] [CrossRef]
  44. Moslem, S.; Çelikbilek, Y. An Integrated Grey AHP-MOORA Model for Ameliorating Public Transport Service Quality. Eur. Transp. Res. Rev. 2020, 12, 68. [Google Scholar] [CrossRef]
  45. Çelikbilek, Y.; Moslem, S.; Duleba, S. A Combined Grey Multi Criteria Decision Making Model to Evaluate Public Transportation Systems. Evol. Syst. 2022. [Google Scholar] [CrossRef]
  46. Sahoo, S.; Dhar, A.; Kar, A. Environmental Vulnerability Assessment Using Grey Analytic Hierarchy Process Based Model. Environ. Impact Assess. Rev. 2016, 56, 145–154. [Google Scholar] [CrossRef]
  47. Rajesh, G.; Malliga, P. Selection of Suppliers Using Swara and Copras-G. Int. J. Enterp. Netw. Manag. 2018, 9, 169. [Google Scholar] [CrossRef]
  48. Malaga, A.; Vinodh, S. Benchmarking Smart Manufacturing Drivers Using Grey TOPSIS and COPRAS-G Approaches. Benchmarking Int. J. 2021, 28, 2916–2951. [Google Scholar] [CrossRef]
  49. Zavadskas, E.K.; Hasan Aghdaie, M.; Hashemkhani Zolfani, S. Decision Making in Machine Tool Selection: An Integrated Approach with SWARA and COPRAS-G Methods. Eng. Econ. 2013, 24, 5–17. [Google Scholar] [CrossRef]
  50. Broniewicz, E.; Ogrodnik, K. A comparative evaluation of multi-criteria analysis methods for sustainable transport. Energies 2021, 14, 5100. [Google Scholar] [CrossRef]
  51. Deng, J. Introduction to Grey System Theory. J. Grey Syst. 1989, 1, 1–24. [Google Scholar]
  52. Zareinejad, M.; Kaviani, M.A.; Esfahani, M.J.; Takamoli Masoule, F. Performance Evaluation of Services Quality in Higher Education Institutions Using Modified SERVQUAL Approach with Grey Analytic Hierarchy Process (G-AHP) and Multilevel Grey Evaluation. Decis. Sci. Lett. 2014, 3, 143–156. [Google Scholar] [CrossRef][Green Version]
  53. Zavadskas, E.K.; Kaklauskas, A.; Turskis, Z.; Tamošaitienė, J. Multi-Attribute Decision-Making Model by Applying Grey Numbers. Informatica 2009, 20, 305–320. [Google Scholar] [CrossRef]
  54. Turanoglu Bekar, E.; Cakmakci, M.; Kahraman, C. Fuzzy COPRAS Method for Performance Measurement in Total Productive Maintenance: A Comparative Analysis. J. Bus. Econ. Manag. 2016, 17, 663–684. [Google Scholar] [CrossRef]
  55. Zavadskas, E.K.; Kaklauskas, A.; Vilutienė, T. Multicriteria evaluation of apartment blocks maintenance contractors: Lithuanian case study. Int. J. Strateg. Prop. Manag. 2009, 13, 319–338. [Google Scholar] [CrossRef]
  56. Stanujkic, D.; Zavadskas, E.K.; Ghorabaee, M.K.; Turskis, Z. An Extension of the EDAS Method Based on the Use of Interval Grey Numbers. Stud. Inform. Control. 2017, 26, 5–12. [Google Scholar] [CrossRef]
  57. Toan, P.N.; Dang, T.-T.; Hong, L.T.T. E-Learning Platform Assessment and Selection Using Two-Stage Multi-Criteria Decision-Making Approach with Grey Theory: A Case Study in Vietnam. Mathematics 2021, 9, 3136. [Google Scholar] [CrossRef]
  58. Moslem, S.; Farooq, D.; Ghorbanzadeh, O.; Blaschke, T. Application of the AHP-BWM Model for Evaluating Driver Behavior Factors Related to Road Safety: A Case Study for Budapest. Symmetry 2020, 12, 243. [Google Scholar] [CrossRef]
  59. Duleba, S.; Moslem, S. User Satisfaction Survey on Public Transport by a New PAHP Based Model. Appl. Sci. 2021, 11, 10256. [Google Scholar] [CrossRef]
Figure 1. The research framework of this study.
Figure 1. The research framework of this study.
Axioms 11 00154 g001
Figure 2. The concept of the grey system theory.
Figure 2. The concept of the grey system theory.
Axioms 11 00154 g002
Figure 3. The hierarchical tree for evaluation of cold chain logistics service providers.
Figure 3. The hierarchical tree for evaluation of cold chain logistics service providers.
Axioms 11 00154 g003
Figure 4. The significance level of criteria from the G-AHP.
Figure 4. The significance level of criteria from the G-AHP.
Axioms 11 00154 g004
Figure 5. Final alternatives ranking of the G-COPRAS.
Figure 5. Final alternatives ranking of the G-COPRAS.
Axioms 11 00154 g005
Figure 6. Comparative analysis of methods.
Figure 6. Comparative analysis of methods.
Axioms 11 00154 g006
Table 1. Factors under consideration for the sustainability of cold chain logistics service providers.
Table 1. Factors under consideration for the sustainability of cold chain logistics service providers.
DimensionCriteriaReferences
EnvironmentalThe green design of cold storagesKannan et al. (2013) [25], Khan and Ali (2021) [23]
Utilization of refrigerantLiao et al. (2018) [22]
CO emissions of refrigerated vehicleLiao et al. (2018) [22]
SocialHealth and safetyGhadimi and Heavey (2014) [26], Khan and Ali (2021) [23], Wang et al. (2021) [18]
Expertise and staff levelHo et al. (2012) [12], Han (2020) [20]
Stakeholders’ satisfactionMehregan et al. (2020) [27], Khan and Ali (2021) [23]
Customer experienceHong et al. (2005) [28], Han (2020) [20], Khan and Ali (2020) [23]
EconomicLogistics costsSingh et al. (2018) [21], Liao et al. (2020) [24], Wang et al. (2021) [18]
Innovation and effectiveness of cold chain processesFlint et al. (2005) [29], Singh (2018) [21]
Refrigeration infrastructureHan (2020) [20]
IT applications for tracking and tracingSaravanan and Anubama (2017) [19], Singh et al. (2018) [21]
Cold chain network managementZokaee et al. (2014) [30], Agrawal et al. (2016) [31], Singh et al. (2018) [21]
Service LevelReliability and on-time deliveryHo et al. (2012) [12], Liao et al. (2018) [22], Jamali and Rasti-Barzoki (2019) [16], Khan and Ali (2021) [23], Wang et al. (2021) [18]
Product qualitySoh (2010) [11], Govindan and Chaudhuri (2016) [13], Saravanan and Anubama (2017) [19], Liao et al. (2018) [22], Vazifehdan and Darestani (2019)
Response speed and flexibilityGovindan and Chaudhuri (2016) [13], Liao et al. (2018) [22], Raut et al. (2018) [14], Khan and Ali (2021) [23], Wang et al. (2021) [18]
Table 2. The linguistic scales with grey numbers in the G-AHP.
Table 2. The linguistic scales with grey numbers in the G-AHP.
SetLinguistics ScalesSymbolGrey Numbers
1Equivalent importanceEI[1, 2]
3Medium importanceMI[2, 4]
5Strong importanceSI[4, 6]
7Very Strong importanceVSI[6, 8]
9Extreme importanceEMI[8, 10]
Table 3. The linguistics scales with grey numbers in the G-COPRAS.
Table 3. The linguistics scales with grey numbers in the G-COPRAS.
Linguistics ScalesSymbolGrey Numbers [ x _ ,   x ¯ ]
Very poorVP[0, 1]
PoorP[1, 3]
Medium poorMP[3, 4]
FairF[4, 5]
Medium goodMG[5, 6]
GoodG[6, 9]
Very goodVG[9, 10]
Table 4. The list of cold chain logistics service providers used in this study.
Table 4. The list of cold chain logistics service providers used in this study.
NoSymbolCompany NameWebsite (accessed on 23 February 2022)
1CLP-01Panasato Cold Storage and Logistics Co., Ltd.https://panasato.com.vn/
2CLP-02Freco Vietnam Corporationhttps://freco.com.vn/
3CLP-03Tan Bao An Logistics Joint Stock Companyhttp://www.xelanhtba.com/
4CLP-04Freight Mark Vietnam Co., Ltd.https://wnw.vn/
5CLP-05Yoshida Saigon Cold Logistic Co., Ltd.http://www.haucanlanhyoshida.bizz.vn/
6CLP-06ABA Cooltrans Business Solutions Corporationhttps://aba.com.vn/
Table 5. The initial comparison matrix of G-AHP.
Table 5. The initial comparison matrix of G-AHP.
DimensionLeft Criteria Is Greater Right Criteria Is GreaterDimension
EMIVSISIMIEIMISIVSIEMI
C1 1554 C2
C1 1455 C3
C1 2346C4
C2 2661 C3
C2 3543 C4
C3 2445 C4
Table 6. The crisp matrix of G-AHP.
Table 6. The crisp matrix of G-AHP.
DimensionEnvironmental (C1)Social (C2)Economic (C3)Service Level (C4)
Environmental (C1)1.00001.19790.43630.1547
Social (C2)0.83481.00000.29730.3059
Economic (C3)2.29203.36341.00000.5051
Service level (C4)6.46353.26931.97971.0000
Total10.59038.83053.71331.9657
Table 7. The normalized matrix of the G-AHP.
Table 7. The normalized matrix of the G-AHP.
DimensionEnvironmental (C1)Social (C2)Economic (C3)Service Level (C4)Priority Vector
Environmental (C1)0.09440.13560.11750.07870.1066
Social (C2)0.07880.11320.08010.15560.1069
Economic (C3)0.21640.38090.26930.25700.2809
Service Level (C4)0.61030.37020.53310.50870.5056
Total1.00001.00001.00001.00001.0000
Table 8. The grey weights from the G-AHP.
Table 8. The grey weights from the G-AHP.
CriteriaGrey WeightsCrisp Weights
C11, the green design of cold storages0.05630.09810.0772
C12, utilization of refrigerant0.03670.06480.0507
C13, CO emissions of refrigerated vehicle0.05840.10320.0808
C21, health and safety0.03160.05490.0433
C22, expertise and staff level0.03680.06380.0503
C23, stakeholders’ satisfaction0.04960.08740.0685
C24, customer experience0.06180.10860.0852
C31, logistics costs0.06670.11690.0918
C32, innovation and effectiveness of cold chain processes0.06690.11660.0918
C33, refrigeration infrastructure0.03210.05600.0440
C34, IT applications for tracking and tracing0.03960.07030.0549
C35, cold chain network management0.02980.05230.0410
C41, reliability and on-time delivery0.05740.10330.0804
C42, product quality0.06990.12070.0953
C43, response speed and flexibility0.03230.05730.0448
Table 9. The grey weights of environmental (C1).
Table 9. The grey weights of environmental (C1).
CriteriaLower Bound x _ Upper Bound x ¯
C11. The green design of cold storages0.05630.0981
C12. Utilization of refrigerant0.03670.0648
C13. CO emissions of refrigerated vehicle0.05840.1032
Table 10. The initial evaluation matrix of C1 (environmental).
Table 10. The initial evaluation matrix of C1 (environmental).
AlternativesC11 (The Green Design of Cold Storages)
VPPMPFMGGVG
[0, 1][1, 3][3, 4][4, 5][5, 6][6, 9][9, 10]
CLP-01 7521
CLP-0213551
CLP-0353412
CLP-04 4542
CLP-05 3642
CLP-06 3453
AlternativesC12 (Utilization of Refrigerant)
VPPMPFMGGVG
CLP-01 12462
CLP-024155
CLP-035424
CLP-04 1653
CLP-05 3543
CLP-0624441
AlternativesC13 (CO Emissions of Refrigerated Vehicle)
VPPMPFMGGVG
CLP-01 6342
CLP-023534
CLP-032822 1
CLP-04 14622
CLP-05 2634
CLP-063543
Table 11. The integrated grey decision matrix of C1 (environmental).
Table 11. The integrated grey decision matrix of C1 (environmental).
CriteriaC11C12C13
x _ x ¯ x _ x ¯ x _ x ¯
CLP-013.80004.93334.33335.66674.13335.4000
CLP-022.86674.06672.40003.46672.00003.3333
CLP-031.93333.13331.73333.00001.86673.5333
CLP-044.26675.53334.66676.06673.93335.2667
CLP-054.33335.60004.46675.86674.60006.1333
CLP-063.33334.53332.46673.73331.93333.2667
Table 12. The normalized grey decision matrix of C1 (environmental).
Table 12. The normalized grey decision matrix of C1 (environmental).
CriteriaC11C12C13
x _ x ¯ x _ x ¯ x _ x ¯
CLP-010.15720.20410.18110.23680.18210.2379
CLP-020.11860.16830.10030.14480.08810.1468
CLP-030.08000.12970.07240.12530.08220.1557
CLP-040.17660.22900.19500.25350.17330.2320
CLP-050.17930.23170.18660.24510.20260.2702
CLP-060.13790.18760.10310.15600.08520.1439
Table 13. The weighted normalized grey decision matrix of C1 (environmental).
Table 13. The weighted normalized grey decision matrix of C1 (environmental).
CriteriaC11C12C13
x _ x ¯ x _ x ¯ x _ x ¯
CLP-010.00890.02000.00660.01530.01060.0245
CLP-020.00670.01650.00370.00940.00510.0152
CLP-030.00450.01270.00270.00810.00480.0161
CLP-040.00990.02250.00720.01640.01010.0239
CLP-050.01010.02270.00680.01590.01180.0279
CLP-060.00780.01840.00380.01010.00500.0148
Table 14. The utility degree of the G-COPRAS.
Table 14. The utility degree of the G-COPRAS.
CompaniesPRQN (%)
CLP-010.16460.03550.188493.69
CLP-020.11420.02330.150474.78
CLP-030.08680.01810.133566.38
CLP-040.15540.03520.179489.21
CLP-050.17850.03730.2011100
CLP-060.16380.03110.191094.96
Table 15. Ranking of compared methods.
Table 15. Ranking of compared methods.
CompaniesG-AHP and G-COPRASG-AHP and G-EDASG-AHP and G-TOPSISG-AHP and COPRAS
ValueRankValueRankValueRankValueRank
CLP-010.936930.614230.646430.97453
CLP-020.747850.414950.813650.73725
CLP-030.663860.306960.883560.66766
CLP-040.892140.566040.675941.00001
CLP-051.000010.679110.620410.98842
CLP-060.949620.635520.640320.97044
Publisher’s Note: MDPI stays neutral with regard to jurisdictional claims in published maps and institutional affiliations.

Share and Cite

MDPI and ACS Style

Nguyen, N.-A.-T.; Wang, C.-N.; Dang, L.-T.-H.; Dang, L.-T.-T.; Dang, T.-T. Selection of Cold Chain Logistics Service Providers Based on a Grey AHP and Grey COPRAS Framework: A Case Study in Vietnam. Axioms 2022, 11, 154. https://doi.org/10.3390/axioms11040154

AMA Style

Nguyen N-A-T, Wang C-N, Dang L-T-H, Dang L-T-T, Dang T-T. Selection of Cold Chain Logistics Service Providers Based on a Grey AHP and Grey COPRAS Framework: A Case Study in Vietnam. Axioms. 2022; 11(4):154. https://doi.org/10.3390/axioms11040154

Chicago/Turabian Style

Nguyen, Ngoc-Ai-Thy, Chia-Nan Wang, Le-Thanh-Hieu Dang, Le-Thanh-Tuyen Dang, and Thanh-Tuan Dang. 2022. "Selection of Cold Chain Logistics Service Providers Based on a Grey AHP and Grey COPRAS Framework: A Case Study in Vietnam" Axioms 11, no. 4: 154. https://doi.org/10.3390/axioms11040154

APA Style

Nguyen, N.-A.-T., Wang, C.-N., Dang, L.-T.-H., Dang, L.-T.-T., & Dang, T.-T. (2022). Selection of Cold Chain Logistics Service Providers Based on a Grey AHP and Grey COPRAS Framework: A Case Study in Vietnam. Axioms, 11(4), 154. https://doi.org/10.3390/axioms11040154

Note that from the first issue of 2016, this journal uses article numbers instead of page numbers. See further details here.

Article Metrics

Back to TopTop