Influence of the Impeller Diameter and Off-Bottom Clearance on the Flow Velocity Distribution Characteristics Near the Bottom inside a Flotation Machine
Abstract
1. Introduction
2. Experimental Design
2.1. Geometry of the Flotation Machine and Impeller Parameter Selection
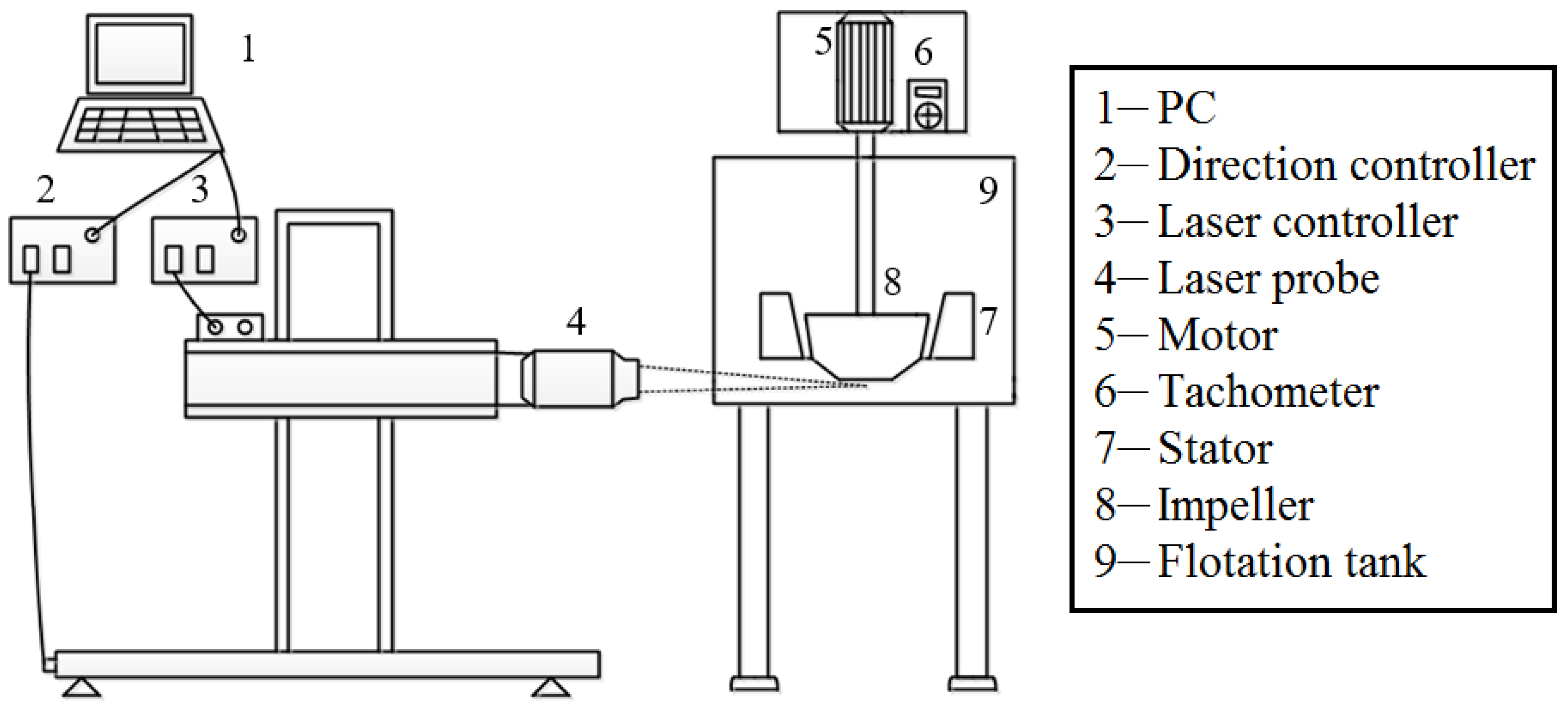
2.2. Method for Measuring the Fluid Velocity in a Flotation Machine
3. Results and Discussion
3.1. Influence of the Impeller Diameter and Impeller Off-Bottom Clearance on the Radial Velocity Distribution of Fluid 6 mm below the Impeller Blade Bottom
3.2. Influence of the Impeller Diameter and Its Off-Bottom Clearance on the Axial Velocity Distribution of the Fluid 6 mm below the Impeller Blade Bottom
3.3. Velocity Vectors Analysis of the Fluid Near the Bottom of the Flotation Machine in the Half-Medial Vertical Plane
3.4. Axial Fluctuating RMS Velocity Distribution in the Bottom Flow Field
3.5. Extrapolation of Solid Particle Suspension Via the Flow and Residence Time Inside the Flotation Machine
4. Conclusions
Author Contributions
Funding
Data Availability Statement
Conflicts of Interest
Nomenclature
| D | Impeller Diameter (mm) |
| C | Impeller off-bottom clearance (mm) |
| H1 | Height of the upper part of the KYF flotation machine (mm) |
| H2 | Height of the middle part of the KYF flotation machine (mm) |
| H3 | Height of the U-shaped structure of the KYF flotation machine (mm) |
| T | Width of the flotation tank (mm) |
| h | Height of the impeller (mm) |
| β | Inclination angle of the blade (°) |
| ds | Impeller cavity diameter (mm) |
| dd | Blade thickness (mm) |
| r | Radial position (mm) |
| Njs | Critical impeller speed (rpm) |
References
- Wei, D.Z. Solid Materials Separation; Metallurgical Industry Press: Beijing, China, 2015. [Google Scholar]
- Amini, E.; Bradshaw, D.J.; Xie, W. Influence of flotation cell hydrodynamics on the flotation kinetics and scale up, part 1: Hydrodynamic parameter measurements and ore property determination. Miner. Eng. 2016, 99, 40–51. [Google Scholar] [CrossRef]
- Manjunath, B.; Sanja, M. CFD-DEM simulations and electrical resistance tomography (ERT) studies of solid-liquid flows in flotation cells. In Proceedings of the 27th International Mineral Processing Conference, Santiago, Chile, 20–24 October 2014. [Google Scholar]
- Zheng, X.; Franzidis, J.P.; Johnson, N.W.; Manlapig, E.V. Modelling of entrainment in industrial flotation cells: The effect of solids suspension. Miner. Eng. 2005, 18, 51–58. [Google Scholar] [CrossRef]
- Yianatos, J.B.; José, M.L.; Moys, M.H.; Diaz, F.J. Short time mixing response in a big flotation cell. Int. J. Miner. Process. 2008, 89, 1–8. [Google Scholar] [CrossRef]
- Lima, O.A.; Deglon, D.A.; Filho, L.S.L. A comparison of the critical impeller speed for solids suspension in a bench-scale and a pilot-scale mechanical flotation cell. Miner. Eng. 2009, 22, 1147–1153. [Google Scholar] [CrossRef]
- Westhuizen, A.P.V.D.; Deglon, D.A. Solids suspension in a pilot-scale mechanical flotation cell: A critical impeller speed correlation. Miner. Eng. 2008, 21, 621–629. [Google Scholar] [CrossRef]
- Westhuizen, A.P.V.D.; Deglon, D.A. Evaluation of solids suspension in a pilot-scale mechanical flotation cell: The critical impeller speed. Miner. Eng. 2007, 20, 233–240. [Google Scholar] [CrossRef]
- Mesa, D.; Brito-Parada, P.R. Scale-up in froth flotation: A state-of-the-art review. Sep. Purif. Technol. 2019, 210, 950–962. [Google Scholar] [CrossRef]
- Shi, S.X.; Yu, Y.; Yang, W.W.; Zhou, H.X. Flow field test and analysis of KYF flotation cell by PIV. Appl. Mech. Mater. 2013, 331, 200–204. [Google Scholar] [CrossRef]
- Schubert, H. On the turbulence-controlled microprocesses in flotation machines. Int. J. Miner. Process. 1999, 56, 257–276. [Google Scholar] [CrossRef]
- Armemante, P.M.; Nagamine, E.U. Effect of low off-bottom impeller clearance on the minimum agitation speed for complete suspension of solids in stirred tanks. Chem. Eng. Sci. 1998, 53, 1757–1775. [Google Scholar] [CrossRef]
- Montante, G.; Lee, K.C.; Brucato, A.; Yianneskis, M. An experimental study of double-to-single-loop transition in stirred vessels. Can. J. Chem. Eng. 1999, 77, 649–659. [Google Scholar] [CrossRef]
- Galletti, C.; Brunazzi, E.; Yianneskis, M.; Paglianti, A. Spectral and wavelet analysis of the flow pattern transition with impeller clearance variations in a stirred vessel. Chem. Eng. Sci. 2003, 58, 3859–3875. [Google Scholar] [CrossRef]
- Ochieng, A.; Onyango, M.S.; Kumar, A.; Kiriamiti, K.; Musonge, P. Mixing in a tank stirred by a Rushton turbine at a low clearance. Chem. Eng. Process. 2008, 47, 842–851. [Google Scholar] [CrossRef]
- Zhu, Q.; Xiao, H.; Chen, A.; Geng, S.; Huang, Q. CFD study on double-to single-loop flow pattern transition and its influence on macro mixing efficiency in fully baffled tank stirred by a Rushton turbine. Chin. J. Chem. Eng. 2019, 27, 993–1000. [Google Scholar] [CrossRef]
- Basavarajappa, M.; Draper, T.; Toth, P.; Ring, T.A.; Miskovic, S. Numerical and experimental investigation of single phase flow characteristics in stirred tanks using Rushton turbine and flotation impeller. Miner. Eng. 2015, 83, 156–167. [Google Scholar] [CrossRef]
- Souza Pinto, T.C.; Braga, A.S.; Leal Filho, L.S.; Deglon, D.A. Analysis of key mixing parameters in industrial Wemco mechanical flotation cells. Miner. Eng. 2018, 123, 167–172. [Google Scholar] [CrossRef]
- Shi, S.; Zhang, M.; Fan, X.; Chen, D. Experimental and computational analysis of the impeller angle in a flotation cell by PIV and CFD. Int. J. Miner. Process. 2015, 142, 2–9. [Google Scholar] [CrossRef]
- Hadane, A.; Khamar, L.; Benjelloun, S.; Nounah, A. Hydrodynamic study of a phosphate flotation cell by CFD approach. Chem. Eng. Process. 2019, 135, 190–203. [Google Scholar] [CrossRef]
- Meng, J.; Tabosa, E.; Xie, W.; Runge, K.; Bradshaw, D.; Manlapig, E. A review of turbulence measurement techniques for flotation. Miner. Eng. 2016, 95, 79–95. [Google Scholar] [CrossRef]
- Darelius, A.; Rasmuson, A.; Niklasson Björn, I.; Folestad, S. LDA measurements of near wall powder velocities in a high shear mixer. Chem. Eng. Sci. 2007, 62, 5770–5776. [Google Scholar] [CrossRef]
- Kysela, B.; Konfršt, J.; Chara, Z. LDA measurements and turbulence spectral analysis in an agitated vessel. EPJ Web Conf. 2013, 45, 01051–01056. [Google Scholar] [CrossRef]
- Darabi, H.; Koleini, S.M.J.; Soltani, F.; Abdollahy, M.; Ghadiri, M. Investigation of cell geometry effect on the turbulence characteristics and flotation performance using particle image velocimetry technique. Powder. Technol. 2020, 376, 458–467. [Google Scholar] [CrossRef]
- Tiitinen, J.; Vaarno, J.; Grönstrand, S. Numberical modeling of an outokumpu flotation device. In Proceedings of the Third International Conferenceon CFD inthe Mineralsand Process Industries, CSIRO, Melbourne, Australia, 10–12 December 2003; pp. 167–170. [Google Scholar]
- Kuang, J.; Feng, Y.; Yang, W.; Witt, P.; Schwarz, P.; Qiu, T. CFD modelling and PIV validation of flow field in a flotation cell. In Proceedings of the 11th International Conference on CFD in the Minerals and Process Industries, Melbourne, Australia, 7–9 December 2015. [Google Scholar]
- Shen, Z.; Chen, J. Flow Field Simulation and Its Applications; Science Press: Beijing, China, 2012. [Google Scholar]
- Koh, P.T.L.; Schwarz, M.P.; Zhu, Y.; Bourke, P.R.; Franzidis, J.P. Development of CFD models of mineral flotation cells. In Proceedings of the Third International Conference on Computational Fluid Dynamics in the Minerals and Process Industries, Melbourne, Australia, 10–12 December 2003; pp. 171–175. [Google Scholar]
- Puga, H.; Teixeira, J.C.; Barbosa, J.; Ribeiro, S.; Prokic, M. The combined effect of melt stirring and ultrasonic agitation on the degassing efficiency of AlSi9Cu3 alloy. Mater. Lett. 2009, 63, 2089–2092. [Google Scholar] [CrossRef]
- Deen, N.G.; Hjertager, B.H.; Solberg, T. Comparison of PIV and LDA measurement methods applied to the gas-liquid flow in a bubble column. In Proceedings of the 10th international symposium on Application of Laser Techniques to Fluid Mechanics, Lisbon, Portugal, 10–13 July 2000. [Google Scholar]
- Kaftori, D.; Hetsroni, G.; Banerjee, S. Particle behavior in the turbulent boundary layer II velocity and distribution profiles. Phys. Fluids. 1995, 7, 1107–1121. [Google Scholar] [CrossRef]
- Li, Z.; Bao, Y.; Gao, Z. PIV experiments and large eddy simulations of single-loop flow fields in Rushton turbine stirred tanks. Chem. Eng. Sci. 2011, 66, 1219–1231. [Google Scholar] [CrossRef]
- Vlaev, S.D.; Staykov, P.; Popov, R. Pressure distribution at impeller blades of some radial flow impellers in saccharose and xanthan gum solutions: A CFD visualization approach. Food Bioprod. Process. 2004, 82, 13–20. [Google Scholar] [CrossRef]
- Galletti, C.; Brunazzi, E.; Pintus, S.; Paglianti, A.; Yianneskis, M. A study of reynolds stresses, triple products and turbulence states in a radially stirred tank with 3-d laser anemometry. Chem. Eng. Res. Des. 2004, 82, 1214–1228. [Google Scholar] [CrossRef]
- Ayranci, I.; Márcio, B.M.; Madej, A.M.; Derksen, J.J.; Nobes, D.S.; Kresta, S.M. Effect of geometry on the mechanisms for off-bottom solids suspension in a stirred tank. Chem. Eng. Sci. 2012, 79, 163–176. [Google Scholar] [CrossRef]
- Xie, W.; Meng, J.; Nguyen, A.V. Experimental quantification of turbulence and its applications in the study of multiphase flotation pulps. Int. J. Miner. Process. 2016, 156, 87–98. [Google Scholar] [CrossRef]
- Yianatos, J.; Díaz, F.; Rodríguez, J. Industrial flotation process modelling: RTD measurement by radioactive tracer technique. IFAC Proc. 2002, 35, 55–60. [Google Scholar] [CrossRef]
- Yianatos, J.; Contreras, F.; Díaz, F. GAS holdup and RTD measurement in an industrial flotation cell. Miner. Eng. 2010, 23, 125–130. [Google Scholar] [CrossRef]
- Takenaka, K.; Takahashi, K.; Bujalski, W.; Nienow, A.; Paolini, S.; Paglianti, A.; Etchells, A. Mixing time for different diameters of impeller at a high solid concentration in agitated vessel. J. Chem. Eng. Sci. Jpn. 2005, 38, 309–315. [Google Scholar] [CrossRef]
- Panneerselvam, R.; Savithri, S.; Surender, G.D. CFD modeling of gas-liquid-solid mechanically agitated contactor. Chem. Eng. Res. Des. 2008, 86, 1331–1344. [Google Scholar] [CrossRef]
- Patel, D.; Ein-Mozaffari, F.; Mehrvar, M. Dynamic performance of continuous-flow mixing of pseudoplastic fluids exhibiting yield stress in stirred reactors. Ind. Eng. Chem. Res. 2011, 50, 9377–9389. [Google Scholar] [CrossRef]
- Yianatos, J.; Bergh, L.; Vinnett, L.; Panire, I.; Díaz, F. Modelling of residence time distribution of liquid and solid in mechanical flotation cells. Miner. Eng. 2015, 78, 69–73. [Google Scholar] [CrossRef]













| Impeller Off-Bottom Clearance (mm) | Axial Position of Measured Line Segment (mm) | Length of Measured Line Segment (mm) |
|---|---|---|
| 24 | 18 | 32 |
| 28 | 22 | 50 |
| 32 | 26 | 60 |
| 36 | 30 | 66 |
| Impeller Off-Bottom Clearance (mm) | Impeller Diameter (mm) | ||
|---|---|---|---|
| 150 | 175 | 200 | |
| 24 | 0.24 | 0.18 | −0.37 |
| 28 | −0.25 | 0.17 | 0.26 |
| 32 | −0.33 | 0.25 | 0.35 |
| 36 | −0.37 | −0.21 | 0.45 |
| Impeller Off-Bottom Clearance (mm) | Impeller Diameter (mm) | ||
|---|---|---|---|
| 150 | 175 | 200 | |
| 24 | 0.38 | 0.80 | 1.0 |
| 28 | 0.40 | 0.86 | 1.05 |
| 32 | 0.42 | 0.95 | 1.13 |
| 36 | 0.48 | 1.13 | 1.23 |
| Impeller Off-Bottom Clearance (mm) | Impeller Diameter (mm) | ||
|---|---|---|---|
| 150 | 175 | 200 | |
| 24 | 0.66 | 1.13 | 1.43 |
| 36 | 0.82 | 1.49 | 1.45 |
| Impeller Off-Bottom Clearance (mm) | Impeller Diameter (mm) | |
|---|---|---|
| 150 | 200 | |
| 24 | 0.53 (centrifugal flow) | 0.94 (centripetal flow) |
| 36 | 0.94 (centripetal flow) | 0.86 (centrifugal flow) |
Publisher’s Note: MDPI stays neutral with regard to jurisdictional claims in published maps and institutional affiliations. |
© 2020 by the authors. Licensee MDPI, Basel, Switzerland. This article is an open access article distributed under the terms and conditions of the Creative Commons Attribution (CC BY) license (http://creativecommons.org/licenses/by/4.0/).
Share and Cite
Gao, S.; Meng, L.; Wei, D.; Zhao, Q.; Wang, X.; Hou, D. Influence of the Impeller Diameter and Off-Bottom Clearance on the Flow Velocity Distribution Characteristics Near the Bottom inside a Flotation Machine. Minerals 2021, 11, 31. https://doi.org/10.3390/min11010031
Gao S, Meng L, Wei D, Zhao Q, Wang X, Hou D. Influence of the Impeller Diameter and Off-Bottom Clearance on the Flow Velocity Distribution Characteristics Near the Bottom inside a Flotation Machine. Minerals. 2021; 11(1):31. https://doi.org/10.3390/min11010031
Chicago/Turabian StyleGao, Shuling, Lingguo Meng, Dezhou Wei, Qiang Zhao, Xuetao Wang, and Duanxu Hou. 2021. "Influence of the Impeller Diameter and Off-Bottom Clearance on the Flow Velocity Distribution Characteristics Near the Bottom inside a Flotation Machine" Minerals 11, no. 1: 31. https://doi.org/10.3390/min11010031
APA StyleGao, S., Meng, L., Wei, D., Zhao, Q., Wang, X., & Hou, D. (2021). Influence of the Impeller Diameter and Off-Bottom Clearance on the Flow Velocity Distribution Characteristics Near the Bottom inside a Flotation Machine. Minerals, 11(1), 31. https://doi.org/10.3390/min11010031

