Experimental Investigation into the Mechanical Performance of Foam-Filled 3D-Kagome Lattice Sandwich Panels
Abstract
1. Introduction
2. Materials and Methods
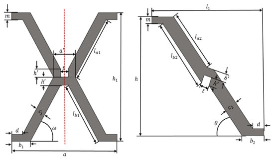
2.1. Design of Kagome Interlocking Lattice Sandwich Structures
2.2. Preparation of Foam-Filled Interlocking Lattice Sandwich Panels
2.3. Methods of Mechanical Testing
2.3.1. Out-of-Face Compression Test
2.3.2. Three-Point Bending Test
2.3.3. Low-Velocity Drop Hammer Impact Test
3. Results and Discussion
3.1. Analysis of the Results of the Out-of-Face Compression Test
3.1.1. Compression Properties of Sandwich Panels
3.1.2. Damage Morphology of Sandwich Panels Under Compressive Loading
3.2. Analysis of the Results of the Three-Point Bending Test
3.2.1. Bending Properties of Sandwich Panels
3.2.2. Damage Morphology of Sandwich Panels Under Bending Loads
3.3. Analysis of the Results of the Low-Velocity Drop Hammer Impact Test
3.3.1. Impact Resistance of Sandwich Panels
3.3.2. Damage Morphology of Sandwich Panels Under Impact Loading
4. Conclusions
- (1)
- Structural design and fabrication: the integration of a cutting–interlocking–gluing approach significantly streamlined the fabrication process of the foam-filled lattice sandwich panels, ensuring structural integrity and manufacturability. The Kagome lattice structure, with its periodic and symmetric arrangement, contributes to an even distribution of mechanical loads which enhances its structural stability and mechanical performance. The proposed hybrid manufacturing method combining precision wire-cutting, interlocking assembly, and in situ foam filling represents an innovative approach to improve structural integration and reproducibility of sandwich panels.
- (2)
- Compressive performance: the load–displacement curves obtained from compression testing revealed that panels with lower core heights exhibited superior compressive mechanical properties. The primary failure mechanisms observed were face-core debonding and strut deformation, with the foam-filled configurations exhibiting greater energy absorption efficiency and a more progressive failure process. The geometric symmetry of the Kagome lattice ensures uniform stress distribution during compression, leading to a more stable load-bearing response and improved energy absorption capacity.
- (3)
- Bending performance: the bending tests confirmed that bending stiffness increased with core height, while bending strength showed a decreasing trend with increasing core height. The primary failure modes included core debonding, face sheet wrinkling, and strut deformation. The foam-filled panels exhibited enhanced bending resistance, attributed to the stabilizing effect of the foam within the lattice structure. The symmetrical nature of the Kagome lattice enables balanced load transfer between the core and the face sheets, reducing localized stress concentrations and enhancing structural integrity under bending loads.
- (4)
- Impact resistance: drop hammer impact testing demonstrated that higher core heights correlated with increased peak impact force, reduced impact displacement, and enhanced impact resistance. Foam-filled sandwich panels exhibited improved energy absorption capacity, with the failure modes primarily consisting of panel bending and core compression. The symmetrical configuration of the Kagome lattice promotes effective energy dissipation by allowing the structure to deform progressively, distributing impact forces more evenly across the core and face sheets.
- (5)
- Overall mechanical efficiency: the results indicated that foam filling effectively enhanced the structural performance of interlocking lattice sandwich panels, improving load distribution, energy dissipation, and mechanical robustness under different loading conditions. The inherent symmetry in the lattice arrangement not only optimizes mechanical efficiency, but also improves impact resistance by ensuring a more uniform structural response under external loads. These enhancements confirm the synergy between structural symmetry and foam integration in improving mechanical behavior under complex load scenarios.
Author Contributions
Funding
Data Availability Statement
Acknowledgments
Conflicts of Interest
References
- Cui, T.N.; Qin, Q.H. Ballistic performance of lightweight cellular sandwich structure: A review. Adv. Mech. 2023, 53, 395–432. [Google Scholar]
- Khan, S.A.; Rahman, M.A.; Khraisheh, M.; Hassan, I.G. Advances in 3D printed periodic lattice structures for energy research: Energy storage, transport and conversion applications. Mater. Des. 2024, 239, 112773. [Google Scholar] [CrossRef]
- Ullah, l.; Brandt, M.; Feih, S. Failure and energy absorption characteristics of advanced 3D truss core structures. Mater. Des. 2016, 92, 937–948. [Google Scholar] [CrossRef]
- Bin, H.; Lin, Z.W.; Jian, X.; Li, M.; Wen, Y.; Yang, J. Mechanical properties of a node-interlocking pyramidal welded tube lattice sandwich structure. Mech. Mater. 2019, 129, 290–305. [Google Scholar]
- Zaharia, S.M.; Enescu, L.A.; Pop, M.A. Mechanical Performances of Lightweight Sandwich Structures Produced by Material Extrusion-Based Additive Manufacturing. Polymers 2020, 12, 1740. [Google Scholar] [CrossRef] [PubMed]
- Hu, C.L.; Hong, W.H.; Xu, X.J.; Tang, S.F.; Du, S.Y.; Cheng, H.M. Sandwich-structured C/C-SiC composites fabricated by electromagnetic coupling chemical vapor infiltration. Sci. Rep. 2017, 7, 13120. [Google Scholar] [CrossRef] [PubMed]
- Ha, N.S.; Lu, G.X. A review of recent research on bio-inspired structures and materials for energy absorption applications. Compos. Part B-Eng. 2020, 181, 107496. [Google Scholar] [CrossRef]
- Al-Saedi, D.S.J.; Masood, S.H.; Faizan-Ur-Rab, M.; Alomarah, A.; Ponnusamy, P. Mechanical properties and energy absorption capability of functionally graded F2BCC lattice fabricated by SLM. Mater. Des. 2018, 144, 32–44. [Google Scholar] [CrossRef]
- Somarathna, H.M.C.C.; Raman, S.N.; Mohotti, D.; Mutalib, A.A.; Badri, K.H. The use of polyurethane for structural and infrastructural engineering applications: A state-of-the-art review. Constr. Build. Mater. 2018, 190, 995–1014. [Google Scholar] [CrossRef]
- Wang, J.; Evans, A.G.; Dharmasena, K.; Wadley, H.N.G. On the performance of truss panels with Kagome cores. Int. J. Solids Struct. 2003, 40, 6981–6988. [Google Scholar] [CrossRef]
- Lim, J.; Kang, K. Mechanical behavior of sandwich panels with tetrahedral and Kagome truss cores fabricated from wires. Int. J. Solids Struct. 2006, 43, 5228–5246. [Google Scholar] [CrossRef]
- Gautam, R.; Idapalapati, S. Performance of strut-reinforced Kagome truss core structure under compression fabricated by selective laser melting. Mater. Des. 2019, 164, 107541. [Google Scholar] [CrossRef]
- Lee, B.; Kang, K. A parametric study on compressive characteristics of wire-woven bulk Kagome truss cores. Compos. Struct. 2010, 92, 445–453. [Google Scholar] [CrossRef]
- Lee, M.G.; Yoon, J.W.; Han, S.M.; Suh, Y.S.; Kang, K.J. Bending response of sandwich panels with discontinuous wire-woven metal cores. Mater. Des. 2014, 55, 707–717. [Google Scholar] [CrossRef]
- Lee, M.G.; Hoang, V.M.; Yoon, J.W.; Han, S.M.; Suh, Y.S.; Kang, K.J. Compressive strength of wire-woven bulk Kagome with various orientations. Procedia Mater. Sci. 2014, 4, 329–334. [Google Scholar] [CrossRef]
- Lee, M.G.; Yoon, J.W.; Han, S.M.; Suh, Y.S.; Kang, K.J. Effects of gaps between discontinuous wire woven Kagome cores upon bending of sandwich panels. Procedia Mater. Sci. 2014, 4, 203–208. [Google Scholar] [CrossRef][Green Version]
- Li, M.Z.; Kang, K.J. The compressive characteristics of the convex type wire-woven bulk Kagome truss PCM. In Proceedings of the KSME Conference, Jeju, Republic of Korea, 6–9 November 2024; The Korean Society of Mechanical Engineers: Seoul, Republic of Korea, 2008; pp. 138–143. [Google Scholar]
- Choi, D.H.; Lee, M.G.; Han, S.C.; Jeong, Y.C.; Cho, J.S.; Kang, K. Mechanical behavior of Microlattice with or without in-plane elements added on the outer faces. Int. J. Mech. Sci. 2018, 149, 311–325. [Google Scholar] [CrossRef]
- Song, S.J.; Xiong, C.; Tao, F.H.; Yin, J.H.; Zhang, Y.; Zhang, S. Size effect of composite Kagome honeycomb sandwich structure reinforced with PMI foams under quasi-static bending: Experiment tests and numerical analysis. Compos. Struct. 2022, 296, 115832. [Google Scholar] [CrossRef]
- Li, J.F.; Zhang, W.; Wang, Z.P.; Wang, Q.; Wu, T.X.; Qin, Q.H. Dynamic response and failure of CFRP Kagome lattice core sandwich panels subjected to low- velocity impact. Int. J. Impact Eng. 2023, 181, 104737. [Google Scholar] [CrossRef]
- Habashneh, M.; Cucuzza, R.; Aela, P.; Rad, M.M. Reliability-based topology optimization of imperfect structures considering uncertainty fo load position. Structures 2024, 69, 107533. [Google Scholar] [CrossRef]
- ASTM C365/C365M-11; Standard Test Method for Flatwise Compressive Properties of Sandwich Cores. ASTM International: West Conshohocken, PA, USA, 2011. Available online: https://www.antpedia.com/standard/6278552.html (accessed on 11 January 2025).
- ASTM C393/C393M-11; Standard Test Method for Core Shear Properties of Sandwich Constructions by Beam Flexure. ASTM International: West Conshohocken, PA, USA, 2011. Available online: https://www.antpedia.com/standard/6263326.html (accessed on 5 February 2025).
- ASTM D7136/D7136M-05; Standard Test Method for Measuring the Damage Resistance of a Fiber-Reinforced Polymer Matrix Composite to a Drop-Weight Impact Event. ASTM International: West Conshohocken, PA, USA, 2005. Available online: https://www.antpedia.com/standard/5704063.html (accessed on 12 March 2025).
- Zhu, P.Q. Research on The Collision Protection of Electric Vehicle Battery Box Based on The New Lattice Sandwich Structure. Master’s Thesis, Harbin Institute of Technology, Harbin, China, 2021. [Google Scholar]
- Zhang, H. Structural Analysis and Optimization of Foam-Filled Corrugated Sandwich Panels. Master’s Thesis, Jilin University, Jilin, China, 2018. [Google Scholar]
- Pei, Y.Y. Design and Mechanical Properties of Kagome Lattice Sandwich Composite Structure. Master’s Thesis, University of Chinese Academy of Sciences, Beijing, China, 2022. [Google Scholar]



















| Material Type | Compressive Stiffness/MPa | Compressive Strength/MPa |
|---|---|---|
| Adhesive | 4.953 | 2.654 |
| Polyurethane foam | 16.578 | 2.995 |
| Core Height h/mm | Aspect Ratio of Struts l/t | Density ρ/(kg/m3) | Core Mass m/g | Length × Width of Panel/mm × mm |
|---|---|---|---|---|
| 15 | 6.56 | 868.03 | 85.33 | 65 × 200 |
| 20 | 8.75 | 719.79 | 134.08 | 90 × 250 |
| 25 | 10.94 | 576.96 | 576.96 | 100 × 300 |
| Core Height h/mm | Aspect Ratio of Struts l/t | Density ρ/(kg/m3) | Core Mass m/g | Length × Width of Panel/mm × mm |
|---|---|---|---|---|
| 15 | 6.56 | 309.35 | 32.21 | 65 × 200 |
| 20 | 8.75 | 213.57 | 41.51 | 90 × 250 |
| 25 | 10.94 | 155.74 | 50.78 | 100 × 300 |
| Core Height h/mm | Compressive Modulus E/MPa | Compressive Strength σ/MPa | Energy Absorption per Unit Volume (J/cm3) | |||
|---|---|---|---|---|---|---|
| Foam filled or not | Filled | Unfilled | Filled | Unfilled | Filled | Unfilled |
| 15 | 61.66 | 106.74 | 8.687 | 8.912 | 3.02 | 2.48 |
| 20 | 77.87 | 108.876 | 5.754 | 5.687 | 1.53 | 1.32 |
| 25 | 74.36 | 70.584 | 3.188 | 3.167 | 0.873 | 0.519 |
| Core Height h/mm | Bending Stiffness/(N·m) | Bending Strength/MPa | ||
|---|---|---|---|---|
| Foam-filled or not | Filled | Unfilled | Filled | Unfilled |
| 15 | 1230.83 | 835.86 | 169.52 | 116.53 |
| 20 | 1492.32 | 971.97 | 112.19 | 73.28 |
| 25 | 1543.39 | 1019.98 | 91.34 | 50.54 |
| Core Height h/mm | Peak Impact Load/kN | Maximum Displacement/mm | Energy Absorption Efficiency (%) |
|---|---|---|---|
| 15 | 2.01 | 39.85 | 17.1 |
| 20 | 3.06 | 34.93 | 74.3 |
| 25 | 3.77 | 26.54 | 70.8 |
Disclaimer/Publisher’s Note: The statements, opinions and data contained in all publications are solely those of the individual author(s) and contributor(s) and not of MDPI and/or the editor(s). MDPI and/or the editor(s) disclaim responsibility for any injury to people or property resulting from any ideas, methods, instructions or products referred to in the content. |
© 2025 by the authors. Licensee MDPI, Basel, Switzerland. This article is an open access article distributed under the terms and conditions of the Creative Commons Attribution (CC BY) license (https://creativecommons.org/licenses/by/4.0/).
Share and Cite
Wu, Z.; Li, Q.; Chai, C.; Chen, M.; Ye, Z.; Qiu, Y.; Li, C.; Lai, F. Experimental Investigation into the Mechanical Performance of Foam-Filled 3D-Kagome Lattice Sandwich Panels. Symmetry 2025, 17, 571. https://doi.org/10.3390/sym17040571
Wu Z, Li Q, Chai C, Chen M, Ye Z, Qiu Y, Li C, Lai F. Experimental Investigation into the Mechanical Performance of Foam-Filled 3D-Kagome Lattice Sandwich Panels. Symmetry. 2025; 17(4):571. https://doi.org/10.3390/sym17040571
Chicago/Turabian StyleWu, Zhangbin, Qiuyu Li, Chao Chai, Mao Chen, Zi Ye, Yunzhe Qiu, Canhui Li, and Fuqiang Lai. 2025. "Experimental Investigation into the Mechanical Performance of Foam-Filled 3D-Kagome Lattice Sandwich Panels" Symmetry 17, no. 4: 571. https://doi.org/10.3390/sym17040571
APA StyleWu, Z., Li, Q., Chai, C., Chen, M., Ye, Z., Qiu, Y., Li, C., & Lai, F. (2025). Experimental Investigation into the Mechanical Performance of Foam-Filled 3D-Kagome Lattice Sandwich Panels. Symmetry, 17(4), 571. https://doi.org/10.3390/sym17040571

