A Modified Osprey Optimization Algorithm for Solving Global Optimization and Engineering Optimization Design Problems
Abstract
1. Introduction
- The Lévy flight strategy is employed to help OOA jump out of local minima and strengthen its global search capability.
- The Brownian motion strategy is introduced in Phase 1 of OOA to enable the individuals to explore the promising regions.
- The RFDB selection method is used to select a high-potential solution candidate in Phase 2 of OOA.
- The superior performance of the proposed MOOA is verified by comparing other advanced algorithms according to the numerical results, convergence curves and box plots of CEC2017 and CEC2022 test functions.
- The results of five practical engineering optimization problems also demonstrate the effectiveness of the MOOA.
2. Osprey Optimization Algorithm
2.1. Inspiration
2.2. Mathematical Modeling
2.2.1. Phase 1: Exploring the Search Space and Hunting the Fish
2.2.2. Phase 2: Exploiting the Search Space and Carrying the Fish
| Algorithm 1 The pseudocode of OOA. |
|
3. Proposed MOOA Approach
3.1. Shortcomings of OOA
3.2. Modified Methods
3.2.1. Lévy Flight Strategy
3.2.2. Brownian Motion Strategy
3.2.3. RFDB Selection Method
- Calculate the distance between the i-th osprey and the best osprey.
- Form the distance vector.
- Calculate the score of each individual according to the fitness and distance values.where F is a weight coefficient set to 0.5. and mean the normalized values of fitness and distance for the i-th individual.
- Form the RFDB score vector.
3.3. Time Complexity Analysis of the MOOA
| Algorithm 2 The pseudocode of the MOOA. |
|
4. Analysis of Experiments and Results
4.1. Experimental Settings
4.2. Experimental Series 1: CEC2017 Benchmark Functions
4.3. Experimental Series 2: CEC2022 Benchmark Functions
5. Applicability of the MOOA for Solving Engineering Problems
5.1. Welded Beam Design Problem
5.2. Pressure Vessel Design Problem
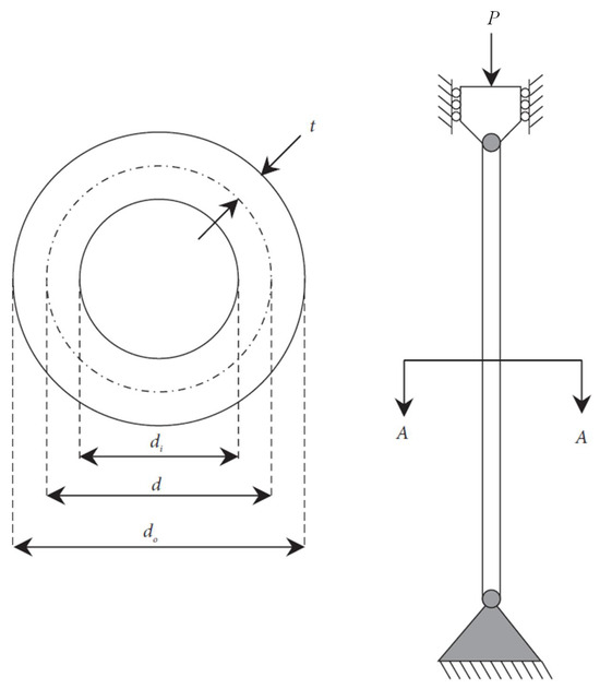
5.3. Tubular Column Design Problem
5.4. Three-Bar Truss Design Problem
5.5. Tension/Compression Spring Design Problem
6. Conclusions and Future Work
Author Contributions
Funding
Data Availability Statement
Conflicts of Interest
References
- Abdel-Basset, M.; Mohamed, R.; Zidan, M.; Jameel, M.; Abouhawwash, M. Mantis search algorithm: A novel bio-inspired algorithm for global optimization and engineering design problems. Comput. Methods Appl. Mech. Eng. 2023, 415, 116200. [Google Scholar] [CrossRef]
- Pham, Q.-V.; Mirjalili, S.; Kumar, N.; Alazab, M.; Hwang, W.-J. Whale optimization algorithm with applications to resource allocation in wireless networks. IEEE Trans. Veh. Technol. 2020, 69, 4285–4297. [Google Scholar] [CrossRef]
- Pekel, E. Solving technician routing and scheduling problem using improved particle swarm optimization. Soft Comput. 2020, 24, 19007–19015. [Google Scholar] [CrossRef]
- Abualigah, L.; Almotairi, K.H.; Elaziz, M.A. Multilevel thresholding image segmentation using meta-heuristic optimization algorithms: Comparative analysis, open challenges and new trends. App. Intell. 2023, 53, 11654–11704. [Google Scholar] [CrossRef]
- Hochbaum, D.S. Machine learning and data mining with combinatorial optimization algorithms. In Recent Advances in Optimization and Modeling of Contemporary Problems; INFORMS: Linthicum, MD, USA, 2018; pp. 109–129. [Google Scholar]
- Ahmadianfar, I.; Haddad, O.B.; Chu, X. Gradient-based optimizer: A new metaheuristic optimization algorithm. Inform. Sci. 2020, 540, 131–159. [Google Scholar] [CrossRef]
- Ypma, T.J. Historical development of the newton-raphson method. SIAM Rev. 1995, 37, 531–551. [Google Scholar] [CrossRef]
- Kennedy, J.; Eberhart, R. Particle swarm optimization. In Proceedings of ICNN’95-International Conference on Neural Networks, Perth, WA, Australia, 27 November–1 December 1995; Volume 4, pp. 1942–1948. [Google Scholar]
- Mirjalili, S.; Mirjalili, S.M.; Lewis, A. Grey wolf optimizer. Adv. Eng. Softw. 2014, 69, 46–61. [Google Scholar] [CrossRef]
- Abualigah, L.; Diabat, A.; Mirjalili, S.; Abd Elaziz, M.; Gandomi, A.H. The arithmetic optimization algorithm. Comput. Methods Appl. Mech. Eng. 2021, 376, 113609. [Google Scholar] [CrossRef]
- Wolpert, D.H.; Macready, W.G. No free lunch theorems for optimization. IEEE Trans. Evol. Comput. 1997, 1, 67–82. [Google Scholar] [CrossRef]
- Agushaka, J.O.; Ezugwu, A.E.; Saha, A.K.; Pal, J.; Abualigah, L.; Mirjalili, S. Greater cane rat algorithm (gcra): A nature-inspired metaheuristic for optimization problems. Heliyon 2024, 10, 31629. [Google Scholar] [CrossRef]
- Husseinzadeh Kashan, A. A new metaheuristic for optimization: Optics inspired optimization (oio). Comput. Oper. Res. 2015, 55, 99–125. [Google Scholar] [CrossRef]
- Yadav, A. Aefa: Artificial electric field algorithm for global optimization. Swarm Evol. Comput. 2019, 48, 93–108. [Google Scholar]
- Talatahari, S.; Azizi, M.; Gandomi, A.H. Material generation algorithm: A novel metaheuristic algorithm for optimization of engineering problems. Processes 2021, 9, 859. [Google Scholar] [CrossRef]
- Farshchin, M.; Maniat, M.; Camp, C.V.; Pezeshk, S. School based optimization algorithm for design of steel frames. Eng. Struct. 2018, 171, 326–335. [Google Scholar] [CrossRef]
- Askari, Q.; Younas, I.; Saeed, M. Political optimizer: A novel socio-inspired meta-heuristic for global optimization. Knowl. Based Syst. 2020, 195, 105709. [Google Scholar] [CrossRef]
- Zhang, W.; Pan, K.; Li, S.; Wang, Y. Special forces algorithm: A novel meta-heuristic method for global optimization. Math. Comput. Simul. 2023, 213, 394–417. [Google Scholar] [CrossRef]
- Ong, K.M.; Ong, P.; Sia, C.K. A carnivorous plant algorithm for solving global optimization problems. Appl. Soft Comput. 2021, 98, 106833. [Google Scholar] [CrossRef]
- Zhao, S.; Zhang, T.; Ma, S.; Chen, M. Dandelion optimizer: A nature-inspired metaheuristic algorithm for engineering applications. Eng. Appl. Artif. Intell. 2022, 114, 105075. [Google Scholar] [CrossRef]
- Kaveh, M.; Mesgari, M.S.; Saeidian, B. Orchard algorithm (oa): A new meta-heuristic algorithm for solving discrete and continuous optimization problems. Math. Comput. Simul. 2023, 208, 95–135. [Google Scholar] [CrossRef]
- Holland, J.H. Genetic algorithms. Sci. Am. 1992, 267, 66–73. [Google Scholar] [CrossRef]
- Storn, R.; Price, K. Differential evolution—A simple and efficient heuristic for global optimization over continuous spaces. J. Glob. Optim. 1997, 11, 341–359. [Google Scholar] [CrossRef]
- Azizi, M.; Talatahari, S.; Gandomi, A.H. Fire hawk optimizer: A novel metaheuristic algorithm. Artif. Intell. Rev. 2023, 56, 287–363. [Google Scholar] [CrossRef]
- Dehghani, M.; Trojovsky, P. Osprey optimization algorithm: A new bio-inspired metaheuristic algorithm for solving engineering optimization problems. Front. Mech. Eng. 2023, 8, 1126450. [Google Scholar] [CrossRef]
- Abdel-Basset, R.; Mohamed, R.; Jameel, M.; Abouhawwash, M. Spider wasp optimizer: A novel meta-heuristic optimization algorithm. Artif. Intell. Rev. 2023, 56, 11675–11738. [Google Scholar] [CrossRef]
- Ismaeel, A.A.K.; Houssein, E.H.; Khafaga, D.S.; Abdullah Aldakheel, E.; AbdElrazek, A.S.; Said, M. Performance of the osprey optimization algorithm for solving economic load dispatch problem. Mathematics 2022, 11, 4107. [Google Scholar] [CrossRef]
- Zhao, J.; Gao, Z.-M.; Sun, W. The improved slime mould algorithm with levy flight. J. Phys. Conf. Ser. 2020, 1617, 012033. [Google Scholar] [CrossRef]
- Faramarzi, A.; Heidarinejad, M.; Mirjalili, S.; Gandomi, A.H. Marine predators algorithm: A nature-inspired metaheuristic. Expert Syst. Appl. 2020, 152, 113377. [Google Scholar] [CrossRef]
- Duman, S.; Kahraman, H.T.; Guvenc, U.; Aras, S. Development of a levy flight and fdb-based coyote optimization algorithm for global optimization and real-world acopf problems. Soft Comput. 2020, 25, 6577–6617. [Google Scholar] [CrossRef]
- Ma, C.; Huang, H.; Fan, Q.; Wei, J.; Du, Y.; Gao, W. Grey wolf optimizer based on aquila exploration method. Expert Syst. Appl. 2022, 205, 117629. [Google Scholar] [CrossRef]
- Wu, G.; Mallipeddi, R.; Suganthan, P. Problem definitions and evaluation criteria for the cec 2017 competition and special session on constrained single objective real-parameter optimization. Nanyang Technol. Univ. Singapore Tech. Rep. 2016, 1–18. [Google Scholar]
- Yazdani, D.; Branke, J.; Omidvar, M.N.; Li, X.; Li, C.; Mavrovouniotis, M.; Nguyen, T.; Yao, X. IEEE CEC 2022 competition on dynamic optimization problems generated by generalized moving peaks benchmark. arXiv 2021, arXiv:2106.06174. [Google Scholar]
- Bouaouda, A.; Hashim, F.A.; Sayouti, Y.; Hussien, A.G. Pied kingfisher optimizer: A new bio-inspired algorithm for solving numerical optimization and industrial engineering problems. Neural Comput. Appl. 2024, 36, 15455–15513. [Google Scholar] [CrossRef]
- Zhang, Q.; Bu, X.; Zhan, Z.; Li, J.; Zhang, H. An efficient optimization state-based coyote optimization algorithm and its applications. Appl. Soft Comput. 2023, 147, 110827. [Google Scholar] [CrossRef]
- Abualigah, L.; Yousri, D.; Abd Elaziz, M.; Ewees, A.A.; Al-Qaness, M.A.; Gandomi, A.H. Aquila optimizer: A novel meta-heuristic optimization algorithm. Comput. Ind. Eng. 2021, 157, 107250. [Google Scholar] [CrossRef]
- Khishe, M.; Mosavi, M.R. Chimp optimization algorithm. Expert Syst. Appl. 2020, 149, 113338. [Google Scholar] [CrossRef]
- Heidari, A.A.; Mirjalili, S.; Faris, H.; Aljarah, I.; Mafarja, M.; Chen, H. Harris hawks optimization: Algorithm and applications. Future Gen. Comput. Syst. 2019, 97, 849–872. [Google Scholar] [CrossRef]
- Banaie-Dezfouli, M.; Nadimi-Shahraki, M.H.; Beheshti, Z. R-gwo: Representative-based grey wolf optimizer for solving engineering problems. Appl. Soft Comput. 2021, 106, 107328. [Google Scholar] [CrossRef]
- Bao, G.; Mao, K. Particle swarm optimization algorithm with asymmetric time varying acceleration coefficients. In Proceeding of the 2009 IEEE International Conference on Robotics and Biomimetics (ROBIO), Guilin, China, 19–23 December 2009; pp. 2134–2139. [Google Scholar]
- Friedman, M. The use of ranks to avoid the assumption of normality implicit in the analysis of variance. J. Am. Stat. Assoc. 1937, 32, 675–701. [Google Scholar] [CrossRef]
- Wilcoxon, F. Individual Comparisons by Ranking Methods; Springer: New York, NY, USA, 1992; pp. 196–202. [Google Scholar]
- Zhong, R.; Yu, J.; Munetomo, Z.M. Srime: A strengthened rime with latin hypercube sampling and embedded distance-based selection for engineering optimization problems. Neural Comput. Appl. 2024, 36, 6721–6740. [Google Scholar] [CrossRef]
- Deb, K. Optimal design of a welded beam via genetic algorithms. AIAA J. 1991, 29, 2013–2015. [Google Scholar] [CrossRef]
- Kannan, B.K.; Kramer, S.N. An augmented lagrange multiplier based method for mixed integer discrete continuous optimization and its applications to mechanical design. J. Mech. Des. 1994, 116, 405–411. [Google Scholar] [CrossRef]
- Hu, G.; Zheng, Y.; Abualigah, L.; Hussien, A.G. Detdo: An adaptive hybrid dandelion optimizer for engineering optimization. Adv. Eng. Inform. 2023, 57, 102004. [Google Scholar] [CrossRef]
- Sadollah, A.; Bahreininejad, A.; Eskandar, H.; Hamdi, M. Mine blast algorithm: A new population based algorithm for solving constrained engineering optimization problems. Appl. Soft Comput. 2013, 13, 2592–2612. [Google Scholar] [CrossRef]
- Belegundu, A.D.; Arora, J. A study of mathematical programming methods for structural optimization. Part II: Numerical results. Int. J. Numer. Methods Eng. 1985, 21, 1601–1623. [Google Scholar] [CrossRef]















| Category | Algorithm Name | Year | Inspiration | Application | Reference |
|---|---|---|---|---|---|
| Swarm- based | Particle swarm optimization (PSO) | 1995 | The foraging behaviors of birds | Multilayer perceptron | [8] |
| Grey wolf optimization (GWO) | 2014 | Hierarchy of Grey wolf behavior | 29 benchmark functions, three engineering design problems, optical buffer design | [9] | |
| Fire Hawk Optimizer (FHO) | 2022 | Foraging behavior of whistling kites, black kites, and brown falcons | CEC2020, mechanical engineering design problems | [24] | |
| Osprey optimization algorithm (OOA) | 2023 | The hunting fish process of osprey | CEC2017, CEC2011 test suite | [25] | |
| Spider wasp optimizer (SWO) | 2023 | Behaviors of the female spider wasps | CEC2005, CEC2014, CEC2017, CEC2020, engineering design problems, photovoltaic models | [26] | |
| Greater cane rat algorithm (GCRA) | 2024 | Foraging and mating behaviors of cane rats in nature | 22 classical benchmark functions, 10 CEC2020 functions, CEC2011 real-world problems | [12] | |
| Physics/ mathematics/ chemistry- based | Optics-inspired optimization (OIO) | 2015 | Law of reflection | CEC2005, bi-objective optimization of centrifuge pumps | [13] |
| Artificial electric field algorithm (AEFA) | 2019 | Coulomb’s law of electrostatic force | CEC2015 | [14] | |
| Archimedes optimization algorithm (AOA) | 2021 | Classical Archimedes’s principle | CEC2005, 5 engineering design problems | [10] | |
| Material generation algorithm (MGA) | 2021 | Chemical compounds and reactions in producing new materials | CEC2017, 15 engineering design problems | [15] | |
| Human- based | School-Based Optimization (SBO) | 2018 | Traditional educational process that operates within a multi-classroom school | Design of structural steel frames | [16] |
| Political optimizer (PO) | 2020 | Multi-phased process of politics | 50 benchmark functions and 4 constrained engineering design problems | [17] | |
| Special forces algorithm (SFA) | 2023 | Missions of modern special forces | CEC2005, engineering design problems | [18] | |
| Plant- based | Carnivorous plant algorithm (CPA) | 2021 | Carnivorous plants adapting to survive in the harsh environment | CEC2017, mechanical engineering design problems, controlling the orientation of robotic arm | [19] |
| Dandelion optimizer (DO) | 2022 | Process of dandelion seed long-distance flight relying on wind | CEC2017 and 4 real-world optimization problems | [20] | |
| Orchard algorithm (OA) | 2023 | Fruit gardening process | 60 test functions, 5 engineering benchmark problems | [21] |
| Type | No. | Description | |
|---|---|---|---|
| Unimodal functions | F1 | Shifted and rotated bent cigar function | 100 |
| F3 | Shifted and rotated Zakharov function | 300 | |
| Simple multimodal functions | F4 | Shifted and rotated Rosenbrock’s function | 400 |
| F5 | Shifted and rotated Rastrigin’s function | 500 | |
| F6 | Shifted and rotate expanded scaffer’s F6 function | 600 | |
| F7 | Shifted and rotated Lunacek Bi_Rastrigin function | 700 | |
| F8 | Shifted and rotated non-continuous Rastrigin’s function | 800 | |
| F9 | Shifted and rotated Lévy function | 900 | |
| F10 | Shifted and rotated Schwefel’s function | 1000 | |
| Hybrid functions. | F11 | Hybrid function 1 (N = 3) | 1100 |
| F12 | Hybrid function 2 (N = 3) | 1200 | |
| F13 | Hybrid function 3 (N = 3) | 1300 | |
| F14 | Hybrid function 4 (N = 4) | 1400 | |
| F15 | Hybrid function 5 (N = 4) | 1500 | |
| F16 | Hybrid function 6 (N = 4) | 1600 | |
| F17 | Hybrid function 6 (N = 5) | 1700 | |
| F18 | Hybrid function 6 (N = 5) | 1800 | |
| F19 | Hybrid function 6 (N = 5) | 1900 | |
| F20 | Hybrid function 6 (N = 6) | 2000 | |
| Composition functions | F21 | Composition function 1 (N = 3) | 2100 |
| F22 | Composition function 2 (N = 3) | 2200 | |
| F23 | Composition function 3 (N = 4) | 2300 | |
| F24 | Composition function 4 (N = 4) | 2400 | |
| F25 | Composition function 5 (N = 5) | 2500 | |
| F26 | Composition function 6 (N = 5) | 2600 | |
| F27 | Composition function 7 (N = 6) | 2700 | |
| F28 | Composition function 8 (N = 6) | 2800 | |
| F29 | Composition function 9 (N = 3) | 2900 | |
| F30 | Composition function 10 (N = 3) | 3000 | |
| Search range: [−100, 100], Dimension: 10 | |||
| Type | No. | Description | |
|---|---|---|---|
| Unimodal functions | F1 | Shifted and fully rotated Zakharov function | 300 |
| Simple multimodal functions | F2 | Shifted and fully rotated Rosenbrock’s function | 400 |
| F3 | Shifted and fully rotated Rastrigin’s function | 600 | |
| F4 | Shifted and fully rotated non-continuous Rastrigin’s function | 800 | |
| F5 | Shifted and fully rotated Lévy function | 900 | |
| Hybrid functions | F6 | Hybrid function 1 (N = 3) | 1800 |
| F7 | Hybrid function 2 (N = 6) | 2000 | |
| F8 | Hybrid function 3 (N = 5) | 2200 | |
| Composition functions | F9 | Composition function 1 (N = 5) | 2300 |
| F10 | Composition function 2 (N = 4) | 2400 | |
| F11 | Composition function 3 (N = 5) | 2600 | |
| F12 | Composition function 4 (N = 6) | 2700 | |
| Search range: [−100, 100], Dimension: 10 | |||
| Algorithm | Year | Parameters |
|---|---|---|
| MOOA | - | , P = 0.5, |
| OOA | 2023 | |
| AO | 2021 | |
| AOA | 2021 | , |
| ChOA | 2020 | Control parameter |
| HHO | 2019 | Initial Energy |
| GWO | 2014 | Convergence parameter |
| RGWO | 2021 | |
| MPSO | 2009 | Cognitive coefficient , |
| Social coefficient , | ||
| Inertia weight W linearly decreased in [0.9, 0.4] |
| Function | Index | MOOA | OOA | AO | AOA | ChOA | HHO | GWO | RGWO | MPSO |
|---|---|---|---|---|---|---|---|---|---|---|
| F1 | Mean | 4.395E+05 | 9.913E+09 | 2.604E+07 | 7.909E+09 | 2.250E+09 | 1.590E+06 | 2.383E+07 | 1.363E+07 | 4.079E+08 |
| Best | 8.625E+04 | 3.718E+09 | 9.494E+05 | 1.730E+09 | 4.204E+08 | 1.967E+05 | 2.427E+04 | 4.898E+04 | 1.321E+03 | |
| Worst | 4.477E+06 | 2.274E+10 | 1.760E+08 | 1.645E+10 | 4.692E+09 | 7.429E+06 | 3.721E+08 | 3.427E+08 | 1.807E+09 | |
| Std | 7.917E+05 | 4.835E+09 | 3.929E+07 | 3.667E+09 | 1.701E+09 | 1.703E+06 | 8.124E+07 | 6.248E+07 | 6.142E+08 | |
| Rank | 1 | 9 | 5 | 8 | 7 | 2 | 4 | 3 | 6 | |
| F3 | Mean | 2.553E+03 | 1.305E+04 | 2.419E+03 | 1.264E+04 | 4.702E+03 | 7.649E+02 | 3.374E+03 | 7.481E+02 | 5.709E+02 |
| Best | 1.125E+03 | 6.009E+03 | 4.706E+02 | 5.373E+03 | 1.998E+03 | 3.162E+02 | 3.168E+02 | 3.045E+02 | 3.000E+02 | |
| Worst | 4.188E+03 | 1.996E+04 | 3.925E+03 | 1.754E+04 | 8.540E+03 | 1.842E+03 | 1.057E+04 | 2.784E+03 | 4.554E+03 | |
| Std | 8.693E+02 | 3.862E+03 | 8.808E+02 | 3.207E+03 | 1.910E+03 | 4.143E+02 | 2.673E+03 | 7.698E+02 | 9.251E+02 | |
| Rank | 5 | 9 | 4 | 8 | 7 | 3 | 6 | 2 | 1 | |
| F4 | Mean | 4.092E+02 | 1.144E+03 | 4.266E+02 | 1.143E+03 | 6.133E+02 | 4.366E+02 | 4.167E+02 | 4.188E+02 | 4.274E+02 |
| Best | 4.017E+02 | 5.695E+02 | 4.052E+02 | 5.247E+02 | 4.566E+02 | 4.004E+02 | 4.004E+02 | 4.035E+02 | 4.042E+02 | |
| Worst | 4.385E+02 | 3.558E+03 | 5.088E+02 | 2.224E+03 | 8.835E+02 | 5.657E+02 | 4.949E+02 | 4.801E+02 | 5.156E+02 | |
| Std | 7.374E+00 | 5.646E+02 | 2.646E+01 | 4.483E+02 | 1.348E+02 | 4.639E+01 | 1.935E+01 | 2.145E+01 | 3.154E+01 | |
| Rank | 1 | 9 | 4 | 8 | 7 | 6 | 2 | 3 | 5 | |
| F5 | Mean | 5.153E+02 | 5.849E+02 | 5.350E+02 | 5.638E+02 | 5.624E+02 | 5.622E+02 | 5.174E+02 | 5.155E+02 | 5.259E+02 |
| Best | 5.065E+02 | 5.425E+02 | 5.200E+02 | 5.353E+02 | 5.388E+02 | 5.301E+02 | 5.060E+02 | 5.030E+02 | 5.080E+02 | |
| Worst | 5.225E+02 | 6.129E+02 | 5.625E+02 | 6.244E+02 | 5.982E+02 | 6.006E+02 | 5.298E+02 | 5.433E+02 | 5.543E+02 | |
| Std | 3.886E+00 | 1.916E+01 | 9.916E+00 | 1.816E+01 | 1.171E+01 | 2.102E+01 | 6.959E+00 | 9.126E+00 | 9.973E+00 | |
| Rank | 1 | 9 | 5 | 8 | 7 | 6 | 3 | 2 | 4 | |
| F6 | Mean | 6.069E+02 | 6.423E+02 | 6.213E+02 | 6.405E+02 | 6.315E+02 | 6.395E+02 | 6.014E+02 | 6.011E+02 | 6.016E+02 |
| Best | 6.025E+02 | 6.234E+02 | 6.094E+02 | 6.211E+02 | 6.169E+02 | 6.179E+02 | 6.001E+02 | 6.001E+02 | 6.000E+02 | |
| Worst | 6.119E+02 | 6.564E+02 | 6.431E+02 | 6.571E+02 | 6.547E+02 | 6.588E+02 | 6.084E+02 | 6.054E+02 | 6.101E+02 | |
| Std | 2.615E+00 | 8.478E+00 | 6.768E+00 | 8.548E+00 | 1.024E+01 | 1.043E+01 | 1.791E+00 | 1.416E+00 | 2.324E+00 | |
| Rank | 4 | 9 | 5 | 8 | 6 | 7 | 2 | 1 | 3 | |
| F7 | Mean | 7.345E+02 | 8.045E+02 | 7.563E+02 | 8.012E+02 | 8.041E+02 | 7.894E+02 | 7.311E+02 | 7.316E+02 | 7.246E+02 |
| Best | 7.204E+02 | 7.458E+02 | 7.283E+02 | 7.728E+02 | 7.543E+02 | 7.542E+02 | 7.171E+02 | 7.152E+02 | 7.066E+02 | |
| Worst | 7.472E+02 | 8.548E+02 | 8.015E+02 | 8.209E+02 | 8.422E+02 | 8.255E+02 | 7.494E+02 | 7.780E+02 | 7.408E+02 | |
| Std | 5.956E+00 | 2.762E+01 | 1.696E+01 | 1.224E+01 | 2.037E+01 | 1.769E+01 | 9.091E+00 | 1.451E+01 | 9.045E+00 | |
| Rank | 4 | 9 | 5 | 7 | 8 | 6 | 2 | 3 | 1 | |
| F8 | Mean | 8.156E+02 | 8.538E+02 | 8.250E+02 | 8.364E+02 | 8.474E+02 | 8.321E+02 | 8.187E+02 | 8.168E+02 | 8.214E+02 |
| Best | 8.080E+02 | 8.348E+02 | 8.103E+02 | 8.177E+02 | 8.299E+02 | 8.131E+02 | 8.092E+02 | 8.070E+02 | 8.070E+02 | |
| Worst | 8.249E+02 | 8.736E+02 | 8.370E+02 | 8.543E+02 | 8.680E+02 | 8.490E+02 | 8.460E+02 | 8.365E+02 | 8.421E+02 | |
| Std | 4.396E+00 | 9.422E+00 | 6.936E+00 | 9.533E+00 | 1.023E+01 | 7.881E+00 | 7.789E+00 | 7.230E+00 | 8.964E+00 | |
| Rank | 1 | 9 | 5 | 7 | 8 | 6 | 3 | 2 | 4 | |
| F9 | Mean | 9.536E+02 | 1.430E+03 | 1.032E+03 | 1.437E+03 | 1.461E+03 | 1.523E+03 | 9.151E+02 | 9.200E+02 | 9.010E+02 |
| Best | 9.184E+02 | 1.120E+03 | 9.293E+02 | 1.144E+03 | 9.947E+02 | 1.052E+03 | 9.005E+02 | 9.001E+02 | 9.000E+02 | |
| Worst | 1.039E+03 | 1.902E+03 | 1.269E+03 | 1.838E+03 | 2.114E+03 | 1.864E+03 | 1.008E+03 | 1.098E+03 | 9.110E+02 | |
| Std | 2.499E+01 | 1.987E+02 | 7.343E+01 | 1.692E+02 | 2.495E+02 | 2.235E+02 | 2.319E+01 | 4.032E+01 | 2.480E+00 | |
| Rank | 4 | 6 | 5 | 7 | 8 | 9 | 2 | 3 | 1 | |
| F10 | Mean | 1.567E+03 | 2.536E+03 | 1.883E+03 | 2.298E+03 | 2.933E+03 | 2.222E+03 | 1.671E+03 | 1.791E+03 | 1.702E+03 |
| Best | 1.155E+03 | 2.023E+03 | 1.416E+03 | 1.916E+03 | 2.538E+03 | 1.759E+03 | 1.264E+03 | 1.141E+03 | 1.292E+03 | |
| Worst | 1.833E+03 | 2.978E+03 | 2.381E+03 | 2.811E+03 | 3.139E+03 | 2.717E+03 | 2.512E+03 | 2.470E+03 | 2.353E+03 | |
| Std | 1.537E+02 | 2.410E+02 | 2.553E+02 | 2.518E+02 | 1.401E+02 | 2.685E+02 | 3.157E+02 | 4.034E+02 | 2.546E+02 | |
| Rank | 1 | 8 | 5 | 7 | 9 | 6 | 2 | 4 | 3 | |
| F11 | Mean | 1.129E+03 | 3.533E+03 | 1.280E+03 | 3.926E+03 | 1.350E+03 | 1.191E+03 | 1.158E+03 | 1.123E+03 | 1.171E+03 |
| Best | 1.108E+03 | 1.171E+03 | 1.126E+03 | 1.181E+03 | 1.184E+03 | 1.111E+03 | 1.108E+03 | 1.105E+03 | 1.101E+03 | |
| Worst | 1.162E+03 | 1.147E+04 | 1.874E+03 | 1.245E+04 | 1.578E+03 | 1.521E+03 | 1.396E+03 | 1.153E+03 | 1.499E+03 | |
| Std | 1.603E+01 | 2.631E+03 | 1.619E+02 | 3.094E+03 | 1.226E+02 | 8.578E+01 | 6.081E+01 | 1.362E+01 | 1.031E+02 | |
| Rank | 2 | 8 | 6 | 9 | 7 | 5 | 3 | 1 | 4 | |
| F12 | Mean | 7.072E+04 | 2.995E+08 | 5.914E+06 | 2.125E+08 | 1.374E+07 | 3.615E+06 | 7.186E+05 | 5.611E+05 | 2.346E+06 |
| Best | 5.843E+03 | 2.084E+07 | 2.428E+04 | 1.116E+04 | 2.457E+05 | 3.349E+04 | 2.090E+04 | 9.694E+03 | 1.930E+03 | |
| Worst | 5.629E+05 | 8.962E+08 | 1.848E+07 | 1.140E+09 | 2.690E+07 | 1.918E+07 | 4.643E+06 | 3.466E+06 | 2.388E+07 | |
| Std | 1.076E+05 | 2.530E+08 | 5.921E+06 | 2.909E+08 | 7.578E+06 | 4.609E+06 | 1.112E+06 | 7.164E+05 | 5.138E+06 | |
| Rank | 1 | 9 | 6 | 8 | 7 | 5 | 3 | 2 | 4 | |
| F13 | Mean | 2.615E+03 | 1.636E+06 | 1.546E+04 | 1.048E+04 | 4.417E+04 | 1.625E+04 | 1.242E+04 | 1.190E+04 | 1.414E+04 |
| Best | 1.902E+03 | 2.260E+03 | 3.319E+03 | 3.605E+03 | 9.423E+03 | 2.237E+03 | 2.487E+03 | 3.004E+03 | 1.885E+03 | |
| Worst | 4.451E+03 | 4.099E+07 | 4.514E+04 | 3.193E+04 | 1.364E+05 | 5.636E+04 | 3.347E+04 | 3.633E+04 | 4.333E+04 | |
| Std | 5.740E+02 | 7.553E+06 | 1.205E+04 | 7.638E+03 | 2.439E+04 | 1.356E+04 | 7.643E+03 | 8.218E+03 | 1.263E+04 | |
| Rank | 1 | 9 | 6 | 2 | 8 | 7 | 4 | 3 | 5 | |
| F14 | Mean | 1.551E+03 | 2.916E+03 | 2.416E+03 | 1.188E+04 | 6.892E+03 | 1.906E+03 | 3.571E+03 | 1.511E+03 | 2.242E+03 |
| Best | 1.459E+03 | 1.461E+03 | 1.517E+03 | 1.465E+03 | 5.700E+03 | 1.488E+03 | 1.457E+03 | 1.458E+03 | 1.444E+03 | |
| Worst | 1.699E+03 | 9.997E+03 | 6.098E+03 | 2.851E+04 | 9.512E+03 | 4.013E+03 | 7.208E+03 | 1.839E+03 | 1.024E+04 | |
| Std | 6.688E+01 | 2.199E+03 | 1.082E+03 | 9.919E+03 | 8.245E+02 | 6.292E+02 | 2.165E+03 | 6.812E+01 | 2.209E+03 | |
| Rank | 2 | 6 | 5 | 9 | 8 | 3 | 7 | 1 | 4 | |
| F15 | Mean | 2.359E+03 | 1.211E+04 | 7.394E+03 | 1.785E+04 | 1.885E+04 | 7.624E+03 | 5.380E+03 | 2.223E+03 | 3.445E+03 |
| Best | 1.677E+03 | 1.769E+03 | 1.837E+03 | 4.179E+03 | 3.127E+03 | 1.652E+03 | 1.649E+03 | 1.541E+03 | 1.547E+03 | |
| Worst | 4.052E+03 | 1.986E+04 | 1.597E+04 | 2.850E+04 | 3.080E+04 | 1.290E+04 | 1.071E+04 | 6.039E+03 | 1.251E+04 | |
| Std | 6.405E+02 | 3.692E+03 | 4.048E+03 | 4.991E+03 | 8.513E+03 | 3.611E+03 | 2.624E+03 | 1.120E+03 | 2.499E+03 | |
| Rank | 2 | 7 | 5 | 8 | 9 | 6 | 4 | 1 | 3 | |
| F16 | Mean | 1.656E+03 | 2.041E+03 | 1.830E+03 | 2.048E+03 | 1.997E+03 | 1.904E+03 | 1.796E+03 | 1.663E+03 | 1.689E+03 |
| Best | 1.604E+03 | 1.675E+03 | 1.635E+03 | 1.752E+03 | 1.763E+03 | 1.619E+03 | 1.611E+03 | 1.604E+03 | 1.601E+03 | |
| Worst | 1.766E+03 | 2.328E+03 | 2.130E+03 | 2.284E+03 | 2.212E+03 | 2.079E+03 | 2.061E+03 | 1.756E+03 | 1.909E+03 | |
| Std | 4.637E+01 | 1.612E+02 | 1.329E+02 | 1.596E+02 | 1.436E+02 | 1.251E+02 | 1.397E+02 | 5.013E+01 | 8.762E+01 | |
| Rank | 1 | 8 | 5 | 9 | 7 | 6 | 4 | 2 | 3 | |
| F17 | Mean | 1.739E+03 | 1.812E+03 | 1.791E+03 | 1.872E+03 | 1.800E+03 | 1.796E+03 | 1.776E+03 | 1.751E+03 | 1.772E+03 |
| Best | 1.726E+03 | 1.753E+03 | 1.749E+03 | 1.753E+03 | 1.769E+03 | 1.725E+03 | 1.727E+03 | 1.722E+03 | 1.702E+03 | |
| Worst | 1.757E+03 | 1.876E+03 | 1.876E+03 | 2.076E+03 | 1.867E+03 | 2.011E+03 | 1.879E+03 | 1.811E+03 | 1.888E+03 | |
| Std | 8.994E+00 | 3.293E+01 | 2.999E+01 | 1.075E+02 | 2.130E+01 | 5.384E+01 | 4.311E+01 | 1.733E+01 | 4.216E+01 | |
| Rank | 1 | 8 | 5 | 9 | 7 | 6 | 4 | 2 | 3 | |
| F18 | Mean | 4.992E+03 | 3.642E+06 | 4.052E+04 | 8.061E+05 | 1.129E+05 | 1.471E+04 | 2.988E+04 | 2.874E+04 | 2.985E+04 |
| Best | 2.372E+03 | 3.033E+03 | 9.825E+03 | 3.214E+03 | 8.016E+03 | 2.622E+03 | 4.329E+03 | 4.678E+03 | 1.864E+03 | |
| Worst | 1.149E+04 | 4.882E+07 | 7.970E+04 | 2.352E+07 | 5.063E+05 | 3.820E+04 | 5.554E+04 | 5.534E+04 | 5.535E+04 | |
| Std | 2.144E+03 | 9.986E+06 | 1.858E+04 | 4.290E+06 | 1.300E+05 | 1.117E+04 | 1.638E+04 | 1.692E+04 | 1.555E+04 | |
| Rank | 1 | 9 | 6 | 8 | 7 | 2 | 5 | 3 | 4 | |
| F19 | Mean | 2.461E+03 | 5.171E+05 | 2.534E+04 | 9.787E+04 | 2.473E+04 | 2.479E+04 | 1.732E+04 | 5.206E+03 | 1.087E+04 |
| Best | 1.951E+03 | 2.089E+03 | 2.269E+03 | 2.071E+03 | 2.426E+03 | 2.062E+03 | 1.929E+03 | 1.921E+03 | 1.923E+03 | |
| Worst | 3.680E+03 | 8.094E+06 | 1.981E+05 | 2.262E+05 | 3.349E+04 | 2.839E+05 | 2.759E+05 | 1.718E+04 | 9.701E+04 | |
| Std | 3.687E+02 | 1.490E+06 | 4.105E+04 | 8.639E+04 | 7.022E+03 | 5.033E+04 | 4.932E+04 | 4.866E+03 | 1.788E+04 | |
| Rank | 1 | 9 | 7 | 8 | 5 | 6 | 4 | 2 | 3 | |
| F20 | Mean | 2.050E+03 | 2.201E+03 | 2.131E+03 | 2.172E+03 | 2.253E+03 | 2.173E+03 | 2.109E+03 | 2.057E+03 | 2.046E+03 |
| Best | 2.025E+03 | 2.114E+03 | 2.042E+03 | 2.042E+03 | 2.067E+03 | 2.063E+03 | 2.030E+03 | 2.022E+03 | 2.002E+03 | |
| Worst | 2.089E+03 | 2.295E+03 | 2.257E+03 | 2.346E+03 | 2.353E+03 | 2.354E+03 | 2.314E+03 | 2.160E+03 | 2.214E+03 | |
| Std | 1.391E+01 | 5.531E+01 | 5.575E+01 | 9.563E+01 | 8.075E+01 | 7.294E+01 | 6.373E+01 | 4.037E+01 | 4.560E+01 | |
| Rank | 2 | 8 | 5 | 6 | 9 | 7 | 4 | 3 | 1 | |
| F21 | Mean | 2.235E+03 | 2.348E+03 | 2.308E+03 | 2.347E+03 | 2.322E+03 | 2.331E+03 | 2.319E+03 | 2.286E+03 | 2.317E+03 |
| Best | 2.206E+03 | 2.244E+03 | 2.208E+03 | 2.265E+03 | 2.214E+03 | 2.207E+03 | 2.307E+03 | 2.201E+03 | 2.203E+03 | |
| Worst | 2.321E+03 | 2.415E+03 | 2.352E+03 | 2.399E+03 | 2.376E+03 | 2.396E+03 | 2.336E+03 | 2.336E+03 | 2.350E+03 | |
| Std | 3.619E+01 | 4.027E+01 | 4.475E+01 | 3.064E+01 | 5.860E+01 | 5.160E+01 | 8.053E+00 | 5.037E+01 | 3.233E+01 | |
| Rank | 1 | 9 | 3 | 8 | 6 | 7 | 5 | 2 | 4 | |
| F22 | Mean | 2.302E+03 | 3.025E+03 | 2.314E+03 | 3.077E+03 | 3.616E+03 | 2.315E+03 | 2.355E+03 | 2.311E+03 | 2.316E+03 |
| Best | 2.234E+03 | 2.558E+03 | 2.308E+03 | 2.583E+03 | 2.407E+03 | 2.306E+03 | 2.301E+03 | 2.301E+03 | 2.226E+03 | |
| Worst | 2.313E+03 | 3.878E+03 | 2.328E+03 | 3.994E+03 | 4.395E+03 | 2.325E+03 | 3.659E+03 | 2.328E+03 | 2.351E+03 | |
| Std | 1.636E+01 | 3.466E+02 | 5.218E+00 | 2.975E+02 | 7.128E+02 | 4.819E+00 | 2.465E+02 | 8.211E+00 | 2.957E+01 | |
| Rank | 1 | 7 | 3 | 8 | 9 | 4 | 6 | 2 | 5 | |
| F23 | Mean | 2.613E+03 | 2.715E+03 | 2.651E+03 | 2.762E+03 | 2.661E+03 | 2.677E+03 | 2.624E+03 | 2.616E+03 | 2.632E+03 |
| Best | 2.607E+03 | 2.659E+03 | 2.624E+03 | 2.691E+03 | 2.646E+03 | 2.625E+03 | 2.608E+03 | 2.605E+03 | 2.615E+03 | |
| Worst | 2.619E+03 | 2.778E+03 | 2.719E+03 | 2.944E+03 | 2.682E+03 | 2.744E+03 | 2.645E+03 | 2.652E+03 | 2.662E+03 | |
| Std | 3.108E+00 | 2.547E+01 | 2.142E+01 | 5.543E+01 | 7.478E+00 | 3.291E+01 | 1.029E+01 | 1.031E+01 | 1.461E+01 | |
| Rank | 1 | 8 | 5 | 9 | 6 | 7 | 3 | 2 | 4 | |
| F24 | Mean | 2.699E+03 | 2.875E+03 | 2.764E+03 | 2.877E+03 | 2.815E+03 | 2.822E+03 | 2.754E+03 | 2.747E+03 | 2.743E+03 |
| Best | 2.507E+03 | 2.636E+03 | 2.509E+03 | 2.680E+03 | 2.784E+03 | 2.502E+03 | 2.729E+03 | 2.732E+03 | 2.500E+03 | |
| Worst | 2.747E+03 | 3.008E+03 | 2.807E+03 | 3.034E+03 | 2.863E+03 | 2.962E+03 | 2.791E+03 | 2.778E+03 | 2.799E+03 | |
| Std | 8.030E+01 | 9.975E+01 | 5.081E+01 | 6.230E+01 | 2.105E+01 | 9.811E+01 | 1.478E+01 | 1.172E+01 | 7.549E+01 | |
| Rank | 1 | 8 | 5 | 9 | 6 | 7 | 4 | 3 | 2 | |
| F25 | Mean | 2.914E+03 | 3.504E+03 | 2.929E+03 | 3.343E+03 | 3.027E+03 | 2.934E+03 | 2.940E+03 | 2.940E+03 | 2.947E+03 |
| Best | 2.692E+03 | 3.095E+03 | 2.799E+03 | 3.024E+03 | 2.914E+03 | 2.898E+03 | 2.899E+03 | 2.913E+03 | 2.898E+03 | |
| Worst | 2.948E+03 | 4.114E+03 | 2.971E+03 | 3.787E+03 | 3.203E+03 | 2.953E+03 | 3.031E+03 | 2.951E+03 | 3.012E+03 | |
| Std | 4.535E+01 | 2.446E+02 | 3.449E+01 | 1.764E+02 | 6.594E+01 | 2.130E+01 | 2.503E+01 | 1.254E+01 | 3.234E+01 | |
| Rank | 1 | 9 | 2 | 8 | 7 | 3 | 5 | 4 | 6 | |
| F26 | Mean | 2.959E+03 | 4.240E+03 | 3.027E+03 | 4.095E+03 | 3.877E+03 | 3.573E+03 | 3.143E+03 | 3.006E+03 | 3.195E+03 |
| Best | 2.775E+03 | 3.260E+03 | 2.623E+03 | 3.193E+03 | 3.048E+03 | 2.824E+03 | 2.829E+03 | 2.900E+03 | 2.800E+03 | |
| Worst | 3.002E+03 | 4.851E+03 | 3.281E+03 | 4.802E+03 | 4.305E+03 | 4.411E+03 | 3.956E+03 | 3.984E+03 | 4.002E+03 | |
| Std | 4.614E+01 | 3.824E+02 | 1.826E+02 | 3.694E+02 | 4.297E+02 | 5.043E+02 | 3.566E+02 | 2.582E+02 | 3.400E+02 | |
| Rank | 1 | 9 | 3 | 8 | 7 | 6 | 4 | 2 | 5 | |
| F27 | Mean | 3.091E+03 | 3.270E+03 | 3.107E+03 | 3.261E+03 | 3.115E+03 | 3.186E+03 | 3.100E+03 | 3.092E+03 | 3.102E+03 |
| Best | 3.089E+03 | 3.132E+03 | 3.098E+03 | 3.155E+03 | 3.098E+03 | 3.110E+03 | 3.092E+03 | 3.089E+03 | 3.094E+03 | |
| Worst | 3.097E+03 | 3.426E+03 | 3.134E+03 | 3.400E+03 | 3.151E+03 | 3.495E+03 | 3.130E+03 | 3.097E+03 | 3.119E+03 | |
| Std | 2.088E+00 | 6.456E+01 | 9.264E+00 | 6.382E+01 | 2.150E+01 | 7.807E+01 | 9.474E+00 | 2.412E+00 | 6.702E+00 | |
| Rank | 1 | 9 | 5 | 8 | 6 | 7 | 3 | 2 | 4 | |
| F28 | Mean | 3.266E+03 | 3.803E+03 | 3.425E+03 | 3.794E+03 | 3.246E+03 | 3.464E+03 | 3.359E+03 | 3.343E+03 | 3.376E+03 |
| Best | 3.165E+03 | 3.333E+03 | 3.193E+03 | 3.368E+03 | 3.233E+03 | 3.174E+03 | 3.065E+03 | 3.174E+03 | 3.224E+03 | |
| Worst | 3.412E+03 | 3.893E+03 | 3.605E+03 | 4.077E+03 | 3.266E+03 | 3.650E+03 | 3.460E+03 | 3.413E+03 | 3.732E+03 | |
| Std | 9.074E+01 | 1.288E+02 | 9.223E+01 | 1.799E+02 | 7.358E+00 | 9.409E+01 | 1.034E+02 | 9.108E+01 | 1.346E+02 | |
| Rank | 2 | 9 | 6 | 8 | 1 | 7 | 4 | 3 | 5 | |
| F29 | Mean | 3.175E+03 | 3.385E+03 | 3.244E+03 | 3.433E+03 | 3.385E+03 | 3.351E+03 | 3.219E+03 | 3.173E+03 | 3.195E+03 |
| Best | 3.138E+03 | 3.214E+03 | 3.157E+03 | 3.271E+03 | 3.237E+03 | 3.212E+03 | 3.154E+03 | 3.132E+03 | 3.134E+03 | |
| Worst | 3.212E+03 | 3.581E+03 | 3.316E+03 | 3.887E+03 | 3.470E+03 | 3.554E+03 | 3.315E+03 | 3.231E+03 | 3.305E+03 | |
| Std | 1.962E+01 | 9.974E+01 | 3.969E+01 | 1.398E+02 | 6.398E+01 | 9.027E+01 | 5.791E+01 | 2.574E+01 | 4.518E+01 | |
| Rank | 2 | 8 | 5 | 9 | 7 | 6 | 4 | 1 | 3 | |
| F30 | Mean | 8.983E+04 | 2.370E+07 | 8.582E+05 | 3.172E+07 | 8.622E+06 | 1.931E+06 | 7.932E+05 | 1.783E+05 | 4.786E+05 |
| Best | 6.195E+03 | 1.063E+06 | 7.075E+03 | 1.821E+06 | 4.522E+05 | 9.724E+04 | 7.051E+03 | 6.112E+03 | 7.080E+03 | |
| Worst | 4.146E+05 | 7.272E+07 | 5.519E+06 | 1.324E+08 | 3.191E+07 | 8.382E+06 | 3.366E+06 | 1.295E+06 | 2.115E+06 | |
| Std | 1.296E+05 | 1.758E+07 | 1.262E+06 | 3.265E+07 | 7.441E+06 | 2.289E+06 | 1.042E+06 | 3.746E+05 | 6.074E+05 | |
| Rank | 1 | 8 | 5 | 9 | 7 | 6 | 4 | 2 | 3 | |
| Mean rank | 1.66 | 8.34 | 4.86 | 7.86 | 7.00 | 5.66 | 3.79 | 2.28 | 3.55 | |
| Final rank | 1 | 9 | 5 | 8 | 7 | 6 | 4 | 2 | 3 | |
| Function | MOOA vs. OOA | MOOA vs. AO | MOOA vs. AOA | MOOA vs. ChOA | MOOA vs. HHO | MOOA vs. GWO | MOOA vs. RGWO | MOOA vs. MPSO |
|---|---|---|---|---|---|---|---|---|
| F1 | 3.020E-11 | 6.066E-11 | 3.020E-11 | 3.020E-11 | 3.646E-08 | 5.298E-01 | 1.809E-01 | 1.000E+00 |
| F3 | 3.020E-11 | 7.394E-01 | 3.020E-11 | 6.283E-06 | 1.464E-10 | 4.734E-01 | 1.429E-08 | 4.183E-09 |
| F4 | 3.020E-11 | 1.248E-04 | 3.020E-11 | 3.020E-11 | 2.282E-01 | 1.715E-01 | 5.746E-02 | 1.091E-04 |
| F5 | 3.020E-11 | 8.153E-11 | 3.020E-11 | 3.020E-11 | 3.020E-11 | 2.905E-01 | 4.376E-01 | 2.678E-06 |
| F6 | 3.020E-11 | 6.066E-11 | 3.020E-11 | 3.020E-11 | 3.020E-11 | 7.380E-10 | 2.610E-10 | 9.260E-09 |
| F7 | 3.338E-11 | 3.081E-08 | 3.020E-11 | 3.020E-11 | 3.020E-11 | 5.188E-02 | 2.813E-02 | 1.635E-05 |
| F8 | 3.020E-11 | 1.194E-06 | 1.206E-10 | 3.020E-11 | 6.722E-10 | 1.495E-01 | 6.952E-01 | 5.084E-03 |
| F9 | 3.020E-11 | 7.043E-07 | 3.020E-11 | 3.690E-11 | 3.020E-11 | 7.695E-08 | 2.154E-06 | 2.859E-11 |
| F10 | 3.020E-11 | 8.883E-06 | 3.020E-11 | 3.020E-11 | 4.077E-11 | 4.825E-01 | 7.245E-02 | 4.060E-02 |
| F11 | 3.020E-11 | 2.372E-10 | 3.020E-11 | 3.020E-11 | 4.118E-06 | 1.765E-02 | 1.669E-01 | 8.883E-01 |
| F12 | 3.020E-11 | 1.174E-09 | 3.825E-09 | 3.690E-11 | 2.154E-10 | 9.521E-04 | 1.861E-06 | 5.592E-01 |
| F13 | 4.616E-10 | 8.993E-11 | 1.206E-10 | 3.020E-11 | 5.072E-10 | 3.820E-10 | 1.464E-10 | 5.462E-06 |
| F14 | 6.765E-05 | 4.311E-08 | 1.157E-07 | 3.020E-11 | 3.988E-04 | 2.052E-03 | 3.034E-03 | 5.395E-01 |
| F15 | 4.616E-10 | 6.010E-08 | 3.020E-11 | 4.975E-11 | 7.695E-08 | 5.600E-07 | 6.972E-03 | 9.823E-01 |
| F16 | 7.389E-11 | 5.533E-08 | 3.338E-11 | 3.338E-11 | 4.183E-09 | 1.748E-05 | 6.520E-01 | 3.953E-01 |
| F17 | 4.077E-11 | 8.153E-11 | 4.077E-11 | 3.020E-11 | 1.011E-08 | 1.249E-05 | 2.266E-03 | 4.084E-05 |
| F18 | 9.514E-06 | 3.338E-11 | 5.462E-09 | 3.690E-11 | 6.765E-05 | 5.967E-09 | 1.287E-09 | 2.028E-07 |
| F19 | 1.174E-09 | 2.831E-08 | 3.820E-10 | 1.613E-10 | 1.311E-08 | 2.707E-01 | 7.845E-01 | 4.060E-02 |
| F20 | 3.020E-11 | 9.756E-10 | 2.670E-09 | 4.077E-11 | 4.975E-11 | 1.167E-05 | 4.643E-01 | 1.302E-03 |
| F21 | 5.072E-10 | 4.801E-07 | 2.154E-10 | 1.473E-07 | 1.873E-07 | 3.825E-09 | 8.684E-03 | 5.092E-08 |
| F22 | 3.020E-11 | 2.154E-10 | 3.020E-11 | 3.020E-11 | 3.820E-10 | 7.245E-02 | 3.501E-03 | 6.204E-01 |
| F23 | 3.020E-11 | 3.020E-11 | 3.020E-11 | 3.020E-11 | 3.020E-11 | 5.091E-06 | 3.329E-01 | 5.567E-10 |
| F24 | 3.081E-08 | 5.573E-10 | 2.872E-10 | 3.020E-11 | 7.119E-09 | 1.529E-05 | 1.221E-02 | 1.473E-07 |
| F25 | 3.020E-11 | 5.012E-02 | 3.020E-11 | 1.957E-10 | 1.564E-02 | 1.302E-03 | 7.199E-05 | 5.264E-04 |
| F26 | 3.020E-11 | 1.988E-02 | 3.020E-11 | 3.020E-11 | 1.019E-05 | 9.883E-03 | 4.841E-02 | 2.437E-09 |
| F27 | 3.020E-11 | 3.020E-11 | 3.020E-11 | 3.020E-11 | 3.020E-11 | 7.773E-09 | 1.537E-01 | 1.770E-10 |
| F28 | 6.696E-11 | 2.390E-08 | 1.206E-10 | 5.011E-01 | 3.497E-09 | 1.106E-04 | 4.218E-04 | 5.938E-05 |
| F29 | 3.020E-11 | 5.967E-09 | 3.020E-11 | 3.020E-11 | 3.020E-11 | 6.972E-03 | 5.592E-01 | 2.010E-01 |
| F30 | 3.020E-11 | 1.249E-05 | 3.020E-11 | 3.020E-11 | 3.497E-09 | 7.959E-03 | 4.376E-01 | 1.023E-01 |
| +/=/− | 0/0/29 | 0/1/28 | 0/0/29 | 0/0/29 | 1/1/27 | 2/9/18 | 6/13/10 | 5/9/15 |
| Function | MOOA | OOA | AO | AOA | ChOA | HHO | GWO | RGWO | MPSO |
|---|---|---|---|---|---|---|---|---|---|
| F1 | 1.840E-01 | 9.462E-02 | 1.278E-01 | 5.040E-02 | 4.355E-01 | 1.249E-01 | 4.688E-02 | 1.165E-01 | 4.759E-02 |
| F2 | 3.816E-01 | 4.024E-01 | 4.062E-01 | 2.046E-01 | 4.911E-01 | 5.858E-01 | 2.626E-01 | 5.534E-01 | 1.940E-01 |
| F3 | 1.843E-01 | 9.648E-02 | 1.281E-01 | 4.893E-02 | 4.439E-01 | 1.190E-01 | 4.615E-02 | 1.167E-01 | 4.621E-02 |
| F4 | 1.799E-01 | 9.385E-02 | 1.270E-01 | 4.986E-02 | 4.489E-01 | 1.186E-01 | 4.575E-02 | 1.142E-01 | 4.669E-02 |
| F5 | 1.926E-01 | 1.038E-01 | 1.371E-01 | 5.460E-02 | 4.460E-01 | 1.398E-01 | 5.267E-02 | 1.358E-01 | 5.168E-02 |
| F6 | 2.220E-01 | 1.329E-01 | 1.644E-01 | 6.737E-02 | 4.563E-01 | 1.742E-01 | 6.813E-02 | 1.782E-01 | 6.642E-02 |
| F7 | 2.064E-01 | 1.153E-01 | 1.490E-01 | 6.012E-02 | 4.525E-01 | 1.513E-01 | 5.733E-02 | 1.481E-01 | 5.719E-02 |
| F8 | 1.954E-01 | 1.042E-01 | 1.377E-01 | 5.493E-02 | 4.483E-01 | 1.421E-01 | 5.363E-02 | 1.386E-01 | 5.278E-02 |
| F9 | 1.971E-01 | 1.122E-01 | 1.447E-01 | 5.857E-02 | 4.499E-01 | 1.475E-01 | 5.531E-02 | 1.453E-01 | 5.561E-02 |
| F10 | 2.012E-01 | 1.128E-01 | 1.461E-01 | 5.942E-02 | 4.484E-01 | 1.493E-01 | 5.581E-02 | 1.501E-01 | 5.640E-02 |
| F11 | 1.893E-01 | 1.024E-01 | 1.338E-01 | 5.249E-02 | 4.387E-01 | 1.403E-01 | 5.000E-02 | 1.288E-01 | 4.983E-02 |
| F12 | 1.926E-01 | 1.042E-01 | 1.367E-01 | 5.367E-02 | 4.398E-01 | 1.369E-01 | 5.100E-02 | 1.311E-01 | 5.094E-02 |
| F13 | 1.984E-01 | 1.135E-01 | 1.433E-01 | 5.986E-02 | 4.485E-01 | 1.458E-01 | 5.416E-02 | 1.403E-01 | 5.500E-02 |
| F14 | 2.003E-01 | 1.150E-01 | 1.484E-01 | 5.842E-02 | 4.511E-01 | 1.500E-01 | 5.681E-02 | 1.450E-01 | 5.502E-02 |
| F15 | 1.866E-01 | 9.917E-02 | 1.316E-01 | 5.248E-02 | 4.429E-01 | 1.339E-01 | 5.036E-02 | 1.268E-01 | 5.029E-02 |
| F16 | 1.920E-01 | 1.071E-01 | 1.369E-01 | 5.419E-02 | 4.357E-01 | 1.395E-01 | 5.256E-02 | 1.339E-01 | 5.223E-02 |
| F17 | 2.199E-01 | 1.312E-01 | 1.664E-01 | 6.939E-02 | 4.579E-01 | 1.740E-01 | 6.567E-02 | 1.754E-01 | 6.610E-02 |
| F18 | 1.949E-01 | 1.065E-01 | 1.392E-01 | 5.574E-02 | 4.431E-01 | 1.467E-01 | 5.300E-02 | 1.361E-01 | 5.228E-02 |
| F19 | 3.565E-01 | 2.692E-01 | 3.015E-01 | 1.357E-01 | 5.293E-01 | 3.430E-01 | 1.326E-01 | 3.777E-01 | 1.350E-01 |
| F20 | 2.221E-01 | 1.309E-01 | 1.648E-01 | 6.833E-02 | 4.664E-01 | 1.794E-01 | 6.654E-02 | 1.778E-01 | 6.906E-02 |
| F21 | 2.307E-01 | 1.393E-01 | 1.774E-01 | 7.247E-02 | 4.653E-01 | 1.796E-01 | 6.972E-02 | 1.882E-01 | 6.903E-02 |
| F22 | 2.436E-01 | 1.555E-01 | 1.887E-01 | 8.012E-02 | 4.662E-01 | 2.001E-01 | 7.935E-02 | 2.134E-01 | 7.910E-02 |
| F23 | 2.496E-01 | 1.603E-01 | 1.957E-01 | 8.404E-02 | 4.791E-01 | 2.109E-01 | 8.202E-02 | 2.218E-01 | 8.092E-02 |
| F24 | 2.684E-01 | 1.738E-01 | 2.101E-01 | 9.064E-02 | 4.858E-01 | 2.218E-01 | 8.609E-02 | 2.384E-01 | 8.611E-02 |
| F25 | 2.405E-01 | 1.502E-01 | 1.832E-01 | 7.896E-02 | 4.662E-01 | 1.894E-01 | 7.474E-02 | 2.041E-01 | 7.463E-02 |
| F26 | 2.718E-01 | 1.826E-01 | 2.185E-01 | 9.679E-02 | 4.937E-01 | 2.321E-01 | 9.077E-02 | 2.525E-01 | 9.000E-02 |
| F27 | 2.871E-01 | 1.942E-01 | 2.269E-01 | 1.001E-01 | 5.021E-01 | 2.396E-01 | 9.724E-02 | 2.652E-01 | 9.471E-02 |
| F28 | 2.613E-01 | 1.713E-01 | 2.076E-01 | 8.917E-02 | 4.781E-01 | 1.914E-01 | 8.507E-02 | 2.336E-01 | 8.472E-02 |
| F29 | 2.591E-01 | 1.662E-01 | 2.051E-01 | 8.750E-02 | 4.793E-01 | 2.214E-01 | 8.626E-02 | 2.285E-01 | 8.489E-02 |
| F30 | 3.912E-01 | 3.034E-01 | 3.367E-01 | 1.518E-01 | 5.422E-01 | 3.686E-01 | 1.474E-01 | 4.227E-01 | 1.521E-01 |
| Function | Index | MOOA | OOA | AO | AOA | ChOA | HHO | GWO | RGWO | MPSO |
|---|---|---|---|---|---|---|---|---|---|---|
| F1 | Mean | 6.826E+03 | 8.624E+03 | 4.388E+03 | 1.251E+04 | 5.364E+03 | 1.133E+03 | 3.077E+03 | 6.476E+02 | 4.805E+02 |
| Best | 1.748E+03 | 3.858E+03 | 6.956E+02 | 6.645E+03 | 2.473E+03 | 4.044E+02 | 3.975E+02 | 3.048E+02 | 3.000E+02 | |
| Worst | 1.190E+04 | 1.163E+04 | 1.161E+04 | 2.520E+04 | 1.100E+04 | 2.569E+03 | 9.171E+03 | 4.312E+03 | 3.236E+03 | |
| Std | 2.351E+03 | 1.953E+03 | 2.278E+03 | 4.353E+03 | 1.763E+03 | 5.671E+02 | 2.276E+03 | 7.656E+02 | 6.756E+02 | |
| Rank | 7 | 8 | 5 | 9 | 6 | 3 | 4 | 2 | 1 | |
| F2 | Mean | 4.077E+02 | 1.573E+03 | 4.695E+02 | 1.621E+03 | 6.587E+02 | 4.454E+02 | 4.231E+02 | 4.238E+02 | 4.589E+02 |
| Best | 4.016E+02 | 6.778E+02 | 4.095E+02 | 5.369E+02 | 4.624E+02 | 4.005E+02 | 4.002E+02 | 4.005E+02 | 4.079E+02 | |
| Worst | 4.094E+02 | 2.902E+03 | 6.876E+02 | 5.189E+03 | 1.128E+03 | 5.933E+02 | 4.713E+02 | 4.734E+02 | 8.159E+02 | |
| Std | 2.178E+00 | 5.835E+02 | 6.675E+01 | 9.755E+02 | 1.727E+02 | 4.492E+01 | 2.165E+01 | 2.507E+01 | 9.458E+01 | |
| Rank | 1 | 8 | 6 | 9 | 7 | 4 | 2 | 3 | 5 | |
| F3 | Mean | 6.068E+02 | 6.418E+02 | 6.212E+02 | 6.406E+02 | 6.319E+02 | 6.408E+02 | 6.014E+02 | 6.019E+02 | 6.018E+02 |
| Best | 6.036E+02 | 6.238E+02 | 6.057E+02 | 6.246E+02 | 6.156E+02 | 6.206E+02 | 6.001E+02 | 6.001E+02 | 6.000E+02 | |
| Worst | 6.135E+02 | 6.578E+02 | 6.400E+02 | 6.521E+02 | 6.699E+02 | 6.620E+02 | 6.060E+02 | 6.092E+02 | 6.051E+02 | |
| Std | 2.448E+00 | 9.478E+00 | 7.997E+00 | 7.013E+00 | 1.137E+01 | 1.056E+01 | 1.558E+00 | 2.372E+00 | 1.630E+00 | |
| Rank | 4 | 9 | 5 | 7 | 6 | 8 | 1 | 3 | 2 | |
| F4 | Mean | 8.128E+02 | 8.477E+02 | 8.241E+02 | 8.389E+02 | 8.431E+02 | 8.273E+02 | 8.189E+02 | 8.181E+02 | 8.215E+02 |
| Best | 8.031E+02 | 8.231E+02 | 8.120E+02 | 8.219E+02 | 8.251E+02 | 8.120E+02 | 8.060E+02 | 8.061E+02 | 8.070E+02 | |
| Worst | 8.205E+02 | 8.662E+02 | 8.363E+02 | 8.632E+02 | 8.560E+02 | 8.409E+02 | 8.560E+02 | 8.418E+02 | 8.447E+02 | |
| Std | 3.782E+00 | 1.021E+01 | 5.862E+00 | 9.129E+00 | 7.897E+00 | 7.730E+00 | 1.175E+01 | 8.262E+00 | 9.560E+00 | |
| Rank | 1 | 9 | 5 | 7 | 8 | 6 | 3 | 2 | 4 | |
| F5 | Mean | 9.434E+02 | 1.382E+03 | 1.079E+03 | 1.352E+03 | 1.288E+03 | 1.425E+03 | 9.231E+02 | 9.174E+02 | 9.020E+02 |
| Best | 9.066E+02 | 1.091E+03 | 9.533E+02 | 1.108E+03 | 1.057E+03 | 1.114E+03 | 9.001E+02 | 9.000E+02 | 9.000E+02 | |
| Worst | 9.942E+02 | 1.931E+03 | 1.374E+03 | 1.833E+03 | 1.795E+03 | 1.904E+03 | 1.028E+03 | 1.051E+03 | 9.063E+02 | |
| Std | 2.195E+01 | 1.930E+02 | 8.643E+01 | 1.675E+02 | 2.002E+02 | 1.945E+02 | 3.134E+01 | 3.185E+01 | 2.105E+00 | |
| Rank | 4 | 8 | 5 | 7 | 6 | 9 | 3 | 2 | 1 | |
| F6 | Mean | 2.582E+03 | 6.020E+06 | 3.932E+04 | 3.013E+07 | 2.877E+06 | 7.765E+03 | 6.725E+03 | 5.979E+03 | 5.244E+03 |
| Best | 2.029E+03 | 2.080E+03 | 3.219E+03 | 2.092E+03 | 1.878E+05 | 2.414E+03 | 2.942E+03 | 2.114E+03 | 1.856E+03 | |
| Worst | 3.700E+03 | 4.924E+07 | 4.056E+05 | 3.917E+08 | 7.808E+06 | 2.075E+04 | 1.043E+04 | 9.115E+03 | 8.247E+03 | |
| Std | 3.763E+02 | 1.245E+07 | 7.216E+04 | 9.509E+07 | 1.887E+06 | 4.850E+03 | 2.071E+03 | 2.636E+03 | 2.282E+03 | |
| Rank | 1 | 8 | 6 | 9 | 7 | 5 | 4 | 3 | 2 | |
| F7 | Mean | 2.024E+03 | 2.089E+03 | 2.059E+03 | 2.107E+03 | 2.065E+03 | 2.087E+03 | 2.033E+03 | 2.024E+03 | 2.023E+03 |
| Best | 2.010E+03 | 2.038E+03 | 2.028E+03 | 2.060E+03 | 2.044E+03 | 2.022E+03 | 2.011E+03 | 2.002E+03 | 2.021E+03 | |
| Worst | 2.035E+03 | 2.139E+03 | 2.125E+03 | 2.247E+03 | 2.083E+03 | 2.164E+03 | 2.071E+03 | 2.038E+03 | 2.031E+03 | |
| Std | 4.637E+00 | 2.234E+01 | 2.450E+01 | 3.411E+01 | 9.121E+00 | 3.999E+01 | 1.321E+01 | 7.235E+00 | 2.431E+00 | |
| Rank | 3 | 8 | 5 | 9 | 6 | 7 | 4 | 2 | 1 | |
| F8 | Mean | 2.223E+03 | 2.234E+03 | 2.231E+03 | 2.319E+03 | 2.348E+03 | 2.236E+03 | 2.226E+03 | 2.223E+03 | 2.231E+03 |
| Best | 2.208E+03 | 2.222E+03 | 2.225E+03 | 2.226E+03 | 2.236E+03 | 2.225E+03 | 2.219E+03 | 2.202E+03 | 2.202E+03 | |
| Worst | 2.227E+03 | 2.269E+03 | 2.243E+03 | 2.548E+03 | 2.366E+03 | 2.269E+03 | 2.234E+03 | 2.232E+03 | 2.353E+03 | |
| Std | 4.390E+00 | 1.026E+01 | 4.844E+00 | 1.043E+02 | 2.783E+01 | 1.363E+01 | 3.854E+00 | 8.456E+00 | 3.241E+01 | |
| Rank | 1 | 6 | 4 | 8 | 9 | 7 | 3 | 2 | 5 | |
| F9 | Mean | 2.529E+03 | 2.749E+03 | 2.601E+03 | 2.738E+03 | 2.596E+03 | 2.618E+03 | 2.583E+03 | 2.558E+03 | 2.548E+03 |
| Best | 2.529E+03 | 2.660E+03 | 2.538E+03 | 2.629E+03 | 2.549E+03 | 2.536E+03 | 2.529E+03 | 2.529E+03 | 2.529E+03 | |
| Worst | 2.530E+03 | 2.838E+03 | 2.674E+03 | 2.967E+03 | 2.786E+03 | 2.687E+03 | 2.676E+03 | 2.685E+03 | 2.683E+03 | |
| Std | 2.498E-01 | 4.207E+01 | 3.092E+01 | 6.818E+01 | 4.350E+01 | 4.541E+01 | 4.925E+01 | 3.726E+01 | 4.395E+01 | |
| Rank | 1 | 9 | 6 | 8 | 5 | 7 | 4 | 3 | 2 | |
| F10 | Mean | 2.501E+03 | 2.719E+03 | 2.576E+03 | 2.702E+03 | 3.145E+03 | 2.596E+03 | 2.589E+03 | 2.531E+03 | 2.579E+03 |
| Best | 2.500E+03 | 2.519E+03 | 2.501E+03 | 2.510E+03 | 2.501E+03 | 2.501E+03 | 2.500E+03 | 2.500E+03 | 2.500E+03 | |
| Worst | 2.501E+03 | 3.349E+03 | 2.642E+03 | 3.256E+03 | 4.313E+03 | 2.684E+03 | 2.973E+03 | 2.633E+03 | 2.994E+03 | |
| Std | 1.443E-01 | 1.854E+02 | 6.202E+01 | 1.764E+02 | 7.502E+02 | 7.535E+01 | 9.129E+01 | 5.161E+01 | 1.023E+02 | |
| Rank | 1 | 8 | 3 | 7 | 9 | 6 | 5 | 2 | 4 | |
| F11 | Mean | 2.696E+03 | 4.089E+03 | 2.755E+03 | 3.310E+03 | 3.693E+03 | 2.837E+03 | 2.971E+03 | 2.861E+03 | 2.908E+03 |
| Best | 2.621E+03 | 3.197E+03 | 2.635E+03 | 2.773E+03 | 3.243E+03 | 2.606E+03 | 2.610E+03 | 2.605E+03 | 2.600E+03 | |
| Worst | 2.748E+03 | 4.818E+03 | 2.946E+03 | 4.197E+03 | 4.606E+03 | 2.936E+03 | 3.216E+03 | 3.049E+03 | 3.854E+03 | |
| Std | 3.872E+01 | 4.771E+02 | 8.043E+01 | 3.531E+02 | 3.063E+02 | 1.057E+02 | 1.316E+02 | 1.180E+02 | 2.176E+02 | |
| Rank | 1 | 9 | 2 | 7 | 8 | 3 | 6 | 4 | 5 | |
| F12 | Mean | 2.862E+03 | 3.090E+03 | 2.868E+03 | 3.055E+03 | 2.881E+03 | 2.951E+03 | 2.869E+03 | 2.864E+03 | 2.869E+03 |
| Best | 2.859E+03 | 2.943E+03 | 2.864E+03 | 2.921E+03 | 2.866E+03 | 2.866E+03 | 2.863E+03 | 2.859E+03 | 2.862E+03 | |
| Worst | 2.864E+03 | 3.380E+03 | 2.877E+03 | 3.315E+03 | 2.945E+03 | 3.163E+03 | 2.888E+03 | 2.865E+03 | 2.924E+03 | |
| Std | 1.382E+00 | 9.803E+01 | 2.675E+00 | 1.046E+02 | 2.084E+01 | 7.642E+01 | 7.984E+00 | 1.722E+00 | 1.103E+01 | |
| Rank | 1 | 9 | 3 | 8 | 6 | 7 | 5 | 2 | 4 | |
| Mean rank | 2.17 | 8.25 | 4.58 | 7.92 | 6.92 | 6.00 | 3.67 | 2.50 | 3.00 | |
| Final rank | 1 | 9 | 5 | 8 | 7 | 6 | 4 | 2 | 3 | |
| Function | MOOA vs. OOA | MOOA vs. AO | MOOA vs. AOA | MOOA vs. ChOA | MOOA vs. HHO | MOOA vs. GWO | MOOA vs. RGWO | MOOA vs. MPSO |
|---|---|---|---|---|---|---|---|---|
| F1 | 1.518E-03 | 1.041E-04 | 1.850E-08 | 3.848E-03 | 5.494E-11 | 8.198E-07 | 5.494E-11 | 4.975E-11 |
| F2 | 3.020E-11 | 3.020E-11 | 3.020E-11 | 3.020E-11 | 1.221E-02 | 1.868E-05 | 6.377E-03 | 4.684E-06 |
| F3 | 3.020E-11 | 8.891E-10 | 3.020E-11 | 3.020E-11 | 3.020E-11 | 1.957E-10 | 1.429E-08 | 2.372E-10 |
| F4 | 3.020E-11 | 3.197E-09 | 3.020E-11 | 3.020E-11 | 8.891E-10 | 5.555E-02 | 3.183E-03 | 1.493E-04 |
| F5 | 3.020E-11 | 2.872E-10 | 3.020E-11 | 3.020E-11 | 3.020E-11 | 1.325E-04 | 3.094E-06 | 3.020E-11 |
| F6 | 8.485E-09 | 3.690E-11 | 3.157E-05 | 3.020E-11 | 4.200E-10 | 8.153E-11 | 7.695E-08 | 2.133E-05 |
| F7 | 3.020E-11 | 9.919E-11 | 3.020E-11 | 3.020E-11 | 6.121E-10 | 6.669E-03 | 5.369E-02 | 1.518E-03 |
| F8 | 5.573E-10 | 8.891E-10 | 4.504E-11 | 3.020E-11 | 1.206E-10 | 3.265E-02 | 4.841E-02 | 1.537E-01 |
| F9 | 3.020E-11 | 3.020E-11 | 3.020E-11 | 3.020E-11 | 3.020E-11 | 3.352E-08 | 6.736E-06 | 3.011E-01 |
| F10 | 3.020E-11 | 5.494E-11 | 3.020E-11 | 3.338E-11 | 2.154E-10 | 7.617E-03 | 3.032E-02 | 3.834E-06 |
| F11 | 3.020E-11 | 4.084E-05 | 3.020E-11 | 3.020E-11 | 1.254E-07 | 1.287E-09 | 1.429E-08 | 1.067E-07 |
| F12 | 3.020E-11 | 3.020E-11 | 3.020E-11 | 3.020E-11 | 3.020E-11 | 4.183E-09 | 6.765E-05 | 1.703E-07 |
| +/=/− | 0/0/12 | 1/0/11 | 0/0/12 | 1/0/11 | 1/0/11 | 3/1/8 | 3/1/8 | 4/2/6 |
| Function | MOOA | OOA | AO | AOA | ChOA | HHO | GWO | RGWO | MPSO |
|---|---|---|---|---|---|---|---|---|---|
| F1 | 1.612E-01 | 7.441E-02 | 1.018E-01 | 4.434E-02 | 4.295E-01 | 9.798E-02 | 3.899E-02 | 8.892E-02 | 3.795E-02 |
| F2 | 1.515E-01 | 6.800E-02 | 9.653E-02 | 4.119E-02 | 4.189E-01 | 8.813E-02 | 3.681E-02 | 8.448E-02 | 3.472E-02 |
| F3 | 1.870E-01 | 1.059E-01 | 1.340E-01 | 5.959E-02 | 4.378E-01 | 1.406E-01 | 5.684E-02 | 1.438E-01 | 5.347E-02 |
| F4 | 1.589E-01 | 7.933E-02 | 1.092E-01 | 4.776E-02 | 4.197E-01 | 1.098E-01 | 4.248E-02 | 1.035E-01 | 4.101E-02 |
| F5 | 1.691E-01 | 8.775E-02 | 1.161E-01 | 5.051E-02 | 4.213E-01 | 1.190E-01 | 4.598E-02 | 1.112E-01 | 4.395E-02 |
| F6 | 1.568E-01 | 7.332E-02 | 1.018E-01 | 4.318E-02 | 4.168E-01 | 1.008E-01 | 3.853E-02 | 8.897E-02 | 3.769E-02 |
| F7 | 2.152E-01 | 1.267E-01 | 1.561E-01 | 7.078E-02 | 4.511E-01 | 1.684E-01 | 6.633E-02 | 1.734E-01 | 7.116E-02 |
| F8 | 2.389E-01 | 1.496E-01 | 1.800E-01 | 8.293E-02 | 4.663E-01 | 1.970E-01 | 7.774E-02 | 2.084E-01 | 7.821E-02 |
| F9 | 2.049E-01 | 1.178E-01 | 1.520E-01 | 6.772E-02 | 4.498E-01 | 1.526E-01 | 6.322E-02 | 1.625E-01 | 6.152E-02 |
| F10 | 1.972E-01 | 1.114E-01 | 1.431E-01 | 6.340E-02 | 4.441E-01 | 1.460E-01 | 5.819E-02 | 1.486E-01 | 5.634E-02 |
| F11 | 2.345E-01 | 1.467E-01 | 1.776E-01 | 8.355E-02 | 4.726E-01 | 1.849E-01 | 7.670E-02 | 2.022E-01 | 7.440E-02 |
| F12 | 2.418E-01 | 1.531E-01 | 1.851E-01 | 8.592E-02 | 4.697E-01 | 1.976E-01 | 7.895E-02 | 2.149E-01 | 7.781E-02 |
| Algorithm | Optimal Values for Variables | Optimal Cost | |||
|---|---|---|---|---|---|
| MOOA | 0.204451219 | 3.277077923 | 9.034062643 | 0.206541308 | 1.702268716 |
| OOA | 0.125211615 | 6.968881248 | 8.906767944 | 0.214356155 | 2.046744398 |
| AO | 0.16846836 | 4.473191471 | 8.825467151 | 0.22420134 | 1.898793692 |
| AOA | 0.193723284 | 3.665171957 | 10 | 0.205982882 | 1.902541601 |
| ChOA | 0.18225704 | 3.626627825 | 9.476918306 | 0.205193925 | 1.7821413 |
| HHO | 0.177337115 | 3.759610923 | 9.541952824 | 0.203338557 | 1.788390057 |
| GWO | 0.197813447 | 3.403387574 | 9.032696795 | 0.206102119 | 1.705843204 |
| RGWO | 0.20056831 | 3.364777682 | 9.038637479 | 0.205775649 | 1.703353286 |
| MPSO | 0.201386666 | 3.087096048 | 10 | 0.201380645 | 1.793785741 |
| Algorithm | Optimal Values for Variables | Optimal Cost | |||
|---|---|---|---|---|---|
| MOOA | 0.740087552 | 0.370680718 | 40.31983229 | 199.999164 | 5735.548303 |
| OOA | 4.792398789 | 4.017954008 | 60.42998669 | 32.44395666 | 61832.69084 |
| AO | 0.842322333 | 0.379594948 | 44.87225728 | 145.0998081 | 6021.401007 |
| AOA | 0.022655643 | 1.029523791 | 41.01793224 | 200 | 62330.97627 |
| ChOA | 0 | 0.427474984 | 40.33158559 | 200 | 61826.98971 |
| HHO | 0.945927184 | 0.466339982 | 50.73848623 | 92.77408339 | 6211.997644 |
| GWO | 0.740927138 | 0.366485948 | 40.32884403 | 199.9022614 | 5737.618222 |
| RGWO | 0.744027303 | 0.366888522 | 40.42888035 | 198.5316579 | 5741.931252 |
| MPSO | 0.90382049 | 0.440300815 | 48.31912462 | 112.2665527 | 6078.183974 |
| Algorithm | Optimal Values for Variables | Optimal Cost | |
|---|---|---|---|
| MOOA | 5.451801164 | 0.291930864 | 26.53261381 |
| OOA | 5.605087619 | 0.284065515 | 26.84569808 |
| AO | 5.542489228 | 0.288159103 | 26.76868431 |
| AOA | 5.723901675 | 0.278064003 | 27.07742347 |
| ChOA | 5.431743862 | 0.296824343 | 26.69601648 |
| HHO | 5.429447697 | 0.29545272 | 26.61163051 |
| GWO | 5.452810323 | 0.291862615 | 26.53626955 |
| RGWO | 5.450408776 | 0.292253423 | 26.54310167 |
| MPSO | 5.470173495 | 0.29084307 | 26.6998997 |
| Algorithm | Optimal Values for Variables | Optimal Weight | |
|---|---|---|---|
| MOOA | 0.788422741 | 0.4080882 | 263.8523476 |
| OOA | 0.801601097 | 0.372060283 | 263.9744812 |
| AO | 0.798247262 | 0.380200906 | 263.9637515 |
| AOA | 0.801494929 | 0.372319834 | 263.9726633 |
| ChOA | 0.788102737 | 0.409126196 | 263.8533748 |
| HHO | 0.790802975 | 0.401402021 | 263.8565027 |
| GWO | 0.788575469 | 0.407598478 | 263.8525933 |
| RGWO | 0.789695287 | 0.404498448 | 263.853552 |
| MPSO | 0.788584239 | 0.407642067 | 263.8523691 |
| Algorithm | Optimal Values for Variables | Optimal Weight | ||
|---|---|---|---|---|
| MOOA | 0.05 | 0.355941091 | 10.55735374 | 0.011174195 |
| OOA | 0.060622644 | 0.677161681 | 3.122473338 | 0.012747993 |
| AO | 0.055901016 | 0.515478019 | 6.173513397 | 0.013166136 |
| AOA | 0.058981869 | 0.623069676 | 3.591682654 | 0.01212038 |
| ChOA | 0.059522545 | 0.640762158 | 3.425067068 | 0.012315867 |
| HHO | 0.059773263 | 0.649077517 | 3.350980104 | 0.012409203 |
| GWO | 0.058420246 | 0.605035817 | 3.775234562 | 0.011925525 |
| RGWO | 0.058714517 | 0.613346926 | 3.697405443 | 0.012046873 |
| MPSO | 0.05 | 0.373590618 | 10.15177501 | 0.011349473 |
Disclaimer/Publisher’s Note: The statements, opinions and data contained in all publications are solely those of the individual author(s) and contributor(s) and not of MDPI and/or the editor(s). MDPI and/or the editor(s) disclaim responsibility for any injury to people or property resulting from any ideas, methods, instructions or products referred to in the content. |
© 2024 by the authors. Licensee MDPI, Basel, Switzerland. This article is an open access article distributed under the terms and conditions of the Creative Commons Attribution (CC BY) license (https://creativecommons.org/licenses/by/4.0/).
Share and Cite
Zhou, L.; Liu, X.; Tian, R.; Wang, W.; Jin, G. A Modified Osprey Optimization Algorithm for Solving Global Optimization and Engineering Optimization Design Problems. Symmetry 2024, 16, 1173. https://doi.org/10.3390/sym16091173
Zhou L, Liu X, Tian R, Wang W, Jin G. A Modified Osprey Optimization Algorithm for Solving Global Optimization and Engineering Optimization Design Problems. Symmetry. 2024; 16(9):1173. https://doi.org/10.3390/sym16091173
Chicago/Turabian StyleZhou, Liping, Xu Liu, Ruiqing Tian, Wuqi Wang, and Guowei Jin. 2024. "A Modified Osprey Optimization Algorithm for Solving Global Optimization and Engineering Optimization Design Problems" Symmetry 16, no. 9: 1173. https://doi.org/10.3390/sym16091173
APA StyleZhou, L., Liu, X., Tian, R., Wang, W., & Jin, G. (2024). A Modified Osprey Optimization Algorithm for Solving Global Optimization and Engineering Optimization Design Problems. Symmetry, 16(9), 1173. https://doi.org/10.3390/sym16091173
