Improved Salp Swarm Algorithm with Simulated Annealing for Solving Engineering Optimization Problems
Abstract
1. Introduction
- We proposed an improved salp swarm algorithm based on the idea of a simulated annealing algorithm.
- We tested the improved algorithm on the benchmark function.
- The advantages of the improved algorithm were verified, and the results evaluated by the original salp swarm algorithm and other meta-heuristic algorithms on benchmark functions such as GWO and WOA are compared.
- The improved algorithm was applied to solve engineering optimization problems to prove its ability and effectiveness in solving practical problems.
2. Salp Swarm Algorithm
2.1. Principle of Bionics
2.2. The Flow of SSA
| Algorithm 1 Salp Swarm Algorithm. |
| begin Set algorithm parameters: The population size is N, the dimension of the problem is D, the maximum number of iterations is Max_Iteration. Randomly initialize the population according to Equation (1). The fitness value of each salp individual is calculated, and the optimal individual is selected as the food source location. while (t < = Max_Iteration) do for i = 1 to N do if (i < = N/2) do Update the position of leader according to Equation (2). else Update the position of follower according to Equation (6). end if end for Calculate the fitness value of individual population and the food source location is updated. l = l + 1. end while end |
3. The Improvement of Salp Swarm Algorithm
3.1. Population Initialization Based on Logistic Mapping
3.2. Symmetric Adaptive Population Division
3.3. Simulated Annealing Mechanism Based on Symmetric Perturbation
3.4. Improved Salp Swarm Algorithm
| Algorithm 2 SASSA. |
| begin Set algorithm parameters: the population size is N, the dimension of the problem is D, the maximum number of iterations is Max_Iteration, the initial temperature is T, and the cooling rate is Q. According to Equation (8), Logistic chaotic map is used to initialize the population. The fitness value of each salp individual is calculated, and the optimal individual is selected as the food source location. while (t < = Max_Iteration) do is calculated by formula (9) for i = 1 to N do if (i < = ) do Update the position of leader according to Equation (2). else Update the position of follower according to Equation (6). end if end for Disturbing the current optimal salp’s position S S′ = Mutate (S) Calculate increment df = f(S′) − f(S) if ( do SS′ else P = exp(−df/T) if (rand < = P) S′ = Crossover (S, S′) SS′ T = T*q end if end if Calculated the fitness value of individual population and the food source location is updated. l = l + 1. end while end |
3.5. Complexity Analysis
- (1)
- Leader position initialization, follower position initialization and salp position correction based on the upper and lower bounds were performed with a complexity of O(N*D);
- (2)
- During the leader position Update, the number of leaders is ω∙N, so the complexity is O(ω*N*D);
- (3)
- During the follower position update, the number of followers is (1 − ω)∙N, thus the complexity is O((1 − ω)*N*D);
- (4)
- In the simulated annealing stage, the time complexity is O(k*N*D), where k is the number of times that the algorithm perturbed the solution in the simulated annealing mechanism.
4. Benchmark Function Experiments
4.1. Benchmark Function
4.2. Experimental Settings
4.3. Results Analysis
5. Applications in Solving Engineering Optimization Problems
5.1. Problem Description
5.2. Constraint Handling
5.3. Experimental Settings
5.4. Results
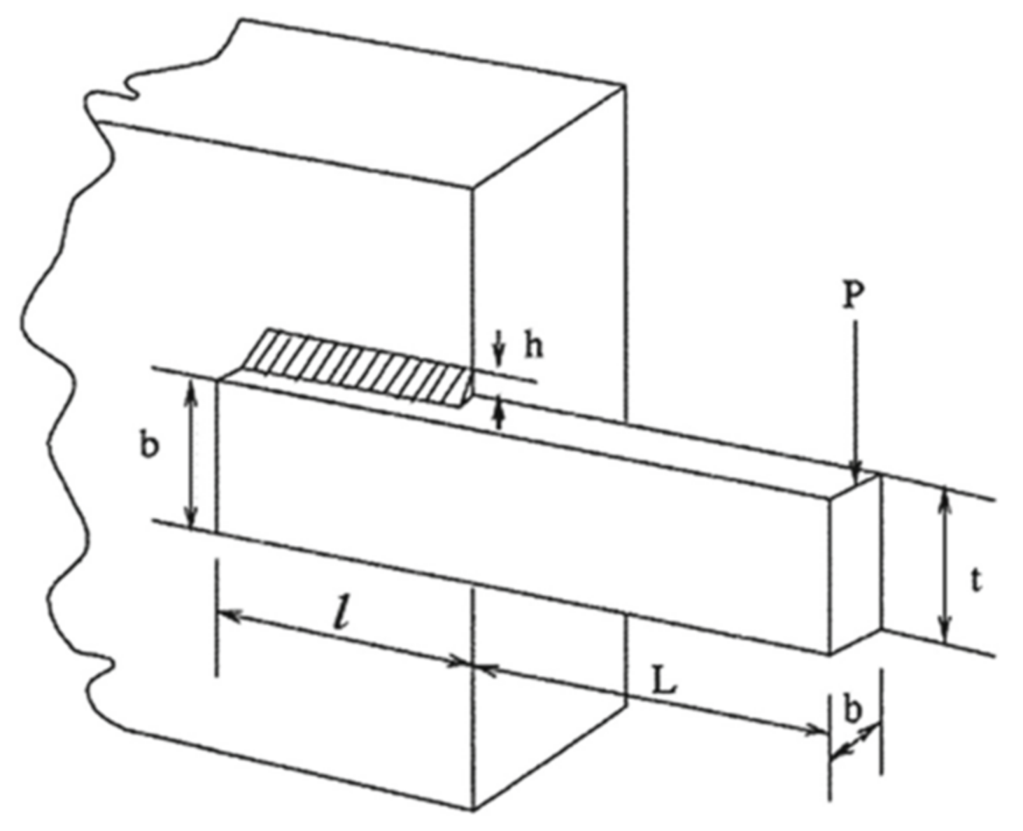
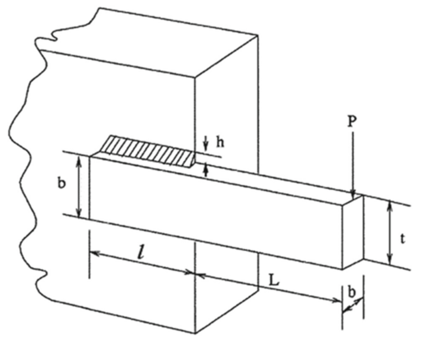
5.4.1. Weight Minimization of a Speed Reducer
5.4.2. Gear Train Design Problem
5.4.3. Optimal Operation of Alkylation Unit
5.4.4. Welded Beam Design
6. Conclusions
Author Contributions
Funding
Institutional Review Board Statement
Informed Consent Statement
Data Availability Statement
Conflicts of Interest
References
- Bhaskar, V.; Gupta, S.K.; Ray, A.K. Applications of multiobjective optimization in chemical engineering. Rev. Chem. Eng. 2000, 16, 1–54. [Google Scholar] [CrossRef]
- Sobieszczanski-Sobieski, J. Multidisciplinary Design Optimization: An Emerging New Engineering Discipline. In Advances in Structural Optimization; Springer: Berlin/Heidelberg, Germany, 1995; pp. 483–496. [Google Scholar]
- Kondratenko, Y.P.; Simon, D. Structural and parametric optimization of fuzzy control and decision making systems. In Recent Developments and the New Direction in Soft-Computing Foundations and Applications; Springer: Berlin/Heidelberg, Germany, 2018; pp. 273–289. [Google Scholar]
- Tsamardinos, I.; Brown, L.E.; Aliferis, C.F. The max-min hill-climbing Bayesian network structure learning algorithm. Mach. Learn. 2006, 65, 31–78. [Google Scholar] [CrossRef]
- Dengiz, B.; Alabas-Uslu, C.; Dengiz, O. A tabu search algorithm for the training of neural networks. J. Oper. Res. Soc. 2009, 60, 282–291. [Google Scholar] [CrossRef]
- Goldberg, D.E.; Holland, J.H. Genetic Algorithms and Machine Learning. Mach. Learn. 1988, 3, 95–99. [Google Scholar] [CrossRef]
- Wang, L.; Zeng, Y.; Chen, T. Back propagation neural network with adaptive differential evolution algorithm for time series forecasting. Expert Syst. Appl. 2015, 42, 855–863. [Google Scholar] [CrossRef]
- Kennedy, J.; Eberhart, R. Particle swarm optimization. In Proceedings of ICNN’95-International Conference on Neural Networks; IEEE: Piscataway, NJ, USA, 1995; pp. 1942–1948. [Google Scholar]
- Dorigo, M.; Di Caro, G. Ant colony optimization: A new meta-heuristic. In Proceedings of the 1999 Congress on Evolutionary Computation-CEC99 (Cat. No. 99TH8406); IEEE: Piscataway, NJ, USA, 1999; pp. 1470–1477. [Google Scholar]
- Mirjalili, S.; Lewis, A. The Whale Optimization Algorithm. Adv. Eng. Softw. 2016, 95, 51–67. [Google Scholar] [CrossRef]
- Mirjalili, S.; Mirjalili, S.M.; Lewis, A. Grey wolf optimizer. Adv. Eng. Softw. 2014, 69, 46–61. [Google Scholar] [CrossRef]
- Karaboga, D.; Basturk, B. A powerful and efficient algorithm for numerical function optimization: Artificial bee colony (ABC) algorithm. J. Glob. Optim. 2007, 39, 459–471. [Google Scholar] [CrossRef]
- Sun, X.; Wang, Y.; Kang, H.; Shen, Y.; Chen, Q.; Wang, D. Modified Multi-Crossover Operator NSGA-III for Solving Low Carbon Flexible Job Shop Scheduling Problem. Processes 2021, 9, 62. [Google Scholar] [CrossRef]
- Liu, Y.; Zhang, Z.; Bo, L.; Zhu, D. Multi-Objective Optimization of a Mine Water Reuse System Based on Improved Particle Swarm Optimization. Sensors 2021, 21, 4114. [Google Scholar] [CrossRef]
- Shen, Y.; Liang, Z.; Kang, H.; Sun, X.; Chen, Q. A Modified jSO Algorithm for Solving Constrained Engineering Problems. Symmetry 2020, 13, 63. [Google Scholar] [CrossRef]
- Mirjalili, S.; Gandomi, A.H.; Mirjalili, S.Z.; Saremi, S.; Faris, H.; Mirjalili, S.M. Salp Swarm Algorithm: A bio-inspired optimizer for engineering design problems. Adv. Eng. Softw. 2017, 114, 163–191. [Google Scholar] [CrossRef]
- Sayed, G.I.; Khoriba, G.; Haggag, M.H. A novel chaotic salp swarm algorithm for global optimization and feature selection. Appl. Intell. 2018, 48, 3462–3481. [Google Scholar] [CrossRef]
- Ibrahim, R.A.; Ewees, A.; Oliva, D.; Elaziz, M.A.; Lu, S. Improved salp swarm algorithm based on particle swarm optimization for feature selection. J. Ambient. Intell. Humaniz. Comput. 2019, 10, 3155–3169. [Google Scholar] [CrossRef]
- Faris, H.; Mafarja, M.M.; Heidari, A.A.; Aljarah, I.; Al-Zoubi, A.M.; Mirjalili, S.; Fujita, H. An efficient binary Salp Swarm Algorithm with crossover scheme for feature selection problems. Knowl.-Based Syst. 2018, 154, 43–67. [Google Scholar] [CrossRef]
- Liu, J.; Yuan, M.; Li, Y. The improved salp swarm algorithm is used to solve the engineering optimization design problem. J. Syst. Simul. 2021, 4, 854–866. [Google Scholar]
- Panda, N.; Majhi, S.K. Improved Salp Swarm Algorithm with Space Transformation Search for Training Neural Network. Arab. J. Sci. Eng. 2019, 45, 2743–2761. [Google Scholar] [CrossRef]
- Steinbrunn, M.; Moerkotte, G.; Kemper, A. Heuristic and randomized optimization for the join ordering problem. VLDB J. 1997, 6, 191–208. [Google Scholar] [CrossRef]
- Li, J.; Wang, L.; Tan, X. Sustainable design and optimization of coal supply chain network under different carbon emission policies. J. Clean. Prod. 2020, 250, 119548. [Google Scholar] [CrossRef]
- Zhang, J.; Wang, J.S. Improved Salp Swarm Algorithm Based on Levy Flight and Sine Cosine Operator. IEEE Access 2020, 8, 99740–99771. [Google Scholar] [CrossRef]
- Haupt, R.L.; Haupt, S.E. Practical Genetic Algorithms; Wiley: Hoboken, NJ, USA, 2004. [Google Scholar]
- Ma, B.; Ni, H.; Zhu, X.; Zhao, R. A Comprehensive Improved Salp Swarm Algorithm on Redundant Container Deployment Problem. IEEE Access 2019, 7, 136452–136470. [Google Scholar] [CrossRef]
- Kirkpatrick, S.; Gelatt, C.D.; Vecchi, M.P. Optimization by Simulated Annealing. Science 1983, 220, 671–680. [Google Scholar] [CrossRef]
- Li, J.; Liu, F. A trifocal tensor calculation method based on simulated annealing algorithm. In Proceedings of the International Conference on Information Science and Control Engineering (ICISCE), Shenzhen, China, 7–9 December 2012. [Google Scholar]
- Suganthan, P.N.; Hansen, N.; Liang, J.J.; Deb, K.; Chen, Y.-P.; Auger, A.; Tiwari, S. Problem definitions and evaluation criteria for the CEC 2005 special session on real-parameter optimization. KanGAL Rep. 2005, 174, 341–357. [Google Scholar]
- Zhang, Q.; Chen, H.; Heidari, A.A.; Zhao, X.; Xu, Y.; Wang, P.; Li, Y.; Li, C. Chaos-Induced and Mutation-Driven Schemes Boosting Salp Chains-Inspired Optimizers. IEEE Access 2019, 7, 31243–31261. [Google Scholar] [CrossRef]
- Mirjalili, S. Moth-flame optimization algorithm: A novel nature-inspired heuristic paradigm. Knowl. Based Syst. 2015, 89, 228–249. [Google Scholar] [CrossRef]
- Demšar, J. Statistical comparisons of classifiers over multiple data sets. J. Mach. Learn. Res. 2006, 7, 1–30. [Google Scholar]
- Sun, X.; Jiang, L.; Shen, Y.; Kang, H.; Chen, Q. Success History-Based Adaptive Differential Evolution Using Turning-Based Mutation. Mathematics 2020, 8, 1565. [Google Scholar] [CrossRef]
- Wang, Y.; Cai, Z.X.; Zeng, W.; Liu, H. A new evolutionary algorithm for solving constrained optimization problems. J. Cent. South Univ. (Sci. Technol.) 2006, 37, 119–123. [Google Scholar]
- Hosseinzadeh, M.; Garone, E.; Schenato, L. A Distributed Method for Linear Programming Problems With Box Constraints and Time-Varying Inequalities. IEEE Control. Syst. Lett. 2018, 3, 404–409. [Google Scholar] [CrossRef]
- Nicotra, M.M.; Liao-McPherson, D.; Kolmanovsky, I.V. Embedding Constrained Model Predictive Control in a Continuous-Time Dynamic Feedback. IEEE Trans. Autom. Control. 2018, 64, 1932–1946. [Google Scholar] [CrossRef]
- Xu, X. Application of Chaotic Simulated Annealing Algorithm in Numerical Fuction Optimization. Comput. Digit. Eng. 2010, 38, 37–40, 47. [Google Scholar]
- Kumar, A.; Wu, G.; Ali, M.Z.; Mallipeddi, R.; Suganthan, P.N.; Das, S. A test-suite of non-convex constrained optimization problems from the real-world and some baseline results. Swarm Evol. Comput. 2020, 56, 100693. [Google Scholar] [CrossRef]
- Mirjalili, S. How effective is the Grey Wolf optimizer in training multi-layer perceptrons. Appl. Intell. 2015, 43, 150–161. [Google Scholar] [CrossRef]
- Storn, R.; Price, K. Differential Evolution—A Simple and Efficient Heuristic for Global Optimization over Continuous Spaces. J. Glob. Optim. 1997, 11, 341–359. [Google Scholar] [CrossRef]
- Juan, W.; Xianxiang, W.; Yanling, C. Multi-layer perceptron using hybrid differential evolution and biogeography-based optimization. Appl. Res. Comput. 2017, 34, 693–696. [Google Scholar]
- Gandomi, A.H.; Yang, X.-S. Benchmark Problems in Structural Optimization. In Computational Optimization, Methods and Algorithms; Springer: Berlin/Heidelberg, Germany, 2011; pp. 259–281. [Google Scholar]
- Abdel-Basset, M.; Wang, G.-G.; Sangaiah, A.K.; Rushdy, E. Krill herd algorithm based on cuckoo search for solving engineering optimization problems. Multimed. Tools Appl. 2019, 78, 3861–3884. [Google Scholar] [CrossRef]
- Andrei, N. Nonlinear Optimization Applications Using the GAMS Technology; Springer: Berlin/Heidelberg, Germany, 2013. [Google Scholar]
- Sauer, R.; Colville, A.; Burwick, C. Computer points way to more profits. Hydrocarb. Process. 1964, 84, 2. [Google Scholar]
- Wang, G.-G.; Guo, L.; Gandomi, A.; Hao, G.-S.; Wang, H. Chaotic Krill Herd algorithm. Inf. Sci. 2014, 274, 17–34. [Google Scholar] [CrossRef]












| Function | Dim | Range | fmin |
|---|---|---|---|
| N | [−100, 100] | 0 | |
| N | [−10, 10] | 0 | |
| N | [−100, 100] | 0 | |
| N | [−100, 100] | 0 | |
| N | [−30, 30] | 0 | |
| N | [−100, 100] | 0 | |
| N | [−128, 128] | 0 |
| Function | Dim | Range | fmin |
|---|---|---|---|
| N | [−500, 500] | −418.9829 5 | |
| N | [−5.12, 5.12] | 0 | |
| N | [−32, 32] | 0 | |
| N | [−600, 600] | 0 | |
| N | [−50, 50] | 0 | |
| N | [−50, 50] | 0 |
| Function | Dim | Range | fmin |
|---|---|---|---|
| 2 | [−65, 65] | 1 | |
| 2 | [−5, 5] | −1.0316 | |
| 2 | [−2, 2] | 3 | |
| 3 | [1, 3] | −3.86 | |
| 6 | [0, 1] | −3.32 | |
| 4 | [0, 10] | −10.1532 | |
| 4 | [0, 10] | 10.4028 | |
| 4 | [0, 10] | −10.5363 |
| Function | Index | SASSA | SSA | MFO | GWO | WOA |
|---|---|---|---|---|---|---|
| f1 | Mean | 1.63 × 10−127 | 1.70 × 10−7 | 1.71 × 103 | 1.25 × 10−27 | 7.63 × 10−73 |
| Std | 6.23 × 10−127 | 2.82 × 10−7 | 3.77 × 103 | 1.77 × 10−27 | 2.64 × 10−72 | |
| Lowest | 1.36 × 10−142 | 2.64 × 10−8 | 0.8602 | 3.91 × 10−29 | 5.76 × 10−84 | |
| f2 | Mean | 2.54 × 10−64 | 0.0280 | 1.3333 | 3.42 × 10−33 | 1.49 × 10−51 |
| Std | 1.01 × 10−63 | 0.1176 | 3.4575 | 4.02 × 10−33 | 7.71 × 10−51 | |
| Lowest | 8.30 × 10−70 | 5.99 × 10−6 | 5.13 × 10−10 | 5.63 × 10−35 | 1.76 × 10−60 | |
| f3 | Mean | 7.25 × 10−126 | 1.46 × 103 | 2.30 × 104 | 1.14 × 10−5 | 4.57 × 104 |
| Std | 3.56 × 10−125 | 676.0907 | 1.33 × 104 | 3.34 × 10−5 | 1.55 × 104 | |
| Lowest | 2.66 × 10−139 | 291.4835 | 2.85 × 103 | 2.20 × 10−9 | 2.51 × 104 | |
| f4 | Mean | 5.26 × 10−66 | 2.12 × 10−5 | 2.9135 | 2.72 × 10−18 | 4.2870 |
| Std | 2.40 × 10−65 | 7.82 × 10−6 | 5.1788 | 4.23 × 10−18 | 8.9829 | |
| Lowest | 1.69 × 10−72 | 1.10 × 10−5 | 0.0034 | 2.58 × 10−20 | 2.59 × 10−4 | |
| f5 | Mean | 8.2487 | 348.0704 | 6.47 × 103 | 6.3292 | 6.9341 |
| Std | 1.7800 | 623.0314 | 2.27 × 104 | 0.8115 | 0.4261 | |
| Lowest | 2.57 × 10−4 | 0.2785 | 0.0147 | 3.7198 | 6.1502 | |
| f6 | Mean | 2.32 × 10−7 | 8.26 × 10−10 | 3.82 × 10−13 | 0.0084 | 0.0013 |
| Std | 1.50 × 10−7 | 2.87 × 10−10 | 9.08 × 10−13 | 0.0461 | 0.0014 | |
| Lowest | 8.03 × 10−8 | 3.56 × 10−10 | 4.29 × 10−15 | 1.28 × 10−6 | 2.24 × 10−4 | |
| f7 | Mean | 1.03 × 10−4 | 0.0120 | 0.0084 | 7.93 × 10−4 | 0.0026 |
| Std | 9.58 × 10−5 | 0.0077 | 0.0074 | 5.73 × 10−4 | 0.0030 | |
| Lowest | 2.97 × 10−7 | 0.0015 | 0.0019 | 1.02 × 10−4 | 1.21 × 10−4 |
| Function | Index | SASSA | SSA | MFO | GWO | WOA |
|---|---|---|---|---|---|---|
| f8 | Mean | −5.74 × 104 | −2.64 × 103 | −3.28 × 103 | −2.65 × 103 | −3.21 × 103 |
| Std | 1.57 × 104 | 312.5324 | 313.8152 | 396.5429 | 540.8742 | |
| Lowest | −9.54 × 104 | −3.54 × 103 | −3.73 × 103 | −3.61 × 103 | −4.19 × 103 | |
| f9 | Mean | 0 | 18.4730 | 20.8680 | 1.0448 | 1.1907 |
| Std | 0 | 7.4073 | 12.7232 | 2.2098 | 6.5219 | |
| Lowest | 0 | 6.9647 | 7.9597 | 0 | 0 | |
| f10 | Mean | 8.88 × 10−16 | 0.5367 | 0.0938 | 7.40 × 10−15 | 4.09 × 10−15 |
| Std | 0 | 0.8212 | 0.5137 | 1.64 × 10−15 | 2.35 × 10−15 | |
| Lowest | 8.88 × 10−16 | 5.06 × 10−6 | 5.74 × 10−8 | 4.44 × 10−15 | 8.78 × 10−16 | |
| f11 | Mean | 0 | 0.1993 | 0.1185 | 0.0163 | 0.0906 |
| Std | 0 | 0.1202 | 0.0526 | 0.0172 | 0.1492 | |
| Lowest | 0 | 0.0443 | 0.0295 | 0 | 0 | |
| f12 | Mean | 0.0136 | 0.6016 | 0.0622 | 0.0052 | 0.0108 |
| Std | 0.0171 | 0.8066 | 0.1713 | 0.0115 | 0.0195 | |
| Lowest | 5.44 × 10−4 | 1.93 × 10−11 | 9.29 × 10−16 | 3.43 × 10−7 | 2.17 × 10−4 | |
| f13 | Mean | 0.0087 | 0.0029 | 0.0026 | 0.0169 | 0.0420 |
| Std | 0.0104 | 0.0049 | 0.0047 | 0.0383 | 0.0517 | |
| Lowest | 1.18 × 10−4 | 3.39 × 10−11 | 2.52 × 10−16 | 2.72 × 10−6 | 0.0027 |
| Function | Index | SASSA | SSA | MFO | GWO | WOA |
|---|---|---|---|---|---|---|
| f14 | Mean | 1.9213 | 1.2298 | 2.6093 | 5.6902 | 2.4068 |
| Std | 1.5345 | 0.5005 | 2.2834 | 4.6976 | 2.5646 | |
| Lowest | 1 | 1 | 1 | 1 | 1 | |
| f15 | Mean | −1.0316 | −1.0316 | −1.0316 | −1.0316 | −1.0316 |
| Std | 3.48 × 10−12 | 4.15 × 10−11 | 6.78 × 10−11 | 3.17 × 10−8 | 3.80 × 10−10 | |
| Lowest | −1.0316 | −1.0316 | −1.0316 | −1.0316 | −1.0316 | |
| f16 | Mean | 3.0000 | 3.0000 | 3.0000 | 3.0000 | 3.0001 |
| Std | 3.06 × 10−17 | 2.74 × 10−13 | 2.23 × 10−15 | 2.96 × 10−5 | 2.28 × 10−4 | |
| Lowest | 3.0000 | 3.0000 | 3.0000 | 3.0000 | 3.0000 | |
| f17 | Mean | −3.8616 | −3.8628 | −3.8625 | −3.8609 | −3.8550 |
| Std | 0.0446 | 1.14 × 10−10 | 0.0014 | 0.0030 | 0.0112 | |
| Lowest | −3.8628 | −3.8628 | −3.8628 | −3.8628 | −3.8627 | |
| f18 | Mean | −3.2760 | −3.2213 | −3.2197 | −3.2662 | −3.2238 |
| Std | 0.0862 | 0.0629 | 0.0557 | 0.0660 | 0.1044 | |
| Lowest | −3.3220 | −3.3220 | −3.3220 | −3.3220 | −3.3219 | |
| f19 | Mean | −10.1530 | −6.8070 | −7.8876 | −9.2651 | −8.7734 |
| Std | 4.45 × 10−9 | 3.3092 | 3.1199 | 2.3302 | 2.2810 | |
| Lowest | −10.1532 | −10.1532 | −10.1532 | −10.1528 | −10.1532 | |
| f20 | Mean | −10.4027 | −8.3941 | −7.6667 | −9.9292 | −7.6605 |
| Std | 5.08 × 10−9 | 3.2041 | 3.6731 | 1.8008 | 3.2626 | |
| Lowest | −10.4028 | −10.4028 | −10.4028 | −10.4027 | −10.4011 | |
| f21 | Mean | −10.3561 | −8.8569 | −7.8695 | −10.0856 | −6.8170 |
| Std | 0.9873 | 2.8998 | 3.5977 | 1.7470 | 3.0241 | |
| Lowest | −10.5363 | −10.5363 | −10.5363 | −10.5361 | −10.5318 |
| Rank | Name | F-Rank |
|---|---|---|
| 0 | SASSA | 1.69 |
| 1 | GWO | 2.69 |
| 2 | WOA | 3.48 |
| 3 | SSA | 3.5 |
| 4 | MFO | 3.64 |
| Chi-Sq’ | Prob > Chi-Sq’ (p) | Critical Value |
|---|---|---|
| 24.43076923 | 6.55 × 10−5 | 9.49 |
| Best | Mean | Worst | Std | |
|---|---|---|---|---|
| SASSA | 2.9949 × 103 | 3.0025 × 103 | 3.1017 × 103 | 18.0827 |
| SSA | 2.9975 × 103 | 3.0190 × 103 | 3.0759 × 103 | 22.0886 |
| GWO | 3.0091 × 103 | 3.0519 × 103 | 3.0162 × 103 | 5.1551 |
| DE | 3.6746 × 105 | 3.6746 × 105 | 3.6746 × 105 | 1.1944 × 10−10 |
| BBO | 3.6746 × 105 | 3.6746 × 105 | 3.6746 × 105 | 9.6747 × 10−7 |
| ACO | 6.9015 × 105 | 6.9015 × 105 | 6.9015 × 105 | 0 |
| PSO | 3.6746 × 105 | 3.6746 × 105 | 3.6746 × 105 | 1.2312 × 10−10 |
| Best | Mean | Worst | Std | |
|---|---|---|---|---|
| SASSA | 0 | 2.5461 × 10−32 | 2.7810 × 10−31 | 7.7458 × 10−32 |
| SSA | 1.4130 × 10−23 | 1.3639 × 10−20 | 7.1462 × 10−20 | 2.2508 × 10−20 |
| GWO | 1.1932 × 10−17 | 6.3166 × 10−13 | 2.3137 × 10−12 | 6.8706 × 10−13 |
| DE | 1.9891 × 10−14 | 1.9877 × 10−11 | 2.1586 × 10−10 | 4.8930 × 10−11 |
| BBO | 8.0696 × 10−22 | 3.8308 × 10−18 | 1.8866 × 10−17 | 5.9474 × 10−18 |
| ACO | 5.0119 × 10−4 | 5.0119 × 10−4 | 5.0119 × 10−4 | 2.2247 × 10−19 |
| PSO | 0 | 1.8183 × 10−24 | 1.9587 × 10−23 | 5.0490 × 10−24 |
| Best | Mean | Worst | Std | |
|---|---|---|---|---|
| SASSA | −452.8468 | 1.5985 × 103 | 7.1265 × 103 | 3.2772 × 103 |
| SSA | −443.2917 | 3.3583 × 104 | 7.4636 × 105 | 1.6777 × 105 |
| GWO | −431.5267 | 5.4967 × 106 | 5.2486 × 107 | 1.6104 × 107 |
| DE | −423.8519 | 7.7895 × 103 | 1.6719 × 104 | 6.7751 × 103 |
| BBO | −439.6189 | 1.4217 × 105 | 2.8428 × 106 | 6.3567 × 105 |
| ACO | 5.2070 × 1012 | 5.2070 × 1012 | 5.2070 × 1012 | 0 |
| PSO | −310.1030 | 2.0528 × 106 | 1.1166 × 107 | 3.4116 × 106 |
| Best | Mean | Worst | Std | |
|---|---|---|---|---|
| SASSA | 1.7208 | 1.7232 | 1.7319 | 0.0016 |
| SSA | 1.7225 | 1.7675 | 1.9785 | 0.0817 |
| GWO | 1.7555 | 1.9321 | 2.3010 | 0.1561 |
| DE | 1.0890 × 1014 | 1.0890 × 1014 | 1.0890 × 1014 | 0.0321 |
| BBO | 1.0890 × 1014 | 1.0890 × 1014 | 1.0890 × 1014 | 0.1447 |
| ACO | 1.6916 × 105 | 1.6916 × 105 | 1.6916 × 105 | 5.9720 × 10−11 |
| PSO | 1.0890 × 1014 | 1.0890 × 1014 | 1.0890 × 1014 | 0.0321 |
| Rank | Name | F-Rank |
|---|---|---|
| 0 | SASSA | 1 |
| 1 | SSA | 2.67 |
| 2 | PSO | 4 |
| 3 | DE | 4.33 |
| 4 | BBO | 4.33 |
| 5 | GWO | 4.67 |
| 6 | ACO | 7 |
| Chi-sq’ | Prob > Chi-sq’ (p) | Critical Value |
|---|---|---|
| 13.46341463 | 3.62 × 10−2 | 12.59 |
Publisher’s Note: MDPI stays neutral with regard to jurisdictional claims in published maps and institutional affiliations. |
© 2021 by the authors. Licensee MDPI, Basel, Switzerland. This article is an open access article distributed under the terms and conditions of the Creative Commons Attribution (CC BY) license (https://creativecommons.org/licenses/by/4.0/).
Share and Cite
Duan, Q.; Wang, L.; Kang, H.; Shen, Y.; Sun, X.; Chen, Q. Improved Salp Swarm Algorithm with Simulated Annealing for Solving Engineering Optimization Problems. Symmetry 2021, 13, 1092. https://doi.org/10.3390/sym13061092
Duan Q, Wang L, Kang H, Shen Y, Sun X, Chen Q. Improved Salp Swarm Algorithm with Simulated Annealing for Solving Engineering Optimization Problems. Symmetry. 2021; 13(6):1092. https://doi.org/10.3390/sym13061092
Chicago/Turabian StyleDuan, Qing, Lu Wang, Hongwei Kang, Yong Shen, Xingping Sun, and Qingyi Chen. 2021. "Improved Salp Swarm Algorithm with Simulated Annealing for Solving Engineering Optimization Problems" Symmetry 13, no. 6: 1092. https://doi.org/10.3390/sym13061092
APA StyleDuan, Q., Wang, L., Kang, H., Shen, Y., Sun, X., & Chen, Q. (2021). Improved Salp Swarm Algorithm with Simulated Annealing for Solving Engineering Optimization Problems. Symmetry, 13(6), 1092. https://doi.org/10.3390/sym13061092

