Abstract
Symmetry widely exists in natural objects and man-made objects. Mechanical structures, as man-made objects, have the property of symmetry without exception. The existence of symmetry affects the function and performance of mechanical products. Therefore, on the basis of analyzing a large number of examples and referring to the Schoenflies symbol of crystal, the symmetry of mechanical structures is divided into point group symmetry and space group symmetry, and these two types are further subdivided according to the types and spatial positions of the symmetry elements. Then, the general effects of symmetry are summarized according to symmetry types and functions, and several symmetry rules for design are further refined. Finally, after defining the requirements of speed change and technology background, a multispeed device for bicycle shaft drive is proposed by applying symmetry knowledge comprehensively.
1. Introduction
Symmetry is ubiquitous in nature, as well as in engineering. Reference [1] summarizes the research on symmetry in various fields of engineering (mechanical engineering, chemical engineering, computer engineering, etc.). Symmetry plays a role in solving problems, so it has attracted widespread attention from different disciplines. In the transformation process of deployable and foldable structures, the symmetry group is used to express the structure category, which can simplify the mechanical analysis [2]. In the neural network design of a data center, the use and communication of the data center can be evaluated by symmetry [3]. In a nonlinear network, symmetry affects the observability and controllability of the network, and different symmetry types will have different effects [4]. In the development of skin care products, the idea of functional symmetry guides expensive raw materials to be replaced by economical materials, which can reduce development costs [5]. In the research of space grids, the symmetry group can be used as an innovative method to create new types of space grids, and it can also be used for vibration analysis and vibration behavior prediction of the spatial grid [6]. Taking the cable net as an example, the vertical coupling of two identical single-layer cable nets of symmetry to form a double-layer configuration of symmetry is studied, which offers the possibility of altering the vibration properties of single-layer systems in a beneficial way [7]. In the study of smart materials, the symmetry group is used to prove the decisive influence of topological structures on the function and performance of ferroelectrics [8]. In addition, symmetry is also essential for dissipative structures, self-organization, etc. [9,10].
Mechanical symmetry, like all the other engineering fields, is usually a method or tool to guide application. For example, increasing symmetry can effectively improve the structural accuracy of compliant mechanisms, and symmetry can also affect the static and dynamic characteristics of bending mechanisms [11]. The existence of identical parts in mechanical systems leads to symmetry that allows the computations to be simplified in order to obtain suggestive and rapid results [12]. Through the transposition of the meshing point of the gear pair, it is shown that the meshing condition of the gear pair in the forward rotation and reverse rotation can be determined by the same method, that is, taking symmetry as a method to reduce the calculation [13]. As for the design theory, engineering design combines symmetry with simplicity [14]. Axiomatic design considers symmetrical shape as the first choice to meet the requirements [15]. As a supplement, the theory of inventive problem solving summarizes the conditions of symmetry breaking [16]. Mechanical symmetry is systematically defined as the regular repetition among multiple components of a mechanical system in terms of structure, function and principle [17]. Reference [18] has made a detailed discussion on function symmetry and principle symmetry, so this paper only discusses structure symmetry, focusing on the generation and application of symmetry knowledge in mechanical structure design.
As shown in Figure 1, the first step of this work is to analyze the symmetry of the mechanical structure, get the symmetry type of the example and the function realized or performance improved by symmetry. Classification is an indispensable step and part in the subsequent induction of symmetry effects and rules, and its importance has long been noticed by Hermann Weyl. In reference [19], he took flowers and tripods as examples to discuss the performance differences caused by different symmetry types, and thus speculated that the different symmetry types may hide some information. We refer to Schoenflies symbol to indicate the symmetry type of a mechanical structure, which originated from crystallography, but is recognized by other disciplines, including the mechanical field [7]. The next step is to extract symmetry design knowledge from the analysis, including general symmetry effects and several universal symmetry rules. The general symmetry effects are the common functions and performance of symmetry, and the symmetry rules are obtained from the comparison of different symmetry types of similar structures. There are different opinions on the description of function [20]. In this paper, function and performance respectively refer to the primary and secondary purposes of the structure achieved by symmetry. Finally, in the conceptual design stage, after clarifying the requirements of speed change, the knowledge of symmetry classification, symmetry effects and symmetry rules is applied to put forward the structure scheme to achieve speed change.
Figure 1.
The generation and application steps of symmetry knowledge.
2. Symmetry Classification and General Effects
The examples analyzed in this work come from patents, papers and common mechanical structures. The specific analysis process of each example is similar to that of the examples given in this paper, that is, analyzing the symmetry types and symmetry effects of the structures. The analysis results of 1030 examples are organized in an Excel sheet, which is the basis for summarizing symmetry types, symmetry effects and symmetry rules later. Figure 2 is a fragment of the sheet, showing the total number of the analyzed examples and the main analysis contents [21,22,23].
Figure 2.
A fragment of the Excel sheet.
2.1. Symmetry Classification
The purpose of symmetry classification is to distinguish the effects of different types of symmetry, which is an essential step for analysis and subsequent discussions. Symmetry includes point group symmetry and space group symmetry. Point group symmetry means that all symmetry elements intersect. Space group symmetry means that there are parallel symmetry elements. Symmetry elements refer to geometrical elements such as points, lines, and planes on which symmetry operations are based [24]. The symmetry of a mechanical structure is classified according to the recognized symmetry classification method, namely symmetry group, as shown in Table 1.
Table 1.
Symmetry classification of mechanical structure.
2.1.1. Point Group Symmetry
Point group symmetry, including ten symmetry types, can also be defined as a symmetry set without translational symmetry. The symmetry types of point group symmetry are shown in Table 2 [23].
Table 2.
Symbols and symmetry elements of point group symmetry.
2.1.2. Space Group Symmetry
Space group symmetry, including nine symmetry types, can also be defined as a symmetry set containing translational symmetry. The symmetry types of space group symmetry are shown in Table 3.
Table 3.
Symbols and symmetry elements of space group symmetry.
is translational symmetry. The two symmetry operations of and are inseparable and alternate. As shown in Figure 3a, the layout of the limit plates is , that is, translational symmetry and mirror symmetry are alternately operated. The translational distance is and the mirror plane is . The layout of the limit plates shown in Figure 3b is , and the translational distance is . The waste material produced by the layout shown in Figure 3b is obviously more than that shown in Figure 3a. The more the limit plates are cut, the more waste will be produced. Therefore, the layout is more suitable.
Figure 3.
Layout of limit plates. (a) layout; (b) layout.
2.2. General Symmetry Effects
Clicking “Data” and “Filter” in turn further summarizes the contents in the Excel sheet. By filtering symmetry types, the effects of each symmetry type can be obtained. Take as an example: Figure 4a shows the process of filtering , and Figure 4b shows the filtered results [25,26,27]. It can be found that the elements of most symmetry types realize functions or improve performances independently.

Figure 4.
Using “Filter” of the Excel sheet. (a) Filter ; (b) a fragment of the filtered results.
The general effects of partial symmetry elements summarized from the example analysis are shown in Table 4.
Table 4.
The effects of partial symmetry elements on different structural hierarchy.
, , , , , , , and are all composed of the symmetry elements , , , , and , and their effects are also composed of the effects of symmetry elements. As shown in Figure 5a, the symmetry type of the leading-trailing shoe brake is , and the symmetry element is the mirror plane . makes the forward and backward braking effect of the wheel the same, but during the braking process, the friction generated between the leading shoe and the brake drum is different from that between the trailing shoe and the brake drum, which leads to the imbalance of the normal force. Figure 5b shows that the symmetry type of the unidirectional two leading shoe brake is . makes the friction between the two shoes and the brake drum the same during the braking process, thus counteracting the normal force, but the braking effect of the wheel forward and backward is different. As shown in Figure 5c, the symmetry type of the dual two leading shoe brake is . The symmetry elements include rotational line and mirror plane . It combines the advantages of the leading-trailing shoe brake and the unidirectional two leading shoe brake [28], that is, counteracting the side effects and expanding the scope of function.
Figure 5.
Shoe brakes. (a) Leading-trailing shoe brake; (b) bidirectional two leading shoe brake; (c) dual two leading shoe brake.
Figure 6a shows the process of filtering , and Figure 6b shows the filtered results [22,29,30]. It can be found that the symmetry elements of and usually cooperate to complete the requirements. The general effects of and are shown in Table 5. For example, is used in the layout of the limit plate in Figure 3a, which can save material.
Figure 6.
Using “Filter” of the Excel sheet. (a) Filter ; (b) a fragment of the filtered results.
Table 5.
General effects of and .
.
, , , , , and are all composed of the symmetry elements , , and , and their effects are also composed of the effects of symmetry elements. is mainly used to expand the scope of function, increase the intensity of function, support or transfer materials. The effects of , and are shown in Table 4. As shown in Figure 7, the symmetry type of the rack and pinion lifting mechanism is . The symmetry elements are and . improves the bearing capacity of the lifting mechanism, that is, expands the scope of function. counteracts the unbalanced force and increases the stability in the working process [31].
Figure 7.
Rack and pinion lifting mechanism.
3. Symmetry Rules and Application
3.1. Symmetry Rules
Symmetry rules can be regarded as universal symmetry effects, which is an important basis for providing solutions to meet the requirements. During the analysis of the examples, it was found that there are many similar structures with different symmetry types. The functions of these similar structures are the same, but the performances are different. Therefore, the similar structures are arranged together, and the changes of their symmetry types and the reasons for the changes are analyzed, as shown in Figure 8 [32,33,34,35,36]. The following symmetry rules are proposed to improve the structural performance.
Figure 8.
A fragment of comparison of similar structures.
3.1.1. Add Symmetry Elements
Adding symmetry elements is a way to increase symmetry. On mechanical parts, increasing symmetry can avoid deformation and crack, and reduce the difficulty of processing and assembly. Therefore, in structural design, we should pursue higher symmetry under the allowable conditions.
As shown in Figure 9a, in order to adapt to the shape of the connecting piece, the bolt head is cut on one side, and its symmetry type is . However, one-side cutting can easily cause side force, leading to bending. This situation can be avoided by double-side cutting, that is, adding a mirror plane and a rotational axis so that the symmetry type of the bolt head becomes , as shown in Figure 9b. The symmetry type of the square flange shown in Figure 9c and the circular flange shown in Figure 9d are , but the number of symmetry elements is different. The square flange with four mirror planes needs to be machined on other machine tools, such as a milling machine, after turning, while the circular flange with infinite mirror planes can be machined directly on the lathe, which reduces the difficulty of machining [37].
Figure 9.
Examples of increasing symmetry elements. (a) bolt head; (b) bolt head; (c) flange; (d) flange.
On mechanical components, from the perspective of multi-function, simplicity, stability, and aesthetics, higher symmetry should also be pursued when conditions permit, such as the brakes of different symmetry types, as shown in Figure 5.
3.1.2. Construct Symmetry Hierarchy
Symmetry hierarchy is a novel high-level representation of shapes defined by symmetry and hierarchical structures [38]. For any system, the hierarchy provides the most feasible form of organization [39]. Mechanical symmetry hierarchy means that the whole and part of the structure are symmetrical, and constructing symmetry hierarchy can improve the performance of mechanical structures.
As shown in Figure 10, the tooth block is the substructure of the gear, or the gear is at the upper hierarchy and the tooth block is at the lower hierarchy. The gear is easier to be processed and formed than the tooth block. Therefore, the gear can be processed first, and then the tooth block can be obtained by cutting the gear, thus reducing the difficulty of the manufacturing process of the tooth block. The structure of many partial circles and whole circles are the same. In order to obtain the partial circle, a whole circle is always made first. This way of constructing a symmetry hierarchy not only reduces the difficulty of machining, but also avoids the deformation that may occur when processing partial circles directly.
Figure 10.
Tooth block and gear. (a) Tooth block; (b) gear.
A gear pair can be regarded as the superstructure of a gear, which is usually used to transmit rotation and power. The single gear pair shown in Figure 11a is the substructure of the three gear pairs shown in Figure 11b. The superstructure can not only realize the transmission function, but also counteract side effects and an equal load to expand the scope of function, such as planetary gears and new gear pumps [40].
Figure 11.
Gear pairs. (a) A gear pair; (b) three gear pairs.
3.1.3. Break Symmetry
Breaking symmetry refers to the transition state from symmetry to asymmetry, which can be achieved by reducing symmetry elements or changing symmetry parameters, etc.
- (1)
- Reduce symmetry elements:
Reducing symmetry elements generally includes the reduction of their types and quantities, which is complementary to increasing symmetry elements. In the absence of special asymmetry factors, it is usually adopted to increase the type and quantity of symmetry elements to improve the structure performance, but in practical applications, such as error-proofing design and environment asymmetry, the symmetry elements need to be reduced. Figure 12a shows the distribution of water and soil pressure when the shield machine is working. It can be seen that the resistance on the upper side of the shield is smaller than that on the lower side. In order to match the thrust force obtained by the cutter head of the shield machine with the working environment, the uneven pressure distribution should be considered in the layout of the hydraulic cylinder. As shown in Figure 12b, the layout of the hydraulic cylinder only retains the left and right mirror symmetry, breaking the upper and lower mirror symmetry. This design of breaking the symmetry makes the shield adapt to the impact of the asymmetry of the external environment, avoids system failure caused by the greater force on the lower part, and improves the working reliability of the shield machine [41].
Figure 12.
Pressure and hydraulic cylinder distribution of shield machine. (a) Pressure distribution; (b) hydraulic cylinder distribution.
- (2)
- Break symmetry hierarchy
After constructing the symmetry hierarchy, breaking the symmetry of the superstructure by changing the structure parameters, such as size, position, layout and quantity, can further improve the structural performance. Table 6 shows the common causes of symmetry hierarchy breaking.
Table 6.
The common causes of symmetry hierarchy breaking.
Figure 13 shows an example of symmetry hierarchy breaking caused by an unbalanced force. There are two spiral rotors in the conveyor with opposite rotation direction. They are both structures of , which can realize the transportation of materials. If the diameter, pitch and other parameters of the two rotors are exactly the same, the of the superstructure is constructed, but the axial force is balanced at the same time and the material cannot be discharged. Therefore, the pitch of the two spiral rotors is designed to be different so that the of the superstructure is broken, and the axial unbalanced force is generated, which makes the materials squeeze each other and discharge smoothly from the outlet to avoid material blockage [42].
Figure 13.
A variable direction screw conveyor.
Figure 14 shows an example of symmetry hierarchy breaking caused by increasing the function intensity and preventing resonance; a vertical wind turbine, which divides the impeller into several parts. The symmetry type of each part is , and the number of blades in each part is different, so the of the superstructure is broken. Therefore, the harmonic components generated by the rotation of each part interfere with each other, which changes the natural frequency of the impeller, preventing the occurrence of resonance [43]. The impeller of the wind turbine with breaking also makes the wind energy in the different height space be effectively utilized, which increases the function intensity.
Figure 14.
Wind turbine.
3.2. Symmetry Application
Combined with the structure characteristics of the existing shaft transmission bicycles and using the symmetry knowledge summarized in this paper, a multispeed shaft transmission device for bicycles is proposed to meet the requirements of speed change. The related patent has been published [44].
3.2.1. Technical Background
Most of the multispeed chain transmission devices of bicycles rely on the rope to drive a group of gears to move to achieve the purpose of speed change. Its internal mechanism is relatively complex, and it is difficult to repair in the case of an accidental chain drop. Secondly, due to the chain position changing back and forth between gears during a speed change, the wear is more serious. The manufacturing cost of the shaft transmission is higher than that of the chain transmission, but the shaft transmission efficiency is higher, and the shaft transmission is more stable. Therefore, it is necessary to design a multispeed shaft transmission device for bicycles.
3.2.2. Shaft Transmission
- (1)
- Working principle
The schematic diagram of the shaft transmission is shown in Figure 15. The pedals of the bicycle are on the input shaft. The rear wheel of the bicycle is on the output shaft. The input shaft and output shaft are connected by an intermediate shaft and several gear pairs. Finally, human power is transformed into the driving force for the bicycle to move forward.
Figure 15.
Schematic diagram of shaft transmission.
- (2)
- Existing product
As shown in Figure 16, CeramicSpeed Drive is a shaft transmission bicycle developed by a research team from the University of Colorado, displayed at Eurobike, the undisputed leading global trade show for the bike business [45]. The multispeed shaft transmission device described in this section is an improvement based on this structure.
Figure 16.
CeramicSpeed Driven.
- (3)
- Improvement analysis
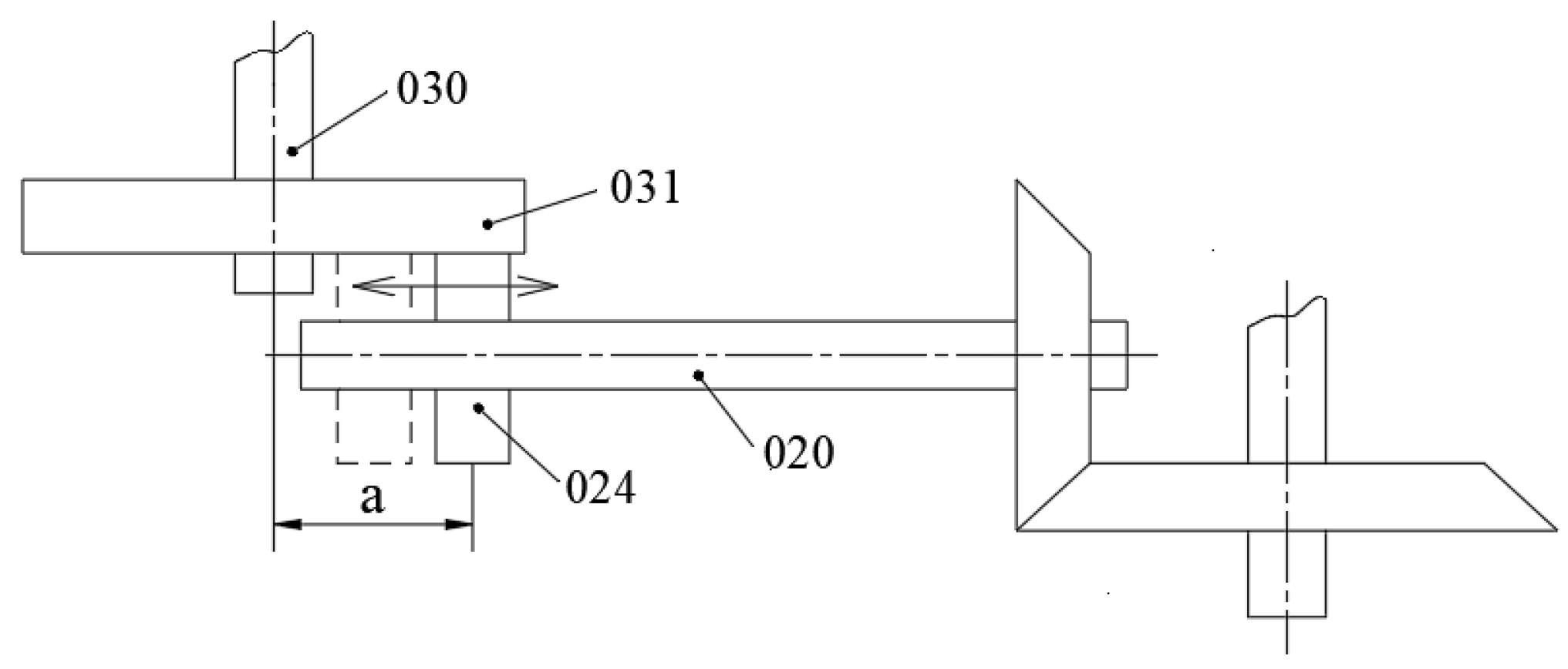
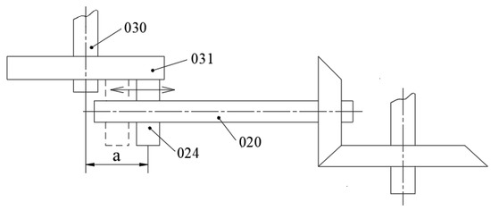
It should be clear that under the premise of ensuring the shaft transmission, the requirements of speed change must be met. As shown in Figure 16 and Figure 17, in order to meet the transmission of rotational motion between shafts and between shafts and rotors, most rotors contain rotational symmetry elements that can satisfy continuous rotation. In order to achieve speed change, the distance between the rotor (024) on the intermediate shaft (020) and the rotor (031) on the output shaft (030) should be adjusted. Therefore, rotor (024) must meet the following functions:
Figure 17.
Schematic diagram of rotor (024) movement.
- 1)
- Transmit rotational motion
- 2)
- Reciprocate along the intermediate shaft (020).
3.2.3. Multispeed Shaft Transmission
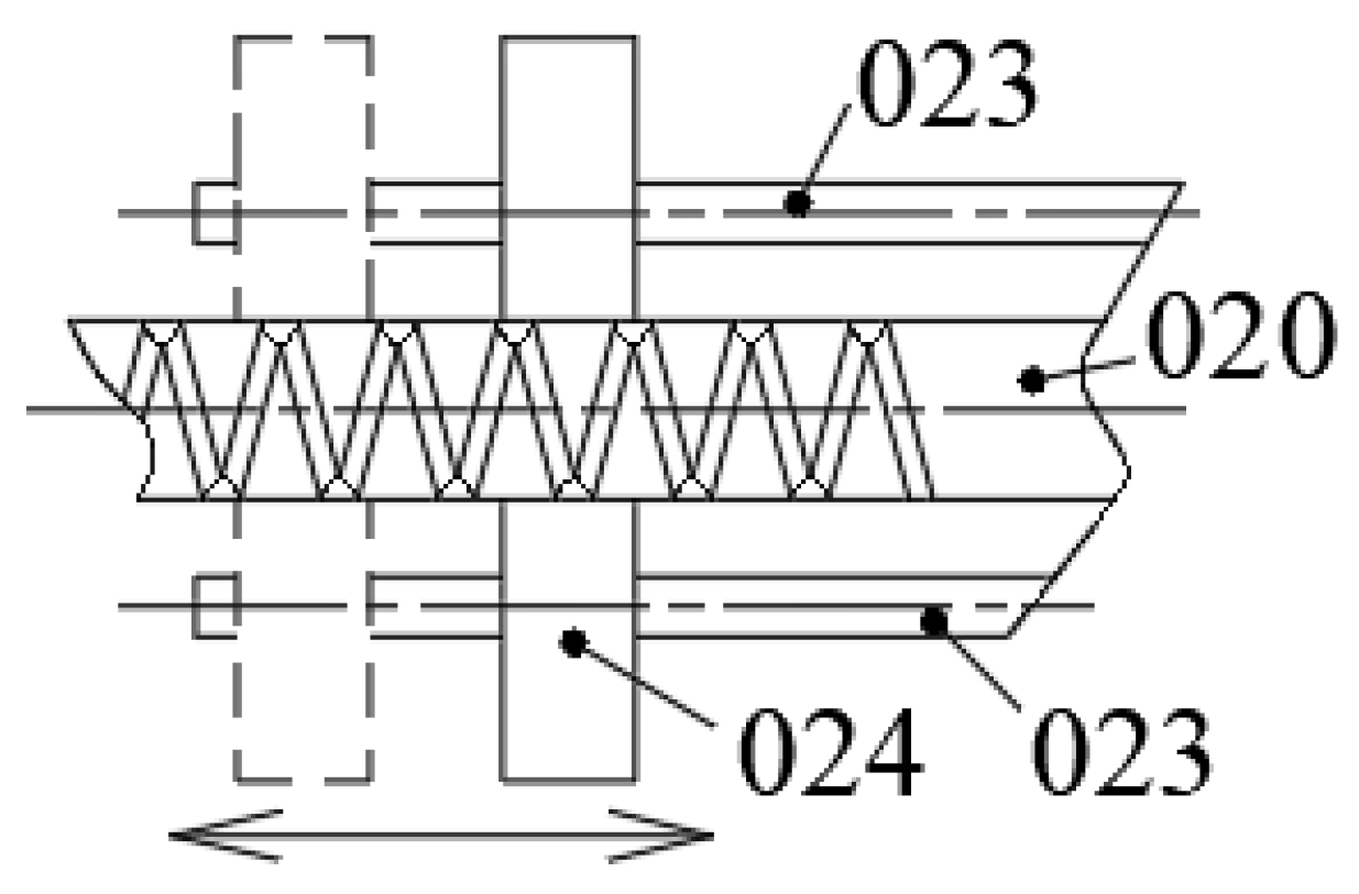
The symmetry effects show that can realize the transformation between rotational and translational motion. Compared with unidirectional translational motion, reciprocating translational motion expands the scope of function, which can be realized by constructing symmetry hierarchy. As shown in Figure 18, in order to meet the function (1), rods (023) around the intermediate shaft (020) are added to transmit rotational motion to the rotor (024). In order to meet the function (2), a section of reciprocating thread is added on the intermediate shaft (020). The of the substructure of the reciprocating thread transforms rotational motion into translational motion, and the of the superstructure of the reciprocating thread realizes the bidirectional movement.
Figure 18.
Schematic diagram of reciprocating thread.
The speed change of the chain transmission is controlled by ropes. Considering the simplicity of design, the rope should be avoided as far as possible. We can step on the bicycle pedal in a reverse direction and use the anti-clockwise torque as the power source for the speed change. Combined with the shaft transmission shown in Figure 15 and the rotor (24) movement shown in Figure 17, the motion process of the multispeed shaft device for bicycles is obtained, as shown in Figure 19.
Figure 19.
Motion process of multispeed shaft transmission device. (a) Transmission process of rotation; (b) transmission process of speed change.
The above two transmission processes must not interfere with each other, so a pair of one-way ratchets should be used to control the transmission route of motion and power. As the intermediate link of transmission, the layout of rotors on the intermediate shaft (020) is constrained by input and output. Combined with the previous analysis, structures of the input shaft and intermediate shaft and the rotors on them are shown in Figure 20. Considering the simplicity of manufacturing, ratchet (013) and ratchet (014) have the same size and opposite direction, forming .
Figure 20.
Input component and intermediate component. (a) Input component; (b) intermediate component.
As shown in Figure 19 and Figure 20, when the input shaft (010) rotates clockwise, the ratchet (013) rotates over the shaft, rotor (012) is stationary, and the clockwise torque is finally transmitted to the output shaft (030) to drive the bicycle forward. When the input shaft (010) rotates anticlockwise, ratchet (014) rotates over the shaft, and the rotor (011) is stationary. The thread on the intermediate shaft (020) changes the anticlockwise torque into the reciprocating movement of rotor (024), thus changing the distance between rotor (024) and the output shaft (030), and the requirement of speed change is completed.
In the solving process, symmetry classifications and symmetry effects are flexibly used; finally, the structure for meeting the requirements of speed change is obtained, as shown in Figure 21. Compared with the existing shaft transmission device shown in Figure 16, this structure mainly adds a section of reciprocating thread on the shaft (020) and a pair of gears, (012) and (022), to realize the conversion between rotation and translation. A group of rods (023) are added to realize the transmission of rotation and torque. A pair of ratchets, (013) and (014), are added to avoid mutual interference between the two transmission routes.
Figure 21.
Assembly.
4. Discussion
When analyzing the function and performance of symmetry in the mechanical structure, we mainly focus on its technical influence, but less on its economic and social influence. This will not only lead to the incomplete summary of the symmetry effects, but also lead to an emphasis on meeting the functional requirements of the structure in the application process of symmetry.
Symmetry rules come from the comparison of different symmetry types of similar structures, and their quantity and quality will increase with the growth of the quantity and quality of the examples analyzed, not limited to the ones mentioned in this paper.
In the patent mentioned in Section 3.2, the comprehensive application of symmetry knowledge can quickly improve the existing structure to meet the requirements of speed change, but it does not mean that the idea or scheme of structural improvement is limited to this one. Therefore, symmetry only plays an auxiliary role in the design process, that is, to provide designers with a solution idea or to inspire them to find the appropriate symmetry to solve the problem based on the specific requirements.
5. Conclusions
In this paper, the existing mode and application of symmetry in mechanical structures are researched, and the following progress is made:
(1) The symmetry of mechanical structure is classified by using and expanding the Schoenflies symbol of crystal. According to the types of symmetry elements and their spatial position, point group symmetry and space group symmetry are classified in detail.
(2) The effects of different symmetry types on mechanical structures are analyzed, and several universal symmetry rules for design are summarized.
(3) A new multispeed shaft transmission device for bicycles is proposed by applying symmetry knowledge comprehensively. The related patents that have been applied for have been published.
Symmetry is widespread in mechanical systems, but it is rarely studied systematically. Symmetry classification, symmetry effects and several symmetry rules are proposed and applied to the design process of multispeed shaft transmission devices comprehensively with the hope that it can play a role in attracting new ideas. In the future, the analyzed examples will be continuously expanded, more symmetry knowledge will be summarized from them, and the possibility of other application methods will also be explored. In addition, mechanical symmetry breaking and asymmetry are also worthy of further discussion.
Author Contributions
Project administration, Q.Q.; funding acquisition, Q.Q.; writing—original draft preparation, X.C.; writing—review and editing, X.C.; conceptualization, P.F. and C.Y.; methodology, P.F. and C.Y. All authors have read and agreed to the published version of the manuscript.
Funding
This research was funded by [National Natural Science Foundation of China], grant number [51175455] and [Key Research and Development Plan Project of Zhejiang Province], grant number [2019C01053].
Conflicts of Interest
The authors declare no conflict of interest.
References
- Montoya, F.G.; Baños, R.; Alcayde, A.; Manzano-Agugliaro, F. Symmetry in Engineering Sciences II. Symmetry 2020, 12, 1077. [Google Scholar] [CrossRef]
- Beatini, V. Symmetry-based transformable and foldable plate structures. J. Mech. Des. 2017, 139, 072301. [Google Scholar] [CrossRef]
- Stewart, I.A.; Erickson, A. The influence of datacenter usage on symmetry in datacenter network design. J. Supercomput. 2018, 74, 2276–2313. [Google Scholar] [CrossRef]
- Whalen, A.J.; Brennan, S.N.; Sauer, T.D.; Schiff, S.J. Observability and Controllability of Nonlinear Networks: The Role of Symmetry. Phys. Rev. X 2015, 5, 011005. [Google Scholar] [CrossRef] [PubMed]
- Horbury, M.D.; Holt, E.L.; Mouterde, L.M.M.; Balaguer, P.; Cebrián, J.; Blasco, L.; Allais, F.; Stavros, V.G. Towards symmetry driven and nature inspired UV filter design. Nat. Commun. 2019, 10, 4748. [Google Scholar] [CrossRef] [PubMed]
- Zingoni, A. Use of symmetry groups for generation of complex space grids and group-theoretic vibration analysis of triple-layer grids. Eng. Struct. 2020, 223, 111177. [Google Scholar] [CrossRef]
- Zingoni, A. Insights on the vibration characteristics of double-layer cable nets of D4h symmetry. Int. J. Solids Struct. 2018, 135, 261–273. [Google Scholar] [CrossRef]
- Gao, Y.P.; Dregia, S.A.; Wang, Y.Z. A universal symmetry criterion for the design of high performance ferroic materials. Acta Mater. 2017, 127, 438–449. [Google Scholar] [CrossRef]
- Yun, Y.S.; Temuer, C. Classical and nonclassical symmetry classifications of nonlinear wave equation with dissipation. Appl. Math. Mech. Engl. 2015, 36, 365–378. [Google Scholar] [CrossRef]
- Ferreira, P.G.; Hill, C.T.; Ross, G.G. Inertial spontaneous symmetry breaking and quantum scale invariance. Phys. Rev. D 2018, 98, 116012. [Google Scholar] [CrossRef]
- He, X.B.; Yu, J.J.; Zhang, W.W.; He, G.B. Effect of degree-of-symmetry on kinetostatic characteristics of flexure mechanisms: A comparative case study. Chin. J. Mech. Eng. 2018, 31, 29. [Google Scholar] [CrossRef]
- Mihălcică, M.; Vlase, S.; Păun, M. The use of Structural Symmetries of a U12 Engine in the Vibration Analysis of a Transmission. Symmetry 2019, 11, 1296. [Google Scholar] [CrossRef]
- Yang, Z.; Shang, J.Z.; Luo, Z.R.; Wang, X.M.; Yu, N.H. Research on Synthesis Meshing Stiffness of Torsional Spring-loaded Double-gear Anti-backlash Mechanism. J. Mech. Eng. 2013, 49, 23. [Google Scholar] [CrossRef]
- Pahl, G.; Beitz, W.; Feldhusen, J.; Grote, K.H. Engineering Design: A Systematic Approach; Springer: Berlin, Germany, 2007. [Google Scholar]
- Sun, N.P. Axiomatic Design: Advanced and Applications; Oxford University Press: Oxford, UK, 1998. [Google Scholar]
- Altshuller, G.S. Creativity as an Exact Science: The theory of Inventive Problem Solving; Gordon and Breach Publisher: New York, NY, USA, 1988. [Google Scholar]
- Ma, Z.Y.; Zhang, T.; Liu, F.; Yang, J. Knowledge discovery in design instances of mechanical structure symmetry. Adv. Mech. Eng. 2015, 7, 119. [Google Scholar] [CrossRef]
- Feng, P.E.; Zeng, L.B.; Qiu, Q.Y.; Liu, W.P. The concept system of mechanical function symmetry and its application. J. Mech. Eng. 2012, 48, 1–10. [Google Scholar] [CrossRef]
- Weyl, H. Symmetry; Princeton University Press: Princeton, NJ, USA, 2015. [Google Scholar]
- Vermaas, P.E.; Eckert, C. My functional description is better! AI EDAM 2013, 27, 187–190. [Google Scholar] [CrossRef]
- Zhang, X.H.; Deng, P.F.; Luo, W.G. Multidirectional Vibration Energy Collection Device with Replaceable Energy Collection Module. Chinese Patent 201520704388.3, 13 January 2016. [Google Scholar]
- Technology and Science are Different Sources. Available online: http://www.360doc.com/content/16/0623/08/30371403_570069727.shtml (accessed on 23 June 2016).
- Chen, X.M.; Qiu, Q.Y.; Yang, C.; Feng, P.E. Concept System and Application of Point Group Symmetry in Mechanical Structure Design. Symmetry 2020, 12, 1507. [Google Scholar] [CrossRef]
- Müller, U. Symmetry Relationships between Crystal Structures: Applications of Crystallographic Group Theory in Crystal Chemistry; Oxford University Press: Oxford, UK, 2013; p. 67. [Google Scholar]
- Chongqing JiangJin Shipbuilding Industry Co., Ltd. Back-To-Back Turbine. Chinese Patent 201520578225.5, 27 January 2016. [Google Scholar]
- Chen, M.J.; Chen, G.H. Herringbone Gear with Annular Oil Storage Chamber. Chinese Patent 201620587289.6, 16 November 2016. [Google Scholar]
- Yao, Z.F.; Wang, F.J.; Yang, M.; Qu, L.X.; Xiao, R.F.; Xu, X.D.; He, C.L. Effects of Impeller Type on Pressure Fluctuations in Double-suction Centrifugal Pump. J. Mech. Eng. 2011, 47, 133–137. [Google Scholar] [CrossRef]
- Guo, J.H. Illustrated Dictionary of Mechanical Parts Terms: Chinese and English; Chemical Industry Press: Beijing, China, 2011. [Google Scholar]
- Li, Z.L.; Lin, Y.L. Encyclopedia of Modern Institutions; World Book Publishing Company: Beijing, China, 1990. [Google Scholar]
- Wang, X.N.; Liu, H.L.; Zhang, S.H. A Screw Manufacturing Method for Food Processing Machine and Its Screw. Chinese Patent 201610843213.X, 3 April 2018. [Google Scholar]
- Xu, C.H.; Lu, T.; Chen, G.M.; Yin, S.M. Dynamic Analysis of Staggered Teeth Optimization of Rack and Pinion Lifting Mechanism of Jack-up Platform. J. Mech. Eng. 2014, 50, 66–72. [Google Scholar] [CrossRef]
- Li, X.C.; Li, X.B. Reasonable Design Atlas of Mechanical Structure; Shanghai Scientific & Technical Publishers: Shanghai, China, 1996; p. 10. [Google Scholar]
- Chen, Q.P. Double Saw Blade. Chinese Patent 200420067175.6, 25 May 2005. [Google Scholar]
- Zhang, J.L. Double Saw Blade. Chinese Patent 00257101.3, 10 October 2001. [Google Scholar]
- Xiao, X.R.; Chen, X.J.; Liang, Y.P. Asymmetrical Spreader. Chinese Patent 201510481201.2, 8 March 2017. [Google Scholar]
- Li, Z.W.; Sheng, X.M. Double-acting air-oil intensifier driven by twin roller piston air cylinder. Appl. Mech. Mater. 2012, 220, 580–584. [Google Scholar] [CrossRef]
- Cheng, D.X. Mechanical Design Atlas; Chemical Industry Press: Beijing, China, 1997. [Google Scholar]
- Wang, Y.; Xu, K.; Li, J.; Zhang, H.; Shamir, A.; Liu, L.; Cheng, Z.; Xiong, Y. Symmetry hierarchy of man-made objects. In Proceedings of the Computer Graphics Forum, Oxford, UK, 28 April 2011. [Google Scholar]
- Anderson, P.W.; Goldstein, J.A. More is different: Broken symmetry and the nature of the hierarchical structure of science. Emerg. Complex. Organ. 2014, 16, 117. [Google Scholar]
- Zhuang, Q.W.; Gong, G.F.; Yang, H.Y.; Zhou, H. Structural design of shield hydraulic propulsion system. Chin. J. Constr. Mach. 2005, 3, 47–50. [Google Scholar]
- Tang, D.W.; Luo, C.J.; Deng, Z.Q. Performance of hydraulic motor with multiple cylindrical gears. J. Mech. Eng. 2007, 43, 119–124. [Google Scholar] [CrossRef]
- Ma, G.B. A Variable Direction Screw Conveyor. Chinese Patent 201310457785.0, 15 April 2015. [Google Scholar]
- Zhou, Y. A Vertical Axis Wind Turbine. Chinese Patent 201110298754.6, 7 March 2012. [Google Scholar]
- Chen, X.M.; Qiu, Q.Y.; Feng, P.E.; Yang, C. A Multispeed Transmission Device of Shaft Drive for Bicycle. Chinese Patent 2020100229139, 7 May 2020. [Google Scholar]
- BIKERUMOR! Available online: https://bikerumor.com/2019/03/18/ceramicspeed-driven-chain-less-drivetrain-almost-shifting-off-road-ospw-expanding/ (accessed on 18 March 2019).
Publisher’s Note: MDPI stays neutral with regard to jurisdictional claims in published maps and institutional affiliations. |
© 2021 by the authors. Licensee MDPI, Basel, Switzerland. This article is an open access article distributed under the terms and conditions of the Creative Commons Attribution (CC BY) license (https://creativecommons.org/licenses/by/4.0/).





















